Kamerstuk
| Datum publicatie | Organisatie | Vergaderjaar | Dossier- en ondernummer |
|---|---|---|---|
| Eerste Kamer der Staten-Generaal | 2012-2013 | C nr. C |
Zoals vergunningen, bouwplannen en lokale regelgeving.
Adressen en contactpersonen van overheidsorganisaties.
U bent hier:
| Datum publicatie | Organisatie | Vergaderjaar | Dossier- en ondernummer |
|---|---|---|---|
| Eerste Kamer der Staten-Generaal | 2012-2013 | C nr. C |
|
pag. |
||
|
Ter inleiding |
5 |
|
|
1. |
METHODOLOGISCHE VERANTWOORDING |
7 |
|
1.1. |
Doel van het onderzoek |
7 |
|
1.2. |
Centrale onderzoeksvraag |
7 |
|
1.3. |
Onderzoeksontwerp |
9 |
|
1.4. |
Casusonderzoeken |
10 |
|
1.5. |
Achtergrondstudies |
13 |
|
1.6. |
Expertmeetings |
14 |
|
1.7. |
Openbare gesprekken |
15 |
|
1.8. |
Klankbordgroep |
17 |
|
2. |
PRIVATISERING VAN DE POST EN TELEFONIE |
19 |
|
2.1. |
Inleiding |
19 |
|
2.1.1. |
Afbakening |
19 |
|
2.1.2. |
Post en telefonie anno 2012 |
20 |
|
2.1.3. |
Historisch overzicht |
21 |
|
2.2. |
Liberalisering |
25 |
|
2.2.1. |
Liberalisering telefoniemarkt |
25 |
|
2.2.2. |
Liberalisering postmarkt |
28 |
|
2.3. |
Motieven en verwachtingen |
30 |
|
2.3.1. |
Aanleiding |
30 |
|
2.3.2. |
Verzelfstandiging |
32 |
|
2.3.3. |
Privatisering |
34 |
|
2.3.4. |
Conclusies |
38 |
|
2.4. |
Borging, sturing en verantwoording |
38 |
|
2.4.1. |
Verzelfstandiging |
38 |
|
2.4.2. |
Privatisering |
44 |
|
2.4.3. |
Oprichting OPTA |
46 |
|
2.4.4. |
Terugtreden Staat uit KPN |
50 |
|
2.4.5. |
Terugtreden Staat uit TPG |
58 |
|
2.4.6. |
Conclusies |
59 |
|
2.5. |
Effecten, evaluaties, ingrepen |
61 |
|
2.5.1. |
Veronderstelde effecten |
61 |
|
2.5.2. |
Vastgestelde beleidseffecten telefonie |
61 |
|
2.5.3. |
Vastgestelde beleidseffecten post |
62 |
|
2.5.4. |
Zorgen over de post |
66 |
|
2.5.5. |
Conclusies |
67 |
|
2.6. |
De rol van het parlement |
68 |
|
2.6.1. |
Het parlement als medewetgever |
68 |
|
2.6.2. |
Het parlement als controleur |
72 |
|
2.6.3. |
Het parlement als volksvertegenwoordiging |
77 |
|
2.6.4. |
Conclusies |
78 |
|
3. |
VERZELFSTANDIGING VAN DE NS |
81 |
|
3.1. |
Inleiding |
81 |
|
3.2. |
Focus van het casusonderzoek |
87 |
|
3.3. |
Bronnen, motieven en doelen |
87 |
|
3.3.1. |
Het besluit tot verzelfstandiging van de NS (1993–1995) |
87 |
|
3.3.2. |
Het besluit tot oprichting van ProRail (1999–2005) |
96 |
|
3.4. |
Borging, sturing en verantwoording |
115 |
|
3.4.1. |
Borging, sturing en verantwoording (1993–1995) |
115 |
|
3.4.2. |
Borging, sturing en verantwoording rond de oprichting van ProRail (1999–2005) |
123 |
|
3.5. |
Effecten, evaluaties en ingrepen |
131 |
|
3.5.1. |
Effecten, evaluaties en ingrepen (1992–1995) |
131 |
|
3.5.2. |
Effecten, evaluaties en ingrepen (1999–2005) |
133 |
|
3.6. |
De rol van het parlement |
138 |
|
3.6.1. |
De Tweede Kamer als medewetgever |
138 |
|
3.6.2. |
De Tweede Kamer als medebestuurder |
142 |
|
3.6.3. |
Het parlement als controleur |
144 |
|
3.6.4. |
De rol van de Eerste Kamer |
151 |
|
3.6.5. |
Conclusies |
152 |
|
3.7. |
Nawoord |
152 |
|
4. |
PRIVATISERING VAN DE REÏNTEGRATIEDIENSTVERLENING |
155 |
|
4.1. |
Introductie en voorgeschiedenis |
155 |
|
4.1.1. |
Commissie-Buurmeijer |
156 |
|
4.1.2. |
Activering en reïntegratie |
156 |
|
4.1.3. |
SUWI en verzelfstandiging reïntegratiedienstverlening |
158 |
|
4.1.4. |
Van publiek naar privaat: in drie stappen |
160 |
|
4.2. |
Motieven en verwachtingen |
162 |
|
4.2.1. |
Motieven van het kabinet |
162 |
|
4.2.2. |
Tweede Kamer over motieven en verwachtingen |
163 |
|
4.2.3. |
Eerste Kamer over motieven en verwachtingen |
169 |
|
4.2.4. |
Conclusies |
169 |
|
4.3. |
Borging, sturing en verantwoording |
170 |
|
4.3.1. |
De interne ontvlechting (fase 1) |
170 |
|
4.3.2. |
Externe verzelfstandiging (fase 2) |
175 |
|
4.3.3. |
Privatisering (fase 3) |
186 |
|
4.3.4. |
Conclusie |
191 |
|
4.4. |
Effecten, evaluaties en ingrepen |
192 |
|
4.4.1. |
Doelstellingen en verwachte effecten |
192 |
|
4.4.2. |
Evalueren van beleidseffecten |
193 |
|
4.4.3. |
Conclusie |
197 |
|
4.5. |
Het functioneren van het parlement |
198 |
|
4.5.1. |
Het parlement als mede-wetgever |
198 |
|
4.5.2. |
Het parlement als controleur |
204 |
|
4.5.3. |
Het parlement als volksvertegenwoordiger |
207 |
|
4.5.4. |
Conclusie |
209 |
|
5. |
PRIVATISERING, ONTVLECHTING EN MARKTWERKING IN DE ENERGIESECTOR |
211 |
|
5.1. |
Inleiding |
211 |
|
5.1.1. |
Doel en focus van dit onderzoek |
212 |
|
5.1.2. |
Elektriciteitsmarkt |
212 |
|
5.1.3. |
Liberalisering, ontvlechting en privatisering |
213 |
|
5.1.4. |
Parlementaire behandeling |
215 |
|
5.2. |
Beleidsgeschiedenis van privatisering en ontvlechting |
215 |
|
5.2.1. |
Liberalisering van de energiesector |
215 |
|
5.2.2. |
Eerst liberaliseren, dan privatiseren (1996 – 1998) |
216 |
|
5.2.3. |
Privatisering wordt controversieel (1999 – 2001) |
219 |
|
5.2.4. |
Privatiseringswetgeving (2001 – 2004) |
220 |
|
5.2.5. |
Eerst ontvlechten, dan privatiseren? (2004 – 2006) |
222 |
|
5.2.6. |
De (vermeende) inwerkingtreding van het groepsverbod (2007 – 2012) |
224 |
|
5.2.7. |
Conclusie |
225 |
|
5.3. |
Motieven en doelen |
225 |
|
5.3.1. |
Debat in de Tweede Kamer over motieven en doelen |
226 |
|
5.3.2. |
Debat in de Eerste Kamer over motieven en doelen |
233 |
|
5.3.3. |
Conclusie |
238 |
|
5.4. |
Sturing, controle en publieke belangen |
239 |
|
5.4.1. |
Debat in de Tweede Kamer over sturing en controle van energiebedrijven |
240 |
|
5.4.2. |
Debat in de Eerste Kamer over sturing en controle van energiebedrijven |
248 |
|
5.4.3. |
Debat in de Tweede Kamer over publieke belangen |
249 |
|
5.4.4. |
Debat in de Eerste Kamer over publieke belangen |
254 |
|
5.4.5. |
Conclusie |
256 |
|
5.5. |
Evaluaties en effecten |
257 |
|
5.5.1. |
Debat in het parlement over beleidservaringen elders |
257 |
|
5.5.2. |
Debat in de Tweede Kamer over effecten voor de burger |
260 |
|
5.5.3. |
Debat in de Eerste Kamer over de effecten voor de burger |
264 |
|
5.5.4. |
Conclusie |
265 |
|
5.6. |
De functies van het parlement |
266 |
|
5.6.1. |
Het parlement als medewetgever |
266 |
|
5.6.2. |
Het parlement als controleur |
268 |
|
5.6.3. |
Het parlement als volksvertegenwoordiger |
270 |
|
5.6.4. |
Conclusie |
272 |
|
6. |
GENERIEKE PARLEMENTAIRE DEBATTEN OVER PRIVATISERINGEN EN VERZELFSTANDIGINGEN |
275 |
|
6.1. |
Kaderwet zelfstandige bestuursorganen |
275 |
|
6.1.1. |
Definitie van een ZBO |
275 |
|
6.1.2. |
Voorgeschiedenis Kaderwet ZBO |
277 |
|
6.1.3. |
Ontwikkeling van een voorstel Kaderwet ZBO |
282 |
|
6.1.4. |
Tweede Kamer bespreekt wetsvoorstel Kaderwet ZBO |
283 |
|
6.1.5. |
Rapport van de werkgroep-Kohnstamm |
286 |
|
6.1.6. |
Behandeling Kaderwet ZBO in Eerste Kamer |
288 |
|
6.1.7. |
Nabeschouwing |
288 |
|
6.1.8. |
Conclusies |
289 |
|
6.2. |
Staatsdeelnemingenbeleid |
289 |
|
6.2.1. |
Voorgeschiedenis |
290 |
|
6.2.2. |
Nota Staatsdeelnemingenbeleid 1996 |
291 |
|
6.2.3. |
Nota Staatsdeelnemingenbeleid 2001 |
292 |
|
6.2.4. |
Nota Staatsdeelnemingenbeleid 2007 |
294 |
|
6.2.5. |
Conclusies |
296 |
|
7. |
VERGELIJKENDE ANALYSE |
299 |
|
7.1. |
Variatie in casusonderzoeken |
299 |
|
7.2. |
Bronnen, motieven, verwachtingen |
303 |
|
7.2.1. |
Motieven in de casusonderzoeken |
304 |
|
7.2.2. |
Verschuiving in motieven |
305 |
|
7.2.3. |
Meervoudige en internationale motieven |
307 |
|
7.3. |
Borging, sturing en verantwoording |
307 |
|
7.3.1. |
Borging en sturing in casusonderzoeken |
308 |
|
7.3.2. |
Rijdende treinen, kettingreacties en op de rem staan |
309 |
|
7.3.3. |
Publiekrechtelijke kaders |
312 |
|
7.3.4. |
Wel of geen splitsing? |
313 |
|
7.3.5. |
Publieke belangen |
314 |
|
7.3.6. |
De rol van aandeelhouder als sturingsinstrument |
315 |
|
7.3.7. |
Alternatieve vormen van verantwoording |
315 |
|
7.4. |
Effecten, evaluaties en ingrepen |
316 |
|
7.4.1. |
Effecten en evaluaties in de casusonderzoeken |
316 |
|
7.4.2. |
Effecten voor de burger |
318 |
|
7.4.3. |
Leren van andere ervaringen |
319 |
|
7.5. |
Functioneren van het parlement |
320 |
|
7.5.1. |
Het parlement als medewetgever |
320 |
|
7.5.2. |
Het parlement als controleur |
321 |
|
7.5.3. |
Het parlement als volksvertegenwoordiger |
323 |
|
7.5.4. |
Tot slot |
325 |
|
BIJLAGEN |
||
|
Bijlage 1: |
Lijst met afkortingen |
327 |
|
Bijlage 2: |
Methodologische bijlage casusonderzoeken |
329 |
|
Bijlage 3: |
Samengesteld overzicht privatiseringen en verzelfstandigingen 1 januari 1989-31 december 2010 |
337 |
|
Bijlage 4: |
Overzicht van evaluaties van ZBO's |
369 |
|
Bijlage 5: |
Overzicht van evaluaties van staatsdeelnemingen 2003–2006 |
377 |
Dit is het deelrapport van de Parlementaire Onderzoekscommissie Privatisering/Verzelfstandiging Overheidsdiensten.
Om de parlementaire besluitvorming over privatisering en verzelfstandiging in de afgelopen decennia zo nauwkeurig mogelijk in kaart te brengen, heeft de onderzoekscommissie een vijftal casusonderzoeken verricht. Deze studies vormen de inhoud van dit deelrapport.
De casusstudies beschrijven de parlementaire besluitvorming in de beide Kamers van de Staten-Generaal en bieden een verhelderende blik op de aard van de besluitvorming door de jaren heen. De bevindingen van deze studies zijn verwerkt in het hoofdrapport van de commissie, dat tegelijk met dit deelrapport verschijnt.
Aangezien de Eerste Kamer het eindstation is van wetgeving, overziet zij doorgaans de hele keten van parlementaire besluitvorming. Dit onderzoek sluit daarbij aan en illustreert daarmee tevens wat de commissie verstaat onder een «wetgevingsonderzoek». De onderzoekscommissie heeft de totstandkoming van wetgeving onderzocht en probeert daaruit lessen te trekken voor de wetgever.
Het deelrapport is tot stand gekomen onder leiding van prof. dr. Sandra van Thiel. Zij coördineerde het onderzoek dat werd verricht door een zestal onderzoekers. Dit waren: mr. Jasper Boon, dr. Mark de Bruijne, drs. Ilse Hento, drs. Jooske de Sonnaville, Marlieke Heck MSc en drs. Bart Stellinga. Deze onderzoekers zijn op hun beurt weer ondersteund door informatiespecialist Peter van Goch. De onderzoekscommissie is hen zeer erkentelijk voor het gedegen werk dat zij in een relatief korte tijdspanne hebben verricht. Voor de inhoud van dit rapport is vanzelfsprekend de commissie verantwoordelijk. Een woord van dank is op zijn plaats aan het adres van de vele genodigden met wie de commissie in casusverband heeft gesproken.
Het deelrapport geeft in hoofdstuk 1 eerst de onderzoeksopzet weer en verantwoordt de criteria voor de selectie van de vijf te behandelen casus. Daarna komen de vijf casus zelf aan bod, respectievelijk: de privatisering van post en telefonie (hoofdstuk 2), de verzelfstandiging van de NS (hoofdstuk 3), de privatisering van de reïntegratiedienst (hoofdstuk 4) en de privatisering in de energiesector (hoofdstuk 5). Daarna beschrijft hoofdstuk 6 van het rapport het generieke parlementaire debat over privatiseringen en verzelfstandigingen in de betreffende periode. Hoofdstuk 7 vergelijkt de resultaten van de afzonderlijke casusstudies om tot meer algemene conclusies te kunnen komen. Daarin staat een aantal thema's centraal. Ten eerste de motieven en verwachtingen van privatisering en verzelfstandiging. Ten tweede de sturing, het toezicht en de verantwoording. Ten derde de effecten van privatisering en verzelfstandiging en ten vierde het functioneren van het parlement zelf. Bij deze vergelijkende analyse worden ook de resultaten betrokken van een aantal overzichtsstudies die derden op verzoek van de commissie hebben verricht. Die studies gaan onder meer over de aantallen privatiseringen en verzelfstandigingen in de afgelopen twintig jaar, de evaluaties van zelfstandige bestuursorganen en staatsdeelnemingen, en de vraag hoe burgers privatiseringen en verzelfstandigingen ervaren.
Het deelrapport is de opmaat naar het hoofdrapport van de parlementaire onderzoekscommissie. Daarin beantwoordt de commissie de onderzoeksvragen, trekt conclusies en doet aanbevelingen.
Roel Kuiper,
Voorzitter Parlementaire Onderzoekscommissie Privatisering/Verzelfstandiging Overheidsdiensten
Deze methodologische verantwoording zet uiteen wat het doel, het onderwerp en de werkwijze van het parlementaire onderzoek is geweest. Het onderzoek bestaat uit verschillende onderdelen en maakt gebruik van verschillende informatiebronnen en onderzoeksmethoden. De keuze daarvan wordt in dit hoofdstuk nader toegelicht en verantwoord.
Dit is de eerste keer dat de Eerste Kamer gebruik maakt van haar recht om een parlementair onderzoek uit te voeren. Dit betekent dat er ten aanzien van de inrichting van het onderzoek enkele procedures en handelwijzen moesten worden vastgelegd. Zo is er bijvoorbeeld een informatieprotocol opgesteld over de uitwisseling van informatie tussen regering en parlementaire onderzoekscommissie en zijn er vergelijkbare werkwijzen gekozen bij de samenstelling van het onderzoeksteam en de keuze van onderzoeksmethoden. Op een aantal punten heeft de Eerste Kamer voor een eigen aanpak gekozen, bijvoorbeeld in de vormgeving van openbare gesprekken (geen hoorzittingen, wel groepsgesprekken) en in de onderzoekswijze (het inhuren van externe onderzoekers en het uitbesteden van onderzoek). De Eerste Kamer is een chambre de réflexion; doel van het onderzoek is daarom beschouwen, reflecteren en leren – ook van en voor zichzelf.
Het onderzoek van de parlementaire onderzoekscommissies richt zich op de aard en de inhoud van de parlementaire besluitvorming in de Eerste en Tweede Kamer ten aanzien van privatiseringen en verzelfstandigingen van overheidsdiensten in de afgelopen twintig jaar (van 1990 tot 2010). Het betreft een wetgevingsonderzoek dat het functioneren van het parlement als medewetgever, controleur, volksvertegenwoordiger en hoeder van het algemeen belang centraal stelt. De commissie onderzoekt ook in welke mate bij besluitvorming over privatisering en verzelfstandiging aandacht is uitgegaan naar de gevolgen van privatiseringen en verzelfstandigingen voor de relatie burger-rijksoverheid. Doel van het onderzoek is op basis van een analyse van de in het verleden opgedane ervaringen de kwaliteit van toekomstige parlementaire besluitvorming ten aanzien van privatiseringen en verzelfstandigingen te ondersteunen en zo mogelijk te verbeteren.
Het onderzoek heeft nadrukkelijk niet tot doel een oordeel te geven over verzelfstandigingen of privatiseringen die hebben plaatsgevonden, noch over degenen die daarvoor verantwoordelijk waren. Ook richt de commissie zich niet op de vraag wat de gevolgen van privatisering en verzelfstandiging voor de burger als klant van publieke diensten zijn geweest; daarvoor verwijst de commissie naar de diverse studies die zijn uitgevoerd door onder meer toezichthouders, adviesorganen zoals de Sociaal-Economische Raad (SER) en de Wetenschappelijke Raad voor het Regeringsbeleid (WRR), de Algemene Rekenkamer, de Nationale Ombudsman, adviesbureaus en wetenschappelijk onderzoek naar de economische effecten van privatisering en verzelfstandiging.
De centrale onderzoekvraag van het onderzoek luidt:
Op welke wijze en in welke mate is gedurende de periode 1990–2010 in de parlementaire beraadslagingen ten aanzien van privatiseringen en/of verzelfstandigingen aandacht uitgegaan naar de beoogde, verwachte en bereikte effecten van privatiseringen en verzelfstandigingen op de verhouding tussen burger en rijksoverheid?
De «verhouding tussen burger en rijksoverheid» heeft betrekking op de beoordeling door burgers van de controle, sturing en verantwoording door de rijksoverheid en van geprivatiseerde of verzelfstandigde diensten. Heeft de rijksoverheid nog afdoende middelen om te sturen, en maakt zij daar – naar het oordeel van de burger – ook op een adequate manier gebruik van? Dit is van belang met het oog op de borging van publieke belangen.
De centrale vraagstelling van het onderzoek beweegt zich op drie niveaus: (1) dat van de regering (beleid), waar doorgaans het initiatief heeft gelegen om over te gaan tot privatisering/verzelfstandiging, (2) dat van de beide Kamers der Staten-Generaal, die de benodigde wetgeving mede tot stand hebben gebracht, en (3) dat van de burger die te maken heeft gekregen met de effecten van de privatisering/verzelfstandiging van overheidsdiensten. Op elk van deze niveaus zijn deelvragen geformuleerd waar in het onderzoek antwoord op wordt gezocht.
Niveau 1: regeringsbeleid
• Op grond waarvan werd tot privatiseren/verzelfstandigen besloten?
• Wat waren daarbij de voornaamste overwegingen?
• Hoe werd over de voordelen en opbrengsten van privatisering/verzelfstandiging gedacht?
• Welke (nieuwe) sturingsfilosofie van publieke dienstverlening stond daarbij voor ogen?
• Welke (toekomstige) rol van de rijksoverheid stond daarbij voor ogen?
• Op welke wijze werden de effecten van privatisering/verzelfstandiging geanalyseerd?
• Werd er nagedacht over de borging van vitale publieke belangen?
• Werd er nagedacht over de gevolgen voor de relatie tussen de burger en de rijksoverheid?
• Tot welke vormen van versterkte publieke controle door de rijksoverheid hebben privatiseringen en verzelfstandigingen geleid (versterking van regeldruk, toezichtorganen e.d.) en werd dit in deze omvang voorzien?
• Hebben privatiseringen en verzelfstandigingen geleid tot een andere bestuurlijke cultuur bij de overheid (gedepolitiseerd, meer bedrijfsmatig e.d.) en hoe is dit te taxeren?
Niveau 2: parlement/medewetgever
• Welke afwegingen hebben beide Kamers gemaakt met betrekking tot de grondslag en doelstelling van privatiseringen en verzelfstandigingen? Op welke wijze hebben de Staten-Generaal de premissen getoetst?
• Welke verwachtingen waren er in de Staten-Generaal ten aanzien van de effecten van privatiseringen en verzelfstandigingen? Liepen deze uiteen met de verwachtingen van de regering?
• Hoe is het effect van privatiseringen en verzelfstandigingen op de relatie burger-rijksoverheid ingeschat?
• Hoe zijn de Kamers er mee omgegaan dat, door het op afstand zetten van overheidsdiensten, ook het mechanisme van publieke verantwoording en daarmee de sturing en controle door het parlement worden geraakt?
• Zijn de Kamers anders gaan denken over sturingsmogelijkheden door de overheid nadat belangrijke privatiseringen en verzelfstandigingen hadden plaatsgevonden?
• Hoe is de bemoeienis van de Kamers met het onderwerp als zodanig te typeren door de jaren heen? Is er reflectie geweest op eigen handelen (en daarmee op de kwaliteit van de parlementaire beraadslagingen)?
Niveau 3: burger
• Wat zijn de feitelijke effecten van privatiseringen en verzelfstandigingen voor de burger? (dienstverlening, kosten, keuzevrijheid e.d.)
• Passen deze feitelijke effecten bij de verwachte effecten door de rijksoverheid?
• Hoe is de relatie tussen burger en rijksoverheid veranderd als gevolg van privatiseringen en verzelfstandigingen van overheidsdiensten?
• Is er een verband tussen effecten van privatisering/verzelfstandiging en de manier waarop burgers de rijksoverheid percipiëren? Is er een verband met de vraag of burgers vertrouwen hebben in de overheid?
• Hoe waarderen burgers de «borging» van bepaalde publieke belangen (energievoorziening, water, openbaar vervoer e.d.)?
Deze deelvragen zijn in vier thema’s gegroepeerd die als leidraad hebben gefungeerd voor de analyse van onderzoeksgegevens en het formuleren van conclusies. Ook de onderzoeksrapporten zijn opgebouwd aan de hand van deze vier thema’s:
1. Bronnen, motieven en verwachtingen van privatiserings- en verzelfstandigingsbeleid en besluiten;
2. Sturing en verantwoording na privatisering en verzelfstandiging, inclusief het borgen van publieke belangen;
3. Effecten en evaluaties, ofwel welke effecten werden verwacht, is dit geëvalueerd, en is er gebruik gemaakt van ervaringen met eerdere besluiten, in andere sectoren of landen;
4. Rol van het parlement als medewetgever, controleur, volksvertegenwoordiger en hoeder van het algemeen belang.
Het onderzoek van de parlementaire onderzoekscommissie bestaat uit vijf onderzoekselementen:
1. De commissie heeft zelf onderzoek gedaan naar debatten in de Staten-Generaal over een aantal specifieke besluiten tot privatisering of verzelfstandiging van overheidsdiensten (casusonderzoeken). De resultaten hiervan vormen, tezamen met een vergelijkende casusanalyse, het deelrapport.
2. De commissie heeft een aantal achtergrondstudies laten verrichten vanuit verschillende perspectieven. Deze studies vormen geen integraal onderdeel van het rapport maar hebben de commissie geholpen bij het formuleren van haar conclusies.
3. De commissie heeft een vijftal expertmeetings gehouden om zich door deskundigen over deelaspecten van het onderzoek te laten informeren.
4. De commissie heeft gesprekken gevoerd met diverse betrokkenen, of representanten daarvan, bij besluitvorming over privatisering en verzelfstandiging. Deze gesprekken hebben overwegend in de openbaarheid plaatsgevonden, op een aantal gesprekken na. Van de openbare gesprekken zijn verslagen gemaakt, die als Kamerstuk I 2012/13, C, D zijn gepubliceerd.
5. De commissie heeft met enige regelmaat de voortgang en tussentijdse resultaten van het onderzoek besproken met een klankbordgroep.
Hierna wordt elk van deze vijf elementen nader toegelicht en verantwoord.
Voor het casusonderzoek zijn vier sectorspecifieke casus geselecteerd: de verzelfstandiging van de NS (reizigersvervoer) en ProRail; de verzelfstandiging en later privatisering van de telefonie en post (PTT); de verzelfstandiging van het beheer van het energienetwerk in het kader van het debat over de privatisering van energiebedrijven; en de verzelfstandiging en later privatisering van de reïntegratiedienst. Voor een definitie van begrippen als verzelfstandiging en privatisering, en de verschillende vormen daarvan verwijst de commissie naar het Hoofdrapport2. De vier casus zijn geselecteerd uit een langere lijst met mogelijke casus op basis van de volgende criteria:
• De casus moeten een omvangrijk maatschappelijk effect kennen c.q. veel burgers hebben geraakt;
• De casus moeten een parlementaire behandeling kennen;
• De casus moeten gespreid zijn over diverse sectoren;
• De casus moeten gespreid in de tijd liggen (1990–2010); en
• De casus moeten verschillende vormen van geheel of gedeeltelijke privatisering of verzelfstandiging hebben.
Deze criteria zijn in mei 2011 opgesteld door de aan de parlementaire onderzoekscommissie voorafgegane voorbereidingscommissie van het parlementaire onderzoek.3 Ze sluiten aan bij de centrale onderzoeksvraag van de onderzoekscommissie waarin effecten voor de burger (impact) centraal staan evenals de kwaliteit van de besluitvorming over een langere periode. In lijn daarmee is besloten om per casus in te zoomen op één of twee belangrijke besluiten. Op die manier kan een volledige parlementaire behandeling worden gevolgd en geanalyseerd. Zo’n besluit moet natuurlijk in zijn context worden bezien. Hoewel dat in de individuele casusonderzoeken maar beperkt mogelijk is, kunnen in de vergelijkende analyse van alle casus wel lessen worden getrokken over de ontwikkeling van de besluitvorming in de tijd en over verschillen tussen bijvoorbeeld sectoren. Op die manier probeert de commissie zowel in de diepte als in de breedte een beeld te krijgen van de besluitvorming over privatisering en verzelfstandiging.
Per casus zijn de volgende besluiten geselecteerd voor nader onderzoek:
• Post en telefonie: dit casusonderzoek richt zich op de verzelfstandiging van het staatsbedrijf PTT tot de staatsdeelneming NV KPN in 1989, de beursgang daarvan in 1994 en latere privatisering door verkoop van aandelen. Ook de Telecomwet uit 1998 en de oprichting van OPTA (een zelfstandig bestuursorgaan; ZBO) in 1997 zijn in het onderzoek meegenomen. KPN werd gesplitst in een telefonie- en postbedrijf (TPG). De privatisering van de post volgde op Europese richtlijnen uit 1997 en werd neergelegd in de Postwet van 2000. Beide bedrijven opereren heden ten dage in een geliberaliseerde markt.
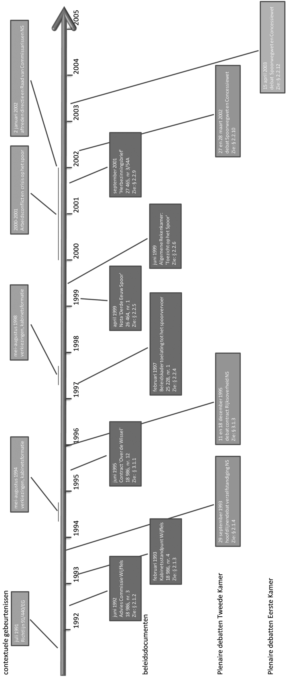
• NS: dit casusonderzoek richt zich op het besluit uit 1995 om het reizigersvervoer te verzelfstandigen (NS NV, staatsdeelneming) en het besluit uit 2005 om ProRail BV (een rechtspersoon met een wettelijke taak – rwt – en staatsdeelneming) op te richten. Feitelijk was de NS al een zelfstandig bedrijf voor 1995 en betrof de «verzelfstandiging» in 1995 meer het financieel zelfstandig worden van de NS dan bijvoorbeeld de organisatievorm. De «verzelfstandiging» van de NS volgde op het rapport-Wijffels en Europese richtlijnen uit 1991. De oprichting van ProRail werd voorafgegaan door Europese richtlijnen uit 2001 en 2004. Besluiten ten aanzien van het goederenvervoer en streek- en stadsvervoer maken geen deel uit van de casus.
• Reïntegratie: het besluit om (een deel van) de arbeidsvoorzieningenorganisatie (een ZBO) te verzelfstandigen in 2002 in een staatsdeelneming genaamd Kliq NV, en die daarna te privatiseren was onderdeel van de discussie over de herstructurering van de uitvoering van de sociale zekerheid en de oprichting (verstatelijking) van het UWV. Ook het besluit om de verplichte uitbesteding van reïntegratieactiviteiten door gemeenten los te laten, speelt een rol in deze casus. Kliq NV is in 2005 failliet gegaan, voordat de privatisering kon plaatsvinden.
• Energie: het casusonderzoek richt zich op de Wet Onafhankelijk Netbeheer (WON) uit 2006. Deze wet beoogde te regelen dat regionale energienetwerken in publieke handen en onder publiek beheer konden blijven indien energiebedrijven zouden worden geprivatiseerd.4 De WON volgde op het besluit tot liberalisering van de energiemarkt in 2004, dat op zijn beurt een uitvloeisel was van de Europese richtlijn inzake liberalisering uit 1996 en de Elektriciteitswet 1998.
Naast deze vier sectorspecifieke casus heeft de commissie besloten ook onderzoek te doen naar twee generieke debatten over privatisering en verzelfstandiging. Daarvoor is gekozen voor het debat over de Kaderwet ZBO en het staatsdeelnemingenbeleid (nota’s uit 1996, 2001 en 2007). Dit wordt ook wel de vijfde casus genoemd.
Elk casusonderzoek is uitgevoerd door een team van een onderzoeker en één of meer leden van de parlementaire onderzoekscommissie. Alle casusonderzoeken zijn begeleid door de onderzoekscoördinator.
|
Casus |
Kenmerken casus |
Onderzoeksteam |
|---|---|---|
|
Post en Telefonie |
verzelfstandiging; staatsdeelneming (PTT) en ZBO (OPTA), privatisering (KPN) periode: 1989–1994 sector: economie |
drs. Jooske de Sonnaville onderzoeker/auteur Marlieke Heck MSc onderzoeker/auteur dr. Arjan Vliegenthart lid onderzoekscommissie ir. Marijke Vos lid onderzoekscommissie |
|
NS |
verzelfstandiging; staatsdeelneming (NS) en ZBO (ProRail) periode: 1995–2005 sector: openbaar vervoer |
dr. Mark de Bruijne onderzoeker/auteur prof. dr. Roel Kuiper lid onderzoekscommissie ir. Marijke Vos lid onderzoekscommissie |
|
Reïntegratie |
verzelfstandiging en beoogde privatisering; staatsdeelneming (Kliq) periode: 2000–2005 sector: sociale zekerheid |
drs. Ilse Hento onderzoeker/auteur mr. Frank de Grave lid onderzoekscommissie prof. dr. Kees de Lange lid onderzoekscommissie |
|
Energie |
verzelfstandiging (staatsdeelneming TenneT), ontvlechting en (regionale) privatisering periode: 2004–2006 sector: energie |
drs. Bart Stellinga onderzoeker/auteur dr. Guusje ter Horst lid onderzoekscommissie drs. Gerrit Terpstra lid onderzoekscommissie |
|
Generiek debat |
Kaderwet ZBO, 1994–2007 Nota’s staatsdeelnemingenbeleid uit 1996, 2001 en 2007 |
mr. Jasper Boon onderzoeker/auteur prof. dr. Roel Kuiper lid onderzoekscommissie prof. dr. Sandra van Thiel onderzoekscoördinator |
Werkwijze in de casusonderzoeken
De parlementaire onderzoekscommissie heeft een onderzoeksprotocol gehanteerd voor alle casusonderzoeken. Dit bestaat uit een aantal voorschriften ten aanzien van de methoden, analyse en rapportage. Op die manier konden de uitkomsten van de casusonderzoeken met elkaar worden vergeleken.
Elk casusonderzoek combineert twee onderzoeksmethoden: een inhoudelijke analyse van documenten (met name het parlementaire dossier van de geselecteerde besluiten) en een beperkt aantal interviews met deskundigen of betrokkenen. Inhoudsanalyse is een methode waarbij onderzoekers teksten of tekstdelen interpreteren en op een korte betekenisvolle manier samenvatten met behulp van gestandaardiseerde trefwoorden. Voor de inhoudsanalyse is op basis van de onderzoeksvragen een lijst met vragen en trefwoorden opgesteld. De onderzoekers gebruiken deze lijst om de inhoud van het parlementaire dossier te analyseren. Zo kan er bijvoorbeeld in een tekst worden gezocht naar verschillende motieven of effecten van verzelfstandiging of privatisering.
Het parlementaire dossier bestaat uit het volledige dossier van de Kamerhandelingen, zowel van de Tweede Kamer als van de Eerste Kamer, dus van voorstel tot en met finale besluitvorming. Soms zijn aanvullende of secundaire bronnen meegenomen, zoals adviezen, evaluatiestudies of beleidsbrieven, met name indien daarnaar wordt verwezen in het parlementaire dossier. Bij elk casusverslag wordt in de voetnoten verwezen naar documenten die zijn geanalyseerd.
Van de interviews wordt geen openbaar verslag gedaan; de gesprekken zijn vooral van informatieve aard om voorlopige conclusies te toetsen of ontbrekende informatie in het dossier te achterhalen. De selectie van gesprekspartners is gebaseerd op de uitkomsten van het dossieronderzoek; pas dan was duidelijk over welke onderwerpen met welke gesprekspartners (experts, parlementariërs, uitvoerders, ambtenaren) gesproken moest worden. In totaal zijn er voor alle casus tezamen 18 interviews met 23 personen gehouden. In bijlage 2 van dit rapport staat per casus vermeld met wie is gesproken.
Voor de rapportage over de bevindingen van het casusonderzoek is niet gekozen voor een chronologische volgorde van de besluitvorming, maar voor een thematische aanpak waarbij de vier eerdergenoemde thema’s (motieven, sturing, effecten, rol parlement) leidend zijn. Ter inleiding op de casusrapportage wordt wel een kort overzicht van het besluitvormingstraject gegeven; er wordt afgesloten met een beknopte bespreking van relevante ontwikkelingen die zich na het onderzochte besluit hebben afgespeeld.
Elk casusverslag is door één of meerdere onafhankelijke experts gelezen om te controleren op feitelijke onjuistheden. Voor verwijzingen naar informatie uit interviews is aan de geïnterviewden om goedkeuring gevraagd. Via het ministerie van Binnenlandse Zaken en Koninkrijksrelaties (BZK) zijn de casusrapportages voor een controle op feitelijke onjuistheden ook aan de regering voorgelegd. De casusonderzoeken zijn uitgevoerd in de periode januari tot en met april 2012.
Aanvullende overzichtsstudies
Voor de casusonderzoeken is een aantal overzichtsstudies opgesteld. Bij de casusselectie bleek bijvoorbeeld dat bestaande overzichten van verzelfstandigingen en privatiseringen vaak onvolledig zijn. Daarom is aan het ministerie van BZK verzocht een overzicht op te stellen van alle privatiseringen en verzelfstandigingen in de periode waarop het onderzoek van de parlementaire onderzoekscommissie zich richt. De resultaten daarvan vindt u in bijlage 3 van dit deelrapport. Deze lijst is opgesteld onder auspiciën van het ministerie van BZK, op basis van bijdragen van alle ministeries.
Tijdens het casusonderzoek bleek dat evaluaties van met name ZBO’s niet altijd even gemakkelijk te vinden waren. De informatiespecialist bij het onderzoek (Peter van Goch) heeft zoveel mogelijk evaluatiestudies van ZBO’s en staatsdeelnemingen getraceerd en in kaart gebracht of deze rapportages behandeld zijn in het parlement. De resultaten daarvan zijn opgenomen in bijlagen bij dit deelrapport (bijlagen 4 en 5).
De parlementaire onderzoekscommissie heeft bij haar onderzoek gekozen voor een specifieke afbakening; het gaat om de kwaliteit van de parlementaire besluitvorming enerzijds en de effecten voor de burger van besluiten tot privatisering en verzelfstandiging anderzijds. Om ook vanuit andere perspectieven informatie te verkrijgen en dat te kunnen betrekken bij haar conclusies heeft de commissie besloten vier achtergrondstudies uit te laten voeren. Deze studies belichten het onderzoeksonderwerp elk vanuit een specifiek perspectief.
De eerste achtergrondstudie geeft een overzicht van het privatiserings- en verzelfstandigingsbeleid van de Nederlandse regering in de afgelopen twee decennia. Deze studie is verricht door de WRR, onder leiding van prof. dr. Gerard de Vries. De studie beschrijft hoe het privatiserings- en verzelfstandigingsbeleid zich heeft ontwikkeld en welke aannames of theorieën eraan ten grondslag lagen. Op die manier krijgt de onderzoekscommissie meer inzicht in de oorsprong van de voorstellen voor wetgeving en besluitvorming die in het parlementaire debat in de specifieke casus zijn besproken.
De tweede achtergrondstudie beschrijft op basis van internationaal vergelijkend wetenschappelijk onderzoek wat er bekend is over (onderzoek naar) effecten van privatisering en verzelfstandiging voor de burger. Dit helpt de onderzoekscommissie om te bepalen hoe haar onderzoek zich verhoudt tot onderzoek in andere landen. Ook wil de commissie nagaan of effecten voor de Nederlandse burger verschillen van effecten voor burgers in andere, overwegend Europese, landen. De auteurs van deze studie zijn allen lid van COCOPS; een door de EU gefinancierd netwerk van onderzoekers die onderzoek doen naar de effecten van overheidshervormingen in diverse Europese landen, onder leiding van prof. dr. Steven Van de Walle (Erasmus Universiteit Rotterdam).
De derde achtergrondstudie is een essay over mogelijke bedoelde en onbedoelde effecten van privatisering en verzelfstandiging voor de burger. Het essay is geschreven door prof. dr. Frans van Waarden (Universiteit Utrecht) op basis van zijn jarenlange onderzoek naar en observatie van privatisering en verzelfstandiging in Nederland en andere landen. Deze achtergrondstudie is geen traditioneel onderzoeksverslag, maar een kritische en persoonlijke beschouwing of zelfs voorbeschouwing van mogelijke effecten. Dit essay helpt de onderzoekscommissie in haar gedachtevorming over effecten voor de burger en diens relatie tot de rijksoverheid.
De vierde achtergrondstudie is een onderzoek onder burgers. Het Sociaal Cultureel Planbureau (SCP) heeft in overleg met de onderzoekscommissie een vragenlijst opgesteld om te achterhalen wat burgers weten en vinden van privatisering en verzelfstandiging, zowel in specifieke gevallen als meer in het algemeen, en van de rol van de rijksoverheid (regering en parlement) daarbij. Deze informatie is van groot belang voor het onderzoek van de onderzoekscommissie en is niet vast te stellen uit bestudering van het parlementaire dossier. Ook andere bronnen zoals evaluatiestudies en wetenschappelijk onderzoek leverden onvoldoende informatie over dit perspectief op. De achtergrondstudie van het SCP is daarmee een belangrijke aanvulling voor de onderzoekscommissie. De vragenlijst is voorgelegd aan een representatieve steekproef van de Nederlandse bevolking (online-enquête). Aansluitend zijn drie focusgroepen (groepsinterviews) gehouden met burgers. Het onderzoek is uitgevoerd door prof. dr. Paul Dekker en drs. Josje den Ridder, onder leiding van prof. dr. Paul Schnabel.
De opdrachten tot de achtergrondstudies zijn verstrekt in december 2011. De rapportages zijn in de loop van het onderzoek opgeleverd: het WRR-rapport in januari 2012, de COCOPS-studie in maart 2012, het essay van Van Waarden in april 2012 en het SCP-rapport in juli 2012.
De achtergrondstudies maken geen integraal deel uit van het rapport van de onderzoekscommissie, maar worden separaat gepubliceerd via de website van de Eerste Kamer en/of door de auteurs zelf. Eventuele standpunten die in de achtergrondstudies worden geuit, zijn niet de standpunten van de parlementaire onderzoekscommissie. Daar waar de commissie in het hoofdrapport gebruik heeft gemaakt van informatie of ideeën uit de achtergrondstudies, wordt verwezen naar de betreffende studie.
De onderzoekscommissie heeft een aantal expertmeetings gehouden om met deskundigen van gedachten te kunnen wisselen over verschillende aspecten van het onderzoek. Soms betrof een dergelijke bijeenkomst een deel van het onderzoek zelf, bijvoorbeeld als de auteurs van een achtergrondstudie hun bevindingen presenteerden, maar er zijn ook bijeenkomsten gehouden over aspecten die weliswaar te maken hebben met het onderzoek, maar niet noodzakelijkerwijs op dat moment in studie waren.
In totaal zijn vijf bijeenkomsten gehouden:
• Een voorbeschouwing op het WRR-rapport Markt, staat en samenleving door prof. dr. Gerard de Vries van de WRR, op 29 november 2011;
• Een overzicht van sturing, controle en verantwoording ten aanzien van verzelfstandigde organisaties door drs. Saskia Stuiveling, president van de Algemene Rekenkamer, op 31 januari 2012;
• Een presentatie over de kwaliteit van het parlementaire debat, met bijzondere aandacht voor het doen van onderzoek door parlementen door prof. dr. Carla van Baalen van het Centrum voor Parlementaire Geschiedenis van de Radboud Universiteit, op 21 februari 2012;
• Een presentatie over effecten van privatisering en verzelfstandiging voor de burger, in brede zin en/of in andere landen door prof. dr. Steven Van de Walle, directeur COCOPS, en prof. dr. Frans van Waarden, op 24 april 2012;
• Een presentatie over de eerste bevindingen van het SCP-onderzoek onder burgers door prof. dr. Paul Dekker en drs. Josje den Ridder, op 3 april 2012.
Van deze bijeenkomsten zijn geen verslagen gemaakt.
Na het beschikbaar komen van de resultaten van de casusonderzoeken en diverse achtergrondstudies, heeft de commissie een aantal gesprekken gevoerd met direct betrokkenen bij de casus. Deze gesprekken hadden een casusoverstijgend karakter, waarbij ook specifiek aandacht werd besteed aan de gevolgen van privatiseren/verzelfstandigen voor burgers. De commissie heeft deze gesprekken in openbaarheid gevoerd, om publiekelijk verantwoording te kunnen geven over de inhoud en de uitkomsten van het onderzoek. In de eerste twee weken van juni 2012 zijn elf openbare gesprekken gevoerd met 26 personen. De gesprekken waren via de live stream te volgen op de website van de Eerste Kamer, en bijna allemaal via het digitale tv-kanaal Politiek24. Diverse media hebben er verslag van gedaan. Ook na deze periode zijn nog gesprekken gevoerd, maar die zijn niet meer uitgezonden. Hier liggen vooral pragmatische argumenten aan ten grondslag; het betrof personen die wel waren uitgenodigd voor een openbaar gesprek maar die niet beschikbaar waren in de periode van deze gesprekken.
De openbare gesprekken hadden als doel om met direct betrokkenen te spreken over hun ervaringen en opvattingen over de besluitvorming over privatisering en verzelfstandiging, en de effecten daarvan voor burgers, en om de beelden en voorlopige conclusies van de commissie op basis van de casusonderzoeken en achtergrondstudies daaraan te toetsen of mee te vergelijken. Een tweede belangrijk doel was om met de genodigden te spreken over mogelijke aanbevelingen om de besluitvorming indien nodig en wenselijk te verbeteren. Daarom is ervoor gekozen om met een breed scala aan betrokkenen te praten.
Er zijn verschillende typen gesprekspartners uitgenodigd. Allereerst een aantal beschouwers; adviseurs van het openbaar bestuur en/of leden van hoge colleges van staat die door hun jarenlange ervaring een brede kijk hebben op het privatiserings- en verzelfstandigingsbeleid van de Nederlandse overheid. Vervolgens is gesproken met een aantal «ontwerpers»; overwegend ambtenaren die de regering hebben geadviseerd over privatiserings- en verzelfstandigingsbesluiten, zowel inhoudelijk als procedureel. Daarna is gesproken met een aantal betrokkenen bij besluiten tot privatisering, zoals oud-bewindslieden en oud-parlementariërs (uit beide Kamers). Met name bij de laatste categorieën gesprekspartners is ook aansluiting gezocht bij de casusonderzoeken die de onderzoekscommissie heeft verricht (zie boven). Voorts is gesproken met vertegenwoordigers uit de wereld van de uitvoeringsorganisaties en toezichthouders. Ook heeft de commissie met personen over het burgerperspectief. Gesprekken met deze twee laatste groepen gesprekspartners zijn om pragmatische redenen gecombineerd.
Onderstaande tabel biedt een overzicht en vermeldt of gesprekspartners een individueel dan wel groepsgesprek hebben gehad:
|
Naam |
Type gesprekspartner |
Type gesprek |
|---|---|---|
|
prof. mr. Herman Tjeenk Willink |
beschouwer (voormalig vice-president van de Raad van State) |
individueel gesprek |
|
drs. Saskia Stuiveling |
beschouwer (president van de Algemene Rekenkamer) |
individueel gesprek |
|
dr. Alexander Rinnooy Kan |
beschouwer (voorzitter van de Sociaal-Economische Raad) |
individueel gesprek |
|
prof. mr. Roel Bekker |
ontwerper (voormalig secretaris- generaal) |
groepsgesprek 1 |
|
drs. Marjanne Sint |
ontwerper (voormalig secretaris- generaal) |
groepsgesprek 1 |
|
prof. dr. Ko de Ridder |
expert (hoogleraar bestuurskunde) |
groepsgesprek 1 |
|
mevrouw Annemarie Jorritsma |
voormalig bewindspersoon |
groepsgesprek 2 |
|
mr. Laurens Jan Brinkhorst |
voormalig bewindspersoon |
groepsgesprek 2 |
|
prof. dr. Willem Vermeend |
voormalig bewindspersoon |
groepsgesprek 2 |
|
dr. Gerrit Zalm |
voormalig bewindspersoon |
individueel gesprek |
|
mr. dr. Koos van den Berg |
voormalig lid Tweede Kamer |
groepsgesprek 3 |
|
drs. Jacob Reitsma |
voormalig lid Tweede Kamer |
groepsgesprek 3 |
|
prof. mr. Erik Jurgens |
voormalig lid Eerste Kamer |
groepsgesprek 3 |
|
de heer Gerrit Schutte |
voormalig lid Tweede Kamer |
groepsgesprek 4 |
|
dr. Kees Vendrik |
voormalig lid Tweede Kamer |
groepsgesprek 4 |
|
de heer Johan Remkes |
voormalig lid Tweede Kamer |
groepsgesprek 4 |
|
mr. Olga Scheltema |
voormalig lid Tweede Kamer |
groepsgesprek 4 |
|
dr. Kars Veling |
voormalig lid Tweede Kamer |
groepsgesprek 5 |
|
prof. dr. Frans Leijnse |
voormalig lid Eerste Kamer |
groepsgesprek 5 |
|
mr. Yvonne Timmerman-Buck |
voormalig voorzitter Eerste Kamer |
groepsgesprek 5 |
|
drs. Dorine Burmanje |
uitvoerder (voorzitter raad van bestuur Kadaster en voorzitter Handvestgroep Publiek Verantwoorden) |
groepsgesprek 6 |
|
mr. Sadik Harchaoui |
beschouwer burgerperspectief (voorzitter Raad voor Maatschappelijke Ontwikkeling) |
groepsgesprek 6 |
|
prof. dr. Paul Schnabel |
beschouwer burgerperspectief (directeur SCP) |
groepsgesprek 6 |
|
drs. Bart Combée |
beschouwer burgerperspectief (directeur Consumentenbond) |
groepsgesprek 7 |
|
mr. Chris Fonteijn |
uitvoerder en toezichthouder (voorzitter raad van bestuur NMa, collegevoorzitter OPTA; per 1 januari 2013 bestuursvoorzitter ACM) |
groepsgesprek 7 |
|
mr. Bernadette van Buchem |
uitvoerder en toezichthouder (directeur Consumentenautoriteit) |
groepsgesprek 7 |
Ter voorbereiding op het gesprek zijn vragenprotocollen opgesteld. Deze sluiten aan op de vier thema’s die eerder zijn gedefinieerd en zijn gebaseerd op de uitkomsten van de casusonderzoeken en achtergrondstudies. Afhankelijk van de gesprekspartner(s) zijn vragen voorgelegd over het beleid, de besluiten tot privatisering en verzelfstandiging, de wijze waarop die besluiten tot stand zijn gekomen, de kwaliteit van de beraadslagingen en de effecten van die besluiten met name voor burgers.
Van alle openbare gesprekken zijn stenografische verslagen gemaakt, die als Kamerstuk I 2012/13, C, D zijn gepubliceerd.
De onderzoekscommissie heeft een klankbordgroep ingesteld om de commissie te adviseren over het onderzoek. De leden van de klankbordgroep zijn aangezocht vanwege hun kennis en ervaring met privatisering en verzelfstandiging, bijvoorbeeld als adviseur, uitvoerder, onderzoeker of bestuurder.
De klankbordgroep bestaat uit:
• drs. Hein Albeda, zelfstandig adviseur, voormalig directeur Stichting Rekenschap, oprichter van www.verantwoording.nl;
• prof. dr. Carla van Baalen, hoogleraar parlementaire geschiedenis in Nijmegen, directeur van het Centrum voor Parlementaire Geschiedenis;
• prof. dr. Wim van de Donk, commissaris van de koningin in Noord-Brabant, voormalig hoogleraar bestuurskunde, voormalig voorzitter van de WRR;
• dr. ir. Carel van Eykelenburg, voorzitter Bank Nederlandse Gemeenten, voorheen directeur IB-Groep, voormalig topambtenaar;
• prof. dr. Piet Rietveld, hoogleraar vervoerseconomie aan de VU;
• prof. dr. Michiel Scheltema, voormalig hoogleraar bestuursrecht aan de Rijksuniversiteit Groningen (van 1983 tot 1997), voormalig staatssecretaris van Justitie, voormalig voorzitter van de WRR (van 1998 tot 2004);
• prof. drs. Jacques Wallage, bijzonder hoogleraar integratie en openbaar bestuur aan de Rijksuniversiteit Groningen en voorzitter van de Raad voor het openbaar bestuur (Rob).
Er zijn drie klankbordgroepbijeenkomsten belegd: over de onderzoeksopzet (februari 2012), over de uitkomsten van de casusonderzoeken (april 2012) en over het conceptrapport (september 2012).
Dit hoofdstuk behandelt de besluiten tot verzelfstandiging van de PTT en de privatisering van KPN. Het betreft hier zowel de telefonie als de post. De debatten over deze besluiten vonden plaats vanaf midden jaren ’80 tot midden jaren ’90 (beursgang van KPN). Daar waar relevant komen echter ook enkele ontwikkelingen aan bod die zich hebben voorgedaan na de besluiten tot verzelfstandiging en privatisering, zoals de verkoop van aandelen, de liberalisering van de telefonie- en postmarkten, en de oprichting van de OPTA. De opbouw van dit hoofdstuk volgt de thematische indeling zoals beschreven in de methodologische verantwoording in hoofdstuk 1. Na een inleiding (paragraaf 2.1) en korte schets van het verloop van het besluitvormingstraject (paragraaf 2.2) wordt achtereenvolgens ingegaan op de vier centrale thema’s van het parlementaire onderzoek: de motieven voor het besluit (paragraaf 2.3), de aspecten ten aanzien van sturing en verantwoording (paragraaf 2.4), voorziene en eventueel bereikte effecten voor de burger (paragraaf 2.5), en de rol van het parlement in de besluitvorming (paragraaf 2.6).
De post en de (vaste) telefonie waren tot en met 1988 in handen van het Staatsbedrijf der Posterijen, Telegrafie en Telefonie: de PTT. Vanaf 1989 is het staatsbedrijf verzelfstandigd in de vorm van een naamloze vennootschap, een rechtspersoon met overdraagbare aandelen. Tot 1994 is de Staat enig aandeelhouder van de NV PTT. In 1994 wordt overgegaan tot een eerste beursgang. De resterende aandelen zijn vervolgens in diverse tranches verkocht. In 1998 worden post en telefonie gesplitst. In 2007 zijn het telefoniebedrijf (KPN) en het postbedrijf (eerst TPG, thans PostNL) twee aparte en privaatrechtelijk volledig zelfstandige bedrijven, los van de Staat. Er blijft evenwel een publiekrechtelijk vormgegeven relatie met de Staat omdat beide organisaties taken uitvoeren die in wet- en regelgeving zijn vastgelegd.
In dit casusonderzoek maken we twee afbakeningen: een afbakening in tijd en een afbakening in thematiek.
Tijd
In deze casusrapportage ligt de focus op de keuze voor verzelfstandiging (1989) en de keuze voor privatisering (vanaf de beursgang in 1994 tot de verkoop van laatste aandelen in 2007). Om de keuze voor verzelfstandiging goed te kunnen beoordelen, moeten we eerst de voorgeschiedenis bekijken. Deze casusanalyse begint in het jaar 1981 als de commissie-Swarttouw de opdracht krijgt om de toekomst van het toenmalige staatsbedrijf PTT te onderzoeken. Deze casusanalyse eindigt in 2007 wanneer de privatisering wordt afgerond. Een aantal ontwikkelingen van na 2007 wordt ook meegenomen, omdat ze inzicht geven in de gevolgen van de privatisering. Zo is er op 21 maart 2012 een debat in de Tweede Kamer over de postmarkt geweest waarin het ongenoegen over de organisatie van de post tot felle discussie leidde.
Thematiek
De focus in dit deelrapport ligt op de post en de vaste telefonie. Deze onderwerpen kunnen niet geheel los van hun context worden bezien. Zo zal dit rapport ook de telegrafie, radio en televisie, de kabel, internet, mobiele telefonie etcetera bezien. Omwille van de focus van dit onderzoek worden deze onderwerpen echter niet diepgaand behandeld.
De focus ligt op het proces van verzelfstandigen en privatiseren. Deze processen krijgen een plaats in een bredere context, namelijk de liberalisering van de postmarkt en de telecommunicatiemarkt. Deze ontwikkelingen liggen in elkaars verlengde; liberalisering kan een motief zijn om te privatiseren. Dat dit echter geen absolute noodzakelijkheid is, blijkt uit paragraaf 2.1.2. waarin de telefonie- en postmarkten in de ons omliggende landen staan beschreven.
Het huidige PostNL is een volledig geprivatiseerd bedrijf dat in een vrije markt opereert; per april 2009 is de postmarkt namelijk volledig geliberaliseerd, inclusief de brievenpost tot 50 gram. In de praktijk is de concurrentie op sommige delen van de postmarkt beperkt. Dit heeft te maken de postregelgeving. Op basis van de postregelgeving die voortkomt uit de Europese postrichtlijn is PostNL aangewezen als universele dienstverlener. De regelgeving schrijft voor welke diensten PostNL minimaal moet leveren met het oog op het publiek belang. Hierin staan onder andere de brievenbusdichtheid, bezorgfrequentie en het minimale aantal dienstverleningspunten omschreven. PostNL heeft een marktaandeel van 80–90% in de gehele poststroom en een aandeel van bijna 100% in ongesorteerde post. De zakelijke markt betreft ongeveer 92% van het postvolume. Particuliere gebruikers versturen ongeveer 8% van de poststukken in Nederland.6 Er is nog één andere aanbieder met een landelijk dekkend netwerk over: Sandd. PostNL bezorgt zes dagen per week, Sandd twee dagen per week. Daarnaast zijn er nog veel regionale partijen actief.
De liberalisering van de postmarkt is in alle Europese landen doorgevoerd. In tegenstelling tot andere landen is de Nederlandse overheid echter geen eigenaar meer van het postbedrijf. Uit onderstaande tabel valt af te leiden dat in andere landen de Staat nog altijd (alle) aandelen van het nationale postbedrijf bezit.
|
Internationale situatie maart 2012 |
Aandeel Staat: |
|
|---|---|---|
|
Verenigd Koninkrijk |
Royal Mail |
10% |
|
Duitsland |
Deutsche Post |
36% |
|
Frankrijk |
La Poste |
100% |
|
België |
Bpost |
40% |
|
Italië |
Poste Italiane |
100% |
|
Spanje |
Correos |
100% |
|
Nederland |
PostNL |
0% |
Bron: Main developments in the postal sector (2008–2010), Copenhagen Economics, 2010
Anno 2012 is de telefoniemarkt volledig geliberaliseerd en KPN volledig geprivatiseerd. Het voormalige staatsbedrijf KPN is (inclusief het telefonienetwerk) voor 100% in handen van private partijen. Dat wil niet zeggen dat KPN geen bijzondere positie meer heeft. KPN heeft op de verschillende deelmarkten nog steeds een zeer sterke positie. Gezien deze sterke positie en het publiek belang dat de overheid nog altijd toekent aan telefonie is KPN gehouden aan bepaalde plichten ter vervulling van de Universele Dienstverlening. Zo moet KPN iedere Nederlander desgewenst een telefoonaansluiting bieden tegen een vast tarief.
Uit onderstaande tabel valt af te leiden dat steeds meer landen – net als Nederland – afstand doen van aandelen in het telefoniebedrijf.
|
Internationale situatie maart 2012 |
Aandeel Staat: |
|
|---|---|---|
|
Verenigd Koninkrijk |
British Telecom |
0% |
|
Duitsland |
Deutsche Telekom |
32% |
|
Frankrijk |
France Telecom |
0% |
|
België |
Belgacom |
54% |
|
Italië |
Telecom Italia |
0% |
|
Spanje |
Telefónica |
0% |
|
Nederland |
KPN |
0% |
Bron: diverse internationale websites
Deze paragraaf geeft een kort historisch overzicht van de besluitvorming rondom verzelfstandiging van de PTT en privatisering van KPN. Figuur 2.1 geeft dit ook schematisch weer. In deze paragraaf behandelen we alle stappen in het verzelfstandigings- en privatiseringsproces in vogelvlucht; vanaf paragraaf 2.3 wordt ingegaan op de details.
Verzelfstandiging PTT (1989)
In 1989 wordt de PTT omgezet van een staatsbedrijf in een naamloze vennootschap (NV); een privaatrechtelijke onderneming waarvan de overheid alle aandelen in handen heeft. Dit is het gevolg van het besluit om de PTT te verzelfstandigen. Twee commissies hebben geadviseerd over de mogelijkheid of wenselijkheid van verzelfstandiging: in 1982 de commissie-Swarttouw en in 1984 de commissie-Steenbergen. Beide commissies passeren hieronder kort de revue.
De commissie-Swarttouw
De commissie-Swarttouw rondt in maart 1982 haar rapport af en beveelt aan:
• de PTT te verzelfstandigen;
• de randapparatuur te liberaliseren (zoals met name telefoons); en
• het monopolie op de infrastructuur te behouden.
Pas in januari 1984 wordt het rapport van de commissie-Swarttouw aan de Tweede Kamer aangeboden, voorzien van een regeringsstandpunt.7 De regering volgt (nog) niet alle adviezen van de commissie op en wil het verzelfstandigen van de PTT nogmaals laten onderzoeken. De staatssecretaris vindt dat de onderbouwing van de commissie-Swarttouw te kort schiet. Het nieuwe onderzoek wordt opgedragen aan de commissie-Steenbergen. De regering stelt voor om alleen de geavanceerde randapparatuur te liberaliseren (de traditionele telefoontoestellen dus niet).
Na deze stappen van het kabinet vindt op 4 juni 1984 een uitgebreide commissievergadering plaats in de Tweede Kamer over het rapport-Swarttouw.8 Er heerst ongenoegen binnen de Kamer dat het zo lang heeft geduurd (twee jaar) voordat het regeringsstandpunt er is. Blijkbaar ligt de materie gevoelig, zo concludeert een aantal Kamerleden. Ook betreurt de Kamer het dat een standpunt over de juridische structuur van de PTT ontbreekt en dat er nu weer een nieuwe commissie in het leven wordt geroepen. Omdat de regering hierover geen standpunt inneemt, nemen partijen zelf het initiatief om hun standpunt kenbaar te maken (zie verder paragrafen 2.2 en 2.3).
De commissie-Steenbergen
De commissie-Steenbergen zet haar onderzoek uit bij het onderzoeksbureau McKinsey. McKinsey en de commissie-Steenbergen leveren hun rapport af in augustus 1985.9 Het advies van de commissie-Steenbergen ligt evenwel geheel in lijn met het eerdere advies van de commissie-Swarttouw:
• de PTT moet een (structuur-) NV worden;
• de overheid moet vooralsnog 100% aandeelhouder blijven;
• alle randapparatuur moet worden geliberaliseerd;
• de PTT moet voor het overige een monopolie houden; en
• in een concessie moet worden bepaald welke publieke diensten de PTT moet leveren en op welke wijze (tarieven etc.).
Waar het kabinet bij de commissie-Swarttouw echter nog aarzelend reageerde op de aanbevelingen, neemt het kabinet de aanbevelingen van de commissie-Steenbergen grotendeels over. Verder is opvallend dat terwijl de «periode-Swarttouw» zich kenmerkte door traagheid van de kant van de regering, er nu vaart wordt gemaakt. In 1986 wordt het kabinetsstandpunt over het rapport-Steenbergen in de Tweede Kamer overgenomen en besluit de Kamer tot verzelfstandiging.10
Machtigingswet PTT, Wet op de telecommunicatievoorziening en de Postwet
De oprichting van de naamloze vennootschap Koninklijke PTT Nederland NV (KPN) wordt geregeld in de Machtigingswet.11 De Wet op de Telecommunicatievoorziening (Wtv) regelt de concessie die de Staat verleent aan de PTT voor wat betreft de telecommunicatietaken. De Postwet regelt de posttaken van de PTT. Tezamen regelen deze twee wetten welke voorwaarden worden gesteld aan de dienstverlening die de PTT moet gaan leveren. Hiermee tracht het parlement publieke belangen zoals toegankelijkheid en betaalbaarheid van telefonie en post te borgen (zie verder paragraaf 2.4 over borging). Door de concessietaken op publiekrechtelijke wijze vast te leggen, behoudt het parlement veel zeggenschap. In december 1987 worden de wetsvoorstellen aangeboden aan de Tweede Kamer. In volgende paragrafen komt de parlementaire behandeling ervan uitgebreid aan bod.
Privatisering
De PTT wordt in 1989 definitief verzelfstandigd en gaat verder onder de naam KPN. Snel hierna begint de (gedeeltelijke) privatisering van KPN. Dit verloopt stapsgewijs. Het begint met een beursgang van KPN in 1994. Daarna worden aandelen in tranches verkocht, inclusief het zogenoemde Gouden Aandeel. Bovendien worden het postbedrijf en het telefoniebedrijf gesplitst. Het proces eindigt in 2007 met het afstoten van de laatste aandelen in handen van de Staat. KPN en TPG (post) zijn dan volledig zelfstandige bedrijven. Deze stappen worden één voor één kort nagelopen.
Beursgang KPN
In 1992 start het overleg tussen KPN en de overheid over de beursgang. Het kabinet wil een deel van de aandelen (circa 30%) verkopen. In het wetvoorstel Beursgang KPN doet de minister daarom een drieledig voorstel aan het parlement:
• Een deel van de aandelen wordt naar de markt gebracht (voorjaar 1994);
• Een voornemen tot het innemen van een minderheidsbelang (circa 33%); en
• De mogelijkheid om vervolgaandelen af te stoten zonder voorafgaande instemming van het parlement.12
In 1994 verkoopt de Staat de eerste tranche aandelen (30%) en in 1995 een tweede tranche van 25%. Vanaf dat moment heeft de Staat een minderheidsaandeel in het bedrijf, maar door het bezit van het zogenoemde Gouden Aandeel heeft de Staat alsnog de meerderheid van stemmen in de aandeelhoudersvergadering. In 1996 neemt de posttak van KPN het Australische postbedrijf TNT over, waarmee KPN haar internationale postactiviteiten uitbreidt.
Oprichting OPTA (1997)
Op aandringen van de Tweede Kamer wordt een onafhankelijk toezichthouder opgericht: de OPTA. De OPTA wordt gezien als een tijdelijke voorziening omdat uiteindelijk het toezicht op de post- en telefoniemarkten onder het algemene mededingingstoezicht zal moeten komen te vallen (anno 2012 is inderdaad een fusie tussen OPTA en NMa in gang gezet).
Splitsing post en telefonie (1998)
In 1998 worden de post en de telefonie op verzoek van KPN gesplitst.13 De post gaat verder onder de naam TNT Post Group BV (TPG, vanaf 2005 TNT) terwijl de telefonie onder de naam KPN blijft opereren.14 KPN en TPG zijn hiermee twee zelfstandige private rechtspersonen geworden. De aandeelhouders van KPN krijgen een procentueel even groot aandeel TPG. Dit betekent dat ze voor elk aandeel KPN, een aandeel TPG krijgen.15 De Staat krijgt in TPG een aandeel van 43,3%, gelijk aan het aandeel in KPN. De postconcessie wordt verleend aan TPG. Bij TPG worden ook het Gouden Aandeel, de mogelijkheid tot preferente aandelen en de commissarissen van overheidswege ingevoerd (zie paragraaf 2.4).16
Het voorstel tot splitsing leidt in 1998 in het parlement nauwelijks tot discussie. Wel is D66 bezorgd over de continuering van de publieke functie van de post en pleit zij er voor dat de Staat hier krachtiger kan optreden dan bij telefonie, ook gezien het trage liberalisatietempo van de postmarkt.17 De minister van Verkeer en Waterstaat deelt deze bezorgdheid niet en stelt dat de gekozen privaatrechtelijke structuur toereikend is.18
Afstoten aandelen KPN
De periode na het jaar 2000 is een bewogen periode waarbij KPN zich financieel in zwaar weer bevindt. Door overnames in het buitenland ontstaan financiële problemen en daalt de koers zo sterk dat even voor een faillissement wordt gevreesd. De regering is op dat moment – mede door ingeven van de EU – de verdere terugtrekking van de Staat uit KPN en TNT aan het regelen. Maar ze temporiseert dit om KPN weer te laten herstellen. De Tweede Kamer is kritisch over het investeringsbeleid van KPN en maakt zich zorgen over de leveringszekerheid, aangezien de netten ook in handen van KPN zijn. Kamerleden vragen zich af of een faillissement er toe kan leiden dat er tijdelijk niet kan worden getelefoneerd. Vanaf eind 2001 herstelt KPN zich langzaam weer.
In 2003 reduceert de Staat het belang in KPN verder van 30% naar 19%. In 2005 verkoopt de Staat het Gouden Aandeel in KPN en wordt het aandelenbezit teruggebracht naar 8%. In 2006 worden de laatste aandelen KPN verkocht.19 De staat kan echter wel nog steeds sturen via de zogenoemde universele dienstverleningsconcessie (UD), waarin richtlijnen zijn vastgelegd omtrent de dienstverlening op het gebied van telefonie aan de klant.
Afstoten aandelen TNT Post
Na de splitsing bezit de Staat 43% van de aandelen in TNT Post. In 2001 wordt het staatsbelang teruggebracht tot 35%. In 2004 vindt er een verdere afstoting plaats naar 19%, in 2005 naar 11% en in 2006 wordt het restant verkocht. In 2004 maakt de Europese Commissie bij het Europees Hof aanhangig dat het Gouden Aandeel dat de Nederlandse Staat in TNT heeft, in strijd is met EG-bepalingen. Het Hof geeft de Commissie in september 2006 gelijk.20 Bij de eerstvolgende algemene aandeelhoudersvergadering, in april 2007, wordt het Gouden Aandeel daarom ingetrokken.21 Net als bij telefonie behoudt de Staat ook voor de post de mogelijkheid om via de UD-concessie blijvend invloed uit te kunnen oefenen.
Figuur 2.1. vat de ontwikkelingen samen zoals geschetst in dit hoofdstuk. Tabel 2.3 laat zien onder welke kabinetten en betrokken bewindslieden de besluiten tot verzelfstandiging en privatisering tot stand kwamen. Voordat er nader wordt ingegaan op de details van de parlementaire beraadslagingen over de belangrijkste beslissingen in deze casus, wordt in paragraaf 2.2 nog één ander punt besproken: de liberalisering van de post- en telefoniemarkten.
|
Kabinet en betrokken bewindspersonen |
Periode |
Besluiten |
|---|---|---|
|
Van Agt-I (CDA, VVD) Kroes (VVD), staatssecretaris van Verkeer en Waterstaat |
dec. 1977 – sept. 1981 |
juli 1981 commissie-Swarttouw ingesteld (Kroes) |
|
Van Agt-II (CDA, PvdA, D66) Zeeveld (D66), minister van Verkeer en Waterstaat Van der Doef (PvdA), staatssecretaris van Verkeer en Waterstaat |
sept. 1981 – mei 1982 |
maart 1982 rapport-Swarttouw gereed en aangeboden aan de Tweede Kamer (Van der Doef; zonder toelichting) |
|
Van Agt-III (CDA, D66) Zeeveld (D66), minister van Verkeer en Waterstaat |
mei 1982 – nov. 1982 |
|
|
Lubbers-I (CDA, VVD) Kroes (VVD), minister van Verkeer en Waterstaat Scherpenhuizen (VVD) , staatssecretaris van Verkeer en Waterstaat |
nov. 1982 – juli 1986 |
jan. 1984 kabinetsstandpunt rapport-Swarttouw (Scherpenhuizen) juni 1984 commissie-Steenbergen ingesteld (Scherpenhuizen) juli 1985 rapport-Steenbergen gereed dec. 1985 kabinetsstandpunt rapport-Steenbergen (Kroes) |
|
Lubbers-II (CDA, VVD) Kroes (VVD) minister van Verkeer en Waterstaat |
juli 1986 – nov. 1989 |
nov. 1987 wetsvoorstellen naar Raad van State okt. 1988 wetten gereed jan. 1989 verzelfstandiging |
|
Lubbers-III (CDA, PvdA) Maij-Weggen (CDA) minister van Verkeer en Waterstaat |
nov. 1989 – aug. 1994 |
juni 1994 beursgang KPN |
|
Kok-I (PvdA, VVD, D66) Jorritsma (VVD) minister van Verkeer en Waterstaat |
aug. 1994 – aug. 1998 |
1995 tweede aandelentranche aug. 1997 OPTA van start 1998 splitsing post en telefonie |
Figuur 2.1. Historisch overzicht van besluiten tot privatisering post en telefonie

Dit onderzoek is gericht op de verzelfstandiging van de PTT en de privatisering van KPN en TNT. Parallel aan de verzelfstandiging en privatisering van de telefonie en post vond echter ook een proces van liberalisering plaats; het openstellen van de markten voor telefonie en post. Beide processen verliepen stapsgewijs en beïnvloedden elkaar wederzijds. Liberalisering maakt geen onderdeel uit van het onderzoek, maar is in tweede instantie een belangrijk motief voor privatisering, en verdient daarom aandacht. De post heeft hiermee te maken op het gebied van internationale postzendingen en de positie van TPG ten opzichte van omringende landen.
De keuze om in Nederland de telecommunicatie- en de postmarkt te liberaliseren is ingegeven door het liberaliseringsbeleid van de Europese Unie (EU). Dat beleid ontwikkelt zich na de besluitvorming met betrekking tot de verzelfstandiging van de PTT en bespoedigt vervolgens de privatisering.
De telefoniemarkt in Nederland is – net als de postmarkt – stapsgewijs geliberaliseerd. De druk om de verschillende deelmarkten open te stellen voor concurrentie werd ingegeven door de EU.
In 1987 geeft de Europese Commissie in het Groenboek Telecommunicatie22 aan waar zij heen wil met het telecombeleid in de EU. De Commissie wil met het rapport een discussie op gang brengen, maar wil nog geen beleidsstappen afdwingen. Het Europese telecombeleid is vooral bedoeld om technologische ontwikkelingen en marktwerking te bevorderen. Er is – zo constateert de Commissie – consensus tussen lidstaten dat:
• meer marktwerking wenselijk is;
• een rol van de overheid (lidstaat) nodig blijft in het borgen van de publieke dienstverlening;
• de lijn tussen wat publieke dienstverlening is en wat concurrerende diensten zijn verandert door technologische ontwikkeling; en dat
• spraaktelefonie een publieke dienstverlening is (in 1987 was dit 85 à 90% van de dienstverlening).
Lidstaten zouden de volgende stappen moeten gaan nemen:
• randapparatuur volledig liberaliseren;
• interconnectiviteit bieden voor providers van andere lidstaten (internationale belverbindingen); en
• regelgeving en uitvoering scheiden.
Nadrukkelijk wordt in het Groenboek ook vermeld dat verschillen tussen lidstaten mogen blijven bestaan, waaronder de keuze voor private dan wel publieke dienstverlenende partijen.
De eerste stap die in Nederland wordt gezet, is het vrijgeven van de productie van randapparatuur in 1989. Vanaf dat moment kunnen consumenten ook bij andere bedrijven dan de PTT hun telefoontoestellen aanschaffen. Nederland is in internationaal vergelijkend perspectief een voorloper in liberalisering. Met de aanpassing rondom de verzelfstandiging van de PTT voldoet Nederland vanaf 1989 aan de door de EU gewenste ontwikkelingen. Alleen het Verenigd Koninkrijk ligt op dat moment op Nederland voor.
In 1990 wordt door de EU de Open Network Provision (ONP)-richtlijn vastgesteld. Telecommunicatieleveranciers met een overheersende positie in de markt (zoals KPN) worden hierdoor aan banden gelegd, om zo de toegang tot de markt voor kleine partijen mogelijk te maken. De lidstaten zijn verantwoordelijk voor de naleving van de richtlijn. Het ONP schrijft bijvoorbeeld voor dat anderen dan KPN tegen een vergoeding de infrastructuur van KPN moeten kunnen gebruiken. Naar aanleiding hiervan wordt in Nederland in 1998 de Wet op de Telecommunicatievoorzieningen vervangen door de Telecommunicatiewet. Hierin wordt de «interconnectieplicht» vastgelegd, een plicht aan alle partijen om concurrenten verbinding te laten maken via elkaars netwerk. Voor de partijen met aanmerkelijke marktmacht (AAM) op de markt van de vaste telefonie (KPN dus) wordt bepaald dat zij concurrenten toegang tot hun netwerk moeten bieden tegen kostengeoriënteerde tarieven. Zodoende kunnen nu meerdere telecommunicatiebedrijven via het vaste net van KPN telefoondiensten leveren.
Op onderdelen zorgt de EU (toen nog EG) voor méér bemoeienis van de overheid met KPN (bijvoorbeeld bij het vaststellen van tarieven en het toedelen van «gewilde nummers»). De ONP-richtlijnen maken dat de Nederlandse Staat strenger toezicht moet gaan houden op de mogelijkheid voor nieuwe partijen om de markt te betreden. Ook moet de Staat sancties vastleggen voor partijen die de regels van de open markt niet naleven. De liberalisering die de EU wenst leidt tot meer regulering in Nederland in plaats van deregulering, zo stelt de minister. De overheid zal een strengere toezichthoudende rol moeten spelen. De nadruk komt op de bescherming van de vrije markt te liggen, meer dan op de bescherming van de dienstverlening van de concessietaken door KPN.23
De periode vanaf 1992 kenmerkt zich door een aantal vervolgstappen die zijn ingegeven door de EU.24 Er vindt een discussie plaats over de toekomst van het telecommunicatiebeleid, mede onder invloed van EU-ontwikkelingen. De Nederlandse wet- en regelgeving komt op onderdelen niet overeen met het Europees beleid. Daarom wordt de Telecommunicatiewet aangepast. Een bijkomende factor is dat het kabinet vindt dat de Nederlandse telecommunicatie op een hoger niveau zou moeten functioneren. Nederland doet het in internationaal vergelijkend opzicht goed, maar Nederland wil bij de besten horen.24 Het kabinet wil eerst (vanaf 1995) de netwerken liberaliseren met het oog op de exploitatie van telecommunicatie-infrastructuur. In 1998 zullen alle diensten worden geliberaliseerd, zoals voorgeschreven door de EU.25
Dit kabinetsvoorstel is gebaseerd op een onderzoek van McKinsey in opdracht van het ministerie van Verkeer en Waterstaat. Op basis van dat rapport wil minister Jorritsma een duopolie invoeren waarbij een tweede volwaardige infrastructuur gecreëerd zou moeten worden. Hiervoor moet een tweede partij worden gevonden die reeds een netwerk in het bezit heeft. Daarbij wordt gedacht aan de kabelnetwerken en de netwerken die de NS en de energiebedrijven hadden. De grootste kabelexploitant – Casema – lijkt de meest aangewezen partij, maar is niet geschikt omdat KPN het merendeel van de aandelen daarvan bezit. Uiteindelijk komen Telfort en Enertel daarom op de markt (zie tekstbox). Beide zijn inmiddels eigendom van KPN en dus geen concurrent meer.
Telfort
British Telecom (BT) en de NS richtten in 1996 Telfort op. De NS had een landelijk glasvezelnetwerk dat alle NS-stations met elkaar verbond. Dat werd de basis voor het Telfort-netwerk: een vierduizend kilometer lang glasvezelnet, maar zonder verbindingen aan huizen. Hierdoor bleef Telfort afhankelijk van de PTT-netwerken. Telfort leverde vaste en mobiele telefonie na het liberaliseren van beide markten. Daarnaast exploiteerde Telfort telefooncellen op NS-stations. In 2000 heeft de NS zich teruggetrokken uit het verliesgevende Telfort en de aandelen aan BT verkocht. In 2005 nam KPN het bedrijf weer over.
Enertel
Enertel was een samenwerkingsverband van energiebedrijven en kabelexploitanten waaronder Casema. Enertel had net als Telfort maar een beperkt netwerk en moest dus ook gebruik maken van het netwerk van de PTT. Anders dan Telfort had Enertel wel een netwerk lopen tot in woningen, omdat gebruik werd gemaakt van de televisiekabels. Circa 70% van de huishoudens kon daarmee potentieel bereikt worden. Opvallend detail is overigens dat Casema aandeelhouder was van Enertel en KPN eigenaar van Casema, waarmee de beoogde concurrent dus deels in het bezit was van de monopolist die beconcurreerd moest worden. KPN moest daarom van de minister Casema van de hand doen. In 2006 nam KPN Enertel over.
Anno 2012 zijn UPC, Tele2 en Ziggo de drie concurrenten voor KPN voor wat betreft de vaste telefonie.
UPC
UPC heeft een eigen glasvezelnetwerk en levert telefonie, televisie, radio en internet in delen van Nederland. UPC (het voormalige United Philips Cable) is in de loop van de jaren ’90 ontstaan door de aankoop van regionale kabelbedrijven van lokale overheden en energiebedrijven. Telefonie afnemen bij UPC kan alleen als je ook televisie afneemt bij UPC, omdat de telefonie over de televisiekabel loopt.
Ziggo
Ziggo heeft eveneens een eigen netwerk, maar geen landelijke dekking. Telefonie afnemen kan alleen in combinatie met televisie. Ziggo ontstond uit een fusie van drie regionale kabelexploitanten: @Home, Casema en Multikabel.
Tele2
Tele2 gebruikte aanvankelijk het KPN-netwerk, maar nam in 2005 Versatel over dat een eigen netwerk had. In 2011 ging Tele2 samen met BBnet, waardoor de dekking voor vaste telefonie werd uitgebreid. Bij Tele2 kan telefonie als losse dienst worden afgenomen, maar dan belt men over het netwerk van KPN en betaalt dus ook indirecte abonnementskosten (via Tele2) aan KPN à 10 euro.
Het Groenboek Post van 1992 is de eerste formele stap van de Europese Commissie in het liberaliseringsproces van de postmarkt. Het uitkomen van het Groenboek duurde vier jaar langer dan gepland door verdeeldheid tussen de lidstaten, met name tussen de Noordelijke en Zuidelijke lidstaten. Laatstgenoemden willen minder ver gaan met de liberalisering. Het Groenboek is dan ook vooral bedoeld om de discussie rondom liberalisering op gang te brengen. Tevens wil de Europese Commissie de nadruk leggen op het definiëren van de universele dienstverlening om publieke belangen zoals leveringszekerheid, toegankelijkheid en betaalbaarheid te kunnen garanderen, ook als de markt geheel vrij is.
De Europese Commissie constateert in het Groenboek de volgende problemen op de postmarkt:
• een gebrek aan harmonisatie;
• de prestaties van postbedrijven verschillen sterk tussen de lidstaten;
• de internationale postzendingen duren erg lang; en
• het slecht functioneren van postmarkten in sommige regio's leidt tot marktverstoringen in aanverwante sectoren.26
De Europese Commissie schetst in het Groenboek drie scenario's voor de toekomst van de postmarkt. Allereerst het handhaven van de status-quo. Het tweede scenario is de complete harmonisatie van de gehele postmarkt en ook alle tarieven. Het derde scenario is een tussenvariant: een stapsgewijze verdere opening van de markt en het versterken van de universele dienstverlening. De Commissie kiest voor de laatste optie. Het definiëren van de universele dienstverlening zorgt voor financiële stabiliteit van het netwerk (postinfrastructuur) terwijl het volgens de Commissie tegelijkertijd optimale keuzevrijheid brengt voor consumenten.27
Binnen dit scenario formuleert de Europese Commissie een aantal hoofddoelen:
• het vaststellen van een algemeen geaccepteerde definitie van het begrip Universele Dienstverlening;
• het opleggen van gemeenschappelijke verplichtingen aan de Universeel Dienstverleners om een kwalitatief hoogwaardige postbezorging te waarborgen; en
• het nemen van elke geschikte maatregel om harmonisatie van de Europese postmarkt te bewerkstelligen.28
Over de trage totstandkoming van het Groenboek merkt de minister van Verkeer en Waterstaat op: «Het verwachte Groenboek, waarin de Commissie de grondslagen voor een communautair beleid uit de doeken zal doen, is ten langen leste uitgekomen. Het feit dat het functioneren van grote, nationale instellingen in het geding is, waarbij de politiek met vele gevoeligheden rekening moet houden, heeft vertragend gewerkt op de totstandkoming.»29
Het Nederlandse kabinet en de Tweede Kamer zijn teleurgesteld over dit Groenboek. De Kamer vindt het erg vaag en is van mening dat het de ontwikkeling van de Nederlandse postmarkt zal beperken.30 Nederland wil graag voorop lopen, maar de minister denkt dat dit Groenboek niet veel veranderingen teweeg zal brengen. Tegelijkertijd wil de minister niet dat Nederland een exercitieplaats wordt voor buitenlandse bedrijven.31
Eind 1997 komt de eerste postrichtlijn (97/67/EG) uit. Hierin wordt het begrip universele dienstverlening geïntroduceerd; postzendingen tot ten minste 2 kilogram, postpakketten tot 10 kilogram en aangetekende zendingen en zendingen met aangegeven waarde vallen hieronder. Brievenpost tot 350 gram mag voorbehouden worden; hiervoor mag een monopolie blijven bestaan.32 Het Nederlandse kabinet wil echter verder gaan en stelt voor om alle brieven tot 100 gram per 1 januari 2000 vrij te geven. Voor de meeste andere landen gaat dit voorstel echter veel te ver en Nederland krijgt hier dan ook nauwelijks steun voor. De pakketten en de drukwerkpost zijn op dat moment al vrijgegeven.
In de postrichtlijn wordt ook vastgelegd dat uiterlijk 1 januari 2000 een nieuw Europees besluit over de postmarkt zal worden genomen.33 De Europese Commissie wil echter alvorens dit nieuwe besluit te nemen de «Bolkestein-richtlijn» afwachten en komt uiteindelijk met een wijzigingsvoorstel dat het concessiegebied terugbrengt tot brieven tot 50 gram.34 Deze richtlijn verplicht lidstaten tot het vrijgeven van hun dienstenmarkt ten gunste van aanbieders uit andere lidstaten. Het uitblijven van zekerheid over een einddatum is een teleurstelling voor Nederland en het kabinet lobbyt dan ook voor een (einddatum voor) volledige liberalisering.35 De tegenstand van andere lidstaten is echter aanzienlijk en pas na maanden onderhandelen wordt het voorstel voor het vrijgeven van de markt voor alle post boven de 50 gram aangenomen.36 In 2006 doet de Europese Commissie het voorstel om de postmarkt per 1 januari 2009 volledig te liberaliseren. Nederland koerst op dat moment nog aan op een volledige liberalisering van de markt per 1 januari 2008.37 Het voorstel van de Commissie stuit echter opnieuw op tegenstand bij de andere lidstaten en uiteindelijk wordt in 2007 besloten dat de einddatum voor volledige liberalisering 31 december 2010 is.38
Nederland stelt een aantal keer de laatste stap tot volledige liberalisering uit. Dit uitstel wordt ingegeven door de angst om, door vooruit te lopen op omliggende landen, een risico te nemen de eigen markt voortijdig open te stellen voor andere spelers, zonder gelijke kansen voor Nederlandse bedrijven. Dit speelt bijvoorbeeld als Duitsland op het laatste moment een minimumloon voor postbezorgers verplicht stelt. Daardoor kunnen buitenlandse postbedrijven relatief gemakkelijk buiten de Duitse markt worden gehouden; zij zouden hierdoor tot 30% meer loon moeten gaan betalen dan was voorzien.
Uiteindelijk is per 1 april 2009 de Nederlandse postmarkt volledig geliberaliseerd. In april 2012 zijn er elf lidstaten met een volledig open markt, zestien anderen volgen eind 2012.39
Concurrentie voor monopolist PTT: de Stadspost
Door een nationale staking van PTT-postbezorgers in 1984 namen grote bedrijven en gemeenten de postbezorging steeds meer zelf in de hand. Al snel startten ook kleine particuliere postbedrijfjes. Dit gebeurde met name in de grote steden. Overigens moesten stadspostdiensten zich beperken tot het bezorgen van drukwerk en kaarten. De post voor de stadspostdiensten kon worden afgegeven bij agentschappen in supermarkten en sigarenwinkels. De stadspostdiensten zaten met hun tarieven 20 tot 25% onder de PTT-tarieven.40 In 1984 maakt de stadspost 0,5 tot 1% uit van het totale landelijke postverkeer. Gerelateerd aan de omvang van het lokale postverkeer ging het echter om aanmerkelijk hogere percentages.41
De Tweede Kamer en de staatssecretaris van Verkeer en Waterstaat vonden de stadspost een bedreiging voor de PTT en vreesden dat de PTT zou blijven zitten met de onrendabele bezorgingen in buitengebieden.42 Verschillende Kamerleden drongen dan ook aan op tariefdifferentiatie tussen lokale en interlokale post, om zo de particuliere initiatieven de wind uit de zeilen te nemen. De Staat spande bovendien een kort geding aan tegen Stadspost Haarlem BV waarmee duidelijk werd dat het voor stadspostbedrijven niet toegestaan was om tegelijkertijd brieven te vervoeren van meer dan één afzender.43
Tegenwoordig bestaan er nog stadspostdiensten, zij het wat minder wijdverbreid dan in de jaren tachtig. De schattingen lopen uiteen; rond 1984 bestonden er in Nederland ongeveer 800 stadpostdiensten, tegenwoordig is het aantal gedaald tot ongeveer 80.44 Elke stadpostdienst bezorgt in een bepaald postcodegebied en kan dit doen voor zowel bedrijven, particulieren als verenigingen. De tarieven van de stadspostdiensten verschillen onderling sterk.
In deze paragraaf wordt besproken welke redenen er waren voor de verzelfstandiging van de PTT en de privatisering van KPN en TPG. Welke motieven en verwachtingen speelden een rol bij de regering en hoe komen deze terug in de beraadslagingen? We bespreken deze in een historisch overzicht.
Aanvankelijk was het verzenden van post een private aangelegenheid. Pas aan het eind van de 18e eeuw, in de napoleontische tijd (1795–1815), vindt de Nederlandse overheid dat de Staat moet zorgen voor het vervoer en bezorging van de post. In 1799 wordt daartoe het Staatspostbedrijf opgericht. Deze begint in een vrije postmarkt; iedereen die post wilde bezorgen tegen inkomsten mocht dat doen. In 1807 wordt in de eerste Postwet het alleenrecht op het verzamelen, vervoeren en bezorgen van post aan de Staat toebedeeld. Eind negentiende eeuw ontwikkelt zich de telefonie. Vanaf 1910 gaat de overheid zich bezighouden met telefoonnetten. In 1928 wordt het Staatsbedrijf der Posterijen, Telegrafie en Telefonie (PTT) opgericht. Vanaf dat moment speelt er bij de PTT een continue wens om meer zelfstandigheid te krijgen. Het bedrijf wil meer bedrijfsmatig kunnen werken dan overheidsregels ten aanzien van financiën en personeel toelaten. Een poging daartoe in 1928 strandt, het parlement gaat niet akkoord. In de jaren ’30 blijft de PTT goede resultaten boeken; de winsten overtreffen de verwachtingen, en dat ondanks de recessie. In 1937 doet de PTT wederom een poging om meer zelfstandigheid te verkrijgen, die opnieuw strandt bij de volksvertegenwoordiging.
Tijdens de Tweede Wereldoorlog krijgt de PTT van de Duitsers wel de gewenste structuurverandering. Deze wordt na de oorlog weer ingetrokken na uitgebreid parlementair debat. Vooral de ministers van Financiën zijn fel tegenstander van een verzelfstandigde PTT, omdat het bedrijf zorgt voor substantiële inkomsten voor de schatkist.
In de jaren ’50 legt de overheid de PTT beperkingen op in het investeringsbeleid die ervoor zorgen dat de discussie over verzelfstandiging weer opspeelt in 1957. De PTT wil een zelfstandig rechtspersoon worden om zo leningen op de kapitaalmarkt te kunnen afsluiten. De minister van Verkeer en Waterstaat stelt een commissie in om de kwestie te onderzoeken: de commissie-Goedhart. De commissie concludeert in 1963 dat de status van de PTT een belemmering vormt voor een slagvaardige bedrijfsvoering. De commissie voert hierbij de zelfde argumenten aan als de PTT: het bedrijf heeft geen financieringszekerheid en is volledig afhankelijk van de rijksfinanciering; en het bedrijf kan geen flexibel arbeidsvoorwaardenbeleid voeren.
De investeringen die de PTT doet zijn bovendien te laag, zo constateert de commissie. De wachtlijsten voor telefoonaansluitingen nemen daardoor sterk toe. Door de onmogelijkheid om flexibel arbeidsvoorwaardenbeleid te voeren heeft de PTT problemen om technische experts aan te trekken en te behouden.
De commissie meent dat met de huidige status de problemen ook wel aangepakt kunnen worden, maar dat dit wel een wat halfslachtige oplossing is. Beter is het om de PTT om te vormen tot een rechtspersoon sui generis. De optie om de PTT om te zetten in een NV (naamloze vennootschap) komt in het rapport van de commissie-Goedhart nog niet voor. Deze optie wordt wel genoemd bij het debat over het rapport in de Tweede Kamer. Het ministerie van Binnenlandse Zaken en Koninkrijksrelaties (BZK) wil niet dat de positie van het personeel verandert en is daarom tegen een NV. Ook de vakbonden staan op dit standpunt. De ministeries van Financiën en van Verkeer en Waterstaat willen juist een stap verder gaan en overwegen wel de NV-vorm. De impasse wordt niet doorbroken en het kabinet valt in 1965. Pas in 1970 wordt de kwestie weer opgepakt. Het kabinet bereikt een akkoord over het voornemen om van de PTT zelfstandig te maken. Dat voornemen bereikt snel de kranten:
Figuur 2.2. Verzelfstandiging in 1972 reeds in de krant

«Regering wil van PTT naamloze vennootschap maken», De Waarheid, 4 januari 1972.
Toch blijkt er bij de uitwerking nog veel onenigheid te zijn over de gewenste invulling van de verzelfstandiging. Ook een poging in 1974 om de PTT ruimte te geven om geld te lenen buiten de schatkist om (maar dan zonder de gevoelige statuswijziging) – via een initiatiefwetvoorstel in de Tweede Kamer – mislukt.
Daarna volgt een periode van spanningen: de PTT wordt door de overheid verder «uitgemolken». Het bedrijf moet steeds meer afdragen en mag steeds minder investeren. De tarieven gaan omhoog en de wachtlijsten nemen toe. Dit leidt tot onrust in de samenleving, blijkens mediaberichten uit die tijd. De media en het bedrijfsleven verzetten zich tegen de ontwikkelingen omdat deze volgens hen neerkomen op een verkapte belastinginning door de overheid.
Ook de PTT-raad46 is het met deze ontwikkeling niet eens en stelt dat «het PTT-tarievenbeleid mede instrument van het fiscale overheidsbeleid wordt».47 Na het zoveelste voorstel tot tariefverhoging onderkent ook het parlement in 1984 dat deze ontwikkeling onwenselijk is of zelfs onhoudbaar.
Bovenstaande beschrijving van de voorgeschiedenis laat zien dat de verzelfstandiging van de PTT niet «uit de lucht kwam vallen». Er heeft een langdurige voorbereiding plaatsgevonden, met meerdere onderzoekscommissies en met veel discussie over nut en noodzaak ervan.
De weg naar de verzelfstandiging begint met het rapport van de commissie-Swarttouw (1982) en het bijbehorende kabinetsstandpunt (1984). Opvallend is dat de Eerste Kamer al vóór behandeling door de Tweede Kamer op initiatief van de VVD een debat over het kabinetsstandpunt voert. De VVD vindt het kabinetsstandpunt niet ver genoeg gaan.
Bij de behandeling van het kabinetsstandpunt in de Tweede Kamer zijn de volgende motieven voor verzelfstandiging aan de orde:
• de PTT moet toegang krijgen tot de kapitaalmarkt. De PTT kan als staatsbedrijf geen grote meerjarige investeringen doen;
• de PTT heeft problemen met het werven en behouden van ICT-specialisten (die stromen massaal uit naar het bedrijfsleven). Daarom zijn flexibele arbeidsvoorwaarden zeer urgent;
• de huidige status en structuur van de PTT maken het niet mogelijk om kansen van technologische ontwikkelingen te benutten (en omdat dit heel snel gaat, moet er haast met de verzelfstandiging gemaakt worden);
• de PTT moet zich kenmerken door bedrijfsmatigheid, slagvaardigheid, flexibiliteit en klantgerichtheid;
• het bedrijfsleven krijgt meer kansen: meerdere bedrijven kunnen – in concurrentie – randapparatuur gaan leveren; en
• de consument krijgt meer keuze in apparatuur en hopelijk ook scherpere prijzen.48
Bovenstaande motieven worden door de meeste partijen aangehaald, zowel in de debatten van 1984 (commissie-Swarttouw) en 1986 (commissie-Steenbergen) als de verzelfstandiging wettelijk wordt geregeld. Ook in de Eerste Kamer wordt naar deze motieven verwezen. De volgorde van de motieven hierboven komt overeen met het belang dat de verschillende partijen er aan toekennen en het aantal keren dat de motieven genoemd zijn.
De keuze om de PTT te verzelfstandigen valt samen met een groeiend idee dat het goed is om de dienstverlening van de telecommunicatie meer open te stellen via liberalisering. Tot de jaren ’80 bestempelde men de telecommunicatie als een «natuurlijk monopolie».
Natuurlijke monopolies zijn diensten waarvan men veronderstelt dat het efficiënter is om de dienst door één partij (vaak de overheid) te laten uitvoeren met het oog op schaalvoordelen. De gedachte is dat de neiging tot monopolievorming bij bepaalde diensten of activiteiten is terug te voeren op de aard van de dienst. Voorbeelden van diensten waaraan vaak een natuurlijk monopolie wordt toegekend zijn de spoorwegen, gas-, water- en elektriciteitsvoorzieningen, telegrafie, post en telefonie. Het liberaliseren van een dienst die als natuurlijk monopolie wordt gezien is niet logisch omdat de veronderstelling is dat de schaalvoordelen van één grote leverancier sterker wegen dan de voordelen van concurrentie. Bij de telecommunicatie begon vanaf de jaren ’80 het idee te groeien dat (delen van) deze dienstverlening wellicht niet meer als natuurlijk monopolie moesten worden bezien en baat zouden hebben bij liberalisering.49 In de debatten in de Tweede Kamer zien we deze afweging nadrukkelijk terug.
De PvdA – die aanvankelijk geen voorstander is van de keuze voor een verzelfstandigde NV PTT – vraagt de minister bij het debat in de Eerste Kamer om nog eens aan te geven «welke inhoudelijke afwegingen – de ideologische zijn ons bekend – het kabinet heeft gemaakt, die uiteindelijk hebben geleid tot deze vorm van privatisering.» Dit onderscheid dat de PvdA maakt tussen ideologische en inhoudelijke motieven wekt de suggestie dat de PvdA de eerder genoemde motieven afdoet als «slechts» ideologisch. De minister gaat op deze suggestie niet in, maar herhaalt de reeds bekende motieven.
In deze periode is de wens tot verzelfstandiging van de PTT ingegeven door belangen op het gebied van het telecommunicatiebeleid. De twee belangrijkste motieven voor de verzelfstandiging – mogelijkheid tot meerjarige investeringen en behoud van technische specialisten – zijn gericht op de telefonie. Dat de posterijen in Nederland zijn verzelfstandigd komt dus doordat de post en telefonie in één staatsbedrijf waren samengevoegd. Een zelfstandige afweging over de wenselijkheid van verzelfstandiging van de posterijen heeft niet plaatsgevonden. Dit beeld is bevestigd in onze interviews met betrokkenen. Oud-staatssecretaris Van der Doef bevestigt dat de post per ongeluk is «meegeprivatiseerd»; er is in de Tweede Kamer niet over gesproken.50 Oud-KPN-topman Dik heeft verteld dat er tussen de minister en hem is gesproken over het al dan niet meenemen van de post in de verzelfstandiging. In de ambtelijke werkgroepen die de verzelfstandiging voorbereidden, leefde het idee om de post niet mee te verzelfstandigen. De heer Dik was daar geen voorstander van en heeft minister Kroes ervan overtuigd om de post en telefonie bij elkaar te houden. De post was voor de verzelfstandiging verliesgevend en zou kunnen meeprofiteren van de verzelfstandiging. Aan de Tweede Kamer is de keuze om de post wel of niet mee te privatiseren nooit expliciet voorgelegd.51 Het was kennelijk de bedoeling de PTT als één bedrijf te verzelfstandigen. Mogelijk speelde hierin de verhuizing van het bedrijf naar Groningen – een operatie die gelijktijdig plaatsvond – een rol.
De post doet het eind jaren ’80 beduidend minder goed dan de telefonietak van de PTT. Er is echter wel een stijgende lijn te zien in de bedrijfsresultaten. In 1985 is het verlies 192,8 miljoen gulden.52 Dit verlies daalt jaarlijks en in 1988 – reeds voor de verzelfstandiging – heeft de post een positief resultaat van 23,4 miljoen gulden.53
Het spreidingsbeleid en de PTT54
Vanaf de jaren ’60 bestaat er in Nederland een spreidingsbeleid, bedoeld om de economische bedrijvigheid meer te spreiden over het land. Het belangrijkste voorbeeld is het ABP dat begin jaren ’70 naar Limburg werd verplaatst. In 1971 besluit de minister van Verkeer en Waterstaat – Willem Drees jr. – dat het staatsbedrijf PTT naar het Noorden gaat. In 1978 valt de keuze op Groningen voor het hoofdkantoor van de PTT. Dit leidt tot veel onrust bij het staatsbedrijf. De PTT wil dat de minister de Tweede Kamer informeert dat de verplaatsing niet plaats kan vinden. De ministerraad gaat daar echter niet mee akkoord en deelt de PTT mee dat de verplaatsing doorgaat. Gedurende de jaren ’80 vindt de verhuizing plaats en in 1992 is de verhuizing voltooid.
Gedurende de discussie over de verhuizing naar Groningen gingen de commissies- Steenbergen en -Swarttouw aan de slag met de onderzoeken naar de toekomstige verzelfstandigingen. De Tweede Kamer geeft aan dat het spreidingsbeleid in stand gehouden moet worden.55 Het CDA en de VVD willen dit zelfs statutair vastgelegd hebben. Maar de minister geeft aan dit zonder statutaire vastlegging af te kunnen dwingen.
Cor Wit – voormalig directeur-generaal PTT – stelt dat «er zonder spreiding geen verzelfstandiging was geweest. Het was pure koppelverkoop in de politiek.»56
De verzelfstandiging van de PTT vond op één moment plaats (1 januari 1989). De privatisering daarentegen bestaat uit meerdere stappen: van de beursgang in 1994 tot de verkoop van de laatste aandelen TNT in 2007. Hierna maken we onderscheid tussen de beursgang enerzijds en het afstoten van resterende aandelen anderzijds.
Beursgang
Hiervoor werd duidelijk dat de verzelfstandiging van de PTT tot stand kwam na stevig en langdurig beraad. De keuze om KPN naar de beurs te brengen is verhoudingsgewijs soepel en snel tot stand gekomen. Het voorstel kreeg weinig weerstand in de politiek en lijkt logisch voort te vloeien uit de eerdere verzelfstandiging en de liberalisering die vanuit de EU wordt ingezet. De minister van Verkeer en Waterstaat gebruikt de term «kettingreactie» om de periode vanaf 1989 te omschrijven.57
In de memorie van toelichting bij de begroting van het ministerie van Verkeer en Waterstaat voor 1992 meldt de minister dat een beursgang een goed idee is.58 De minister constateert dat de ontwikkeling van nieuwe (technologische) diensten langzamer loopt dan verwacht. Eén van de doelstellingen van de verzelfstandiging was de versterking van de innovatieve kant van het bedrijf. Liberalisering wordt nu reden om privatisering verder door te voeren. Dit is aanleiding om de oude gedachte – dat het wenselijk is om de infrastructuur in één hand te houden – opnieuw tegen het licht te houden. Misschien werkt meervoudig beheer van de infrastructuur wel beter, zo suggereert de minister. Als er meerdere infrastructuren worden toegestaan, zullen er misschien ook meer partijen zich tot de markt aangetrokken voelen. Daarop aansluitend zal de vraag gesteld moeten worden of het meerderheidsaandeel van de Staat in KPN behouden kan worden. De overheid zou dan immers met twee tegengestelde belangen komen te zitten: als aandeelhouder wil de overheid KPN zoveel mogelijk steunen, maar als ontwikkelaar van de vrije markt wil de overheid KPN juist inperken in haar monopolie.
Deze overwegingen lopen parallel aan de liberaliseringsontwikkelingen in de Europese Unie. De Nederlandse bewindslieden hebben gedurende de hele periode van verzelfstandigen en privatiseren de ambitie om voorop te lopen en krijgen daarin ook bijval van de Tweede Kamer. De minister en de Kamerleden zijn van mening dat het van groot belang is dat Nederland en KPN het in technologisch opzicht goed doen. Zo stelt de minister van Verkeer en Waterstaat in 1992: «De ambitie van Nederland om een «voordeur van Europa» te blijven vraagt hoogwaardige telecommunicatie-infrastructuur en diensten. Om daarin te kunnen voorzien moet de Nederlandse telecommunicatiesector, met de PTT voorop, in Europa in de eredivisies kunnen spelen.»58
Op 25 maart 1992 stuurt de minister de Tweede Kamer een brief waarin ze aangeeft dat de Telecomwet niet meer aansluit bij de Europese regelgeving (in voorbereiding) en dat Nederland alert moet inspelen op de ontwikkelingen. Een herbezinning op de Telecomwet is nodig. Deze brief doet nog geen voorstellen tot verdergaande privatiseringsstappen voor KPN (zoals het afstoten van aandelen). Wel is uit deze brief en bijgevoegde notities af te lezen dat een nieuw tijdperk aanbreekt, dat sterk is veranderd ten opzichte van het beeld dat eind jaren ’80 bestond.24
De Nederlandse regering meent dat een geprivatiseerd bedrijf beter in staat zal zijn in de toekomst op een geliberaliseerde markt in de Europese Unie in te kunnen spelen dan een staatsbedrijf. In die zin is liberalisering een motief voor privatisering. Tegelijkertijd erkent de regering ook een spanningsveld tussen liberalisering en het waarborgen van de maatschappelijke nutsfunctie. De minister zegt hierover: «De inhoud van deze concessie [de exclusieve concessie van KPN; red.] staat onder druk. De Europese Commissie speelt een rol met haar liberaliserende beleid, maar ook het bedrijfsleven vraagt meer armslag bij het zelf ontwikkelen en aanbieden van infrastructuur voor nieuwe diensten. Door deze ontwikkelingen moet het wettelijk kader hier en daar worden aangepast. Een overheid die stimuleert dat het bedrijfsleven aan de marktvraag tegemoet komt, stimuleert de bedrijvigheid. De keerzijde van de medaille kan echter zijn dat de competitie een grotere rol gaat spelen op het vlak van diensten waaraan tot dusverre een maatschappelijke waarde werd toegekend en die dus deel uitmaken van de oorspronkelijk aan KPN verstrekte concessie. Als de concessie wordt uitgehold, kan echter het draagvlak voor de basisdiensten en de infrastructuur te klein worden. De afweging tussen enerzijds liberalisering en anderzijds de maatschappelijke betekenis van een aantal basisdiensten wordt keer op keer gesteld. Het is een kernelement van haar taak. Eén ding is zeker: wat we ook doen, we moeten in elk geval voorkomen dat «het klimaat» in andere Europese landen zoveel aantrekkelijker wordt dat onze ondernemers hun heil elders zoeken en buitenlandse investeerders Nederland links laten liggen.»59 Liberalisering van de markten wordt aldus nadrukkelijk aangegrepen als argument om te privatiseren.
Daarnaast wijst de minister regelmatig – en Kamerleden overigens ook – op het risico van belangenverstrengeling die ontstaat door de liberalisering in combinatie met aandeelhouderschap van de Staat: «Als er meer aanbieders van infrastructuur komen zal de vraag of de staat een meerderheidsaandeel in PTT-Nederland kan behouden steeds nadrukkelijker aan de orde moeten komen. Immers, de overheid heeft twee verschillende belangen. Aan de ene kant is zij de regelgever die bepaalt tegen welke voorwaarden infrastructuuraanbieders zullen worden toegelaten op het terrein dat nu nog exclusief van de PTT is. Aan de andere kant is de overheid als aandeelhouder van de PTT geïnteresseerd in een hoge bedrijfswinst. En grotere concurrentie schept meer risico's voor de PTT, risico's die zowel ten voordeel als ten nadeel van de PTT kunnen uitpakken.»59 Hiermee wordt in een vroeg stadium al erkend dat aandeelhouderschap in de toekomst onder druk zal komen te staan.
In het formele voorstel in 1993 tot de Wet Beursgang KPN geeft de minister van Verkeer en Waterstaat de volgende motieven waarom KPN een beursgenoteerd bedrijf dient te zijn:
• als KPN een sterker bedrijf wordt, kan het nog beter de concessie uitvoeren;
• de Staat kan de inkomsten van de aandelen benutten voor andere bestedingen;
• de ICT-markt groeit exponentieel. KPN moet zich commercieel opstellen om zich in de steeds meer (internationale) concurrerende markt te kunnen overleven en een groter marktaandeel te verwerven («survival of the fittest»);
• KPN moet internationale samenwerkingsverbanden kunnen aangaan (Nederland is klein);
• KPN krijgt een betere toegang tot risicodragend kapitaal (door emissies);
• KPN krijgt meer financiële armslag en flexibiliteit;
• door een minderheidsbelang van de Staat aan te kondigen, neemt de opbrengst per aandeel toe. Dit komt doordat de beleggers dan zien dat de Staat niet langer eenzijdig de besluitvorming bepaalt;
• omdat KPN zich gaat mengen in concurrerende markten wordt het aandelenbezit sterker risicodragend. De Staat heeft in het algemeen niet de rol van verstrekker van risicodragend vermogen;
• het oude uitgangspunt dat het doelmatig is om telecommunicatie-infrastructuur bij één beheerder neer te leggen, is achterhaald. Vanuit de EG komt er druk om ook op het gebied van de infrastructuur de markt open te stellen (was tot nu toe alleen op de diensten en randapparatuur); en
• het anticiperen op de totale liberalisering van de telefoniemarkt (in 1998) als gevolg van Europees beleid.
In alle overwegingen van de minister is het optimaliseren van de Staatsinkomsten een belangrijk motief.60 Net als bij de keuze voor verzelfstandiging is de motivering van de minister geheel ingegeven door de telecommunicatie. Overwegingen waarom de post geprivatiseerd moet worden ontbreken.
Bij de beraadslaging naar aanleiding van dit wetsvoorstel heerst een positieve stemming. Kamerleden constateren dat het een belangrijk debat is en een glorieuze dag; «win-win-win (KPN, Staat én consument)». In grote lijnen zijn Tweede Kamerleden het met elkaar en met de bewindslieden eens. De Kamerleden zijn van mening dat alle voordelen van de verzelfstandiging worden versterkt door een beursgang. Een beursgang zorgt ervoor dat KPN zich internationaal verder kan ontwikkelen. Dit is nodig omdat de Nederlandse afzetmarkt te klein is. KPN krijgt zo betere toegang tot de kapitaalmarkt en kan nog beter strategische samenwerkingsverbanden aangaan. Daarnaast levert de emissie de overheid veel geld op, dat de begrotingstekorten kan verhelpen. De PvdA voegt er nog aan toe dat de beursgang goed is voor de belegger: «Zij zien kans om eindelijk van hun geld af te komen in een gezond en goed bedrijf, dat groeit en in een groeimarkt zit. Het is ook nog fantastisch voor de Nederlandse Staat. De minister van Financiën kan in zijn handen wrijven omdat er miljarden binnenkomen.» In de verdere uitwerking is de Tweede Kamer – met de minister – van mening dat inkomsten geoptimaliseerd moeten worden. De timing en het aantal aandelen per emissie moeten daar vooral op gericht zijn.61
Afstoten aandelen telefonie
In de periode van het verder afstoten van de resterende aandelen wordt het veranderde denken van de periode hiervoor doorgezet. De invloed van de Staat op KPN via aandeelhouderschap wordt niet meer opportuun geacht door de minister. Immers, aandeelhouderschap (en ook de commissarissen van overheidswege in de raad van commissarissen) zou zich moeten richten op bedrijfsbelangen, niet op publieke belangen. Bovendien heeft de Staat conflicterende belangen wanneer zij optreedt in de Algemene Vergadering van Aandeelhouders. Enerzijds wil de overheid dat KPN het goed doet (overheid als grootaandeelhouder), anderzijds wil de overheid dat concurrentie ontstaat (overheid als beleidsmaker).
Voor het veiligstellen van publieke belangen (kwaliteit van diensten, leveringszekerheid, tarieven, etc.) is wet- en regelgeving geschikter dan aandeelhouderschap, zo luidt de redenering. De minister heeft nog wel enige moeite om ook de Tweede Kamer dat te doen inzien. De Tweede Kamer meent dat het goed is het Gouden Aandeel aan te houden om publieke belangen veilig te stellen (zie meer hierover in paragraaf 2.4).62
Afstoten aandelen Post
Begin 2001 werd de inschrijving opengesteld voor de verkoop van een pakket aandelen van de Staat in TPG. De minister van Financiën en de staatssecretaris van Verkeer en Waterstaat hebben hiervoor de volgende motieven:
• deelnemingen worden verkocht zodra met het continueren van die deelneming geen beleidsdoelen meer worden gerealiseerd (in overeenstemming met het algemene beleid inzake Staatsdeelnemingen);
• TPG genereert nog maar 22% van zijn omzet uit concessie-activiteiten waardoor de oorspronkelijke reden van overheidsdeelname (postconcessie) een steeds kleiner gedeelte van de activiteiten van TPG betreft; en
• TPG heeft voldoende vrijheid nodig om zich te kunnen positioneren op de dan al sterk concurrerende internationale markt.63
De bewindslieden verwachten dat de marktpositie van TPG verder zal worden versterkt door het afstoten van de aandelen, en dat dit ook positieve effecten zal hebben op de kwaliteit en prijs van de postdienstverlening. Tevens kan TPG dankzij een vrije en flexibele kapitaalmarkttoegang blijven deelnemen in technische ontwikkelingen. Ook wordt nadrukkelijk verwezen naar het liberaliseringsproces vanuit Europa: «Het is immers de mate waarin daadwerkelijke toetreding tot de postmarkt, en dus concurrentie, mogelijk is die bepaalt in hoeverre het publiek belang van een hoogwaardige postale dienstverlening moet worden gekoppeld aan een concessie voor TPG en daarmee aan een zekere overheidsbetrokkenheid bij TPG.»64
De beleidsmatige motieven voor verzelfstandiging waren grotendeels rationeel en pragmatisch; voorop stond het beter doen functioneren van de PTT als bedrijf. De PTT moest beter toegang hebben tot de kapitaalmarkt en de arbeidsmarkt. Als ZBO had dat misschien ook wel gekund, maar de oprichting daarvan werd ingewikkelder geacht en zou meer tijd kosten. De beslissing van het parlement tot verzelfstandiging van de post en telefonie kwam tot stand na een grondig en principieel debat. Bij de motivering van de beursgang lijkt het genereren van de eenmalige inkomsten de boventoon te spelen. Het debat over de beursgang is veel minder uitgebreid en principieel. Ook de verdere afstoting van aandelen KPN en TPG gaat nauwelijks meer vergezeld van debatten over de wenselijkheid ervan.
Vastgesteld kan worden dat de keuze van de ministers en het parlement om de PTT te verzelfstandigen en om KPN naar de beurs te brengen geheel is ingegeven door motieven die gericht zijn op telecommunicatie. Overwegingen waarom de post verzelfstandigd of geprivatiseerd moet worden, ontbreken. De post lijkt in Nederland «per ongeluk» mee verzelfstandigd.
In alle overwegingen van de minister is het optimaliseren van de staatsinkomsten een belangrijk motief.12 Als staatsbedrijf en NV ging het om de winsten die het bedrijf boekte die volledig naar de staatskas gingen. Vanaf de beursgang worden het belang van de inkomsten kortstondiger: de jaarlijkse inkomsten werden ingeruild voor de inkomsten uit de verkoop van aandelen.
Deze paragraaf behandelt hoe er is gesproken over borging, sturing en verantwoording van de publieke dienstverlening door de PTT na de verzelfstandiging en de privatisering en welke maatregelen daaromtrent zijn genomen.
De commissie-Swarttouw (1984)
In het kabinetsstandpunt naar aanleiding van het rapport van de commissie-Swarttouw heeft het kabinet nog niet uitgewerkt welke status het staatsbedrijf moet krijgen. Daarom nemen de Kamerleden zelf het initiatief om hier gedachten over te formuleren. Zij blijken uiteenlopende visies te hebben over de koers met betrekking tot de PTT.
De PvdA, het CDA en de PSP vinden dat de PTT niet op afstand moet komen te staan van de overheid. Het parlement dient directe invloed te blijven houden op het bedrijf. De overheid moet zeggenschap over de telefonie houden vanwege het publieke belang zoals privacy, kwaliteit en toegankelijkheid en uniforme tarieven. Dit dient de randvoorwaarde te zijn waarbinnen de commissie-Steenbergen aan de slag gaat. Dit wordt uitgedrukt in een motie.65 Wel meent de PvdA dat de politiek zich soms te veel bemoeit met details als postzegels en brievenbussen. De PvdA kan zich vinden in het loslaten van het monopolie op randapparatuur, maar is tegen het verruimen van de mogelijkheid om concurrenten toe te laten. Dit zou immers het risico opleveren dat particuliere partijen de winstgevende taken overnemen en dat de PTT blijft zitten met onrendabele taken.
De VVD daarentegen verzet zich tegen het niet liberaliseren van de traditionele randapparatuur. De VVD is ook van mening dat daar waar taken in concurrentie worden uitgevoerd, dit door een NV moet gebeuren en niet door een staatsbedrijf. De VVD drukt dit uit in een motie die wordt verworpen. Een kleine twee jaar later is dit beeld volledig veranderd en is de meerderheid van de Kamer graag bereid om alle PTT-taken bij een NV onder te brengen.
De commissie-Steenbergen (1986)
Het kabinetsstandpunt naar aanleiding van het rapport van de commissie-Steenbergen omvat het voorstel van de PTT een NV te maken. De minister wil echter slechts «sturen op afstand». Het kabinet is voorstander van deregulering en verzelfstandiging maar wel op een verantwoorde wijze. Het uitgangspunt van het kabinet is dat monopolies alleen gerechtvaardigd zijn wanneer een maatschappelijk belang dat noodzakelijk maakt. Daarom worden de nutsfuncties van post en de telecommunicatie via een concessiesysteem als monopolie behouden.
Er worden twee belangrijke financiële randvoorwaarden gesteld. Ten eerste, de verzelfstandiging van de PTT moet voor de schatkist «budgettair neutraal» verlopen. En ten tweede, de klant dient er zo weinig mogelijk van te merken.66
In de Tweede Kamer is er nu weinig discussie over de wenselijkheid van de juridische status van de (structuur)-NV. De Tweede Kamer staat achter het voornemen om de PTT te verzelfstandigen. De vraag of de centrale doelstellingen – flexibele arbeidsverhoudingen en meer mogelijkheid voor financiële investeringen – niet ook via een staatsbedrijf kunnen worden bereikt, is nauwelijks aan de orde geweest. De vragen van de Communistische Partij Nederland (CPN) op dit terrein worden door de minister afgedaan als «principieel andere inzichten» en blijven onbeantwoord. De CPN spreekt zich – in deze fase – als enige partij principieel uit tegen de verzelfstandiging. De CPN gebruikt overigens de term «privatisering» in plaats van «verzelfstandiging». En ook uit de formuleringen tijdens het debat blijkt dat de CPN denkt dat de PTT straks echt geprivatiseerd is en allerlei beslissingen zelf mag gaan nemen. Flexibiliteit en markgerichtheid kunnen ook met een staatsbedrijf worden bereikt volgens de CPN. Nergens wordt aangetoond dat de gewenste richting die men op wil met de PTT niet ook bereikt kan worden zonder privatisering. Het probleem dat de overheid moeite heeft ICT-specialisten vast te houden als gevolg van de beperkingen van een ambtelijke rechtspositie, kan bijvoorbeeld opgelost worden door de arbeidsvoorwaarden aan te passen. Dit geldt ook voor de investeringsproblematiek; die kan opgelost worden zonder privatiseringen, aldus de CPN.48
De PvdA laat weten dat er in de fractie twijfel is over de keuze voor de NV, maar na ampele afweging schaart de partij zich achter dit voorstel. Bij de wettelijke vormgeving van de verzelfstandiging – in 1988 – zal de PvdA dit standpunt herzien (zie volgende paragraaf).
Oud-staatssecretaris Van der Doef geeft in een gesprek aan dat de PvdA inderdaad aanvankelijk geen voorstander was van de verzelfstandiging. Tegelijkertijd merkte de partij dat de meerderheid van de Tweede Kamer hier anders over dacht. Daarom leek het de partij zinvoller om een constructieve opstelling te kiezen. De PvdA heeft zich vervolgens ingezet om een aantal randvoorwaarden geregeld te krijgen, zoals de inspraak van belanghebbende partijen (waaronder gebruikers van de diensten en vertegenwoordigers van het personeel van de PTT) en de controlerende positie van de Tweede Kamer.50
De Tweede Kamer stemt in 1986 in met het voornemen tot de oprichting van de NV, maar wil dat de afstand tussen de Staat en de PTT niet te groot is. De Tweede Kamer stelt daarom een aantal voorwaarden. Het parlement moet zeggenschap houden op hoofdlijnen over de tarieven, de leveringsplicht, de kwaliteit van de randapparatuur en de exclusiviteit van concessie. Hiertoe wordt een motie aangenomen: in de concessievoorwaarden moet de controlerende positie (ook ten aanzien van de tarieven) van de regering en de gehele Staten-Generaal worden vastgelegd.67 Alleen de CPN stemt tegen deze motie.
Balans tussen marktwerking en publieke belangen
In paragraaf 2.2 werd benadrukt dat de keuze voor privatisering gepaard ging met een overweging dat liberalisering wenselijk was. In de debatten over borging van publieke belangen is te zien dat de Tweede Kamer continu een balans zoekt tussen het realiseren van de positieve effecten van het liberaliseren van (deel)markten enerzijds en het borgen van publieke belangen anderzijds.
De Tweede Kamer is het met de minister eens dat de nutstaken in het hele land onder dezelfde voorwaarden moeten worden vervuld. Zo staat vast dat iedereen in Nederland – ook in niet-rendabele gebieden – tegen gelijke prijzen gelijke diensten moet krijgen. De overheid moet in de concessie de tarieven regelen. Voor de niet-concessietaken (randapparatuur) moet de overheid wel de kwaliteit borgen, maar zich niet bemoeien met de prijzen.68
Er is veel discussie over de vraag of de aandelen PTT nu en in de toekomst bij de overheid dienen te blijven. De PvdA wil volledig aandeelhouderschap voor altijd bij de Staat houden (dient hiertoe een motie in,69 maar trekt die later weer in). De VVD staat hier lijnrecht tegenover. Het CDA is van mening dat – gezien de maatschappelijke functie van de PTT – de Staat een meerderheidsbelang dient te behouden. D66 deelt deze mening en dient een motie in dat op zijn minst 51% van de aandelen altijd bij de Staat zouden moeten blijven.70 Deze motie wordt echter verworpen door een zeer ruime meerderheid.
De politiek kan het dus niet eens worden over de wenselijkheid om in de toekomst aandelen in de markt te zetten. Besloten wordt om een toekomstige mogelijkheid van privatisering open te houden.
Een andere belangrijk discussiepunt is de wenselijkheid van een splitsing in een nutsfunctie en een ondernemingsfunctie. Daarmee samenhangend wordt uitgebreid stilgestaan bij de grenzen van de concessie: wat valt onder de nutstaak (en is dus een publieke zaak) en wat kan overgelaten worden aan de markt? De wettelijke regeling van 1988 bepaalt dat er over vijf jaar een splitsing moet komen tussen een organisatiedeel dat de nutsfunctie uitvoert (concessie-deel) en een ondernemingsfunctie (concurrentie-deel). Er wordt voor gekozen om niet direct te splitsen omdat dat te veel onrust voor het bedrijf zou geven. Daar zijn de meeste partijen het mee eens. Uiteindelijk zal deze splitsing er echter nooit komen.
Een logische vraag die in het verlengde ligt van de discussie over de splitsing tussen een concessie-deel en een concurrentie-deel is de vraag wie eigenaar dient te zijn van het telefonie-netwerk. Deze kwestie wordt niet ter sprake gebracht. Wel is er een gedeeld beeld dat het beheer en onderhoud bij één partij moet blijven.48 Maar dat daarmee het bezit van de infrastructuur bij KPN terecht komt, wordt niet aan de orde gesteld. Pas bij de debatten in 2001 – als KPN in financiële problemen zit – komt deze kwestie aan de orde.
Machtingingswet PTT, Wet op de telecommunicatievoorziening en Postwet
In 1986 stemt de Tweede Kamer in met de keuze voor een NV, waarbij de Staat vooralsnog 100% van de aandelen in handen houdt. In 1988 worden de wetvoorstellen ingediend die dit verder regelen:
• de Machtigingswet PTT, die de oprichting van de NV regelt;
• de Wet op de telecommunicatievoorzieningen waarin de concessietaken van de PTT voor de telecommunicatie worden geregeld;
• de Postwet waarin de concessietaken van de PTT voor de post worden geregeld; en
• de Personeelswet PTT waarin de overgang van het personeel wordt geregeld.
Tijdens het debat in de Tweede Kamer is er een algemeen gedeelde zorg over de tariefstelling van de diensten die onder de concessie zullen komen te vallen; men vreest dat de PTT ruimte krijgt om deze verder te verhogen. De VVD en het CDA stellen dan ook voor dat de minister de tarieven gaat vaststellen in plaats van de PTT. De minister reageert hierop door de Kamerleden te herinneren aan het kabinetsstandpunt en het afgesproken principe van sturen op hoofdlijnen. Uiteindelijk wordt er een systeem gekozen waarbij de tariefverhoging wordt gemaximaliseerd op basis van koppeling aan een index. De tarieven zullen overigens altijd ruim onder die maxima blijven.68
De PvdA zag aanvankelijk meer in een verzelfstandiging in de vorm van een sui generis in plaats van een NV. Toch gaat de PvdA mee in de voorstellen, omdat een Kamermeerderheid voor is.71 Ook in de Eerste Kamer zien we deze aarzelende instemming van de PvdA. De PvdA meent dat de keuze voor een NV niet de juiste is voor de geconstateerde problemen (toegang tot kapitaalmarkt en flexibele arbeidsvoorwaarden). De PvdA stelt ook: «Privatisering (red: verzelfstandiging is hier bedoeld) kan toch niet de oplossing zijn voor een falend arbeidsvoorwaardenbeleid? Indien dit zo is, staan ons nog vele grote privatiseringsoperaties te wachten.» 72 Maar ook in de Eerste Kamer stemt de PvdA nog in hetzelfde debat met het voorstel in.
Er is ook veel discussie over de vraag hoeveel afstand de politiek dient te houden van het bedrijf. Zo constateert het CDA: «De zeer directe invloed van de overheid – dan doel ik uiteraard op regering en parlement, met name de Tweede Kamer – was tot dusverre via de staatsrechtelijke begroting maximaal. (...) Die heel nauwe band zal natuurlijk aanzienlijk afnemen en dat is ook terecht. En (...) dat zal toch even wennen zijn. Ook het publiek en de talrijke organisaties – de consumentenorganisaties, leveranciers en klanten – zullen eraan moeten wennen dat een belangrijk deel van hun brieven niet meer via ons besproken kan worden(...). Die tijd is voorbij. Wat dat betreft, zullen sommige van onze leden, onder wie ik zelf, enige nieuwe tijdsinvullingen moeten plegen.»73 Zorgvuldige regelgeving is daarom noodzakelijk, en die is – aldus het CDA – met de voorliggende wetsvoorstellen ook tot stand gekomen.
Op een aantal andere punten zorgt de Tweede Kamer voor een versterking van de parlementaire invloed. Zo willen het CDA en de VVD dat het parlement betrokken wordt bij het opstellen van de Algemene Maatregelen van Bestuur (AMvB's) die zullen voortvloeien uit de Telecomwet en de Postwet om te regelen wat de PTT moet gaan doen en hoe ze dat moeten doen (bijvoorbeeld de kwaliteit en kwantiteit van de dienstverlening en de tarieven). De partijen dienen daartoe een amendement in.74 De minister gaat akkoord en past dit in de wet aan. Dit amendement heeft vandaag de dag nog steeds belangrijke gevolgen. In de Postwet en de Telecomwet is een bepaling opgenomen dat wijziging van de AMvB's moeten worden voorgelegd aan het parlement (zie ook paragraaf 2.6).
De Tweede Kamer meent dat in de voorliggende wetsvoorstellen voldoende gehoor is gegeven aan de in 1986 ingediende motie-Eversdijk/De Beer.75 Hiermee is geregeld dat de tarieven niet buitensporig kunnen stijgen en is er voor het parlement voldoende mogelijkheid tot controle geregeld.
De VVD wil dat het parlement wordt ingeschakeld bij belangrijke wijzigingen van de statuten. Bij de verzelfstandiging van de Postbank was dit wel geregeld, bij de verzelfstandiging van de PTT niet. Dat bevreemdt de VVD omdat de PTT monopolietaken heeft, terwijl de Postbank die niet heeft. Er wordt een amendement ingediend waarin dit geregeld wordt.76 Op aandringen van de Tweede Kamer wordt het verbod op kruissubsidiëring opgenomen in zowel de Telecomwet als de Postwet; de PTT mag de inkomsten van monopolietaken niet doorsluizen naar de concurrentietaken, om deze zo goedkoper te kunnen aanbieden.77
Over de wenselijkheid om in de toekomst aandelen KPN in de markt te zetten, bestaat bij de Tweede Kamer in 1988 nog altijd geen eenduidig beeld. De discussie die hierover in 1986 werd gevoerd, wordt in 1988 voortgezet. De meeste partijen menen dat ten minste een meerderheidsbelang behouden dient te worden, gezien het maatschappelijk belang van de taken van de PTT. In het wetsvoorstel wordt de optie tot aandelenverkoop open gelaten.
Wel zijn Kamerleden het er over eens dat het wenselijk is dat de Staat altijd een meerderheid van stemmen in de aandeelhoudersvergadering behoudt. Dit wordt uitgedrukt in een amendement. 78 De minister komt de Kamer tegemoet en stelt in haar Nota van Wijziging dat zij er zorg voor zal dragen dat de Staat een zodanig aantal aandelen houdt of kan verkrijgen, dat de Staat de meerderheid van stemmen heeft in de aandeelhoudersvergadering. Dit gaat het CDA en de PvdA echter niet ver genoeg en zij dienen een gewijzigd amendement in waarmee zij voorstellen de formulering «draagt zorg voor» vervangen met «is verplicht».79 Dit amendement wordt aangenomen en de formulering in de wet is aldus aangepast.
De heer Dik geeft aan dat er volgens hem tussen de PTT en de minister eind jaren ’80 wel degelijk overeenstemming was over de toekomstige beursgang. 80 Ook uit een artikel in NRC Handelsblad van 17 november 1988 blijkt dat dit onderwerp van gesprek was tussen de minister en de heer Dik: «Dik vindt het jammer dat niet al voor de verzelfstandiging afspraken over de privatisering zijn gemaakt. Hij had daar de ministers van Financiën en van Verkeer en Waterstaat om gevraagd.»
In het aanvankelijke wetsvoorstel is opgenomen dat een eventuele toekomstige beursgang zonder goedkeuring van het parlement kan plaatsvinden. Dit blijkt een heikel punt te zijn in de Tweede Kamer. Via een amendement wordt afgedwongen dat de minister een voornemen tot aandelenvervreemding van tevoren aan het parlement moet voorleggen.81 Ook de Raad van State heeft bezwaar aangetekend tegen het niet vragen van goedkeuring van het parlement.82 De minister heeft dit uiteindelijk aangepast. Hierdoor is het afstoten van de aandelen een kwestie geworden die de minister opnieuw aan de Staten-Generaal zal moeten voorleggen. Dit zal uiteindelijk vijf jaar later gebeuren via de Wet op de Beursgang KPN.
Ook wordt via een amendement van de PvdA en het CDA afgedwongen dat de Staat altijd een meerderheid van stemmen in de aandeelhoudersvergadering dient te houden.78 Dit amendement zal later de basis vormen voor het Gouden Aandeel.
In de debatten ter voorbereiding op de verzelfstandiging komt het eigendom van de infrastructuur niet aan de orde. Wel is er veel discussie over de vraag of er te zijner tijd een splitsing moet komen in de commerciële poot en de concessiepoot van het bedrijf. In 1988 is in de Machtigingswet vastgelegd dat er binnen vijf jaar een splitsing zou komen in het bedrijf tussen het concessie-deel en het concurrentie-deel. Dit zou een helder onderscheid maken tussen het bedrijf dat zich bezig houdt met de uitvoering van de nutstaken en het deel van het bedrijf dat gaat bewegen in concurrerende markten. Zo zou ook «kruissubsidiëring» tegen worden gegaan. De angst is dat KPN de tarieven van monopolietaken onevenredig hoog maken, om zo de tarieven op concurrerende diensten en producten onevenredig laag te maken. Ook speelt het risico van een oneerlijke informatievoorsprong van de monopolist ten opzichte van de concurrentie.
Het belang van de splitsing wordt gedeeld door het parlement. De Tweede Kamer wil geen oneerlijke concurrentie doordat KPN misbruik maakt van geld of informatie die zijn verkregen uit haar exclusieve rechten. De keuze om de splitsing een paar jaar uit te stellen is om KPN niet met te veel veranderingen in één keer te confronteren.68
Afzien splitsing concessie en concurrentie
In 1992 deelt de minister van Verkeer en Waterstaat mee aan de Tweede Kamer toch af te zien van de splitsing die in de Machtigingswet was opgenomen. Een splitsing van het bedrijf in een concessiedeel en een concurrentiedeel is op dat moment niet wenselijk, omdat het de (internationale) positie van KPN ernstig zou verzwakken. Dit was een marktoverweging die eerder nog niet zo veel gewicht had gekregen. Het bedrijf KPN moest sterk genoeg blijven ten opzichte van internationale concurrentie. In de memorie van toelichting bij de Wet Telecommunicatievoorzieningen in 1988 schitterde die internationale context door afwezigheid, aldus de minister. De heer Dik bevestigt in een het interview dat in het wetgevingstraject de mogelijkheden voor internationale activiteiten van KPN nauwelijks werd meegewogen in de besluitvorming.51
In 1992 schetst de minister welke invloed de internationale context heeft op de telecommunicatiemarkt. De concurrentie op internationale verbindingen en de mobiele markt stelt hoge eisen aan KPN. Een proces van «the survival of the fittest» is begonnen. De Nederlandse thuismarkt is relatief klein en KPN is dus in internationaal opzicht kwetsbaar. Het bedrijf nog kleiner maken door een opsplitsing zou funest kunnen zijn. KPN haalt een groot deel van de winsten uit internationale belverbindingen. Daarom is niet-splitsen ook goed voor de tarieven van nationale vaste telefonie. Door deze «omgekeerde kruissubsidie» (die toegestaan is) worden de inkomsten op het concurrentie-deel benut om de tarieven op de publieke dienstverlening van het concessiedeel laag te houden. De minister betoogt dat de risico's die in 1988 gezien werden, zich in praktijk niet hebben voorgedaan. Verboden kruissubsidiëring en oneerlijke concurrentie door informatievoorsprong zijn geen problemen gebleken. Bovendien is er vanuit de EG regelgeving gekomen tegen oneerlijke concurrentie die veel verder gaat dan het nationale beleid. Zo zijn er voorschriften gekomen over de transparantie van het aanbod, de plicht om op kosten georiënteerde tarieven te berekenen, etc. De nationale overheden moeten daarop toezien en dat toezicht gaat aanzienlijk verder dan het toezicht op de ongeoorloofde kruissubsidie ofwel oneerlijke concurrentie, dat in de Nederlandse regelgeving is vastgelegd. Het bedrijf zal ook aanzienlijk meer en meer specifieke informatie aan de overheid moeten verschaffen (over bijvoorbeeld calculatieregels en procedures), dan thans is vastgelegd.24
In het commissiedebat op 11 mei 1992 komt in de Tweede Kamer het plan van de minister om niet te splitsen aan de orde. De Kamer heeft geen bezwaar tegen het voorstel om niet te splitsen.83 Het wetsvoorstel dat de minister vervolgens indient om de splitsingsverplichting uit de Machtigingswet te halen wordt door de Tweede Kamer en de Eerste Kamer zonder beraadslaging aangenomen.84 In de Tweede Kamer worden wel enkele schriftelijke vragen gesteld.85 De PvdA vraagt bijvoorbeeld: «Nu liberalisatie en deregulering van telecommunicatievoorzieningen een snelle vlucht hebben genomen, vroegen zij of het in het voornemen van de regering ligt een splitsing van Koninklijke PTT Nederland NV (en eventuele andere spelers op het telecommunicatieveld) te verlangen tussen openbaar toegankelijke «infrastructuur» en de diensten die via de infrastructuur worden afgewikkeld (zoals bijvoorbeeld wordt beoogd bij de Nederlandse Spoorwegen NV). Welke visie heeft de regering op een zodanig voorgeschreven constructie?»
De minister antwoordt dat de door de PvdA voorgestelde constructie bijna dezelfde is als de splitsing tussen de concessie-deel en niet-concessie-deel. De argumenten om deze splitsing niet te willen, zijn dus gelijk aan de argumenten om de andere splitsing ook niet te willen, aldus de minister.86 Deze schriftelijke vraag van de PvdA had een opening kunnen zijn voor een discussie in de Kamer over het eigendom van de infrastructuur, maar die discussie wordt niet gevoerd.
Beursgang
In 1993 geeft de minister van Verkeer en Waterstaat in de memorie van toelichting aan hoe de Staat invloed blijft uitoefenen op KPN. KPN kan niet volledig marktconform worden in verband met de belangrijke nutsfunctie.87 Om een zekere mate van invloed van de Staat te kunnen garanderen is volledig aandeelhouderschap echter niet meer nodig. Via wet- en regelgeving houdt de Staat invloed op de dienstverlening. Zelfs de noodzaak van een verplicht wettelijke minimumdeelneming van 51% wordt in twijfel getrokken. Men wil echter wel zeker stellen dat de Staat de meerderheid van stemmen heeft. Hiertoe wordt het «Gouden Aandeel» ingezet en blijven de concessiebepalingen van stand. Het Gouden Aandeel88 geeft de overheid – ook bij een minderheidsbelang – een sterke zeggenschap binnen de aandeelhoudersvergadering. Dit stelt haar beter in staat om de goede concessie-uitvoering te bevorderen. Het aanhouden van 33% van de aandelen samen met het bijzonder aandeel moet eveneens borgen dat er geen onvriendelijke overname van KPN kan plaatsvinden. De basis voor dit Gouden Aandeel is al in 1988 gelegd, op aandringen van de Tweede Kamer.
In de periode na de beursgang zal sturing via publiekrechtelijke bepalingen – in de Telecomwet en de Postwet – in belang toenemen en het aandeelhouderschap in belang afnemen. Daarnaast blijft de Staat commissarissen van overheidswege in de Raad van Commissarissen benoemen.
De Tweede Kamer vraagt zich af of deze constructie internationaal wel geaccepteerd zal worden. De minister van Financiën geeft aan dat de Staat de eerstvolgende tien jaar tenminste een belang van 33% wil behouden in KPN. Zolang de Staat zo’n aanzienlijk belang heeft, zal het aanhouden van het Gouden Aandeel geen problemen geven. Bovendien wijst de minister op soortgelijke constructies in Engeland en Frankrijk. De Staat wil met dit bijzondere aandeel het belang van een juridisch en financieel solide concessiehouder dienen alsmede haar eigen economische belang. Het Gouden Aandeel in combinatie met preferente aandelen vormen een bescherming tegen onvriendelijke overname. En er wordt gesteld: «Daarnaast waarborgt het bijzonder aandeel invloed van de Staat op fundamentele besluiten met betrekking tot de structuur van de concessiehouder.»89
Bij de bespreking van het wetvoorstel in de Tweede Kamer is er veel discussie over de informatiepositie van de Staten-Generaal bij een toekomstig voornemen tot aandelenemissie. Het CDA, de PvdA en het GPV vinden dat de minister de Staten-Generaal moet informeren over een voornemen tot een aandelenemissie en leggen dit vast in een amendement.90 De VVD vraagt zich af wat het nut is van vooraf informeren zonder mogelijkheid tot opschorten; publieke verantwoording kan gewoon achteraf. Vooraf melden heeft als risico dat informatie kan uitlekken en dat kan nadelig zijn voor de koersen. Ook de SGP staat op deze lijn.
De minister van Financiën geeft aan geen voorstander te zijn van een formele vastlegging van deze informatiewens. Hij geeft aan dat bij grote emissies dit altijd van te voren openbaar is, dus dat het alleen gaat om kleine onderhandse aandelenverschuivingen. Hiervan wil hij toezeggen de vaste Kamercommissie vertrouwelijk op de hoogte te stellen.
Het CDA brengt in dat deze discussie een herhaling van zetten is van de discussie in 1988 bij de verzelfstandiging van de PTT. Toen wilden de bewindslieden ook de mogelijkheid openhouden om zonder het parlement vooraf te informeren aandelen te verkopen. Toen werd de Tweede Kamer geholpen door de Raad van State die dit ook geen goede weg vond. Nu heeft de Raad van State ditzelfde punt weer geproblematiseerd, echter zonder dat hiermee iets gebeurd is.
Opgemerkt moet worden dat het hier wel degelijk om een ander type informatie gaat: bij de discussie over de verzelfstandiging ging het over het melden van een voornemen tot een toekomstige emissie («ergens in de komende twee jaar ben ik voornemens om naar de beurs te gaan»). Bij het huidige debat gaat het om informeren over een concreet plan tot beursgang («over twee weken ga ik naar de beurs»).
De Tweede Kamer schikt zich uiteindelijk naar de mondelinge toezegging van de minister dat de Tweede Kamer vertrouwelijk zal worden geïnformeerd. Een wettelijke vastlegging van de informatieplicht komt er niet. De Tweede Kamer trekt het amendement in. De Eerste Kamer komt terug op deze wijze van informatievoorziening, maar schikt zich uiteindelijk ook in de toezegging van de minister.
Ook het GPV maakt zich zorgen om de informatiepositie van de Tweede Kamer, maar op een ander punt. In de statuten ligt de mogelijkheid van geheel afstoten van alle aandelen inclusief het Gouden Aandeel, zonder dat hiervoor vooraf goedkeuring van de Kamer nodig is. De ministers van Verkeer en Waterstaat en van Financiën geven aan dat dat niet zal gebeuren. Het streven is om het aandelenbezit af te bouwen naar 33%. Als er een verdere stap wordt gezet dan is dat een fundamentele beleidswijziging en zal de Tweede Kamer daarover gehoord worden.89 Deze toezegging is later ook waargemaakt; over de verdere afstoting is het parlement geïnformeerd.
De verplichting tot informatieverschaffing over de concessie-uitvoering blijft bestaan, evenals de investeringsplannen en het tariefbeheersingssysteem. Daarnaast zal – vanwege het afnemen van de invloed van het aandeelhouderschap – de toezichthoudende rol van de overheid sterker moeten worden; bestuursdwang, de dwangsom en de administratieve boete worden ingevoerd als sanctiemogelijkheden.91 De Kamer spreekt een motie waarmee de boete voor het niet naleven van de concessie omhoog gaat (fl. 1 000 000 in plaats van fl. 100 000). Daarmee willen de Kamerleden afdwingen dat de Staat strenger kan optreden jegens KPN. De minister vindt dit een goed voorstel en past dit aan in de wet.
De Tweede Kamer besteedt veel aandacht aan het «beteugelen» van de monopolist KPN. Er heerst een besef dat KPN – ondanks de liberalisering van de markt – toch nog een poosje een monopolist zal zijn, waartegen de overheid de consument moet beschermen. De klant kan immers bij onvrede (nog) niet over naar een ander. De consumentenbescherming zal de minister in de Telecomwet goed moeten regelen want de Tweede Kamer is niet gerust over de kwaliteit van de geschillenbehandeling tussen KPN en de consument (deze geschiedt dan nog door KPN zelf). De minister belooft met KPN samen nog eens te kijken naar de kwaliteit van de geschillenafhandeling en de Tweede Kamer daarvan op de hoogte te zullen stellen. Verder geeft de minister in algemene zin aan dat het toezicht goed geregeld is. De concessiebepalingen blijven onveranderd van kracht.
De Tweede Kamer merkt op dat de verschillende rollen van de overheid – regelgever, aandeelhouder en controleur – beter uit elkaar gehouden moeten worden. Er zou een onafhankelijke toezichthouder moeten komen, die ook de tarieven moet bewaken ter bescherming van de consument. De minister van Verkeer en Waterstaat geeft aan dat de tarieven streng worden beheerst door het tarievenbeheerssysteem uit de Telecomwet en de Postwet en dat uit de evaluatie blijkt dat de tarieven in praktijk ook binnen de marge zijn gebleven. Op het instellen van een onafhankelijke toezichthouder gaat de minister niet concreet in. De VVD geeft wel aan dat hierop teruggekomen zal worden bij het bespreken van de herziening van de Wet Telecommunicatievoorzieningen (WTV). Bij de uitgebreide commissievergadering op 21 maart 1994 over herziening van de WTV wordt door het CDA inderdaad teruggekomen op de behoefte aan een onafhankelijke toezichthouder. Deze behoefte drukt de Kamer uit in een met algemene stemmen aangenomen motie, ingediend door Maria van der Hoeven (CDA), die aanleiding vormt voor de oprichting van de OPTA.
De motie-Van der Hoeven c.s. spreekt zich ook uit over de bestuurlijke vormgeving van het toezicht. De motie luidt als volgt:
«Overwegende, dat de ontwikkelingen op het gebied van de liberalisering van de telecommunicatie een herdefiniëring van de betrokkenheid van de overheid noodzakelijk maken;
voorts overwegende, dat weliswaar op langere termijn ook de markt van post en telecommunicatie zich binnen het kader van het mededingingsbeleid moet afspelen, maar dat in de komende tijd zulke ingrijpende en specifieke ontwikkelingen gaande zijn dat een aparte voorziening voor toezicht en controle wenselijk is;
van mening, dat een scheiding van verantwoordelijkheden gewenst is tussen de ordenende taak enerzijds en toezicht en controle anderzijds;
spreekt uit, dat voor de korte termijn het vestigen van een agentschap om het toezicht en de controle te behartigen een goede stap is, maar dat overwogen moet worden of een zelfstandig bestuursorgaan geen betere aanpak is in de overgangsperiode;» 92
Bij de behandeling van de begroting van het ministerie van Verkeer en Waterstaat voor 1995 heeft de Kamer zijn standpunt hierover verder aangescherpt in de motie-Van Zuijlen c.s.93 In dat debat geeft de minister aan voornemens te zijn om een zelfstandig bestuursorgaan (ZBO) in te stellen conform de twee moties van de Tweede Kamer. (Van de eerste motie was minister Jorritsma als toenmalig Kamerlid overigens mede-indiener, dus zij neemt haar eigen motie in uitvoering.) De minister geeft aan een ZBO te willen oprichten, parallel aan de herziening van de Wet op de Telecommunicatievoorziening.94 De Tweede Kamer geeft aan daar niet op te willen wachten. De minister besluit daarom de instelling te versnellen met als streefdatum 1 januari 1997.95
Op 24 september 1996 legt de minister het wetsvoorstel voor de Wet onafhankelijke post- en telecommunicatieautoriteit ter advisering voor aan de Raad van State. De Raad adviseert de regering het voornemen tot de instelling van een ZBO in heroverweging te nemen en hanteert daarvoor in twee argumenten:
• het gaat bij het toezicht om een taak van zodanig algemeen maatschappelijk en economisch belang dat de minister volledige zeggenschap zou moeten bezitten; en
• de minister moet zich bij het opstellen van regelgeving niet laten leiden door de vrees voor een schijn van belangenverstrengeling.
Daarnaast benadrukt de Raad dat de moties van de Tweede Kamer waren gericht op een tijdelijke oplossing, terwijl dit ZBO een permanent karakter lijkt te krijgen.
De minister geeft aan zich te kunnen vinden in het advies van de Raad van State «dat het toezicht op de mededinging in de post- en telecommunicatiemarkt een taak is van groot algemeen maatschappelijk en economisch belang. Ik verbind hieraan echter niet de conclusie dat de minister terzake volledig zeggenschap zou moeten behouden. Wel heb ik de tekst van de memorie van toelichting op het punt van de motivering van de keuze voor een ZBO verder aangevuld en verduidelijkt.» Over het tijdelijke karakter van het toezicht zegt de minister dat de beëindiging van het specifieke toezicht op het terrein van de post en telecommunicatie afhankelijk is van het moment waarop van zodanige marktwerking sprake is dat verder met het normale mededingingstoezicht zal kunnen worden volstaan. Wanneer dat zal zijn kan de minister niet voorspellen.96
In november 1996 gaat het wetsvoorstel naar de Tweede Kamer. De minister geeft in de memorie van toelichting aan dat de oprichting van de OPTA past binnen de ontwikkelingen in de EU; in de meeste landen van de EG wordt overgegaan tot instelling van zelfstandige organen in deze sector. Europese richtlijnen stimuleren deze ontwikkeling ook volgens de minister. Deze organen moeten op afstand van de Staat toezicht houden op algemeen maatschappelijke belangen en consumentenbelangen. Onafhankelijkheid is daar bij van belang, zeker indien de Staat aandeelhouder is van partijen in de markt. De regering wil via de OPTA twee type scheidingen aanbrengen: de scheiding tussen regelgeving en toezicht en de scheiding tussen toezicht en aandeelhouderschap. Het ministerie van Verkeer en Waterstaat is verantwoordelijk voor de regelgeving, Financiën voor het aandeelhouderschap terwijl de OPTA toezicht houdt.
In de Tweede Kamer wordt het wetsvoorstel enthousiaster ontvangen dan bij de Raad van State. Er wordt op hoofdlijnen ingestemd met het wetsvoorstel. Aan het negatieve advies van de Raad van State wordt nauwelijks gerefereerd. De fractie van D66 geeft aan de kritiek van de Raad niet te delen.97
In het debat op 15 mei 199798 blijkt de Tweede Kamer zich voor een dilemma gesteld te zien. De in de Kamer vertegenwoordigde politieke partijen sluiten zich aan bij de opvatting dat er een wildgroei aan ZBO's is (het rapport van de Algemene Rekenkamer99 heeft dit net geïllustreerd) en dat men terughoudend moet zijn om nieuwe ZBO's op te richten. Tegelijkertijd is men het er over eens dat een ZBO voor het toezicht op de telecom- en postmarkt de meest geschikte vorm is.
Dit dilemma heeft als gevolg dat het debat soms over het ZBO OPTA gaat, maar ook veel over ZBO’s in zijn algemeenheid.
Er is een Kamerbreed beeld dat méér ZBO's in zijn algemeenheid niet gewenst zijn, maar dit specifieke ZBO wel. De VVD verwoordt dat als volgt: «de fractie is bereid om bij de OPTA over onze bezwaren heen te stappen, gegeven de Kameruitspraak, waaraan de minister ook refereert, gegeven het feit dat onafhankelijk toezicht op de telecommunicatiemarkt internationaal gebruikelijk is, gegeven het feit dat de Staat grootaandeelhouder is van het voormalige staatsbedrijf, de ex-monopolist en de dominante marktpartij KPN en omdat de OPTA een tijdelijke ster aan het firmament zal zijn.»
De Kamer benadrukt dat de OPTA een tijdelijk ZBO dient te zijn. Het doel moet zijn om zo snel mogelijk tot een normale concurrentieverhouding te komen op de telecommunicatiemarkt. Zodra die situatie is bereikt, is het sectorspecifieke toezicht – dus de OPTA – overbodig geworden en kan volstaan worden met het reguliere mededingingstoezicht door de Nederlandse Mededingingsautoriteit (NMa). Noch door de Kamer, noch de minister wordt geproblematiseerd dat hier wel een spanning tussen bestaat. De OPTA moet streven naar haar eigen opheffing. In recente debatten100 gaan er stemmen op om het toezicht op de postsector juist te intensiveren en dan met name het ex-ante toezicht door de OPTA. Hier wordt later op teruggekomen.
Opvallend is verder dat bij dit Kamerdebat de minister van Verkeer en Waterstaat aanwezig is en niet de minister van Economische Zaken. De Kamer oppert dat de OPTA (en meer generiek het toezicht op de post en telecom) misschien beter bij het ministerie van Economische Zaken kan worden ondergebracht. De minister van Verkeer en Waterstaat geeft aan te vinden dat het beleid en het toezicht vooralsnog gewoon bij het ministerie van Verkeer en Waterstaat hoort. Pas als er sprake is van een volledig normale markt is dat standpunt te heroverwegen, meent de minister, maar ze verwacht dat dat nog lang duurt en dat zij dan inmiddels wel met pensioen zal zijn. Overigens erkent minister Jorritsma ook dat als zij ooit minister van Economische Zaken wordt, zij misschien wel de post en telecom zal willen overhevelen naar het ministerie van Economische Zaken. Een jaar later (augustus 1998) wordt ze minister van Economische Zaken en in 2002 wordt het beleid voor post en telecom (inclusief de OPTA) inderdaad overgedragen van het ministerie van Verkeer en Waterstaat naar het ministerie van Economische Zaken. In het regeerakkoord 2002 wordt als onderbouwing daarvoor het volgende aangedragen: «Gelet op de grote invloed van informatie- en communicatietechnologie op de samenleving en het belang voor de economische ontwikkeling is een geïntegreerde beleidsaanpak op dit terrein noodzakelijk. Daarom wordt het directoraat-generaal Telecommunicatie en Post (...) toegevoegd aan het ministerie van Economische Zaken.»101
In het Kamerdebat is eveneens aandacht voor de controlerende rol van het parlement. De PvdA wil dat er directe informatiestromen tot stand komen tussen de OPTA en de Tweede Kamer (dus niet via de minister) om zo de onafhankelijkheid van de OPTA en de controlerende rol van het parlement te versterken. De minister zegt toe dat het jaarverslag naar de Kamer gaat, tegelijkertijd merkt de minister op dat het om een publiek document gaat dus dat dit logisch is.102 In praktijk zien we dat deze directe informatievoorziening tot stand komt. Zie bijvoorbeeld paragraaf 2.6 over de briefwisseling van de OPTA met individuele Kamerleden.
In het debat komt ook de vraag aan de orde of de belangen van de consument door dit wetsvoorstel veranderen. D66 vindt dat hier in de wetsvoorstellen niet veel aandacht voor is. Het CDA werpt tegen dat dit wetsvoorstel niets verandert aan de consumentenbelangen en dat het daarom logisch is dat er weinig aandacht voor is: «Het is echter zo vaak in dit huis [de Tweede Kamer; red.]: als iets buiten de overheid geplaatst wordt, worden we ineens zeer geïnteresseerd in de belangen van de consument; maar als het binnen de overheid is, hebben wij het altijd voor vanzelfsprekend aangenomen.«103
De PvdA dient een amendement in waarmee de ministeriële goedkeuring voor sancties door de OPTA – die eerst was opgenomen in het wetsvoorstel – wordt geschrapt. Dit amendement krijgt de steun van de andere fracties en ook de minister geeft aan het een nuttig amendement te vinden. Het was een onderdeel waar het kabinet al over twijfelde. De zienswijze van de Tweede Kamer is dus doorslaggevend geweest, aldus de minister. Met deze aanpassing komt de OPTA meer op afstand van de minister te staan, wat de onafhankelijkheid van het ZBO benadrukt.
Ook wil de PvdA vastgelegd hebben dat elk verzoek van de OPTA tot wijziging van regelgeving door de minister binnen zes weken moet worden behandeld en dat de minister de Tweede Kamer moet informeren over de beslissing. De minister geeft aan staatsrechtelijke bezwaren te hebben tegen dit voorstel: de minister krijgt dan een soort verantwoordingsplicht jegens de OPTA. Naar aanleiding van dit antwoord besluit de PvdA om haar verzoek in een motie vast te leggen, zodat dit buitenrechtelijk kan worden geregeld. De minister zegt toe zich aan deze motie te conformeren.
Tot slot is in het wetsvoorstel een evaluatieplicht opgenomen. Na vijf jaar en vervolgens iedere vier jaar moet de minister de OPTA evalueren. In elke evaluatie dient de wenselijkheid tot voortzetting te worden onderzocht. De Kamer dient een amendement in waarin de eerste evaluatie binnen drie jaar in plaats van vijf jaar dient plaats te vinden.104 Dit amendement komt voort uit de overweging dat ontwikkelingen in de telecomsector snel gaan en moeilijk van te voren zijn in te schatten. Daarnaast wordt met het amendement recht gedaan aan de tijdelijkheid van de OPTA. De minister benadrukt dat tijdelijkheid inderdaad de bedoeling is. Tegelijkertijd verwacht de minister dat er «nog heel lang» specifiek toezicht nodig zal zijn. De minister beaamt de onvoorspelbaarheid van de sector: «Alhoewel, in de telecomsector is niets onmogelijk en kan de wereld er morgen inderdaad heel anders uitzien». De minister vindt het amendement overbodig. Als er aanleiding is om eerder te evalueren dan zal zij dat doen. Een wettelijke vastlegging van een kortere termijn kan tot onnodige evaluaties leiden en dus tot ondoelmatigheid; dat ziet de minister niet zitten. In de uiteindelijke wet is het tot een compromis gekomen: na vier jaar moet er geëvalueerd worden.98
De wet over de OPTA is in de Eerste Kamer zonder stemming aangenomen na een beperkte bespreking waarin vooral wederom de tijdelijkheid van het ZBO ter discussie stond en de mogelijkheid om het te zijner tijd op te laten gaan in regulier toezicht.
Van de ontwikkelingen die volgen zijn er enkele van belang voor dit casusonderzoek.
De OPTA is geëvalueerd in in 2001, 2005 en 2009. In de evaluatie van 2009 is de wenselijkheid tot voortzetting niet expliciet onderzocht.105 Ook in zijn brief aan de Kamer over deze evaluatie gaat de minister van Economische Zaken niet in op de noodzaak of wenselijkheid om de OPTA voort te laten bestaan.106 In het kabinetsstandpunt naar aanleiding van de vorige evaluatie (2005) gaat de minister wel specifiek in op de vraag of sectorspecifiek toezicht moet blijven bestaan. De conclusie dan is dat dat het geval is, en dat de OPTA dus bestaansrecht behoudt.107
Overigens is in 2011 het besluit genomen om de OPTA samen te voegen met de Nederlandse Mededingingsautoriteit (NMa) en de Consumentenautoriteit (CA). De aanleiding daarvoor was echter niet dat het specifieke toezicht van de OPTA niet meer nodig is omdat de markt voldoende werkt; de directe aanleiding was de wens om te bezuinigen. «De overheid staat voor de ambitie om kleiner en slagvaardiger te worden» schrijft de minister. Over de transitie van een monopolie naar een «normale» markt merkt de minister het volgende op: «Ook ontwikkelen bepaalde markten in transitie (bijvoorbeeld post en telecommunicatie) zich verder tot concurrerende markten, waardoor markttoezicht op termijn wellicht meer achteraf kan plaatsvinden. De overheid kan daar minder als marktmaker en meer als marktmeester optreden. Dit laat onverlet dat vanwege de specifieke netwerkkenmerken een bepaalde mate van sectorspecifieke regulering nodig blijft om concurrentie in netwerksectoren te waarborgen.»108
Bij de post is nadrukkelijk nog geen behoefte om het sectorspecifieke toezicht te laten overgaan in regulier mededingingstoezicht. Het niet goed functioneren van de liberalisering van de postmarkt maakt dat zowel de verantwoordelijk staatssecretaris (Bleker) als de Tweede Kamer de rol van de toezichthouder voor de postmarkt juist willen versterken. Tijdens een recent Kamerdebat wordt de wens uitgesproken om de OPTA op postgebied meer ex ante toezicht te laten uitvoeren.109 De staatssecretaris geeft aan te overwegen om een Aanmerkelijk Marktmacht (AMM) instrument in de Postwet op te nemen. Een dergelijk instrument geeft OPTA vergaande bevoegdheden om wanneer de markt onvoldoende concurrerend is, ex ante verplichtingen op te leggen aan de partij die een aantoonbare dominante positie heeft.
Paragraaf 2.5 komt terug op de mate waarin liberalisering van de markten van post en telefonie geslaagd is.
Het terugtreden van de staat uit KPN vanaf 2000 begint met een ogenschijnlijk tegenstrijdige ontwikkeling. De regering regelt enerzijds juridisch alvast de terugtrekking van de Staat in KPN. Tegelijkertijd temporiseert de regering de feitelijke terugtrekking ook, omdat KPN zich financieel gezien in zwaar weer bevindt. Een verdere terugtrekking van de Staat zou funest kunnen zijn, omdat het een neerwaartse druk op de waarde van het aandeel zou geven.
Op 9 juni 2000 stuurt de staatssecretaris van Verkeer en Waterstaat de Tweede Kamer een brief met de mededeling dat de regering van plan is om op termijn afstand te gaan doen van de resterende aandelen KPN (35%, alsmede het Gouden Aandeel).110 Er is niet langer een doorslaggevende reden voor het aanhouden van de deelneming. Het huidige pakket aan wet- en regelgeving en het toezicht is voldoende om de publieke belangen te borgen. Ook het Gouden Aandeel wil de Staat intrekken, maar daarvoor moet het financieel belang van de Staat eerst substantieel worden teruggebracht.
In juli 2000 maakt de Europese Commissie bezwaar tegen het bijzonder aandeelhouderschap en de commissarissen van overheidswege van de Staat in KPN en TPG. Het vasthouden hieraan zou in strijd zijn met het algemeen belang van open markten. De Europese Commissie eist dat Nederland afstand doet van het Gouden Aandeel en de commissarissen van overheidswege.111 Dit bezwaar heeft de minister van Financiën niet op eigen initiatief kenbaar gemaakt aan de Tweede Kamer. Pas in 2003 zal de minister – op verzoek van de Kamercommissie – toelichting geven op deze aanschrijving van de Europese Commissie (uit deze brief blijkt dat de minister reeds in 2000 was aangeschreven door de Europese Commissie). Ook in de debatten waarin uitgebreid wordt gesproken over het Gouden Aandeel laat de minister van Financiën na om te melden dat de Europese Commissie bezwaar heeft gemaakt tegen het Gouden Aandeel en de commissarissen van overheidswege. Dit is opmerkelijk omdat de regering in deze periode wel de juridische stappen onderneemt om het intrekken van het Gouden Aandeel te regelen (herziening Machtigingswet KPN), en hierbij weerstand ondervindt in de Tweede Kamer.112 De heer Vendrik – toenmalig woordvoerder voor GroenLinks in de Tweede Kamer – bevestigt in een interview dat hij inderdaad niet van de aanschrijvingen van de Europese Commissie op de hoogte was vóór 2003.113
Het niet melden van deze aanschrijving komt wellicht voort uit de verwachting die minister van Financiën Zalm in een latere brief geeft. Hierin geeft hij aan dat hij verwachtte dat het niet zo'n vaart zou lopen, omdat veel andere landen ook nog een Gouden Aandeel hadden. 114
Herziening machtigingswet (2001)
In februari 2001 volgt het wetsvoorstel Herziening Machtigingswet KPN. Hiermee wordt geregeld dat de uitzonderlijke regelingen die gelden ten aanzien van KPN op termijn kunnen worden ingetrokken.115 Het kabinet wil zich op termijn volledig als aandeelhouder terugtrekken uit KPN. Daartoe zullen de aandelen, inclusief het Gouden Aandeel, worden verkocht. Ook zal de overheid geen commissarissen van overheidswege meer benoemen in de Raad van Commissarissen. Dit wetsvoorstel maakt het juridisch mogelijk om deze stappen in de toekomst te zetten. Ook bij dit wetsvoorstel wordt niet verwezen naar het bezwaar dat de EC heeft gemaakt ten aanzien van het Gouden Aandeel en de commissarissen van overheidswege.
Het voorstel voor de herziening van de Machtigingswet wordt door de Tweede Kamer niet met open armen ontvangen. In het debat op 4 oktober 2001 verzetten meerdere partijen zich tegen de terugtrekking uit KPN. Als belangrijk motief om nog niet te willen terugtrekken geeft GroenLinks aan dat het nog niet gelukt is om het monopolie door KPN op vaste telefonie te doorbreken. GroenLinks maakt zich zorgen over onderinvesteringen van KPN in het vaste net. Het is een publiek belang dat KPN daar voldoende in investeert, aldus GroenLinks. Als de Staat zich verder terugtrekt als (bijzonder) aandeelhouder dan kan de Staat daar niets meer aan doen. De SP steunt GroenLinks in dit standpunt. De SP vindt de beursgang een mislukking. Liberalisering is niet tot stand gekomen, KPN bevindt zich op het randje van een faillissement en de consument is de dupe, aldus de SP die het huidige wetsvoorstel een stap in de verkeerde richting vindt. De SP vraagt de regering het omgekeerde te doen: aandelen kopen óf het infrastructuurnetwerk terugkopen. De PvdA en het CDA zijn in principe voor het ontmantelen van het grootaandeelhouderschap, omdat dit de Staat in een lastige positie brengt. Wel geven ook deze fracties aan de timing van het wetsvoorstel niet goed te vinden, omdat KPN zich op het randje van een faillissement bevindt. De partijen maken zich ernstig zorgen of de waarborgen in de publiekrechtelijke sfeer voldoende zijn om de publieke belangen te borgen. De VVD kan zich vinden in de voorstellen van het kabinet.
Het CDA beklaagt zich over de beperkte informatievoorziening van minister Zalm aan de Kamer en verwijst hierbij naar een bericht in de Volkskrant:
Zalm onthoudt Kamer informatie over KPN (de Volkskrant, 18 september 2001)
Minister Zalm van Financiën vertrouwt het parlement zelfs in besloten Kamervergaderingen geen koersgevoelige informatie toe over KPN. Ook in de ministerraad weigert hij de stand van zaken rond het voormalig staatsbedrijf te bespreken.
De Staat heeft een belang van bijna 35 procent in KPN ..en moet door het bedrijf bij belangrijke strategische beslissingen geraadpleegd worden. In vertrouwelijke vergaderingen die Zalm met de Kamer belegt over KPN, betrekt hij parlementariërs nooit bij zulke beslissingen. Leden van de Tweede Kamer, die de vertrouwelijke briefings van Zalm bijwonen, beklagen zich daarover, anoniem: «Hij zegt alleen wat hij gedaan heeft. Hij blikt nooit vooruit.» Zalm: «Ik ga geen koersgevoelige informatie geven. Ik ben er niet om de Kamer gelukkig te maken. Als de Kamer vindt dat ik het niet goed doe, moet ze me maar wegsturen.»
Alleen met minister-president Kok bespreekt Zalm de ontwikkelingen bij KPN. Hij is zo gespitst op het geheimhouden van informatie dat hij zich speciaal juridisch laat voorlichten over wat hij wel en niet kan zeggen.
Zalm is van mening dat hem weinig verweten kan worden in het financiële drama KPN. Het beursverlies van 40 miljard, ook een stevige financiële aderlating voor de Staat, had hij niet kunnen voorzien, meent hij.
Dit probleem van beperkte informatievoorziening speelt bij TNT ook. Zelfs de minister van Economische Zaken werd niet op de hoogte gebracht van het exacte moment van emissies bij TNT en de technische uitvoering ervan. Dit was een aangelegenheid van de minister van Financiën, aldus de minister van Economische Zaken. Conform de Comptabiliteitswet is melding vooraf niet nodig omdat dit de onderhandelingspositie, de vertrouwelijkheid, de snelheid en de handelingsvrijheid kan schaden.116 Artikel 29.6 van de toen geldende Comptabiliteitswet 2001 schreef inderdaad voor dat de minister van Financiën bij een vervreemding van een deelneming (verkoop van aandelen) de beide Kamers van de Staten-Generaal na afloop informeert.
In het debat op 4 oktober 2001 geeft de minister van Financiën uitleg over het juiste moment van afstoten van het Gouden Aandeel: «Dat moet je pas wegdoen op het moment dat je financieel belang in de onderneming zodanig is gezakt, dat je je geen bijzondere prerogatieven meer voorbehoudt. Het bijzondere aandeel wordt gehandhaafd zolang het financiële belang van de Staat een omvang heeft vergelijkbaar met het huidige. Als het richting 5% of 10% gaat, zijn de bijzondere prerogatieven vanuit het aandeelhouderschap niet meer te verdedigen tegenover de andere aandeelhouders. Er zijn natuurlijk nog wel bijzondere verplichtingen die je het bedrijf oplegt vanuit de publiekrechtelijke kant.» Opvallend is dat de minister van Financiën deze prerogatieven bij TPG blijkbaar nog wel voorlopig handhaaft. Hier is het Gouden Aandeel pas weggedaan nadat het aandeelhouderschap tot 0% was teruggebracht.
GroenLinks, de SP, de PvdA en het CDA geven aan dat er een discussie moet komen over het eigendom van het vaste net. Mogelijk moet de Staat het vaste net terugnemen om zo de maatschappelijke functie in de toekomst te kunnen waarborgen. Deze discussie zal nog worden voortgezet in het debat dat volgt op de beslissing van de Staat om aandelen bij te kopen (zie hierna).
Bijkopen aandelen
Eind 2001 is de financiële situatie bij KPN zeer slecht. KPN heeft grote verliezen geleden door de aankoop van E-plus en UMTS-veilingen – waar de Staat overigens goed aan verdiend heeft. Een faillissement hangt zelfs in de lucht. KPN besluit een aandelenemissie uit te voeren om aan kapitaal te komen. De minister van Financiën besluit mede op verzoek van KPN aandelen te kopen – voor een bedrag van € 1,7 miljard – om het relatieve aandelenbezit op gelijk peil te houden en deelt dit achteraf mede aan de Tweede Kamer.117 Dit is in lijn met de Comptabiliteitswet artikel 29.5.
In het debat dat op deze mededeling volgt – op 29 november 2001118 – constateren Kamerleden dat de Staat in wezen tot deze stap gedwongen was. Als de Staat niet had meegedaan, was dat een teken van wantrouwen in het bedrijf geweest en zou de koers van het aandeel verder wegzakken. Dat zou het einde van KPN hebben kunnen betekenen. De minister erkent dat hij met de rug tegen de muur stond.
Het eigendom van het vaste netwerk komt ook nu weer ter sprake. De PvdA, het CDA en GroenLinks menen dat het vaste net weer in handen van de Staat moet komen. Zo kan geborgd worden dat er voldoende in wordt geïnvesteerd, en dat de publieke belangen niet in het geding komen.
Het vaste net vormt de kern van de cash flow van KPN. Het terugkopen hiervan was in de gegeven omstandigheden echter riskant. Een te lage prijs zou slecht zijn voor de marktwaarde van het aandeel KPN. Een te hoge prijs zou door de Europese Commissie niet worden geaccepteerd, aldus de minister van Financiën. De Kamer vraagt niet door naar de onderbouwing van deze keuze. De heer Vendrik bevestigt in een interview met de onderzoekscommissie dat de Kamer op dit punt niet heeft doorgepakt. Hij noemt dit ook typerend voor de weinig doortastende opstelling die de Tweede Kamer had in deze fase.113
Er heerst zorg bij de Tweede Kamer dat bij een faillissement van KPN de nutstaken in gevaar komen. Deze zorg wordt ondersteund door een brief van de OPTA die dit risico signaleert. De minister zegt dat deze zorg niet terecht is: «Het is een misverstand om te denken dat er niet meer getelefoneerd kan worden, als KPN failliet gaat. Het vaste net geeft ook een geweldige cash flow, dus er is altijd wel iemand bereid om het te exploiteren.»119
Sinds de privatisering is het mogelijk dat een (vijandige) overname van KPN betekent dat het eigendom van het netwerk voor vaste telefonie naar een buitenlandse partij overgaat. Uit een gesprek met het ministerie van Economische Zaken, Landbouw en Innovatie blijkt echter dat het ministerie dit nog altijd ziet als slechts een theoretisch risico.
De Kamerleden beklagen zich erover dat de minister van Financiën de Tweede Kamer niet van te voren op de hoogte heeft gesteld van zijn voornemen om aandelen bij te kopen. Ook beklagen de Kamerleden zich erover dat er zo weinig tekst en uitleg komt over dit besluit. Over het niet vooraf informeren zegt de minister van Financiën dat parlementaire goedkeuring niet vereist is. Bovendien zou vooraf informeren veel risico's met zich meebrengen omdat het de kans op uitlekken vergroot en daarmee grote invloed kan hebben op de aandelenkoers. Het parlement mag hierover negatief oordelen en de minister naar huis sturen, aldus de minister.
Ook heerst er bij Kamerleden ongenoegen over de rijkelijke beloning van de bestuursleden. Dit ongenoegen is Kamerbreed aanwezig. De minister laat weten dat de Staat niet kan optreden tegen individuele hoge beloningen van bestuurders. Wel is er generiek beleid in voorbereiding waarmee de Staat bij al haar deelnemingen gaat bevorderen dat er een beloningsbeleid wordt vastgesteld.120
De Staat als belegger
Het besluit van de Staat om aandelen KPN bij te kopen heeft – zoals gezegd – tot veel discussie geleid. De discussie was deels ingegeven door de veronderstelling van een aantal Kamerleden dat de Staat het geld «weggaf» aan KPN. Dit blijkt – met de kennis van nu – geen juiste veronderstelling te zijn geweest. Onderstaand overzicht toont aan dat dit besluit de Staat geld heeft opgeleverd doordat de aandelen later met winst verkocht werden. Van de 354 miljoen aandelen die in 2001 voor € 4,80 per stuk werden gekocht, werden in 2003 300 miljoen aandelen weer voor € 6,75 verkocht. De overige 54 miljoen werden in 2005 voor € 7,33 verkocht.
|
Moment van transactie |
Aandeel in KPN voor |
Aandeel in KPN na |
Opbrengst (x € miljard) |
Aantal aandelen (x miljoen) |
Koers / prijs per stuk (€) |
|---|---|---|---|---|---|
|
jun. 1994 |
100% |
70% |
3,1 |
276 |
11,29 |
|
1995 |
70% |
44% |
2,8 |
230 |
12,04 |
|
nov. 20002 |
43% |
35% |
17,00 |
||
|
20013 |
35% |
35% |
-1,7 |
354 |
4,80 |
|
2003 |
35% |
19% |
2 |
300 |
6,75 |
|
jan. 2005 |
20% |
14% |
1,1 |
150 |
7,33 |
|
dec. 2005 |
14% |
8% |
1,4 |
165 |
8,48 |
|
nov. 2006 |
8% |
0% |
1,6 |
166 |
9,64 |
Toelichtingen bij tabel:
Medio 2000 is het aandeel KPN gesplitst. De aandelenaantallen en koersen in bovenstaand schema zijn omgerekend zodat ze vergelijkbaar zijn met de gegevens na 2000. Daarnaast is een gulden/euro-correctie toegepast.
Alleen de kosten en baten van de aandelen zijn opgenomen; transactiekosten, pr-kosten, en dividendbaten etc. zijn buiten beschouwing gelaten.
Gegevens uit diverse bronnen: Overzicht van staatsdeelnemingen en transacties, 15-12-2010, Financiën, Jaarverslag 2005/2006 Beheer Staatsdeelnemingen, 21-11-2006, Financiën, Brief ministerie van Financiën aan Tweede Kamer, 19 oktober 2006, Fin 2006–00925, Kamerstuk II, 23 900 XII, nr. 22, Kamerstuk II, 24 844, nr. 15, Kamerstuk II, 27 700, nr. 27.
Figuur 2.3. laat de koersontwikkeling van KPN zien, gedurende de periode waarin de Staat aandelen in het bedrijf had.
Figuur 2.3. Koersverloop KPN gedurende het aandeelhouderschap van de Staat
Op 10 maart 2000 sloot het aandeel KPN op haar hoogste koers ooit: € 72,17. Het staatsbelang in het bedrijf had toen een waarde van ruim 66 miljard gulden (1/8 deel van de totale staatsschuld).121 Dat was een gunstig moment geweest voor de minister van Financiën om het aandelenpakket KPN te verkleinen. De trage besluitvorming over de verdere afstoting maakte echter dat de Staat niet kon meeprofiteren van deze piek. De minister zegt hierover zelf: «De Staat had voorkennis over de Telefonicadeal, omdat hij als houder van het bijzonder aandeel was benaderd. Daardoor kon hij geen aandelen verkopen op de koers die achteraf het hoogtepunt geweest blijkt te zijn. Verder was met KPN en met de Tweede Kamer afgesproken dat de Staat tot 2004 grootaandeelhouder zou blijven.»122
Op 9 juni 2000 stemt de Tweede Kamer in met het afstoten van de resterende aandelen. De Staat wilde een deel van de aandelen datzelfde jaar nog verkopen in de aandelenemissie die KPN had gepland voor november 2000. Dat ging echter niet door. KPN was financieel in de knel gekomen door de UMTS-veiling in Duitsland, en het bedrijf had het kabinet verzocht om het staatsaandeel nog niet van de hand te doen. Het kabinet ging akkoord. Bij de emissie van november 2000 had het aandeel KPN een waarde van € 17. Had de Staat wel op deze emissies een tranche aandelen afgestoten dan had dit grote bedragen kunnen opbrengen voor de schatkist. Van de keuze om af te zien van een aandelenverkoop in november 2000 heeft de minister van Financiën de Tweede Kamer niet actief geïnformeerd, voor zover wij kunnen vaststellen op basis van de Kamerstukken. In juni 2001 heeft de Kamercommissie voor Financiën een aantal schriftelijke vragen gesteld naar aanleiding van het Financieel Jaarverslag van het Rijk 2000. In dit Jaarverslag blijkt dat de waarde van de staatdeelnemingen is afgenomen met 33 miljard gulden. De Tweede Kamer vraagt zich daarom af of het niet beter was geweest als de Staat deze deelneming in een eerder stadium had vervreemd. Als antwoord hierop geeft de minister aan dat eerder vervreemden – in de eerste helft van 2000 – niet kon doordat de Staat voorkennis had over de Telefonicadeal. En «Toen zich eind 2000 wel een mogelijkheid leek voor te doen om een deel van de aandelen te herplaatsen is in overleg met KPN met de voorbereiding daarvan begonnen. Echter de ongunstige koersontwikkeling en de marktomstandigheden hebben de regering toen doen besluiten af te zien van de uitvoering van dit voornemen.»123
Ook in een brief in februari 2002 gaat de minister in op de keuze om in november 2000 geen aandelen te vervreemden. De Tweede Kamer had gevraagd om meer inzicht in het geheel van de ontwikkelingen.124 In latere debatten is deze keuze echter niet ter sprake gekomen. Omdat de minister geen melding heeft gedaan van het aantal aandelen dat hij voornemens was te verkopen, kan niet precies worden achterhaald hoe groot het materieel belang van deze keuze was. Uitgaande van een verkoop van 200 miljoen aandelen, had dit de Staat € 3,4 miljard op kunnen leveren. Als de Staat 300 miljoen aandelen had willen aanbieden was dit zelfs € 5,1 miljard. In 2003 werden uiteindelijk 300 miljoen aandelen verkocht, maar toen was de koers niet meer € 17 maar € 6,75 en was de opbrengst dus nog «maar» € 2 miljard.
Het is opmerkelijk te noemen dat de keuze om af te zien van de aandelenverkoop in november 2000, niet als een fundamentele beslissing in het parlement ter sprake is gekomen.
Visie op de toekomst
Op 28 januari 2002 brengt de staatssecretaris van Verkeer en Waterstaat op verzoek van de Tweede Kamer een visie uit op de toekomst van het vaste net.125 Deze visie omvat geen nieuwe informatie of ideeën. De staatssecretaris herhaalt de gemaakte keuzes en licht nogmaals toe welke motieven en waarborgen er zijn om het publiek belang zeker te stellen. Dit is in lijn met de toon van de beantwoording van eerdere debatten. De visie geeft geen antwoorden op de vragen die de Kamer had met betrekking tot het belang van het vaste netwerk.
Het debat over deze visie laat bijna een jaar op zich wachten. Dit ondersteunt de observatie van de heer Vendrik (GroenLinks) dat de Tweede Kamer zich in deze periode niet proactief opstelde op dit dossier. In het debat van 13 maart 2003 overheerst nog altijd de zorg over de leveringszekerheid. Een brief van de OPTA steunt de Kamerleden in dit gevoel; in 2001 en in 2003 heeft OPTA een brief gestuurd aan Kamerleden Vendrik (GroenLinks) en Bakker (D66) waarin OPTA zorgen uit over de leveringszekerheid. De bewindslieden reageren afwijzend op de door OPTA gesignaleerde problematiek. De leveringszekerheid is volgens hen geen risico, zelfs niet wanneer KPN failliet zou gaan.126
De Kamer maakt geen opmerkingen over het weinig visionaire gehalte van de visie-brief van de minister. Wel blijkt uit de vragen van Kamerleden dat de zorg om het vaste net en de leveringszekerheid niet is weggenomen door de brief van de minister.
Daarnaast heerst er nog altijd ongenoegen over de investeringsbeslissingen die KPN heeft genomen (E-plus en UMTS-veilingen). Kamerleden vragen zich af waarom de Staat als aandeelhouder deze beslissingen heeft goedgekeurd. De minister geeft aan dat dit niet past bij de rol van de Staat als aandeelhouder: «Het is altijd gemakkelijk om achteraf kritiek te leveren op de gang van zaken en het gedrag van de overheid. De overheid is nooit in de aard van de investeringen van KPN getreden. Zij is hiertoe in feite ook niet uitgerust. Als de Nederlandse Staat in zijn functie als bijzonder aandeelhouder van tevoren vraagtekens had geplaatst bij de investeringsplannen van KPN, dan had hij belangrijke strategische beslissingen van het bedrijf moeten gaan blokkeren. Hij zou daarmee het optreden van het bedrijf in de markt onmogelijk hebben gemaakt.»127
De (on)mogelijkheid om via het aandeelhouderschap invloed uit te oefenen op het bedrijf is veel ter discussie gesteld in de Kamer. De heer Vendrik stelt in een interview met de onderzoekscommissie dat de minister hierover een te eenduidig beeld schetste, maar dat ook de Kamer te weinig kritisch op dit punt was.113
Begin 2003 adviseert de Europese Commissie Nederland wederom om het Gouden Aandeel in KPN en TNT op te geven. Nederland gaat hier echter nog niet toe over. De minister van Financiën stuurt – op verzoek van de Kamer – op 10 februari 2003 de Tweede Kamer een brief met uitleg over de Gouden Aandeelproblematiek.114 De minister geeft aan het principieel wel eens te zijn met het standpunt van de Europese Commissie. Maar hij wil gezien de omstandigheden – KPN is nog financieel herstellende – het afstoten van de aandelen temporiseren. Voor de minister van Financiën is dit reden om vooralsnog het Gouden Aandeel KPN aan te houden. Het afstoten van het Gouden Aandeel zou pas aan de orde zijn als de Staat een aanzienlijk deel van de aandelen heeft verkocht. Dit is volgens de minister van Financiën op dit moment onwenselijk, omdat dit de aandelen in waarde zou doen afnemen, wat KPN over de rand van faillissement zou kunnen duwen. In het debat op 13 maart 2003 legt de minister uit dat eerst het gewone belang wordt afgebouwd, omdat op deze wijze het prioriteitsaandeel het financiële belang veilig stelt. Het prioriteitsaandeel geeft de overheid iets meer grip op het bedrijf. De minister stelt hier dat het prioriteitsaandeel een typisch Nederlandse constructie is. Deze uitspraak is niet juist. Bij de introductie van het Gouden Aandeel noemde minister van Financiën Hoogervorst juist buitenlandse voorbeelden ter bewijsvoering dat het Gouden Aandeel een niet-omstreden instrument is. De Prioriteitsaandelen (Gouden Aandelen/golden shares) kwamen ook in andere landen voor. Zo hadden ook Spanje, Frankrijk en België een Gouden Aandeel in hun voormalige staatsbedrijven voor de telecom. Portugal heeft nog lang vastgehouden aan het Gouden Aandeel in het telecombedrijf. Maar omdat Gouden Aandelen van «Europa» niet meer mogen, heeft het Hof van Justitie de aanwending ervan onmogelijk gemaakt:
Portugal mag aankoop belbedrijf niet stoppen
Madrid, 9 juli 2010. Het «Gouden Aandeel» dat de Portugese overheid bezit in het voormalige staatsbedrijf Portugal Telecom (PT) wordt door Lissabon onwettig gebruikt bij de overnamestrijd die PT voert met het Spaanse Telefónica. Dat heeft het Europese Hof van Justitie gisteren bepaald.
De uitspraak is een belangrijke tegenslag voor Portugal bij pogingen om Telefónica te weerhouden van een overname van het aandeel van 50 procent dat PT heeft in het Braziliaanse bedrijf Brasilcel. Brasilcel is eigenaar van Vivo, de grootste aanbieder van mobiele telefonie van Brazilië, dat dankzij een opkomende middenklasse een groeimarkt vormt.
Telefónica verhoogde het overnamebod al twee keer, tot 7,2 miljard euro. Maar PT sloeg het bod, dat volgens analisten erg hoog ligt, af. De Portugese overheid gebruikt hiertoe haar veto, omdat het behoud van Vivo in het landsbelang zou zijn. De regering beroept zich op rechten die zij zegt te ontlenen aan de vijfhonderd «gouden aandelen» die zij behield na de privatisering van PT.
Het Hof van Justitie in Luxemburg heeft nu bepaald dat die gouden aandelen een «onrechtmatige belemmering» vormen op vrij verkeer van kapitaal binnen de EU. Het deed die uitspraak naar aanleiding van een klacht van de Europese Commissie.
Het Hof oordeelde dat de Portugese regering dankzij de gouden aandelen een meerderheidsstem heeft bij elke besluitvorming binnen het bedrijf, «waardoor de invloed van de Staat alleen teruggedrongen kan worden met de goedkeuring van de Staat zelf». Het verwierp het argument van Portugal dat behoud van zeggenschap over de telecommunicatiesector cruciaal zou zijn in het geval van een veiligheidscrisis of oorlog.128
In 2003 reduceert de Staat het belang in KPN verder van 30% naar 19%. In 2004 doet het Europese Hof van Justitie een uitspraak waarmee het Gouden Aandeel in KPN wordt verboden. In 2005 verkoopt de Staat het Gouden Aandeel in KPN en wordt het aandelenbezit verder teruggebracht naar 8%. In 2006 worden de laatste aandelen KPN verkocht.19
Net zoals bij KPN wordt ook het proces van aandelenafstoting bij TPG (vanaf 2002 TNT) gestart. Het staatsbelang wordt in 2001 teruggebracht tot 35%. In de verschillende brieven over de herplaatsing van de aandelen TPG, benadrukt de minister dat het verkopen van de aandelen geen betekenis heeft voor de borging van het algemeen belang.116 Tevens wordt duidelijk gemaakt dat afschaffing van het Gouden Aandeel nog niet aan de orde is. Het Gouden Aandeel dient ter ondersteuning van het publiek belang van de postbezorging, immers een solide postconcessieuitvoering vergt een solide postconcessiehouder, aldus de minister van Financiën. Daarnaast dient het Gouden Aandeel ter bescherming van het financieel belang zolang de Staat groot aandeelhouder is. De bescherming van het publiek belang in de vorm van de financiële soliditeit van de concessiehouder, zou door het intrekken van het Gouden Aandeel in het geding komen.129 Hierdoor zou de universele dienstverlening in gevaar kunnen komen. Opmerkelijk is dat de minister in april 2001 tijdens een Algemeen Overleg de Tweede Kamer informeert (conform de Wet Beursgang) over zijn voornemen voor verdere afstoting naar 10% in de toekomst en hier vanuit de Kamer geen enkele reactie op komt.130
Een aantal jaren (2002–2004) vindt er geen verdere afstoting plaats. Dit vanwege een felle, maatschappelijke discussie over posttarieven. Hierdoor ligt het afstotingsproces en het debat daarover tijdelijk stil. In 2004 wordt er een uitweg uit de tarievendiscussie gevonden en kan er ook weer verdere afstoting plaatsvinden. Het belang van de Staat daalt naar 19%. Tevens maakt in 2004 de Europese Commissie, na een jarenlange discussie met de Nederlandse regering, bij het Europees Hof aanhangig dat het Gouden Aandeel dat de Nederlandse Staat heeft in TNT, in strijd is met EG-bepalingen.
In juli 2005 vindt de derde afstoting plaats: het staatsbelang gaat naar 11%. De minister van Financiën geeft aan dat hij bij de deze afstoting ook het Gouden Aandeel wilde intrekken, maar dat op dat moment het Gouden Aandeel nog nodig was ter ondersteuning van het publieke belang van de postbezorging.131 Nog steeds staat volgens de minister de borging ervan niet vast zonder dit Gouden Aandeel. In oktober 2005 verwijst de minister echter naar de Nota Deelnemingenbeleid uit 2001 die een voorkeur uitspreekt voor borging van publieke belangen via wet- en regelgeving en afscheiding van de zakelijke verantwoordelijkheden.132
In september 2006 geeft het Europees Hof de Europese Commissie gelijk: het Gouden Aandeel van de Nederlandse Staat in TNT is strijdig met EG-bepalingen. In een brief aan de Kamer over de uitspraak van het Europese Hof schetst minister Zalm de stand van zaken (november 2006). De Staat heeft – naast het Gouden Aandeel – een «gewoon» minderheidsbelang van 11%. Deze 11% wilde de regering al eerder afstoten. Ze hebben hier echter mee gewacht tot na de uitspraak van het Europees Hof, zodat de Staat juridisch sterker stond.
Tot vlak voor de uitspraak van het Europees Hof wordt stellig volgehouden dat het Gouden Aandeel noodzakelijk is om de continuïteit van de universele dienstverlener te borgen. Na de uitspraak van het Hof stelt de minister: «Het afstoten van het bijzonder aandeel in TNT NV zal er niet toe leiden dat de Universele Dienstverlening niet meer kan worden gegarandeerd.» Hij geeft aan dat deze borging vastligt in het stelsel van postwetgeving.133 Dit stelsel is met het intrekken van het Gouden Aandeel echter niet veranderd. De minister heeft dus zijn mening over het belang van het Gouden Aandeel bijgesteld.
In april 2007 wordt het Gouden Aandeel ingetrokken tijdens de eerstvolgende Algemene Afdelingsvergadering. Opmerkelijk is dat vlak hierna in een Algemeen Overleg door verschillende Tweede Kamerleden vragen worden gesteld die niet meer aan de orde zijn of waaruit blijkt dat men de werking van het Gouden Aandeel niet snapt.134 Zo stelt een Kamerlid: «Alle aandelen van TNT die de overheid nog in handen had, zijn vlak voor de verkiezingen van november 2006 verkocht. De afspraak is echter dat de verkoop van belangen plaatsvindt met instemming van de Kamer.»135 Er is echter geen instemming van de Kamer nodig bij verdere afstoting van de aandelen TNT, zoals hierboven uitgelegd. De minister hoeft geen toestemming te vragen, maar dient de Kamer te informeren. Aan die plicht heeft hij voldaan. De minister reageert dan ook niet op deze bewering.
Tweede Kamer op de rem
De periodes van de verzelfstandiging en privatisering kenmerken zich door een Tweede Kamer die de teugels met PTT/KPN/TPG/TNT steeds iets korter wil houden dan de ministers. Het gaat hierbij tevens om de informatiepositie van de Tweede Kamer. Ook de bescherming van de consument jegens de monopolist wil de Tweede Kamer blijvend kunnen waarborgen. Zo heeft de Tweede Kamer in 1988 middels een amendement afgedwongen dat het parlement wordt betrokken bij de AMvB’s waarin de publieke diensten voor de post en telefonie bepaald worden. Dit heeft tot op de dag van vandaag als consequentie dat de Kamer zich kan blijven uitspreken over de invulling van publieke taken, zoals de post- en beltarieven en het aantal telefooncellen.
Leerproces: van privaatrechtelijke borging naar publiekrechtelijke borging
Er is een ontwikkeling te zien in het denken over het borgen van publieke belangen. Aanvankelijk wordt het aandeelhouderschap – naast de publiekrechtelijke borging via de telecommunicatiewet en de postwet – gezien als een manier om «grip op de zaak» te houden. Gedurende het proces wordt duidelijk dat de rol van aandeelhouder niet geschikt is om alle publieke belangen af te dwingen. Bij publieke belangen kan onderscheid gemaakt worden tussen de belangen van het publiek als consument en die van de burger als belastingbetaler. Het aandeelhouderschap van de overheid (alsmede het benoemen van commissarissen van overheidswege) is wel geschikt om het belang van de burger als belastingbetaler te dienen. Hierbij gaat het immers om het financieel aandeel dat de Staat (en daarmee de belastingbetaler) heeft in het bedrijf. Het gaat dan om de invloed die de Staat heeft op een goede bedrijfsvoering, investeringsbeslissingen etc. In de praktijk blijkt de Staat nauwelijks het aandeelhouderschap te gebruiken voor deze doeleinden. Zo blijkt uit de debatten in de periode 2000–2003 dat de minister van Financiën vindt dat hij zich niet kan bemoeien met de bonussen van de top van het bedrijf noch met de investeringen in UMTS.
Er is een groeiend besef dat het aandeelhouderschap van de Staat niet geschikt is om consumentenbelangen te behartigen, bijvoorbeeld als het gaat om de vraag op welke dagen post bezorgd moet worden en hoe duur een belminuut mag zijn. Voor deze belangen blijkt het aandeelhouderschap niet geschikt te zijn; gedurende het proces gaat de overheid steeds meer vertrouwen op de publiekrechtelijke borging, via wet- en regelgeving en via het toezicht door de OPTA.
Onduidelijkheid over de (on)mogelijkheden van het aandeelhouderschap
Gaandeweg wordt dus duidelijk dat het aandeelhouderschap minder bruikbaar is voor het borgen van publieke belangen. Echter, gedurende dit leerproces is er ook veel onduidelijkheid over wat het aandeelhouderschap – en in het bijzonder het Gouden Aandeelhouderschap – betekent.
De veronderstelling bij Tweede Kamerleden is dat een groter aandeelhouderschap zorgt voor meer inbreng bij KPN. Dat dit onterecht is, wordt al duidelijk in de periode begin jaren ’90 wanneer de Staat de beursgang voorbereidt. De minister van Verkeer en Waterstaat stelt duidelijk dat het bezit van aandelen (vóór en na de beursgang) geen borging levert voor goede concessie-uitvoering. «Dat is een misverstand». De minister van Financiën geeft echter in dit debat wel aan dat het Gouden Aandeel wordt aangehouden «om redenen van algemeen belang».136 Ook uit de casus post komt naar voren dat de minister van Financiën een aantal uitspraken doet die haaks staan (of lijken te staan) op deze stellingname. Zo zegt hij: «Daar komt bij dat het Bijzonder aandeel de Staat alle voor de borging van het publiek belang noodzakelijke rechten verschaft.» En: «Ten aanzien van de maatregelen ter waarborging van het algemeen belang heeft de regering derhalve de intentie naast de postale regelgeving en het onafhankelijke toezicht hierop het bijzonder aandeel vooralsnog te handhaven. De regering zal bezien in hoeverre rechten verbonden aan het bijzonder aandeel beter kunnen worden toegesneden op die besluiten die betrekking hebben op de concessie-uitvoering en het financieel belang van de Staat.»137
Al met al kunnen we concluderen dat er onduidelijkheid bestaat over de vraag of het Gouden Aandeel dan wel regulier aandeelbezit kan bijdragen aan het behartigen van algemene belangen/publieke belangen. De memorie van toelichting bij de Wet Beursgang helpt hierbij ook niet. Hierin schrijft de minister: «Het bijzonder aandeel is niet bedoeld als beschermingsconstructie. Het heeft echter wel een beschermende werking.»12
De heer Dik beaamt dat het Gouden Aandeel voor verwarring zorgde. Dit probleem speelde in de Tweede Kamer, maar ook bij internationale zakelijke partners die dachten dat ze met KPN geen zaken konden doen, omdat de Staat over allerlei kwesties het laatste woord had; de Staat had immers het Gouden Aandeel.
Eigendom van de infrastructuur niet ter discussie op juiste momenten
Het eigendom van de infrastructuur werd pas een discussiepunt toen KPN bijna failliet ging in 2001. Toen pas begon het de Kamerleden te dagen dat de overdracht van het eigendom van de infrastructuur grote risico’s met zich mee bracht. Dit heeft als gevolg gehad dat bij de verzelfstandiging van de Nederlandse Spoorwegen en de Energievoorziening er wel voor is gekozen om de infrastructuur in staatshanden te houden (zie de casusrapporten over de NS en Energie).
In 2001 claimde de minister van Financiën dat het terugkopen van het telefoonnetwerk niet meer mogelijk was. De Kamer accepteerde deze uitleg. Brinkhorst (voormalig minister van Landbouw, Natuurbeheer en Visserij en minister van Economische Zaken) zegt hierover in 2007: «Eens, maar nooit weer, is de reactie van de Nederlandse politiek.» Later zegt Brinkhorst dat als hij in 2000 al minister van Economische Zaken was geweest, hij ook zou hebben geparticipeerd in de redding van het bedrijf, maar dat KPN dan zijn netwerk had moeten inleveren. «Het publieke belang kan niet bedreigd worden als er geen commerciële risico's zijn.»138
De heer Dik gaf overigens aan dat er wel degelijk pogingen zijn ondernomen om het netwerk in eigendom van de Staat te houden. Hij verklaarde eens «...dat ze ons bijna nog de infrastructuur uit de vingers gefrommeld hadden, waar we met Neelie op kop een stokje voor konden steken.»139
Deze paragraaf gaat in op de mate waarin verwachte effecten van de privatisering uit zijn gekomen. Daarbij wordt ingezoomd op de effecten voor de burger en diens relatie met de overheid.
In paragraaf 2.3 is behandeld welke motieven en verwachtingen bewindslieden en het parlement hadden bij het verzelfstandigen van de PTT en het privatiseren van KPN en TPG. Deze motieven betreffen de effecten die men verwachtte te realiseren door de structuur van het bedrijf aan te passen:
• toegang tot de kapitaalmarkt om grote meerjarige investeringen te kunnen doen;
• ICT-specialisten werven en behouden met behulp van flexibele arbeidsvoorwaarden;
• de kansen van technologische ontwikkelingen kunnen benutten;
• bedrijfsmatigheid, slagvaardigheid, flexibiliteit en klantgerichtheid;
• het bedrijfsleven moet meer kansen krijgen; en
• de consument moet meer keuze krijgen en scherpere prijzen.48
Bij de privatisering speelden dezelfde motieven (een beursgang zou deze mogelijkheden verder versterken). Daar kwam later een belangrijk motief bij: het genereren van inkomsten door de verkoop van de aandelen.
De verzelfstandiging en privatisering van de PTT en KPN kon nog niet leunen op veel ervaring bij de overheid met verzelfstandigen en privatiseren. Waar mogelijk worden in de debatten vergelijkingen gemaakt met bijvoorbeeld DSM en de Postbank. In het Verenigd Koninkrijk was men al begonnen met de privatisering van British Telecom. Ook hiernaar wordt veel verwezen in de debatten. Daarnaast is er bij de regering en de Tweede Kamer een internationale verkenning gemaakt door bezoeken aan omliggende landen en hun PTT-bedrijven af te leggen. Hier wordt in de debatten dikwijls aan gerefereerd.
In 1992 heeft het ministerie van Verkeer en Waterstaat de algemene richtlijnen post en telecommunicatie geëvalueerd.140 De minister concludeerde dat de opgezette structuur (het verzelfstandigde staatsbedrijf) goed heeft gewerkt. Het toezicht functioneerde goed, de resultaten (dienstverlening) waren goed en het tariefbeheersingssysteem functioneerde goed. Het bedrijf deed het in internationale vergelijkingen ook goed. In de evaluatie is ruimschoots aandacht voor de geleverde kwaliteit van dienstverlening, de klachten van gebruikers, geschillenafhandeling etc. De vraag of de verzelfstandiging daar specifiek aan heeft bijgedragen, is niet onderzocht.
Beleidsevaluatie Elektronische Communicatie (2007)
In 2007 heeft Ecorys in opdracht van het ministerie van Economische Zaken een evaluatie uitgevoerd.141 Deze evaluatie gaat vooral in op de mate waarin liberalisering van de telecommunicatie is geslaagd. Dit blijkt nog maar zeer beperkt het geval. Er zijn wel veel nieuwe aanbieders toegetreden tot de markt. In 2007 zijn er 36 aanbieders van nationaal telefoonverkeer en 57 aanbieders van internationaal telefoonverkeer. Toch blijft het monopolie van KPN sterk; het bedrijf verzorgt 70% van het nationaal en lokaal telefoonverkeer en ruim 40% van het internationaal telefoonverkeer.
Op basis van het rapport van Ecorys heeft staatssecretaris van Economische Zaken Heemskerk een beleidsdoorlichting Efficiënt werkende communicatiemarkt uitgevoerd. Dit rapport142 is in juni 2008 naar de Tweede Kamer gestuurd en had als conclusie dat op de diverse deelmarkten van de communicatiemarkt de concurrentie op gang was gekomen.
Onderzoek Marktwerkingsbeleid Telecom (2008)
In 2008 heeft het ministerie van Economische Zaken een onderzoek uitgevoerd bij elf verzelfstandigde sectoren, waaronder de telecommunicatie.143 Dit onderzoek bevestigt het beeld van veel nieuwe aanbieders en een langzame afbouw van het monopolie van KPN. Daarnaast stelt dit rapport dat de keuzebreedte is toegenomen; steeds meer mensen hebben geen vaste telefonie meer, maar alleen mobiele telefonie. Ook neemt het bellen via internet toe. De keuzevrijheid is de laatste jaren verbeterd doordat het ministerie van Economische Zaken het makkelijk overstappen naar een andere aanbieder heeft gereguleerd. Het rapport geeft ook tevredenheidcijfers, maar zonder een meerjarige of internationale vergelijking zodat de zeggenschap ervan beperkt is.
Verder blijkt uit het onderzoek dat de prijs van vaste telefonie is gehalveerd in de periode 1997–2005 (en internationaal bellen is zelfs 90% goedkoper geworden). In internationaal vergelijkend perspectief staat Nederland op gelijk prijsniveau met omringende landen. Tenslotte geeft de evaluatie aan dat er indicaties zijn dat de telecomsector doelmatiger is geworden. De onderbouwing van deze constatering is beperkt.
Marktrapportage Elektronische Communicatie (2011)
Uit de Marktrapportage Elektronische Communicatie144 van TNO uit 2011 blijkt dat de tarieven voor vaste telefonie in Nederland relatief hoog zijn. Wel blijkt mobiel bellen in Nederland verhoudingsgewijs zeer goedkoop te zijn.
Ook over de post zijn diverse evaluatierapporten geschreven. Deze rapporten hebben echter vooral betrekking op de effecten van privatisering en liberalisering voor de klant en betreffen dus niet een evaluatie van de privatisering zelf.
Tante Pos gaat privaat (1998)
In 1998 komt in het kader van de onderzoeksreeks van de directie Marktwerking van het ministerie van Economische Zaken een evaluatie uit naar de verzelfstandiging en privatisering van PTT Post. De vraag die in dit onderzoek centraal stond, was of de verzelfstandiging heeft geleid tot verbeterde postdiensten.
Geconcludeerd wordt dat PTT Post als winstgevende onderneming zonder meer succesvol te noemen is. De maatschappelijke welvaartsverbeteringen zijn echter gering. Tevens blijkt de verbeterde financiële positie van PTT Post vooral tot stand te zijn gekomen na expansie op nieuwe markten. Op deze manier heeft de verzelfstandiging niet geleid tot een kostenefficiëntere bedrijfsvoering, wel is PTT Post er sinds de beslissing tot verzelfstandiging in 1985 in geslaagd om de arbeidsproductiviteit sterk te vergroten zonder overeenkomstige loonkostenstijging. De financiële positie van het personeel is verbeterd, maar is desondanks niet in verhouding met de zeer snel opgelopen arbeidsproductiviteitswinst. De consument blijkt in geringe mate te hebben geprofiteerd van de verzelfstandiging en privatisering, vooral door gemiddeld iets lagere prijzen. De aandeelhouders zijn volgens deze evaluatie de grote winnaars.145
Tante Pos krijgt concurrentie (2003)
In 2003 laat het ministerie van Economische Zaken onderzoek doen naar de effecten van volledige liberalisering van de postmarkt. Hierin wordt de regering een zestal adviezen gegeven om een efficiënt niveau van toetreding van concurrenten op de postmarkt te stimuleren.146 Daarnaast wordt geconcludeerd dat de liberalisering geen negatieve gevolgen zal hebben voor de Universele Dienstverlening. TPG zal volgens dit onderzoek onder druk van potentiële toetreders nog efficiënter worden.
Betekenis en belang van postdienstverlening, Kwantitatieve consultatie van de Nederlandse bevolking (2004)
In 2004 laat het ministerie van Economische Zaken door TNS NIPO een onderzoek uitvoeren naar de betekenis en het belang van postdienstverlening. Hieruit blijkt dat de consument over het algemeen tevreden is met de status quo. Men oordeelt positief over onder andere prijsbeleving, bezorgkwaliteit, overkomstduur en brievenbussen. Geadviseerd wordt dan ook om veranderingen in de postdienst te vermijden.147
Onderzoek Marktwerkingsbeleid Post (2008)
Het ministerie van Economische Zaken concludeert in het eerder genoemde onderzoek dat voor de postdiensten die niet meer tot het monopolie behoren, de toegenomen concurrentie heeft geleid tot een meer gedifferentieerd productpakket. De nieuwe toetreders blijken een lagere prijs in combinatie met een ander servicekader (langere bezorgtijd) te bieden. TNT voldoet aan de wettelijke normen voor bezorging, maar er zijn wel een aantal veranderingen zichtbaar zoals een daling van het aantal postvestigingen. De doelmatigheid blijkt min of meer gelijk te zijn gebleven.148
Evaluatiejaar 2011
Bij de stemming over de Postwet in 2009 heeft toenmalig staatssecretaris Heemskerk (PvdA) de toezegging gedaan om de Universele Dienstverlening twee jaar na invoering van de Postwet te evalueren. Ook zijn er in het voorjaar van 2011 enkele debatten met de Tweede Kamer geweest waarin is toegezegd een diepgravend onderzoek over de ontwikkeling van de postmarkt en de eventuele bodem van deze markt uit te voeren.149
Eind 2011 is aan deze toezeggingen voldaan door middel van een aantal rapporten, met een focus op de concurrentie op de Nederlandse postmarkt. Deze focus vloeit voort uit het feit dat per 1 april 2009 de Nederlandse postmarkt volledig open is. Deze onderzoeken zijn allemaal gedaan in opdracht van het ministerie van Economische Zaken, Landbouw en Innovatie. Hieronder volgt een beknopte beschrijving van de voornaamste conclusies uit deze vijf rapporten:
OPTA: De Nederlandse postmarkt in 2010
Er blijken aanzienlijke verschillen te zijn in de mate waarin concurrentie is opgetreden op de verschillende marktsegmenten. Op postvervoer voor particulieren, 24-uurspost en ongesorteerde post is het marktaandeel van PostNL (bijna) 100%. Voor concurrenten is het niet rendabel de hiervoor benodigde infrastructuur op te zetten, zo stelt de OPTA. Op de markt voor brievenbuspost heeft PostNL eveneens een aandeel van (bijna) 100%. De markt voor brievenbuspost blijkt dan ook niet toegankelijk voor concurrentie aangezien de speciale bewerking die deze post vereist, voor de concurrentie onmogelijk is. De concurrentie is volgens de OPTA wel aanwezig op de segmenten zakelijke, gesorteerde en langer dan 24-uurspost doordat deze postsoorten een minder uitgebreide infrastructuur vereisen.150
Intomart GfK: betekenis, behoeften en belang van post en postdienstverlening (2011)
In maart 2011 heeft Intomart GfK een onderzoek gedaan naar de betekenis, behoeften en belang van post en de postdienstverlening.151 In dit onderzoek werden zowel particuliere consumenten als het MKB ondervraagd. Het gebruik en de betekenis van post blijkt te verminderen, maar nog steeds zijn persoonlijke communicatieve functie behouden voor consumenten. Het MKB benadrukt dat post een officiëler karakter heeft dan elektronische correspondentie. Het postgebruik door consumenten is weliswaar afgenomen maar door uitgaven aan vervoerskosten voor pakketjes zijn de gemiddelde uitgaven gestegen. De meest opvallende uitkomst is dat voor slechts 17% van de ondervraagden het terugbrengen van de bezorgfrequentie onacceptabel is, terwijl dit in 2004 nog 41% was.
WIK-Consult: toekomstige ontwikkelingen op de Nederlandse postmarkt (2011)
De belangrijkste conclusie van dit rapport is dat zowel binnenlandse als internationale postvolumes zullen blijven dalen. De vraag naar zakelijke post zal echter veel sneller afnemen dan de vraag naar geadresseerde reclame en tijdschriften.152
OPTA: Analyse en advies over concurrentie op de postmarkt (2011)
In september 2011 brengt de OPTA een analyse en advies over de concurrentie op de postmarkt uit, een vervolg op een eerder rapport (Evaluatie van artikel 9 Postwet, 2009).153 Het college beschrijft potentiële mededingingsproblemen op de Nederlandse postmarkt. Zoals uit de vorige studie bleek, verschilt de mate van concurrentie per marktsegment. Op een aantal segmenten heeft PostNL een monopoliepositie. Hierdoor is er een risico op buitensporig hoge tarieven op een deel van de zakelijke post, zij het beperkt door regulering. Door deze hoge tarieven is er een risico op kruissubsidies van deze postsegmenten naar zogenaamde niet-tijdkritische segmenten (bulkpost, directmail, periodieken). Op deze laatste markt kan dan de mededinging worden verstoord of belemmerd. De OPTA doet dan ook een aantal aanbevelingen; transparantieverplichting, uitgebreide non-discriminatiemaatregel, specificeren van de kostenoriëntatie en instellen van kwaliteitsnormen.154
Ecorys: evaluatie van de Universele Postdienst (2011)
Doel van dit onderzoek van Ecorys is om inzicht te krijgen in de (financiële) houdbaarheid van de universele postdienst (UPD). Het UPD-volume blijkt in de periode 2006–2010 met 30% te zijn gedaald en eenzelfde daling wordt verwacht in de periode 2011–2015. Ook het rendement van de UPD is gedaald, van 15% in 2007 tot net onder de 0% in 2010. Dit rendement zal op korte termijn sterker negatief worden, tenzij de door PostNL aangekondigde kostenbesparingen worden doorgevoerd. Ook wordt er een stijging in de tarieven verwacht van 15% tussen 2011 en 2015 en een additionele stijging van 6,5% in 2016. Substantiële tariefaanpassingen kunnen bovendien leiden tot verdere vraaguitval. Het rapport stelt dan ook dat er een duidelijke afweging moet plaatsvinden tussen de omvang van de verplichtingen en de tarieven die de consument moet betalen. Er wordt een aantal scenario's ontworpen waarbij het eerder genoemde onderzoek door Intomart GfK wordt gekoppeld aan concrete kostenbesparingsmaatregelen. Deze maatregelen zijn het laten vervallen van de bezorging aan huishoudens op maandag, verandering van het brievenbussennetwerk en verandering van het postvestigingennetwerk. Ecorys concludeert dat het vervallen van de maandagbezorging het breedste draagvlak heeft en de hoogste besparing kent. Daarnaast acht Ecorys het raadzaam een her-locatie (en vermindering in aantal) van de brievenbussen toe te staan en ook een vermindering van het aantal postvestigingen.
Ecorys heeft ook de mogelijkheid bekeken van een «stand-alone-bedrijf» voor de verzorging van de UPD. De onderzoekers concluderen dat dit niet mogelijk is maar dat dit voor de consumenten tot 20% extra kosten zou leiden bovenop de eerdergenoemde tariefstijging. Een dergelijke constructie zou ook aanzienlijke investeringen met zich meebrengen terwijl PostNL deze UPD-producten tegelijkertijd ook kan aanbieden, ook al hebben zij de verplichting niet.155
Kabinetsreactie postevaluaties 2011
De staatssecretaris van Economische Zaken, Landbouw en Innovatie bood alle bovenstaande evaluaties eind 2011 aan de Tweede Kamer aan met een begeleidende brief waarin hij kenbaar maakt voornemens te zijn de UPD-verplichting aan te passen. Hij stelt voor om de postbezorging terug te schroeven van zes naar vijf dagen. Een aanpassing van de UPD-verplichting voor wat betreft het aantal brievenbussen en postvestigingen overweegt hij vooralsnog niet.156 Deze laatste aanpassing is volgens de staatssecretaris niet noodzakelijk en zorgt zijns inziens voor een verdere daling van de postvolumes.157 Verder stelt de staatssecretaris een aantal aanvullende bevoegdheden voor de OPTA voor, om zo mededingingsproblemen te voorkomen.158 In het Algemeen Overleg over de toekomstige ontwikkelingen van de postmarkt blijkt er onder verschillende partijen angst te heersen voor een commercieel monopolie op de postmarkt; men is bezorgd over het mogelijk omvallen van enige concurrent Sandd.159 In het Kamerdebat op 10 april 2012160 neemt de Tweede Kamer meerdere moties aan die oproepen tot nader onderzoek naar onder andere werkgelegenheid en postvolumes alvorens de maandagbezorging af te schaffen.161 Daarnaast neemt de Kamer een motie aan die de regering oproept «al het mogelijke in het werk te stellen om te komen tot terugbetaling van de uitgekeerde bonussen» en het inperken van de salarissen van de bestuurders van PostNL.162
In de Tweede Kamer bestaat al in 2005 de vrees dat bij een overname van grote buitenlandse postbedrijven zoals Deutsche Post en het Franse La Poste «de krenten uit de pap zouden kunnen halen» en TNT met onrendabele elementen laten zitten.163 Hier worden ook Kamervragen over gesteld. De PvdA wil weten of er een ongelijke situatie kan ontstaan wanneer La Poste TNT wel kan overnemen, maar andersom niet. Dit zou betekenen dat Frankrijk met staatsgeld (delen van) TNT kan overnemen – en dat terwijl TNT geen belang in La Poste kan nemen. De minister antwoordt hierop bevestigend; dit is mogelijk doordat La Poste niet geprivatiseerd is. Dit wordt door de Kamer als bedreiging ervaren. Wel benadrukt de minister dat ook bij buitenlandse overname de universele dienstverlening gewaarborgd blijft.164
Steeds vaker wordt de vraag gesteld of de liberalisering van de postmarkt is mislukt. Dit wordt door zowel voormalig-CEO van TNT Peter Bakker165 beweerd als door de VVD-fractie in de Tweede Kamer.166 En dat is opmerkelijk omdat juist de VVD-bewindslieden aan de wieg stonden van de privatisering en liberalisering. Ook de CEO van concurrent Sandd is kritisch over de liberalisering en spreekt van een duopolie. Hij meent dat Sandd schade heeft ondervonden van de gebrekkige wijze van liberalisering en stelt dat de toenmalige TPG (nu PostNL) het liberaliseringsproces enorm heeft vertraagd.167 Ten slotte beaamt ook de thans verantwoordelijke staatssecretaris van Economische Zaken, Landbouw en Innovatie dat de liberalisering absoluut geen succes was. Hij spreekt over een teleurstellende uitkomst.168 Uit recente cijfers van de OPTA (2011) blijkt ook dat PostNL nog altijd een marktaandeel heeft van (bijna) 100% op zowel brievenbuspost als ongesorteerde post.169
Eerder werd al geconcludeerd dat de post per ongeluk lijkt te zijn «mee-geprivatiseerd» omdat het in hetzelfde bedrijf zat als de telefonie. In tegenstelling tot de telefonie is de postmarkt een krimpende markt. Zo bracht de universele dienstverlening in 2010 geen opbrengsten op. Met de inschatting dat het postvolume in de periode tot 2015 met 30% zal dalen (zie bovengenoemde evaluatieonderzoeken) zal de winstgevendheid verder onder druk komen te staan. Als de universele dienst verliesgevend is, zal de Staat conform artikel 30 van de Postwet de dienst weer moeten gaan subsidiëren.
Er zijn echter wel periodes geweest waarin het de TPG voor de wind ging. Bijvoorbeeld ten tijde van de afsplitsing in 1998, net voor het massale gebruik van e-mail.170 Het huidige PostNL (de rechtsopvolger van TPG) heeft laten zien nog steeds winst te kunnen maken op haar activiteiten, zoals uit jaarverslagen en kwartaalberichten naar voren komt. Deze winstgevendheid bevindt zich echter niet geheel op het deel van de universele postdienst. Er is een reorganisatie in gang gezet om ook in de toekomst rendabel te kunnen blijven, hoewel er een ontwikkeling gaande is waardoor het postbedrijf de meest rendabele elementen steeds meer kwijt raakt. Zo zorgt de uitholling van de universele postdienst voor een druk op de mogelijkheid tot winstgevendheid bij PostNL. Van oudsher zijn de pakketten en de commerciële diensten (grotere zendingen voor bedrijven e.d.) de rendabele onderdelen van de posterijen. Deze onderdelen zijn door de liberalisering niet meer voorbehouden aan PostNL. De brievenpost is een markt die zich niet eenvoudig leent voor winstgevendheid, zeker niet na de introductie van moderne communicatievormen.
De splitsing van TNT in mei 2011 in het postbedrijf PostNL en het expresbedrijf TNT Express hoort bij deze ontwikkeling. Deze splitsing kwam volgens TNT tot stand omdat het postgedeelte van TNT het minder goed deed dan TNT Express, dat het wereldwijde pakketvervoer verzorgt. Het zou voor TNT Express financieel beter zijn om zelfstandig verder te gaan. Verschillende kranten spreken echter over een aantal grootaandeelhouders die eind 2009 bij toenmalig TNT topman Peter Bakker aandrongen op een splitsing. Deze activistische aandeelhouders hoopten dat het apart zetten van het «saaie» postbedrijf PostNL zou leiden tot een bod op de internationale pakketbezorger TNT Express, waardoor een mooi rendement gemaakt kon worden. Omdat PostNL de officiële rechtsopvolger is van TNT, draait zij op voor het leeuwendeel aan bonussen dat aan de top van TNT Express en PostNL wordt uitgekeerd. Dit terwijl tegelijkertijd PostNL bezig is duizenden postbodes te ontslaan en weigert geld bij te storten in het pensioenfonds.171
Daarnaast is de postmarkt nu feitelijk een geprivatiseerde duopolie, waarbij PostNL met marktaandelen variërend van 80 tot 100% de dienst uitmaakt. Ook hierover heerst in de Kamer grote onvrede. Men is bang dat de laatste concurrent Sandd in de nabije toekomst om zal vallen, waardoor er een privaat monopolie voor PostNL ontstaat. Dit is een situatie die als onwenselijk wordt gezien. In het artikel Eerst Liberaliseren, dan privatiseren 172 erkent een viertal experts – Jens Arnbak, Ewald Engelen, Kees Vendrik en Kees Wiechers – dat «privatisering zonder liberalisering in elk geval onzinnig (is)».173
Dit alles heeft tot gevolg dat de Kamerleden in de postdebatten in 2012 een kritische houding aannemen. Dit is een opvallend verschil met de geprivatiseerde telefonie, waarover de Kamerdebatten veel minder talrijk en minder negatief zijn. Ook de voormalig Kamerleden Vendrik en Van der Doef geven in interviews aan dat de post wellicht beter niet geprivatiseerd had kunnen worden. Post is een arbeidsintensieve dienst. Concurreren kan alleen op arbeidsvoorwaarden en op verhoogde efficiëntie of andere of betere producten. De heer Vendrik concludeert dan ook dat de privatiseringswinst bij post bescheiden is gebleven en het publieke belang er niet duidelijk mee is gediend.174
Hierboven is een aantal evaluaties en onderzoeken besproken die zijn uitgevoerd op de telecommunicatie- en postmarkt. Er is geen onderzoek gedaan naar de effecten van de verzelfstandiging en privatisering van de telefonie als zodanig, wel zijn er veel onderzoeken verricht naar de liberalisering van de markten. Hierin wordt antwoord gegeven op de vraag in welke mate liberalisering is geslaagd (is er een open markt ontstaan en wat heeft die gebracht?). Een beoordeling van de effecten van privatisering ontbreekt (doet het private bedrijf KPN het beter dan een overheidsorganisatie het had kunnen doen?).
Voor de post is dat onderzoek er wel: dit is het onderzoek Tante Pos gaat privaat. Dit onderzoek concludeert dat de maatschappelijke welvaartsverbeteringen gering zijn. De verzelfstandiging heeft niet geleid tot een kostenefficiëntere bedrijfsvoering. Wel is de arbeidsproductiviteit sterk vergroot. De consument bleek in geringe mate te hebben geprofiteerd van de verzelfstandiging en privatisering, vooral op kwaliteitsgebied en door gemiddeld iets lagere prijzen.175
De privatisering van de telefonie is sterker gemotiveerd dan de privatisering van de post. Anders dan de telefonie is post aan krimp onderhevig. De winstgevendheid van de universele postdienst staat daardoor onder druk. De geluiden over de vraag of privatisering van de diensten een juiste keuze is geweest, verschillen dan ook tussen de post en de telefonie. Bij telefonie overheersen positieve geluiden, terwijl bij de post negatief over de privatisering (en liberalisering) wordt gedacht. Dit blijkt bijvoorbeeld uit de gevoerde interviews met betrokkenen, uit de genoemde evaluaties, maar ook uit toon en inhoud van huidige Kamerdebatten over de post.
Het parlement vervult meerdere rollen: medewetgever (paragraaf 2.6.1), controleur van de regering (paragraaf 2.6.2) en volksvertegenwoordiger (paragraaf 2.6.3). In de praktijk lopen deze rollen in elkaar over.
Rationaliteit van de motieven
In het voorgaande werd duidelijk dat het parlement voor verzelfstandiging koos vanuit bedrijfsmatige overwegingen; het bedrijf moest beter toegang hebben tot de kapitaalmarkt en de arbeidsmarkt (hoger opgeleiden, ICT-specialisten). De beslissing tot verzelfstandiging kwam tot stand na een grondig en principieel debat, onder andere over het natuurlijk monopolie (van met name de telefonie want over post werd toen nog niet veel gesproken). Tot de jaren ’80 ging men ervan uit dat de telecommunicatie een dienst was die niet kon profiteren van marktwerking. Het was beter voor de kwaliteit van de dienst en voor de efficiëntie dat de gehele dienstverlening door één partij werd verzorgd. Stapsgewijs komt vanaf de jaren ’80 het inzicht dat de telecommunicatie niet meer de kenmerken van een natuurlijk monopolie heeft. In het parlement is een gedegen afweging zichtbaar waarbij de aard van de dienst bepalend was voor de overweging of deze dienst beter af was bij een monopolie of bij een vrije markt. Stapsgewijs worden onderdelen van de dienst geliberaliseerd, beginnend bij uitsluitend de telefoontoestellen tot uiteindelijk het vrijgeven van alle onderdelen, inclusief de infrastructuur en de vaste telefonie. De vraag welke onderdelen van de dienstverlening zich lenen voor liberalisering is continu aanwezig in de debatten. De overweging om over te gaan tot verzelfstandiging en later tot privatisering ging gelijk op met overwegingen met betrekking tot de mogelijkheid van liberalisering en marktwerking.
De debatten over de privatisering zijn minder uitgebreid dan het debat over verzelfstandiging. Over de introductie van marktwerking in de sectoren van telefonie en post is in het parlement dus niet uitvoerig gesproken. Het genereren van de inkomsten voor de staatskas speelt een belangrijke rol. In alle overwegingen van de minister en de behandeling in de Tweede Kamer is het optimaliseren van de staatsinkomsten een belangrijk motief.176 Als staatsbedrijf en NV ging het om de winsten die het bedrijf boekt, die volledig naar de staatskas gingen. Na de beursgang worden de jaarlijkse inkomsten ingeruild voor de inkomsten uit de aandelenemissies.
Paragraaf 2.3 heeft laten zien dat de keuze van de ministers en het parlement om de PTT te verzelfstandigen en om KPN naar de beurs te brengen geheel is opgehangen aan de telecommunicatie. Overwegingen waarom de post verzelfstandigd of geprivatiseerd moet worden, ontbreken.
Tweede Kamer borgt de blijvende betrokkenheid bij publieke belangen
Uit de wetgevingsprocedures van de verzelfstandiging en privatisering kan worden afgeleid dat het parlement, met name de Tweede Kamer, de teugels met PTT/KPN/TPG/TNT steeds iets korter wilde houden dan de bewindslieden. Ook heeft de Tweede Kamer haar informatiepositie met diverse ingrepen versterkt. Hiermee wilde de Kamer de bescherming van de consument jegens de monopolist blijvend kunnen waarborgen. Een belangrijk voorbeeld is het amendement uit 1988 waarmee is afgedwongen dat het parlement inspraak houdt bij het vaststellen van de AMvB’s waarin de publieke diensten voor de post en telefonie bepaald worden. Dit heeft tot op de dag van vandaag als gevolg dat het parlement zich kan blijven uitspreken over de invulling van publieke taken, zoals de post- en beltarieven. Een ander belangrijk voorbeeld is de oprichting van de OPTA die voorkomt uit een amendement van de Tweede Kamer.
Snel veranderende wereld
Bij het beoordelen van de rol van het parlement is het belangrijk om de snelle veranderlijkheid van het dossier mee in ogenschouw te nemen. Anders dan bij de NS of de energiemarkt verandert de te leveren dienst in hoog tempo. Per trein van Groningen naar Den Haag reizen is anno 2012 niet wezenlijk anders dan dat het 30 jaar geleden was. Het publiek belang is daar ook een redelijk stabiel begrip. Dit is heel anders in de telecommunicatiemarkt. Eind jaren ’80 van de vorige eeuw ging de discussie over de verzelfstandiging van de PTT nog uitsluitend over vaste binnenlandse telefonie. Vandaag de dag is de telefoniemarkt nauwelijks meer gebonden aan landsgrenzen en is de concurrentie tussen de verschillende modaliteiten (vast, mobiel, breedband, kabel, VoIP, etc.) groot. Daarnaast is met de opkomst van e-mail de post steeds meer onder druk komen te staan. Deze snelle veranderlijkheid was destijds één van de motieven van de overheid om de PTT te verzelfstandiging. De overweging was dat private ondernemingen beter (sneller) kunnen inspelen op deze snel veranderende wereld. In de besluitvorming zien we terug hoe moeilijk het voor het parlement is om de ontwikkelingen bij te benen; het bleek steeds weer onvoorspelbaar te zijn wat er op relatief korte termijn veranderen zou. Ook kunnen Kamerleden niet altijd de reikwijdte van de genomen besluiten overzien. Toch groeit ook bij hen het besef hoe snel de ontwikkelingen gaan. Zo zegt de PvdA in 1992 nog gekscherend: «Misschien krijg je over een poosje een aanbieding van de radio- en televisieboer dat je ook andere dingen kunt krijgen, maar daar zul je niet zo snel een telefoon op kunnen aansluiten. Wie weet, komt ook de PTT nog wel eens op het idee om een heel interessant televisie-aanbod te doen en daar een extra aansluiting voor aan te leggen.»177 De integratie van de radio en televisie met de telefonie leek toen nog een gekke gedachte, enkele jaren later is dit de gewoonste zaak van de wereld. Op andere momenten zien we dat de Kamerleden zich meer bewust zijn van de onmogelijkheid om de toekomst te voorspellen. Over de vraag hoelang de OPTA zal moeten bestaan, geeft de minister aan dat zij dat niet kan voorspellen, want «in de telecomsector is niets onmogelijk en kan de wereld er morgen inderdaad heel anders uitzien.»98
De ontwikkelingen in de telecomwereld gaan dusdanig snel dat de politiek het moeilijk kan bijbenen. Dat maakt ook dat de Kamerleden nog al eens merken dat de markt en de sector besluitvorming afdwingen. Zo zegt Kamerlid Koetje van het CDA in 1992 dat «liberalisering van telecomverkeer een punt bereikt heeft waarop het beleid niet meer door politici, maar door de markt wordt gedicteerd.» Overigens meldt de heer Koetje daarbij ook dat «wij» (vermoedelijk meerdere Kamerleden) de Telecombeurs in Geneve hebben bijgewoond. Daaruit blijkt dat de Kamerleden wel proberen de snelle ontwikkelingen bij te houden.
De Tweede Kamer
De Tweede Kamer debatteert aanvankelijk – in de jaren ’80 bij de verzelfstandiging van de PTT – zeer uitgebreid. Daarna neemt de betrokkenheid af. De verzelfstandiging van de PTT kwam tot stand na stevig en langdurig beraad terwijl de privatisering van KPN verhoudingsgewijs snel en soepel tot stand is gekomen. De keuze om een deel van de aandelen naar de markt te brengen, leidde tot weinig weerstand in de politiek en lijkt logisch voort te vloeien uit de eerdere verzelfstandiging en de liberalisering die vanuit de EU wordt ingezet. Een grondige afweging van de voor- en nadelen ontbreekt. De minister van Verkeer en Waterstaat gebruikt de term «kettingreactie» om de periode vanaf 1989 te omschrijven.57 De stapsgewijze privatisering van het bedrijf lijkt een rijdende trein waar je niet van af kan stappen en waar bovendien een noodrem op ontbreekt. Het lijkt er ook op dat de bewindslieden dit beeld graag in stand houden. Een goed voorbeeld hiervan is het wetsvoorstel Wijziging van de Machtigingswet KPN in 2001, waarmee de bijzondere positie van de Staat in KPN wordt ingetrokken. De staatssecretaris van Verkeer en Waterstaat en de minister van Financiën blijven in het debat met de Tweede Kamer benadrukken dat het om een kleine wetwijziging gaat («wetje», «heel bescheiden wetsvoorstel», «heel klein eenvoudig wetsvoorstel», «Het is misschien wel het kleinste wetsvoorstel uit de geschiedenis»).
De Tweede Kamer wil op meerdere momenten dat de rol van het parlement sterker wordt. De informatiepositie van het parlement komt regelmatig aan de orde. Zo speelt steeds de vraag of het parlement bij toekomstige emissies en statutenwijzigingen gehoord of geïnformeerd moet worden. De ministers willen dit zo min mogelijk. Hierbij valt op de Kamerleden aanvankelijk stellige eisen neerleggen, maar zich door de bewindslieden laten overtuigen.
Veelal hebben de antwoorden van de bewindslieden het karakter van een samenvatting van de memorie van toelichting. Kamerleden en bewindslieden gaan daardoor niet echt met elkaar in debat. Een voorbeeld: Bij het wetsvoorstel herziening Machtigingswet178 staat in de memorie van toelichting: «de monopoliepositie van KPN bestaat niet meer, immers er zijn 480 geregistreerde telecombedrijven.» Kamerleden werpen tegen dat er wel degelijk nog steeds een monopolie is op de vaste telefonie; 85% van deze dienst wordt door KPN geleverd. De staatssecretaris reageert hier stoïcijns op: «De monopoliepositie van KPN is derhalve geschiedenis». Dit komt de kwaliteit van de debatten niet ten goede. Deelnemers zijn dan niet in debat met elkaar, maar spreken allemaal hun eigen redevoering uit.
Verder is opvallend dat veel debatten in klein gezelschap worden gevoerd. Vele debatten vinden in commissievergaderingen plaats en niet in plenair verband. 179 Daar waar er plenair wordt gesproken zijn er veel lege stoelen. Ook zien we in bijna elk debat dat de Tweede Kamer zich zelf beperkt in de tijd die besteed wordt aan het onderwerp. De Voorzitter houdt de spreektijd kort en regelmatig worden interrupties verboden.
De heer Dik noemt de Kamerdebatten rondom de verzelfstandiging die hij bijwoonde spannend. Kamerleden hadden zich naar zijn mening goed voorbereid. De heer Vendrik kijkt met een ander gevoel terug op de debatten in de periode 2000–2004; hij vindt dat de Kamer zich kritischer had kunnen opstellen.180
De Eerste Kamer
In de periode voorafgaand aan de verzelfstandiging van de PTT is opvallend dat het kabinetsstandpunt over het rapport van de commissie-Swarttouw eerder in de Eerste Kamer dan in de Tweede Kamer wordt besproken. De VVD neemt het initiatief hiertoe en geeft aan het kabinetsstandpunt teleurstellend te vinden. Een principiële discussie over het monopolie van de PTT ontbreekt, evenals een standpunt over de status en structuur van het bedrijf. De staatssecretaris geeft aan dat de principiële discussie inderdaad moet gaan plaatsvinden, maar stelt dat deze dient te beginnen in de Tweede Kamer. De VVD reageert hierop door te zeggen dat de Eerste Kamer het grondrechtelijke recht heeft om onderwerpen aan te snijden die nog niet door de Tweede Kamer behandeld zijn, en dat de staatssecretaris de plicht heeft te antwoorden.
Op deze eenmalige proactieve opstelling in de Eerste Kamer (van één Kamerlid) na, is de rol van de Eerste Kamer in de besluitvorming over de verzelfstandiging van de PTT en de privatisering van KPN en TPG beperkt. In veel debatten is de discussie een herhaling van standpunten en redeneringen en komen er geen nieuwe onderwerpen meer aan de orde.
De plenaire bespreking door de Eerste Kamer van de wetsvoorstellen voor de verzelfstandiging van de PTT vindt twee maanden vóór de feitelijke verzelfstandiging plaats, eind 1988.181 Inhoudelijk is dit debat niet meer erg spannend. Wel interessant is dat hier een reflectie plaatsvindt op de rol van de Eerste Kamer in de besluitvorming en wetgeving. De PvdA geeft aan het eigenlijk helemaal niet eens te zijn met de verzelfstandiging en wil deze keuze hier nog eens ten principale aan de orde te willen stellen. Tegelijkertijd constateert de partij dat de keuze al is gemaakt en dat «deze Kamer daar weinig meer aan kan wijzigen». Het CDA oordeelt eveneens dat de rol van de Eerste Kamer klein is, maar dan vanuit een positieve benadering. De heer Coenemans van het CDA roemt de behandeling van de besluitvorming in de Tweede Kamer; deze is zo grondig geweest dat er voor de Eerste Kamer weinig punten meer resten.
De VVD deelt deze analyse en voegt er aan toe dat de minister en het departement goed werk hebben verricht: «Wie het geheel aan wetgevende arbeid dat voor deze operatie nodig is, overziet, moet erkennen dat door de betrokken departementen en de PTT werk van hoge kwaliteit is geleverd. Er is sprake van een degelijke en goed doordachte wetgeving. Het is een voorbeeld voor andere privatiseringsvoorstellen.»181
Bij de Wet Beursgang KPN geeft de vaste commissie voor Verkeer en Waterstaat in de Eerste Kamer aan geen opmerkingen en vragen te hebben en dus geen behoefte te hebben aan een commissievergadering.182 Op 8 februari 1994 wordt er in de Eerste Kamer wel plenair over de Wet Beursgang gedebatteerd. Dit debat is kort (alleen D66 en het CDA nemen het woord) en is vooral een herhaling van de bespreking in de Tweede Kamer. Er worden geen belangrijke of nieuwe kwesties besproken. Soms wordt er ook naar kwesties gevraagd die in de Tweede Kamer al onderwerp van besluitvorming zijn geweest.183
De vierde macht?
Besluitvorming en wetgeving komen tot stand tussen twee partijen: de wetgevende macht (het parlement) en de uitvoerende macht (het Kabinet). In de verzelfstandiging van de PTT en de privatisering van KPN komt echter ook een nadrukkelijke invloed van de zogenoemde vierde macht naar voren. Met deze term wordt meestal verwezen naar de ambtenarij, maar in dit geval wordt geval gedoeld op de invloed van de PTT, later KPN. Deze invloed is op meerdere momenten in de besluitvorming duidelijk aanwezig geweest. Het precieze belang ervan is op basis van dossieronderzoek niet vast te stellen. Het proefschrift van Mila Davids laat echter zien dat de inbreng van de PTT in de besluitvorming groot was.184 Het interview van de onderzoekscommissie met de heer Nauta (voormalig jurist van de PTT, later KPN) bevestigt dit.185 De VVD in de Eerste Kamer meent dat de minister (Kroes, ook van de VVD) zich zelfs te zeer laat beïnvloeden door de motieven van de PTT. De PTT zou het concept van het kabinetsstandpunt hebben geschreven.186 De staatssecretaris van Verkeer en Waterstaat reageert op deze aantijging. Hij ontkent niet dat de PTT het regeringsstandpunt heeft geschreven, maar dat het niet van belang is wie iets schrijft, maar wat er geschreven is. Daar draagt de staatssecretaris de politieke verantwoordelijkheid voor.187
Dat de invloed van de PTT en later KPN op de besluitvorming aanzienlijk is, blijkt ook uit diverse andere bronnen. Zo vertelt de heer Van der Doef in het interview met de onderzoekscommissie dat hij als Kamerlid en (kortstondig) als staatssecretaris weinig zag in de verzelfstandiging: «Bij de specifieke plaats die de PTT in de samenleving inneemt, past een structuur zoals thans in de vorm van een staatsbedrijf bestaat. De relatie tussen het bedrijf en zijn klanten kan op deze wijze naar de organisatorische en bedrijfseconomische maatstaven van het particuliere bedrijfsleven inhoud krijgen en niettemin blijven binnen de controle-afstand van de centrale overheid en dus van het parlement.»188 Terug in de Tweede Kamer gaat hij – met een deel van de vaste Kamercommissie voor Verkeer en Waterstaat – mee op bezoek naar het buitenland om te zien hoe telecommunicatiebedrijven aldaar zijn georganiseerd. Deze reizen werden geïnitieerd door de PTT en er gingen ook topmensen van de PTT mee. Na deze reizen begreep de heer Van der Doef dat er geen toekomst zat in een traditioneel staatsbedrijf.50
De voortdurende invloed die de heer Dik (toenmalig CEO van KPN) op de politieke besluitvorming had, is in de media steeds goed zichtbaar geweest. Reeds in 1988 schrijft de heer Dik in een personeelsblad van de PTT dat het bedrijf binnen vijf jaar naar de beurs kan. Minister van Financiën Ruding tikt hem op de vingers: «Zo’n beslissing maakt de Staat wel uit en niet de heer Dik in een overmoedige bui.»189 Op een nieuwjaarsbijeenkomst in 1993 liet Dik de aanwezigen weten dat «de overheid en KPN geen enkel verschil [van inzicht; red.] over de noodzaak van een beursgang hebben». Op dit moment was er bij de Tweede Kamer nog geen melding gedaan door de minister over een mogelijke beursgang of een wens in die richting. Ook onderstaande passage uit een artikel in de Volkskrant ten tijde van de verkoop van de tweede tranche aandelen (1995) is tekenend voor zijn invloed:
«Aanvankelijk had de overheid tot 1996 willen wachten met de verkoop van het tweede pakket aandelen. Volgens Zalm zijn de ontwikkelingen op de beurs echter zodanig dat besloten is nu al te verkopen. KPN-bestuursvoorzitter Wim Dik toonde zich daarover zeer tevreden. «Na 23 oktober ga ik zeggen dat ook die resterende aandelen verkocht moeten worden», stelde hij na afloop van de persconferentie. De afspraak dat de Staat tot 2004 een belang van 33 procent houdt, is volgens hem «op dit moment heilig, maar als je dat uitvoerig communiceert, kun je daar wel onderuit». Volgens Dik ondervindt KPN hinder van «het feit dat het bedrijf nog steeds gezien wordt als een staatsonderneming.»190
De controlerende rol tijdens de privatisering
De aanvankelijke betrokkenheid van het parlement (met name de Tweede Kamer) bij de telecommunicatie en post was groot, met name als het ging om het borgen van voorzieningen. Bij de PTT als staatsbedrijf hadden de regering en het parlement zeggenschap over de begroting van het bedrijf. Soms ging die bemoeienis te ver, zo stelt ook Tweede Kamerlid Van der Doef: «(...) dat sommige fracties te veel over postzegels en andere fracties weer te veel over buitenbussen praten».191
De controlerende rol van het parlement is door de verzelfstandiging en later de privatisering fundamenteel veranderd. De Kamerleden tonen zich in de debatten daarvan op voorhand al bewust. Zo constateert het CDA bij de beraadslagingen over de verzelfstandiging68 dat de hele nauwe band met de PTT aanzienlijk zal veranderen. «Dit zal toch even wennen zijn, ook voor het publiek en de talrijke organisaties. Zorgvuldige regelgeving is daarom noodzakelijk, en die is met de voorliggende wetsvoorstellen ook tot stand gekomen», aldus het CDA. De heer Dik stelt dat de bewindslieden beter waren in dit wennen dan de Kamerleden. «In de twaalf jaren daarna [na de verzelfstandiging; red.] hebben vier opeenvolgende vrouwen/ministers van V&W op afstand toegezien: KPN deed zijn werk en V&W het hare, zonder inmenging... Ook Kamerleden die nog niet door hadden dat privatisering (ook) betekent dat je je niet meer kunt bemoeien met de hoeveelheid telefooncellen, zijn door V&W altijd bijgelicht».192
Kamerbreed wordt de wens geuit dat de Tweede Kamer voldoende op de hoogte gehouden wordt om toezicht te kunnen houden, zowel tijdens als na afloop van het proces van privatiseren. De Tweede Kamer vraagt gedurende de verschillende stappen naar privatisering steeds aandacht voor de informatiepositie van het parlement en de mogelijkheid om controle te houden. De urgentie van deze aspecten neemt gedurende het proces wel af.
Bij de verzelfstandiging dienen het CDA en de VVD een amendement in waarmee wordt geregeld dat het parlement betrokken moet worden bij het opstellen van AMvB's.68 Dit amendement heeft veel impact gehad. Ook nadat de privatiseringen rond zijn, houdt het parlement hierdoor invloed op de publieke dienstverlening.
Vanaf de verzelfstandiging werden er jaarlijks concessierapportages gemaakt en aangeboden aan de Tweede Kamer. Hiermee hield de minister en de Kamer zicht op de uitvoering van de concessies post en telefonie. Deze rapportages werden ook besproken in de Kamer. Bij post worden die rapportages nog steeds gemaakt. Tot de volledige liberalisering in 2009 kwam deze verplichting voort uit het Besluit Algemene Richtlijnen Post (BARP) en ging de rapportage over de opgedragen dienstverlening. De huidige rapportage betreft de universele dienstverlening en vloeit voort uit de Postwet 2009.193 Deze rapportage bevat de resultaten van regelmatige metingen van de kwaliteit van de universele postdienstverlening en de hierbij behorende kwaliteitsnormen. Daarnaast is een overzicht van de kosten en opbrengsten van de universele postdienstverlening opgenomen.
De controlerende rol na verzelfstandiging
Ook na de privatisering houdt het parlement een controlerende rol, maar deze is wel fundamenteel veranderd. Tot 1989 hield het parlement intensief controle en werd bijvoorbeeld de begroting van de PTT door het parlement goedgekeurd omdat het bedrijf een staatsbedrijf was. Na 1989 wordt de PTT een staatsdeelneming en houdt het parlement in die hoedanigheid controle. Anno 2012 is de staat alleen nog controlerend voor zover het gaat om de uitvoering van de publieke diensten. Deze paragraaf beschrijft wat deze publieke diensten omvatten en hoe de uitvoering van deze diensten door de minister en door het parlement worden gecontroleerd.
Dat de markten voor telefonie en post volledig zijn geliberaliseerd en de voormalige bedrijven volledig zijn geprivatiseerd, betekent niet dat de Staat geen publiek belang meer onderkent. Dat zou overigens ook niet kunnen, omdat er internationale bepalingen zijn die dit voorschrijven, bijvoorbeeld de universele dienstenrichtlijn van de EU.194 De Europese Commissie omschrijft dit als een sociaal vangnet: «De communautaire regelgeving inzake de universele dienst in elektronische communicatie kwam tot stand in het klimaat van volledige liberalisering in de jaren negentig. Het was de bedoeling dat de universele dienstverplichting als sociaal vangnet zou fungeren wanneer de marktkrachten zelf niet konden zorgen voor betaalbare toegang tot basisdiensten voor de consument. Hierbij ging het met name om consumenten in verafgelegen gebieden, met een laag inkomen of met een handicap. Om de drieledige doelstelling van het vangnetconcept te kunnen verwezenlijken – namelijk beschikbaarheid, betaalbaarheid en toegankelijkheid – kunnen één of meer specifiek aangewezen bedrijven worden verplicht dergelijke basisdiensten te verstrekken.» 195
De publieke belangen zijn in Nederland vastgelegd in de Postwet en de Telecommunicatiewet en in de daarbij behorende algemene maatregelen van bestuur.196 Hierin zijn de universele diensten zoals voorgeschreven door de EU geïmplementeerd. De OPTA ziet erop toe dat KPN en PostNL de universele dienstverlening naar behoren uitvoeren.
De minister behoudt via de wet- en regelgeving grip op het publiek belang. Van belang daarbij is dat het Besluit Universele Dienstverlening en eindgebruikersbelangen een algemene maatregel van bestuur (AMvB) is. Een AMvB wordt door de Koningin op voordracht van de minister vastgesteld (na aanbieding ministerraad en Raad van State). Het parlement komt normaliter hier niet aan te pas. Echter, in de Telecommunicatiewet (artikel 18.14) en de Postwet (artikel 17.2) is bepaald dat voor dit Besluit wel inspraak voor het parlement mogelijk moet zijn. Dit legt de minister de plicht op om een voorstel tot wijzing eerst voor te leggen aan de Eerste en Tweede Kamer. In de Postwet is alleen geregeld dat de minister de AMvB moet voorleggen. De Telecomwet gaat verder; als een vijfde deel van één van de Kamers wil dat de wijziging via een wet geschiedt, dan moet de minister een wetswijzigingsprocedure opstarten. Dus anders dan bij een reguliere AMvB heeft het parlement bij dit besluit formele mogelijkheid tot inspraak.
De bepalingen van de universele diensten bepalen tevens waar de grenzen liggen van het publiek belang. Alles wat in de concessie vastgelegd is, wordt gezien als publiek belang en valt onder de parlementaire controle. Alles wat buiten de universele dienst valt, kan aan de markt worden overgelaten. Wel moet hierbij benadrukt worden dat de EU in toenemende mate bepaalt waar de grenzen van het publiek belang liggen, bijvoorbeeld via de Dienstenrichtlijn. Hierin is bepaald dat vaste telefonie en een internetverbinding tot de universele dienst behoren, maar mobiele telefonie niet. Overigens bepaalt de EU voor veel bepalingen een ondergrens, waar de lidstaten zelf nog eigen beslisruimte houden. Zo is bij de internettoegang bepaald dat de lidstaten minimaal smalband internet moeten opnemen in de universele dienst, maar een lidstaat kan er zelf voor kiezen om ook breedband te eisen.
Artikel 9 van de telecommunicatiewet regelt de universele dienstverlening. Artikel 9.1 luidt:
«De volgende diensten zijn voor iedere eindgebruiker, onafhankelijk van diens geografische locatie, tegen een betaalbare prijs en met een bepaalde kwaliteit beschikbaar:
a. het naar aanleiding van een redelijk verzoek aansluiten op het openbare telefoonnetwerk op een vaste locatie en het bieden van toegang tot de openbare telefoondienst op een vaste locatie;
b. openbare betaaltelefoons;
c. gedrukte telefoongidsen;
d. elektronische telefoongidsen; en
e. een abonnee-informatiedienst».
Artikel 20 bepaalt vervolgens dat deze universele dienst geleverd wordt door KPN. Deze verplichting kan door zowel KPN als de minister worden opgeheven (met een opzegtermijn van een jaar).
In het Besluit Universele Dienstverlening is vanaf 2002 opgenomen dat ook (smalband, dus langzaam) internettoegang hoort bij de verplichting van artikel 9.1.a. Daarmee is de universele dienst en daarmee het publiek belang geëvolueerd. De Europese Commissie (EC) evalueert elke drie jaar of de omvang van de universele dienst nog passend is. In de evaluatie in 2011 is overwogen om breedband (snel internet) als publiek belang te definiëren maar uiteindelijk heeft de EC ervoor gekozen dat niet te doen.
Voor de vaste telefoonaansluitingen zijn twee tariefsystemen geregeld in het Besluit Universele Dienstverlening. Een minimumsysteem is het bereikbaarheidsabonnement. De tarieven hiervoor worden door de minister van Economische Zaken, Landbouw en Innovatie jaarlijks vastgesteld op basis van de gezinsconsumptie-index. Daarnaast is er een belabonnement. De tarieven hiervan mogen niet hoger dan «redelijk» zijn.
Universele dienst post
Het is de verantwoordelijkheid van de Staat om te zorgen dat de universele postdienst wordt geleverd met een goede kwaliteit en tegen een betaalbare prijs. Dit is geregeld in de Postwet. PostNL is belast met de levering van de universele dienst. Bij splitsing of verkoop blijft die verplichting op PostNL of de rechtsopvolger daarvan berusten. Op het gebied van post is de mogelijkheid tot opzegging van de universele dienstverplichting eenzijdig; op grond van artikel 15 van de Postwet kan de minister de universele dienstverplichting opzeggen. De verlener van de universele dienst (PostNL) kan de minister wel verzoeken de aanwijzing tot leverancier van de universele dienst in te trekken maar het is aan de minister om daartoe te besluiten. De aanwijzing wordt niet ingetrokken voordat is voorzien in de aanwijzing van een ander postvervoerbedrijf voor de levering van de universele dienst. Tevens is het zo dat het postvervoerbedrijf dat is aangewezen als universele dienstverlener, verplicht is mee te doen aan een selectieprocedure voor de aanwijzing van een nieuwe leverancier. De procedure voorziet er daarmee in dat er altijd een bedrijf zal zijn dat de universele dienst zal aanbieden.197 Bij de post is aldus een meer beschermende constructie gekozen dan bij de telefonie. Bij de telefonie gaat de minister ervan uit dat er altijd een andere partij is die de dienst overneemt, omdat het een rendabele dienst is.
Bij de post zijn de tarieven voor de universele postdienst geregeld in de Postregeling 2009, die bovendien de OPTA een aantal controlemiddelen geeft. De OPTA heeft met de volledige liberalisering van de postmarkt de starttarieven bepaald voor de universele postdienst op basis van cijfers over de totale kosten van de universele postdienst die aangeleverd werden door TNT. Deze verplichting moet garanderen dat een basispakket aan postvervoersdiensten, de zogeheten universele postdienst, beschikbaar en toegankelijk blijft voor consumenten tegen uniforme en betaalbare tarieven. Vervolgens past de OPTA vierjaarlijks deze tarieven aan, na een tarievenvoorstel van de Universeel Dienstverlener (PostNL). De verhoging van de tarieven mag niet hoger zijn dan de daadwerkelijke kosten vermeerderd met het redelijk rendement. Vervolgens toetst de OPTA dit voorstel.198 Uitgaande van deze kostengeoriënteerde starttarieven mag PostNL de tarieven jaarlijks gemiddeld verhogen met maximaal het inflatiepercentage (de consumentenprijsindex). Dit geldt voor zowel pakketten als brieven, zoals deze vallen onder de universele dienstverlening. Mocht de ontwikkeling van de kosten niet kunnen worden opgevangen binnen de ruimte van de consumentenprijsindex, dan kan de minister (voor dat jaar) een hoger percentage vaststellen waarmee de tarieven ten hoogste mogen worden gewijzigd. Mochten de tarieven door de verhogingen onbetaalbaar geacht worden, dan kan ervoor worden gekozen om de omvang van de universele postdienst terug te brengen. Indien er sprake is van nettokosten dan kunnen deze worden omgeslagen over alle postbedrijven.197
Betrokkenheid parlement bij evolutie van het publiek belang
Niet alleen de telecommunicatie heeft een enorme ontwikkeling doorgemaakt gedurende de afgelopen drie decennia, ook het publiek belang is «mee-geëvolueerd». Omdat de grenzen van het publiek belang in wet- en regelgeving zijn vastgelegd, behoudt het parlement hier een controlerende rol. Een voorbeeld is de telefooncel (zie kader).
Het einde van de telefooncel?
In de jaren ’80 had de telefooncel nog een wezenlijke functie en zag de overheid dit als een publiek belang. Discussies in de Kamer gingen over de hoeveelheid telefooncellen die er nodig waren en waar die moesten staan. Inmiddels heeft de mobiele telefoon de functie van de telefooncel grotendeels overgenomen. In 2007 heeft KPN de plicht voor de levering dan ook opgezegd. KPN kan de universele dienstverlening – of delen ervan – opzeggen, met een opzegtermijn van een jaar. Het ministerie van Economische Zaken, Landbouw en Innovatie heeft door NIPO laten onderzoeken of er nog publieke behoefte was aan telefooncellen. Die behoefte bleek erg laag. Alleen op bepaalde publieke plekken, zoals bij treinstations, was de telefooncel nog wel gewenst. Ook uit een eerder onderzoek van SEO bleek dat de telefooncel in Nederland steeds minder functie heeft,199 ook niet voor het bellen van het alarmnummer 112.
Op grond van artikel 6, tweede lid, van de Universele dienstrichtlijn kan een lidstaat er van afzien om de beschikbaarheid van openbare betaaltelefoons op te dragen. Daarvoor moet de lidstaat dan wel vaststellen dat deze faciliteiten, of vergelijkbare diensten, op ruime schaal beschikbaar zijn. Daarom heeft de staatssecretaris van Economische Zaken, Landbouw en Innovatie besloten om de telefoonceldienst te laten vervallen. Wel is met KPN afgesproken dat de rendabele telefooncellen – bijvoorbeeld bij Schiphol en grotere NS-stations – gewoon blijven staan, voor zolang deze rendabel blijven.200
Ook de eerdergenoemde toevoeging van internet aan de universele dienst is een voorbeeld van het evolueren van het publieke belang van de telecommunicatie, alsook de blijvende betrokkenheid van de overheid bij publieke belangen.
Per 1 januari 2012 is wederom een belangrijke wijzing opgetreden in het de universele dienst. KPN is niet langer verplicht om op elk woonadres vaste telefonie aan te bieden. In gebieden waar het rendabeler is om alleen mobiele telefonie te bieden, is dat nu ook toegestaan. Voorwaarde is wel dat de tarieven voor dat mobiele bellen voor die mensen gelijk is aan de afgesproken tarieven voor vast bellen. Dit voornemen is voorgelegd aan de Eerste en de Tweede Kamer.201 Beide Kamers zagen geen aanleiding om het voorstel ter discussie te stellen.
Ook bij de post staat de inhoud van de universele dienstverlening, voor zover de Europese normen hier ruimte voor laten, ter discussie. Zo heeft staatssecretaris van Economische Zaken, Landbouw en Innovatie Bleker eind 2011 een brief naar de Tweede Kamer doen uitgaan waarin hij voorstelt de verplichting voor PostNL om op zes dagen per week te bezorgen, terug te brengen naar vijf.202
In de beraadslagingen over zowel de verzelfstandiging als de privatisering heeft het parlement veel aandacht voor de burger in twee hoedanigheden: de burger als afnemer van diensten (de consument) en de burger als belastingbetaler.
De burger als consument
De burger zien we in de debatten prominent terug als afnemer van diensten, bijvoorbeeld aangeduid als «de weduwe uit Appelscha». Deze burger is met name in de begindebatten (jaren ’80) zeer zichtbaar. Het basisprincipe is dat elke burger, waar hij ook woont, tegen een vast tarief een telefoonverbinding moet hebben. De Kamer zet zich in voor dit belang. Het gaat hierbij zowel om zeer concrete zaken als om een meer generieke bescherming van gebruikersbelangen. Zo wordt een motie aangenomen om het aantal telefooncellen op te voeren203 en om gespecificeerde telefoonrekeningen af te dwingen.204 Burgers hadden zich hierover beklaagd bij de Nationale Ombudsman.
Ook tijdens de behandeling van de Postwet (1988) hebben beide Kamers veel aandacht voor de positie van de burger als consument. Zo is de Tweede Kamer bezorgd over de effecten van verzelfstandiging op het dienstverleningsniveau.205 Tevens zijn er zorgen over mogelijke tariefverhogingen, die de minister meteen wegneemt.206 Dit soort voorschriften worden geregeld via de wet- en regelgeving (Telecomwet, Postwet en de bijbehorende besluiten). Deze invloedsmogelijkheid blijft bestaan, ook nadat KPN en PostNL volledig zijn geprivatiseerd en de markten volledig zijn geliberaliseerd.
Het parlement heeft overigens niet alleen oog voor individuele burgers, getuige het voorbeeld van de discussie over de BTW heffingen op post en telecomdiensten (zie kader).
Korting voor goede doelen
In de Europese postrichtlijn 97/67/EG is bepaald dat alle post binnen het concessiegebied is vrijgesteld van BTW.207 In Nederland is gekozen voor een beperktere vrijstelling; alleen de universele dienstverlening is BTW-vrij. De overige post moet wel BTW afdragen. Volgens het Besluit Algemene Richtlijnen Post (BARP) kan TPG grote – zakelijke maar ook charitatieve – klanten kwantumkortingen bieden. Bij het wijzigingsvoorstel voor de Postwet (1998) wilde de staatssecretaris voor deze kortingsregelingen de BTW-vrijstellingen opheffen.208 Dit voorstel stuitte echter op verzet in de Tweede Kamer. Kamerlid Eurlings (CDA) diende een motie in om de kwantumkortingen binnen de universele dienstverlening te laten vallen (dit botst niet met Europese regelgeving) zodat de BTW-vrijstelling voor deze klanten kon blijven gelden.209 Eurlings stelt dat fondsenwervende en charitatieve instellingen een sympathieke houding verdienen.210 Vendrik (GroenLinks) dient een motie van gelijke strekking in.211 Deze beide moties worden verworpen ondanks de instemming van de SP, GroenLinks, het CDA, het GPV, de RPF en de SGP. Eurlings geeft daarop aan niet te kunnen instemmen met het wetswijzigingsvoorstel. Het wetsvoorstel wordt desondanks aangenomen, want de PvdA, D66 en de VVD stemmen voor.212
De burger als belastingbetaler
De burger als belastingbetaler wordt ook wel aangeduid als «de minister van Financiën» of «de Schatkist». Bij zowel de verzelfstandiging als de privatisering is continu aandacht voor de inkomsten die gegenereerd worden. «Telecom blijft gelukkig voor ons allen zeer winstgevend. De NV blijft 1,5 miljard gulden per jaar aan inkomsten voor de Staat opbrengen, dit is een «forse indirecte belastinginning, waardoor het toch een melkkoe blijft».68 Ook bij TNT werd er duidelijk gewacht tot de omstandigheden voor een verdere afstoting het gunstigst waren.213
Een bijkomende rol voor de burger is die van belegger. Bij de debatten over de beursgang KPN stelde de PvdA: «Het is fantastisch voor de beleggers (...). Zij zien kans om eindelijk van hun geld af te komen in een gezond en goed bedrijf, dat groeit en in een groeimarkt zit.»214 Bij de Beursgang KPN dwingt de Tweede Kamer af dat burgers en werknemers voorrang krijgen bij de aandelenemissie. Dit wordt via twee moties215 afgedwongen bij de minister (door alle partijen gesteund). De minister reageert hier positief op. Burgers en werknemers zullen uiteindelijk korting krijgen op hun aandelen.
In 2001 heeft de SP wederom oog voor de beleggende burger, al is het ditmaal in een wat minder positieve bewoording. «Het paarse kabinet bracht in 1994 KPN onder andere naar de beurs om de bevolking aan het beleggen te krijgen. Het zogenoemde volkskapitalisme moest zo nodig een steuntje in de rug krijgen. Boeren, burgers en buitenlui werd aangeraden ook een aandeeltje KPN te kopen, want dat zou even solide zijn als het oerdegelijke aandeel PTT. Alle tot het kapitalisme overgehaalde burgers voelden zich een tijd lang de koning te rijk, omdat de waarde van het aandeel tot ongekende hoogte steeg. Het lachen zal de meeste mensen ondertussen zijn vergaan.»216
Bij de behandeling van de verschillende stappen in het privatiseringsproces in de Tweede Kamer kan worden geconstateerd dat er sprake was van een kettingreactie. De periode 1980–1990 kenmerkte zich door langdurig en zorgvuldig beraad. Nadat de verzelfstandiging per 1989 rond was, was de besluitvorming over de vervolgstappen echter heel summier. Deels werd dat ingegeven door de snelheid van alle ontwikkelingen. Maar ook lijkt het kritisch vermogen van de Tweede Kamerleden af te nemen naarmate er forse inkomsten gegenereerd kunnen worden, zoals bij de besluitvorming over de beursgang. Pas als KPN bijna failliet gaat, beginnen enkele Kamerleden zich zorgen te maken.
Twee onderwerpen hebben in de parlementaire besluitvorming weinig aandacht gekregen. Dat is ten eerste de vraag of de post mee-geprivatiseerd dient te worden, inclusief een bijbehorende afweging van de voor- en nadelen hiervan voor de publieke dienstverlening. Ook de borging van de publieke belangen verloopt moelijker bij de post dan bij de telefonie, omdat de liberalisering moeilijker tot stand komt en omdat de publieke dienst van de post veel minder rendabel is dan de telefonie. Uit diverse evaluaties blijkt tenslotte dat de privatisering en liberalisering van de post geen goed resultaat hebben opgeleverd. Door diverse betrokkenen worden dan ook vraagtekens gezet bij de privatisering en liberalisering van de post, zo blijkt onder andere uit de interviews en de Kamerdebatten over de post anno 2012. De burger wordt in de besluitvorming over de verzelfstandiging en privatisering vooral gezien als consument; het parlement heeft diverse maatregelen genomen om die consument te beschermen. Het borgen van publieke belangen via wetgeving en het instellen van de OPTA zijn daar de meest duidelijke voorbeelden van.
Een onderwerp dat in de parlementaire besluitvorming onderbelicht is gebleven, is de vraag bij wie het eigendom van de infrastructuur van de telecommunicatie dient te liggen. Dit eigendom is «stilzwijgend» meegegaan naar KPN. De Staat heeft weliswaar door de verkoop van aandelen een geldbedrag ontvangen, maar het bezit van de infrastructuur had onderwerp van discussie kunnen en moeten zijn. Het meest logische moment daarvoor was begin jaren ’90. Bij de verzelfstandiging was immers vastgelegd dat er binnen vijf jaar een splitsing zou komen tussen het concessie-gedeelte van het bedrijf en het commerciële gedeelte van het bedrijf. In het verlengde daarvan zou dan de discussie over de infrastructuur een logisch gevolg zijn. De keuze om toch maar niet te splitsen werd slechts summier in de Tweede Kamer besproken. Een schriftelijke vraag van de PvdA had een opening kunnen bieden voor een dergelijke discussie maar een ontwijkend antwoord van de minister werd door de Kamerleden niet aangegrepen om hier op door te gaan. Bij de daaropvolgende beursgang kwam dit onderwerp niet ter tafel. Pas toen KPN bijna failliet ging, kwam het eigendom van de infrastructuur ter sprake. In de uitleg van de minister van Financiën dat het terugkopen ervan onmogelijk was, werd door de Kamer berust. Deze leerervaring is in de casus energie wel gebruikt.
Ten slotte is gebleken dat de overheid en het parlement ook na de privatisering betrokken blijven bij het publieke belang dat de geprivatiseerde bedrijven namens de Staat behartigen. Zo bepaalt de Staat nog steeds de grenzen van het publieke belang. Vastgelegd is waar een ieder in Nederland voor een gelijk tarief recht toe heeft. De Staat legt vast of smalband of breedband internet hoort bij het publieke belang, de Staat bepaalt nog altijd of er telefooncellen moeten zijn en hoe hoog de tarieven van telefoongesprekken en postzegels maximaal mogen zijn. Het parlement blijft betrokken bij de wijziging van de voorschriften en het bepalen van de grenzen en de voorwaarden van het publiek belang.
Dit hoofdstuk behandelt de besluiten tot de «verzelfstandiging» van de Nederlandse Spoorwegen (NS) en de oprichting van ProRail. Alhoewel in de debatten steeds over de verzelfstandiging van de NS wordt gesproken, is er in technische zin geen sprake van verzelfstandiging. De NS was (sinds 1937) en is nog steeds een staatsdeelneming, een structuurvennootschap en 100% eigendom van de Staat.218 In 1993 werd echter besloten dat de NS financieel verzelfstandigd moest worden, dat wil zeggen niet langer afhankelijk zou zijn van overheidssubsidies. In dit hoofdstuk wordt echter voor het gemak en conform de formulering in de parlementaire stukken en debatten, de term verzelfstandiging (zonder aanhalingstekens) gebruikt. Het tweede besluit dat in dit hoofdstuk wordt bestudeerd betreft de ontvlechting van drie taakorganisaties die zijn samengevoegd tot ProRail, ook een staatsdeelneming. Hier past de term verzelfstandiging wel zonder voorbehoud. Dit hoofdstuk kan slechts een deel van de zeer complexe besluitvorming rondom de NS en ProRail beslaan en zal dus noodgedwongen een aantal ontwikkelingen slechts beperkt kunnen behandelen.
De opbouw van dit hoofdstuk volgt de thematische indeling zoals beschreven in de methodologische verantwoording in hoofdstuk 1. Na een inleiding en korte schets van het verloop van het besluitvormingstraject (paragraaf 3.1) wordt achtereenvolgens ingegaan op de motieven voor de besluiten (paragraaf 3.2), enkele aspecten ten aanzien van sturing en verantwoording (paragraaf 3.3), voorziene en eventueel bereikte effecten voor de burger (paragraaf 3.4), en de rol van het parlement in de besluitvorming (paragraaf 3.5). Tenslotte wordt kort stilgestaan bij een aantal relevante ontwikkelingen die zich na afloop van de verzelfstandiging hebben voorgedaan (paragraaf 3.6). Dit blijft echter beperkt tot enkele hoofdlijnen, aangezien de focus in deze casus gericht is op de twee voornoemde besluiten.
De relatie tussen de (rijks)overheid en het spoor kent een lange geschiedenis. Vanaf het midden van de 19e eeuw nam de overheidsbemoeienis op het spoor toe omdat de taxatie was dat het private initiatief in deze strategisch geachte sector in die periode teleurstellend achterbleef bij wat zich in andere landen ontwikkelde. Hoewel de overheidsbetrokkenheid in eerste instantie beperkt bleef tot aanleg van de infrastructuur, nam de overheidsbemoeienis begin 20e eeuw met de spoorwegexploitatie toe, hetgeen ertoe leidde dat de Staat in 1937 enig aandeelhouder werd van de Nederlandse Spoorwegen.219
Dit luidde een nieuwe fase in voor de relatie tussen de rijksoverheid en de spoorsector. Centraal stond de financiële relatie tussen de NS en de rijksoverheid. De wijzigingen in die relatie in de periode 1990–2005 die centraal staan in dit casusrapport zijn onderdeel van een langlopend hervormingstraject.220 De Europese richtlijn 91/440/EG vormt daartoe de directe aanleiding; met deze richtlijn wordt een geliberaliseerde spoorwegsector nagestreefd en worden de eerste aanzetten gegeven om te komen tot een concurrerende markt voor het (internationale) spoorvervoer. De richtlijn schrijft tenminste een boekhoudkundige scheiding tussen exploitatie en infrastructuur voor.
De commissie-Wijffels
Met het oog op de implementatie van deze richtlijn in Nederland en tegen de achtergrond van de noodzaak om te komen tot een fundamentele herziening in de financieringsstructuur van het openbaar vervoer als geheel en de spoorsector in het bijzonder stelt de minister van Verkeer en Waterstaat in 1991 een adviescommissie in. Onder voorzitterschap van de heer H.H.F. Wijffels, voorzitter van de hoofddirectie van de Rabobank, adviseert de commissie in Sporen voor straks, advies over de toekomstige relatie tussen overheid en Nederlandse Spoorwegen (1992) om verschillende functies van het NS-concern te scheiden in aparte bedrijfsonderdelen om de dienstverlening te verbeteren en de langetermijnmobiliteitsdoelstellingen van het kabinet te bereiken.221 Door een einde te maken aan de gecompliceerde onderlinge verwevenheid van bedrijfsactiviteiten binnen de NS, zal de NS in staat moeten zijn om beter in te spelen op klantwensen en meer reizigers kunnen aantrekken. De adviescommissie geeft aan dat op de lange termijn niet alle functies binnen één organisatie houdbaar zijn, maar zij schrijft géén concernsplitsing voor. In haar advies stelt de commissie het beperken van de invloed van ministeriële aansturing op bedrijfsmatige aspecten van de exploitatie van het spoor centraal. Zij noemt dit een essentiële voorwaarde voor het bereiken van de eerder genoemde mobiliteitsdoelstellingen. Dit zou ook passen bij een geliberaliseerde Europese spoorwegmarkt.
Kabinet neemt aanbevelingen commissie-Wijffels over
In 1993 neemt het kabinet de hoofdaanbevelingen van het advies over222 en besluit, met het oog op toekomstige concurrentie op het spoor, tot verzelfstandiging van de NS en ontvlechting van het NS-concern. Hoe dat gaat gebeuren, moet nader worden uitgewerkt. De Tweede Kamer gaat in september 1993 akkoord met dit kabinetsvoorstel.223 Omdat dit alom wordt beschouwd als een verzelfstandigingsproces, wordt in het navolgende ook de term verzelfstandiging gebruikt.
Nadat in 1993 goedkeuring door de Kamer is verleend, werken de minister en de NS de verzelfstandiging op hoofdlijnen uit. In een privaatrechtelijk contract dat in juni 1995 wordt getekend komen de minister en de NS op hoofdlijnen overeen op welke wijze de NS wordt verzelfstandigd. Dit contract met de naam Over de Wissel tussen markt en overheid. De verzelfstandiging van de NS en de nieuwe relatie tot de Staat 224 gaat in op 1 juli 1995. Het contract geeft op hoofdlijnen aan hoe in de periode 1995–1999 de relatie tussen de rijksoverheid en de NS wordt vormgegeven totdat sprake is van een geheel verzelfstandigde NS. De NS wordt ontvlochten in een vijftal organisaties: de NS Groep waarin de commerciële bedrijfsactiviteiten zoals NS Reizigers zijn ondergebracht, drie taakorganisaties (NS Railned BV, NS Railverkeersleiding BV en NS Railinfra BV) en NS Railinfratrust BV (waar het eigendom van het spoor berust).
In de Tweede Kamer ontstaat vanaf september 1993 onvrede over de mate waarin de Kamer bij de voortgang en invulling van het verzelfstandigingsproces wordt betrokken. Dit is de reden waarom in december 1995 aanvullende afspraken met de NS moeten worden gemaakt. Deze afspraken hebben betrekking op de overgangsperiode die – zo is op dat moment de verwachting – tot het jaar 2000 zal duren. Daartoe is voor de uitvoering van de contractafspraken een overgangsperiode afgesproken tot uiterlijk 31 december 1999.
Er wordt met de NS afgesproken dat de rijkssubsidies voor het reizigersvervoer gefaseerd worden afgebouwd en de NS krijgt de mogelijkheid om onrendabele treindiensten te beëindigen of te wijzigen. Treindiensten die door de NS als onrendabel werden aangemerkt, kunnen door het Rijk om redenen van maatschappelijk belang in stand worden gehouden. Hiertoe dient volgens Europese regels225 voortaan wel een contract met de vervoersexploitant gesloten te worden. Deze onrendabele treindiensten worden tezamen de «contractsector» genoemd waarvoor het Rijk de opdrachtgeverrol vervult.
In 1997 kondigt de minister van Verkeer en Waterstaat het voornemen aan om deze contractsectortreindiensten te decentraliseren, dat wil zeggen ze onder verantwoordelijkheid van de decentrale (regionale) overheden te brengen. Hiermee sluit de minister aan bij de decentralisatie en introductie van marktwerking in het regionale openbare stads- en streekvervoer.
In de periode tussen 1995 en 1999 worden de afspraken uit het contract in de praktijk gebracht. Voor de zogenaamde «taakorganisaties» – de railverkeersleiding, het capaciteitsmanagement en het spoorwegonderhoud – houdt het verzelfstandigingsproces in dat zij inhoudelijk via regelgeving en beschikkingen aangestuurd worden door het ministerie van Verkeer en Waterstaat. Voorlopig blijven ze evenwel onderdeel uitmaken van het NS-concern. Dit is opmerkelijk omdat zowel de Tweede Kamer als de minister met het oog op de te realiseren marktwerking de taken van de drie taakorganisaties wensen te af te scheiden van de oude monopolist NS.
Vanaf 1996 wordt op enkele lijnen van het hoofdrailnet in de Randstand geëxperimenteerd met concurrentie op het spoor. Hiertoe worden enkele vergunningen verleend. In de praktijk blijkt concurrentie in de Nederlandse spoorsector echter lastig te realiseren en ook in Europa komt concurrentie veel minder snel tot stand dan in eerste instantie werd aangenomen. Als gevolg van deze ontwikkelingen wordt in 1997 in een brief van de minister – getiteld: Beleidskader toelating tot het spoor – nog geen definitieve keuze voor de wijze van marktordening gemaakt.226 De invoering van concurrentie wordt door de minister expliciet benoemd als instrument om de gestelde doelen, efficiënter en innovatief openbaar vervoer, te bereiken. Maar de bestaande overgangssituatie en de daarmee gepaard gaande onzekerheid over de toekomstige inrichting van de spoorsector wordt gecontinueerd.
Nota «De derde eeuw spoor»
In 1999 wordt door de minister van Verkeer en Waterstaat in de nota De derde eeuw spoor 227 het nieuwe model voor de toekomstige marktordening van de spoorsector in Nederland gepresenteerd. In de nota wordt conform de Europese regels en richtlijnen228 gevolg gegeven aan decentralisatie van de contractsectorlijnen en gekozen voor concurrentie op het spoor voor het goederenvervoer en voor concurrentie om het spoor voor het personenvervoer, waarbij met concessies wordt gewerkt. Via een aanbesteding zal een vervoerder een exclusief recht (concessie) kunnen verkrijgen voor een bepaalde periode voor de exploitatie van treindiensten op bepaalde lijnen. Op het hoofdrailnet is het voornemen om concurrentie later in te voeren. Vooralsnog wordt in de overgangsperiode, totdat de institutionele kaders zijn vormgegeven, het hoofdrailnet in concessievorm aan de NS gegund tot 2008. Ook wordt in de nota aangekondigd dat voor de juridische vertaling van de nieuwe marktordening de bestaande Spoorwegwet (uit 1875) wordt herzien. Tot slot wordt in de nota voor het eerst (op termijn) het voornemen tot privatisering voor de NS genoemd en worden de eerste concrete stappen tot privatisering aangekondigd.229
Onvrede in de Tweede Kamer en op het spoor
In de praktijk blijken de sinds 1993 ingezette veranderingen echter minder goed te werken. De wetgevingsprocessen lopen vertraging op, maar ook de dagelijkse prestaties op het spoor verslechteren. Als gevolg van deze ontwikkelingen verloopt het parlementaire besluitvormingsproces waarmee invulling wordt gegeven aan de verzelfstandiging van de NS steeds grilliger. In 1999 concludeert de Algemene Rekenkamer in Toezicht op het spoor 230 dat de splitsing tussen de taakorganisaties en de NS in de praktijk slecht functioneert en dat door het ministerie van Verkeer en Waterstaat onvoldoende sturing wordt gegeven aan de taakorganisaties.
Ook in de Tweede Kamer groeit onvrede over de situatie op het spoor. De roep om publiekrechtelijke regelingen naast de privaatrechtelijke wijze waarop de relatie tussen de rijksoverheid en de NS wordt vormgegeven, wordt steeds sterker. Vanaf 2000 worden door de minister van Verkeer en Waterstaat twee wetsvoorstellen ingediend die de spoorsector moeten hervormen: de Spoorwegwet en de Concessiewet.231 De snel escalerende problemen op het spoor die de beginjaren van het nieuwe millennium kenmerken en de steeds actievere rol van de Tweede Kamer bewerkstelligen dat het wetsvoorstel in korte tijd tot vier keer toe dient te worden aangepast. In 2000 wordt de overname van het aandelenpakket van de taakorganisaties voorbereid. Op welke wijze de taakorganisaties vorm dienen te krijgen, is dan nog onbekend.
Begin 2001 wordt in het kader van de herziening van de Spoorwegwet onder meer aangekondigd dat de taakorganisaties NS Railned, NS Railverkeersleiding en NS Railinfrabeheer samen één spoorwegbeheerorganisatie worden, die wordt vormgegeven als een zelfstandig bestuursorgaan (ZBO).232 Daarmee tekent het toekomstige ProRail zich af.
Binnen de NS ontwikkelt zich echter een omvangrijk arbeidsconflict.233 Grote operationele problemen op het spoor in 2000 en 2001 en escalatie van het arbeidsconflict bij de NS vormen voor de minister aanleiding om zich in de zomer van 2001 te bezinnen op de voorgenomen veranderingen in de spoorsector. In september 2001 stuurt de minister een zogenoemde herbezinningsbrief234 naar de Tweede Kamer, waarin zij het fundament legt voor de wijze waarop de huidige verhoudingen in de spoorsector zijn vastgelegd.
Herbezinningsbrief 2001
In de herbezinningsbrief benadrukt de minister de noodzaak van rust in de spoorsector en de creatie van een stabiele en conflict-arme omgeving. Gezien de internationale ontwikkelingen en met het oog op liberalisering wil de minister de kat uit de boom te kijken. Ingrijpende structuurwijzigingen zijn vooralsnog onwenselijk. Tegelijkertijd wenst de minister meer grip te krijgen op de spoorsector. Tussen beheerder en vervoerder dient een gelijkwaardige relatie te ontstaan. Het voornemen om van de spoorwegbeheerorganisatie een ZBO te maken, wordt verlaten. In plaats daarvan wordt een privaatrechtelijke structuur van de spoorbeheerder voorgesteld. Praktische ervaringen met de nieuwe constructie waarbij de taakorganisaties de facto als een ZBO fungeren en de wens tot stevige aansturing doen de minister besluiten tot deze fundamentele beleidswijziging.234
Herziene Spoorweg- en Concessiewet
De minister stelt in de herbezinningsbrief eveneens dat de ingediende wetsvoorstellen bij nader inzien niet voldoen. Er dient nieuwe wetgeving te worden opgesteld die regelt wat nodig is, maar ook flexibel en toekomstbestendig is. Na een langdurig wetgevingstraject worden in april 2003 de (herziene) Spoorweg- en Concessiewet aangenomen in het parlement. De spoorbeheerder – ProRail – zal als een structuurvennootschap235 worden opgericht. De beheer- en vervoerconcessie, die met de institutionele ordening samenhangen, worden in het najaar van 2004 in het parlement behandeld en goedgekeurd.236 De wetten en concessies treden per 1 januari 2005 in werking. Daarmee liggen de institutionele verhoudingen in de spoorsector, zoals beschreven in de herbezinningsbrief, vast en is het verzelfstandigingsproces van de NS de facto afgerond.
Figuur 3.1. geeft een overzicht van deze beleidsgeschiedenis.
Figuur 3.1. Overzicht beleidsgeschiedenis verzelfstandiging NS

Een volledig onderzoek naar de parlementaire beraadslagingen over de relatie tussen de rijksoverheid en de NS is binnen de randvoorwaarden van het parlementaire onderzoek niet mogelijk. Daarom is een aantal keuzes gemaakt. In dit hoofdstuk worden de parlementaire beraadslagingen tijdens twee cruciale periodes in het vormgevingsproces van de relatie tussen de rijksoverheid en de NS bestudeerd. Beide periodes zijn belangrijk om de huidige hybride situatie in de spoorwegsector te begrijpen. Hoewel de kabinetsplannen gedurende deze periode beïnvloed zijn door allerlei incidenten en ontwikkelingen op en rond het spoor, wordt daar in de analyse slechts zijdelings aandacht aan besteed. Centraal staan twee periodes:
• Periode 1: 1992–1995. Gedurende deze periode ontwikkelt zich het parlementaire besluitvormingsproces dat resulteert in de verzelfstandiging van de NS. In 1992 verschijnt het rapport van de commissie-Wijffels. Het daaropvolgende kabinetsstandpunt vormt de basis om de spoorsector ingrijpend te hervormen. De NS zal op afstand van de overheid klantgerichter moeten gaan werken en zich in het kader van de Europese liberalisering moeten voorbereiden op concurrentie. De definitieve vorm waarin de verzelfstandiging plaats vindt, wordt eind december 1995 duidelijk als in de Tweede Kamer over het zogeheten hoofdlijnencontract wordt besloten. In dit hoofdlijnencontract worden door de minister en de NS afspraken gemaakt over de wijze waarop de verzelfstandiging in de periode 1995–1999 zal worden gerealiseerd.
• Periode 2: 1999–2005. In deze periode wordt besloten over de uitplaatsing van de taakorganisaties van de NS en oprichting van spoorwegbeheerder ProRail.237 Deze besluitvormingsperiode vangt aan met de nota De derde eeuw spoor in 1999 en vindt zijn afronding in 2005 als de nieuwe Spoorwegwet en Concessiewet in werking treden, waarmee de spoorwegbeheerder ProRail een plaats krijgt in het nieuwe wettelijke en institutionele kader van de spoorsector.
De twee geselecteerde periodes komen steeds apart aan bod in de navolgende paragrafen.
Twee opmerkingen dienen nog te worden gemaakt over de focus van het onderzoek. Ten eerste behandelt dit hoofdstuk alleen de discussie over het personen- of reizigersvervoer; besluiten over het goederenvervoer zijn niet meegenomen in de analyse. Ten tweede is de discussie over concurrentie op het spoor verweven met de discussie over concurrentie in de gehele openbaarvervoersector. Ook daar wordt in de analyse slechts zijdelings op ingegaan.
Aanleiding tot verzelfstandiging
Vanaf het midden van de jaren ’80 tracht de rijksoverheid haar relatie met de NS te hervormen en er meer grip op te krijgen.238 Inzet van de rijksoverheid is om te komen tot een efficiëntere (financiële) aansturingsrelatie van de NS. Vanuit haar rol als verantwoordelijke voor het verkeer- en vervoerbeleid draagt de rijksoverheid vanaf begin jaren ’70 van de vorige eeuw in toenemende mate bij aan de exploitatie van het spoorwegvervoer.239 Vanaf dat moment is sprake van een toenemende inhoudelijke en financiële bemoeienis met de exploitatie van het railvervoer. Deze bemoeienis is ad-hoc gegroeid waardoor verantwoordelijkheden onduidelijk zijn. De vergoedingenpraktijk vertoont karakteristieken van een «openeinderegeling».
Tot en met het midden van de jaren ’80 was sprake van een systematiek waarbij door de overheid het exploitatietekort jaarlijks werd aangevuld. De kosten hiervan nemen geleidelijk maar gestaag toe tot meer dan een miljard gulden per jaar: in 1990 ontving de NS ter dekking van de tekorten zo’n 1,4 miljard gulden.240 Sinds de jaren ’80 worden, ook met het oog op de staat van ’s Rijks Financiën, pogingen ondernomen om deze openeinderegeling te wijzigen en de NS te prikkelen om efficiënter te opereren. Er ontstaat bovendien behoefte «aan een algehele, eenduidige visie op de verhouding tussen de rijksoverheid en de NS: op wederzijdse verantwoordelijkheden en bevoegdheden.»241 Hierbij gaat de regering uit van de volgende uitgangspunten:
• de NV-status van de NS;
• zo beperkt mogelijke bemoeienis van de rijksoverheid met de bedrijfsvoering van de NS via sturing op afstand;
• zo groot mogelijke verantwoordelijkheid van de NS voor de bedrijfsvoering; en
• stimulering van een zo groot mogelijke doelmatigheid.241
Desondanks blijft er sprake van een moeizame relatie tussen de NS en de rijksoverheid waarbij ingewikkelde afspraken voor ad hoc problemen worden gemaakt, buiten de bovengenoemde structuur. De minister concludeert als gevolg van deze structurele karakteristieken in de relatie NS-rijksoverheid een «toegenomen spanning» die «een volwassen, zuivere en zakelijke relatie tussen partijen nauwelijks mogelijk maakt».242
Het is dan ook niet vreemd dat binnen het ministerie van Verkeer en Waterstaat eind jaren ’80 gezocht wordt naar een alternatief. In interviews met betrokkenen is verteld dat reeds onder minister Smit-Kroes binnen het departement nagedacht wordt over andere wijzen van aansturing van de NS, waarbij de ervaringen met de privatisering van de PTT van invloed zijn op de gedachtevorming. Tijdens verschillende gesprekken is bovendien bevestigd dat privatisering van de NS binnen het ministerie lange tijd als einddoel is beschouwd van de hervormingen. Het voorziene hervormingstraject dat doorlopen zou worden was: verzelfstandiging, liberalisering, privatisering. In de parlementaire stukken die zijn bestudeerd in het kader van deze studie wordt van deze koppeling noch dit einddoel echter gewag gemaakt.
In meer directe zin vloeit het kabinetsvoorstel voort uit een aantal strategische ontwikkelingen,243 met name de totstandkoming van een Europees spoorwegbeleid dat liberalisering van de (internationale) spoorwegsector beoogt.244 Minister van Verkeer en Waterstaat Maij-Weggen stelt daarop een adviescommissie onder leiding van de heer Wijffels245 in om zich te laten adviseren over de vormgeving van de bestuurlijke en financiële relatie tussen de NS en de rijksoverheid. Basispremisse is dat «de NS zo veel mogelijk verantwoordelijkheden en bevoegdheden krijgt toegeschoven» om zo veel mogelijk vanuit een «commerciële benadering» de vervoerstaak die volgt uit het verkeer- en vervoerbeleid «zo doelmatig mogelijk» te vervullen».246 Door deze opdrachtformulering zijn eventuele alternatieve configuraties niet verkend door de commissie-Wijffels.247
Het advies van de commissie-Wijffels
De commissie-Wijffels stelt in haar adviesrapport248 voor om verschillende functies van het NS-concern te splitsen in aparte bedrijfsonderdelen (reizigersbedrijf, goederenbedrijf, capaciteitsmanagement, aanleg en instandhouding van de infrastructuur) om de toekomstige groei van het spoorvervoer te kunnen accommoderen, efficiency te verbeteren en te komen tot verbetering van dienstverlening. Het doel is om een einde te maken aan de gecompliceerde onderlinge verwevenheid van alle bedrijfsactiviteiten binnen de NS en de Nederlandse spoorsector klaar te maken voor de introductie van marktwerking die in de Europese regelgeving wordt voorbereid.
Kern van het advies van de commissie-Wijffels vormt de scheiding tussen de kerntaken van NS. De adviescommissie onderscheidt taken die tenminste via de overheid dienen te worden verricht en taken die (eventueel) door anderen kunnen worden verricht. Het goederenvervoer zou verzelfstandigd naar de markt kunnen worden gebracht. De exploitatie van het personenvervoer (NS Reizigers) zal als aparte eenheid binnen de NS moeten opereren en dient op termijn verzelfstandigd te worden. Dankzij de ontvlechting van de NS, zo stelt de commissie-Wijffels, zal beter inzicht ontstaan in de kosten van specifieke treindiensten en daarmee op de besteding van overheidsgelden.249
De rijksoverheid dient volgens de commissie de NS de ruimte te geven om zich tot een normaal, winstgericht bedrijf te ontwikkelen. Hierbij benadrukt de commissie-Wijffels het belang van een eigen beslissingsbevoegdheid voor wat betreft de bedrijfsvoering van NS.250 Capaciteitsmanagement – het onder objectieve en transparante regels verdelen van schaarse railcapaciteit aan (personen en goederen-)vervoerders – kan door de NS worden uitgevoerd maar dient in een aparte afdeling onder de hoofddirectie en onder onafhankelijk toezicht gesteld te worden. Beleid en strategie rond aanleg en instandhouding van de infrastructuur vormen volgens de commissie-Wijffels een taak voor de overheid – een taak waar in het verleden juist «nauwelijks een proactieve rol bij de strategische planning van de railinfrastructuur» kan worden geconstateerd.251 Op uitvoerend niveau dient de overheid zorg te dragen voor bekostiging van deze kerntaak maar in praktische zin kan deze taak zowel binnen de NS als daarbuiten worden geplaatst.
Ten aanzien van de ontvlechting van deze kernfuncties wordt een korte-, middellange- en langetermijnperspectief gehanteerd.252 In haar advies geeft de commissie-Wijffels invulling aan het korte- en middellangetermijnperspectief en geeft zij voor deze periode een advies, namelijk het ontvlechten van de processen van de taakorganisaties. Met name voor de aanleg en instandhouding van de infrastructuur pleit de commissie op korte en middellange termijn «voor het behoud van deze eenheid binnen de NS.»253
Over de lange termijn laat de commissie zich niet expliciet uit. De commissie-Wijffels spreekt zich dus niet uit over de noodzaak om te komen tot de ontvlechting van de relatie zonder een scherp omschreven einddoel te schetsen.
Het advies van de commissie-Wijffels kan derhalve veeleer als richtinggevend dan als gedetailleerd en voorschrijvend worden beschouwd. Het rapport schetst nadrukkelijk een traject waarlangs verzelfstandiging kan plaatsvinden. Allereerst door uitwerking van taken, bevoegdheden en verantwoordelijkheden van de verschillende bedrijfsonderdelen. Pas daarna is een boekhoudkundige scheiding mogelijk. Vervolgens kunnen volgens de commissie «benodigde contracten tussen de overheid en elk van de nieuwe NS-bedrijfseenheden worden uitgewerkt en gesloten.»254 De commissie-Wijffels geeft nadrukkelijk aan dat op basis van praktische ervaringen, toetsing en evaluatie invulling gegeven kan worden aan de precieze vorm van de toekomstige relatie rijksoverheid-NS.255 Het is aan de politiek om aan het verzelfstandigingsproces op basis van deze aanbevelingen in de praktijk vorm te geven.
Het kabinetsstandpunt over Wijffels
In het kabinetsstandpunt (22 februari 1993) neemt de regering de hoofdaanbevelingen van de commissie-Wijffels grotendeels over.256 «De NS wordt volledig verantwoordelijk voor de bedrijfsvoering, met inbegrip van het voorzieningenniveau, de tarieven en de voor de exploitatie benodigde investeringen.»257 De onderneming dient minder afhankelijk te worden van rijksbijdragen. De overheid reduceert haar directe bemoeienis met de NS tot meer strategische aansturing en voorwaardenscheppend beleid.
In navolging van de commissie-Wijffels erkent de minister een publieke rol: «De overheidsverantwoordelijkheid voor de railinfrastructuur is vergelijkbaar met die voor de weg- en waterinfrastructuur. Zij omvat de politieke zorg voor de ontwikkeling, beheer en financiering van de railinfrastructuur.»258 Deze verantwoordelijkheid staat los van het realiseren van producten en diensten die via deze infrastructuur kunnen worden ontwikkeld. Zowel door de commissie-Wijffels259 als door de minister260 wordt aandacht besteed aan de rol die voor het parlement in deze nieuwe, voorgestelde relatie resteert. De minister geeft aan dat sprake is van een andere wijze waarop de rijksoverheid de NS kan aansturen in het kader van het aanbieden van openbaar vervoer.
Bovendien geeft het kabinetsstandpunt aan hoe het advies van de commissie is ingebed in een bredere visie op het openbaar vervoer waarbij versterking van marktwerking nadrukkelijk vermeld is. Het verzelfstandigingsvoorstel vormt derhalve onderdeel van een groter en ambitieuzer beleidsvoornemen.261 Door de minister wordt nadrukkelijk een koppeling aangebracht tussen de verzelfstandiging van de NS en de introductie van marktwerking in de gehele sector.262
Evenals de commissie-Wijffels voorziet de minister een overgangsperiode,263 maar details over het juridische kader of het proces dat doorlopen dient te worden in het verzelfstandigingsproces ontbreken, alhoewel de minister wél aangeeft dat marktwerking wordt beoogd.264
Over de wijze waarop de verzelfstandiging plaats dient te vinden en de positionering van de taakorganisaties binnen de NS wijkt het kabinet af van hetgeen de commissie-Wijffels voorstelt en gaat daarmee een stap verder. De minister geeft aan «een juridische scheiding het meest aangewezen» te vinden, maar wijst erop dat de verantwoordelijkheid voor de organisatievorm onder de NS-directie valt en dat het derhalve aan de NS is om een «passend voorstel te formuleren (...)».265 Daarmee wordt duidelijk dat de NS in deze fase van het hervormingsproces als onderhandelingspartner van de minister een belangrijke rol speelt bij de uiteindelijke vormgeving van de verzelfstandiging. Een fundamentele wijziging in de eigendomsrelatie van de NS (privatisering) voorziet de minister op dat moment nog niet.266 Het kabinet concludeert in de standpuntbepaling «dat met de geschetste structuur van de relatie rijksoverheid-NS en de functiescheiding binnen de NS, en met de beoogde versterking van de marktwerking, de optimale condities worden gecreëerd om de NS zelfstandig te laten functioneren en het vervoer per rail een maximale bijdrage te laten leveren aan de doelstellingen van het verkeers- en vervoersbeleid.»267
Opvallend is dat in de parlementaire beraadslagingen over verzelfstandiging nauwelijks verband wordt gelegd met het aspect marktwerking (in de gehele vervoerssector).268 De minister legt deze link wel en geeft aan dat marktwerking op het spoor op lange termijn het te beogen doel is.269 Daarbij speelt wet- en regelgeving vanuit Brussel een belangrijke rol omdat deze dwingt om te komen tot een andere inrichting in de relatie rijksoverheid-NS.270 Duidelijk is dat daadwerkelijke en voorziene toekomstige Europese ontwikkelingen op het terrein van liberalisering van de spoorsector in belangrijke mate hebben bijgedragen aan totstandkoming van een marktwerkingsperspectief op het spoor in Nederland en in het openbaar vervoer als geheel.271 De wijze waarop invulling wordt gegeven aan de verzelfstandiging van de NS sorteert ten aanzien van de scheiding van de taakorganisaties voor op te verwachten ontwikkelingen, met name de introductie van marktwerking.272 Tijdens de parlementaire behandeling van het kabinetsstandpunt geeft de minister, in antwoord op Kamervragen,273 een toekomstperspectief waarbij concurrentie een centrale rol speelt274 en andere exploitanten dan de NS ook gebruik kunnen maken van de railinfrastructuur waardoor criteria voor toelating tot het spoor wettelijk dienen te worden vastgelegd.275
Het kabinetsvoornemen om de NS te ontvlechten geeft aanleiding tot veel Kamervragen.276 Naar aanleiding van het kabinetsstandpunt worden door de leden van de Tweede Kamer gedetailleerde vragen gesteld over (mogelijke) consequenties van het voornemen tot verzelfstandiging. Opvallend is dat door partijen op een aantal belangrijke aspecten van het kabinetsstandpunt, bijvoorbeeld de onderbouwing van het voornemen tot verzelfstandiging of eventuele alternatieve vormgeving van de relatie, niet wordt ingegaan dan wel weinig nadere informatie wordt gevraagd.277 Op Kamervragen in hoeverre in de voorgestelde herziene relatie rijksoverheid-NS de noodzaak bestaat om additionele controlerende taken uit te voeren, antwoordt de minister dat met het voorstel voldoende «checks and balances» zijn ingebouwd.278 Door de Tweede Kamer worden ook vragen gesteld over de wijze waarop in de toekomst door de Staat zogenaamde «onrendabele treindiensten» dienen te worden gecontracteerd, alsmede over de samenhang met flankerend beleid en tarieven.279 De Tweede Kamer conformeert zich daarmee grotendeels aan de onderwerpen en rol die door de regering tot kern van de relatie overheid-NS worden gerekend: de infrastructuur, het prijsbeleid en de waarborging van een adequate vervoersvoorziening via contracten.
Plenaire behandeling kabinetsstandpunt-Wijffels in Tweede Kamer
Tijdens de plenaire behandeling wordt door de Tweede Kamer nader ingegaan op de doelstelling van het voorgenomen besluit tot verzelfstandiging. Volgens de minister is «in de huidige relatie tussen de rijksoverheid en de NS [...] sprake van een vermenging van overheids- en bedrijfsverantwoordelijkheden», waardoor de NS niet in staat is de markten van het personen- en goederenvervoer goed te bedienen. «De essentie van het kabinetsstandpunt is dan ook dat de taakverdeling tussen de NS en de rijksoverheid ingrijpend wordt verhelderd en gewijzigd.»280 Volgens de minister kent het voornemen tot verzelfstandiging een tweeledige doelstelling: «De klant mag centraal staan tegen de achtergrond van een zo rendabel mogelijk openbaar vervoer.»281 Het gaat dus enerzijds om een financiële doelstelling en anderzijds is er sprake van de vervoerdoelstelling die tot uitdrukking komt in het Structuurschema Verkeer en Vervoer (SVV). De verzelfstandiging zou volgens de minister beide moeten bereiken. Belangrijk daarbij is dat de minister aangeeft dat er géén sprake is van een bezuinigingsoperatie.282 Een reductie van uitgaven blijkt echter wel een belangrijke factor te zijn in de overwegingen van het kabinet.283 Wanneer de minister door de heer Lankhorst (GroenLinks) gevraagd wordt welke doelstelling – de economische dan wel de SVV II-vervoersdoelstelling – uiteindelijk leidend is, antwoordt de minister: «U probeert een zwart/wit-beeld te schetsen dat naar mijn oordeel niet de realiteit is. Bij de NS is men echt op beide doelstellingen ingesteld. Men wil een maximaal klantenvervoer hebben en men wil zo snel mogelijk zelfstandig worden. Men wordt zo snel mogelijk zelfstandig door zo snel mogelijk financieel op eigen benen te staan en van de subsidies af te komen. Als men die twee zaken goed met elkaar vermengt op een intelligente en slimme manier, dan is daar – dat blijkt ook uit het rapport-Wijffels – in redelijke mate uit te komen. Wij moeten hier niet nu al speculeren: als het ene nu eens dominant wordt of als het andere nu eens dominant wordt? Ik vind dat geen productieve discussie.»
De heer Lankhorst (GroenLinks) riposteert: «Volgens mij moet je dat juist wel doen op het ogenblik dat je tot veranderingen komt. Als je wilt dat de NS zelfstandig worden, dan moet je even doordenken en nadenken: als het misschien niet helemaal goed gaat, als het fout gaat, wat zal er dan plaatsvinden, welke doelstelling prevaleert dan? Die vragen zijn nu toch aan de orde? U roept op tot discipline en u zegt dat de Nederlandse Spoorwegen het zelf moeten doen. Dan moet je juist nu durven te zeggen: als het slecht gaat, dan kan dat betekenen dat de financiële doelstelling vooropstaat en dat de sociale doelstelling helaas het nakijken heeft.»
Minister Maij-Weggen: «U probeert mij een opmerking in de mond te leggen die ik absoluut niet in de mond zou willen nemen, noch in politieke of beleidsmatige zin, noch in de zin van de optiek van de operatie die wij nu onder handen hebben. U probeert echt een zwart/wit-beeld te schetsen waar noch de NS noch wij mee uit de voeten kunnen. Misschien kunt u er politiek mee uit de voeten, maar mij bevalt een dergelijke zwart/wit-tegenstelling niet. Het is ook niet de intentie van het hele project-Wijffels. Nogmaals, ik ga met u niet op die weg. Het kan uw weg zijn die u bevalt, maar ik houd niet van dat soort zwart/wit-tegenstellingen.»284 De minister geeft aan dat de intentie is om de dubbele doelstelling te bereiken, waarna een debat plaatsvindt over de mate waarin het verzelfstandigingsproces nog door de Kamer controleerbaar en beïnvloedbaar is. De heer Lankhorst (GroenLinks) stelt: «Het gaat mij niet om de intentie. Daar twijfel ik niet aan. Het gaat erom dat je nu moet kijken wat de consequenties kunnen zijn als het fout gaat. (...) Dat moet je nu onder ogen durven te zien en niet over een paar jaar, want dan kan het niet meer. Je geeft het nu uit handen, dus je moet nu kijken voor goede tijden en voor slechte tijden.»
Minister Maij-Weggen antwoordt: «Wij geven het niet zomaar uit handen. Wij geven het met een overgangscontract uit handen. Er zit een grote mate van geleidelijkheid in het proces. Het proces loopt over een periode van vier tot zes jaar, met een overgangscontract en een meer definitief contract. De heer Lankhorst vraagt mij wat ik zal doen als het over één jaar helemaal goed of helemaal fout zal zijn. In zo'n situatie zullen wij nooit terechtkomen, want er is sprake van een heel geleidelijk proces, dat steeds kan worden bijgestuurd. Ik zeg daar met nadruk bij dat die bijsturing bij voorkeur moet plaatsvinden door de NS en niet door de overheid.»283
Het grootste deel van wat een hoofdlijnendebat285 inzake verzelfstandiging zou moeten zijn, gaat noch over de probleemanalyse noch over mogelijke oplossingen voor dit probleem, maar de discussie spitst zich al snel toe op een engere beoordeling van de wijze waarop het kabinet voorstelt over te gaan tot verzelfstandiging. Er bestaan zorgen over de financiële situatie van de NS en de snelheid van de kabinetsplannen om de relatie te herzien.286 Maar door vrijwel alle partijen wordt aangegeven dat een gewijzigde relatie rijksoverheid-NS belangrijk is en goede perspectieven biedt voor de klant: de reiziger. In het debat wordt over de burger vooral als klant gesproken (zie ook paragraaf 3.4 en 3.6). Een aantal maal wordt benadrukt dat het belang van de (burger als) klant voorop staat. Kamerbreed wordt tariefvrijheid genoemd als een belangrijk punt van zorg, alsmede het belang van een geïntegreerd netwerk van spoorverbindingen.287 Tussen partijen bestaat wel verschil van inzicht over het einddoel van de verzelfstandiging en de structuur waarin de nieuwe NS dient te worden ingebed. Met andere woorden, partijen verschillen met elkaar van mening of de verzelfstandigingsoperatie deel uitmaakt van een vergaande verschuiving en de opmaat tot privatisering (in een geliberaliseerde omgeving), dan wel dat met het ontvlechten en meer op afstand plaatsen van de NS van de rijksoverheid een eindsituatie wordt bereikt.
Hoewel partijen op onderdelen hun zorgen formuleren, is de grondtoon positief. Regeringsfractie VVD is ingenomen met het voorgenomen verzelfstandigingsvoorstel, maar geeft aan dat op termijn een juridische scheiding van functies voor de hand ligt.288 Coalitiepartner CDA geeft bij monde van de heer Van Vlijmen eveneens aan dat een juridische scheiding tussen de verschillende onderscheiden functies logisch is: «De nieuwe rolverdeling legt de operationele verantwoordelijkheid meer dan tot nu toe bij de zakelijke onderneming. De taken die conditionerend zijn voor de economische draagkracht van ons land komen onder de verantwoordelijkheid van de overheid. Wijffels noemt dit de meer proactieve rol. Naar onze mening zou dit essentiële verschil in de taakopvatting moeten leiden tot een diepere splitsing tussen de uitvoeringsorganen. Dit zou zich moeten vertalen in bijvoorbeeld een «railinfrastructuurbeheerbedrijf», al of niet als rijksdienst, die wel gebruik kan maken van de NS als aannemer of dienstverlener van onderhoud, maar die qua directievoering en financiële verantwoordelijkheid geen onderdeel van de NS uitmaakt. Wij komen ook nog terug op het capaciteitsmanagement, ten aanzien waarvan naar onze mening hetzelfde geldt.»289
Het CDA vraagt zich ook af waarom door de minister «niet voor een holdingconstructie is gekozen met allemaal juridisch zelfstandige dochterondernemingen. (...) Als dochteronderneming zouden wij naast het reizigersbedrijf en het goederenbedrijf een grondbedrijf als een volwaardige exploitatiemaatschappij een aanbevelenswaardige constructie vinden.»290 Desondanks gaat het CDA «[o]p hoofdlijnen (...) akkoord met de doelstellingen en de aanpak» waarbij «efficiency, heldere scheiding van verantwoordelijkheden en risico's» in dienst staan van «het uiteindelijke doel: de zorg om de klanten een wervende en vloeiende dienstverlening te bieden.»291
Oppositiepartijen PvdA, GPV, RPF, D66 en SGP geven aan zorgen bij het kabinetsvoorstel te hebben. De partijen zijn overwegend positief over de doelen, maar wijzen tegelijkertijd op enkele belangrijke aspecten zoals de mate waarin de overheid in de toekomst nog in staat is om het mobiliteitsbeleid in Nederland te beïnvloeden. Bovendien wijst D66 op het feit dat na een voorgestelde overgangsperiode geen plannen bestaan om nog enige zeggenschap te houden. «Daarmee is de hamvraag, of de overheid ook in de toekomst nog zal kunnen pretenderen dat zij enige greep heeft op het mobiliteitsbeleid in Nederland en de maatschappelijke functie van de spoorwegen.»292 De heer Castricum (PvdA) stelt: «In concrete zin ligt de vraag voor of de NS de wissel naar een bestaan als gewone, commerciële en zelfstandige onderneming kunnen gaan nemen. Ons antwoord daarop is: ja, mits.» De heer Van den Berg (SGP) geeft aan dat gegeven het maatschappelijk karakter van de dienstverlening van de NS: «de verzelfstandigingsoperatie zoals die nu aan ons is voorgelegd, met de grootst mogelijke zorgvuldigheid moet worden omringd.»293
Tijdens het debat concludeert de minister dat sprake is van vrijwel Kamerbrede steun voor het regeringsvoorstel tot verzelfstandiging van de NS.280 Bovendien herhaalt zij haar argument dat het Europese beleid dwingt tot een fundamenteel andere invulling van de relatie rijksoverheid-NS en waarbij ook weer verwezen wordt naar de toekomst.294 Een discussie over nut en noodzaak en eventuele voor- en nadelen van verzelfstandiging blijft daarmee vrijwel uit. Niet de vraag of verzelfstandiging van de NS noodzakelijk is om de doelen te bereiken, is aan de orde, maar de vraag hoe de verzelfstandiging vorm te geven.
Hoewel door de minister gewezen wordt op de consequenties van gedetailleerde politieke aansturing en de wenselijkheid van een veranderende relatie tussen het parlement en de NS, wordt niet of nauwelijks ingegaan op consequenties voor de rol van het parlement. De minister schetst de Tweede Kamer een beeld van haar rol en een perspectief over het tijdpad en de te nemen stappen in het verzelfstandigingsproces dat na goedkeuring van de Kamer zal worden doorlopen, zonder overigens in te gaan op de wijze waarop marktwerking zal worden ingevoerd.295 Het einddoel is «zelfstandigheid van de Nederlandse Spoorwegen.»296
Bij monde van de heer Lankhorst is GroenLinks de enige partij die het regeringsvoorstel afwijst: «Het minste wat je in deze situatie kunt hebben, zijn twijfels over Wijffels. (...) Na vandaag is er, vrees ik, geen terugweg meer, maar de weg naar de toekomst is er een met veel twijfels. Met zoveel twijfels dat de fractie van GroenLinks die weg liever nu niet inslaat.»297
Twee belangen worden door de Tweede Kamer ingebracht. Het vraagstuk rond consumentenbescherming wordt aangedragen door de heer Castricum (PvdA): «Het verzelfstandigingsproces dat de NS ingaan, biedt de onderneming kansen, maar is voor de overheid niet zonder risico. In de nieuwe omstandigheden zal ook de rol van de Kamer in de relatie met de NS drastisch veranderen. Het lijkt ons gewenst dat er in de veranderde situatie waarborgen worden geschapen voor de gebruiker van het openbaar vervoer, in dit geval de reiziger per spoor.»298 Dit punt wordt door de minister direct omarmd en een visie op de inrichting van consumentenbescherming op de spoormarkt wordt toegezegd en in datzelfde jaar uitgewerkt en aan de Tweede Kamer gezonden.299 Tot slot wordt door de heer Van den Berg (SGP) nogmaals expliciet aandacht gevraagd voor het juridische kader gedurende het verzelfstandigingsproces.300
De minister concludeert aan het eind van het debat dat sprake is van een vrijwel Kamerbrede steun voor de regeringsaanpak. De minister geeft aan dat ingegrepen kan en dient te worden, mocht blijken dat verzelfstandiging niet tot de gewenste resultaten leidt.296 Op welke wijze kan worden ingegrepen, onder welke condities en op basis van welke signalen dit het geval zou zijn, blijft verder onbesproken.
Aan het slot van het debat wordt met uitzondering van GroenLinks door alle partijen ingestemd met het kabinetsvoornemen. Concluderend kan worden gesteld dat in het initiële hoofdlijnendebat eigenlijk niet of nauwelijks weerstand bestaat tegen het kabinetsvoorstel. Er zijn partijen die aangeven niet vrolijk te worden van de uitwerking, maar de weerstand van de Tweede Kamer is minimaal. Via één motie wordt getracht de snelheid van het verzelfstandigingsproces te verminderen, maar de motie wordt niet aangenomen.301 Nadat de Tweede Kamer in september 1993 het fundamentele besluit neemt tot verzelfstandiging zal in de parlementaire beraadslagingen meer aandacht worden besteed aan de verzelfstandiging, met name door de wijze waarop de Tweede Kamer bij het verzelfstandigingsproces wordt betrokken. Hier komen we later op terug.
Conclusie over motieven voor verzelfstandiging van de NS (1993–1995)
Het voorstel tot verzelfstandiging dient primair begrepen te worden vanuit de wens van het kabinet om de financiële relatie met de NS te beheersen en af te bouwen. Parallel aan de wens om de financiële relatie te herzien, leeft bij de minister ook de wens om de relatie tussen de NS en de rijksoverheid op een andere leest te schoeien. Eerdere ervaringen op het ministerie van Verkeer en Waterstaat die met de privatisering van de PTT zijn opgedaan spelen zeker een rol in de keuze die wordt gemaakt. Begin jaren ’90 wordt in opvallend stevige bewoordingen gesproken over «verwarring en onzuiverheid in de discussie over de verhoudingen in de relatie» waardoor «verantwoordelijkheden en bevoegdheden onduidelijk blijven. Dit heeft mede geleid tot ingewikkelde afsprakencomplexen voor ad hoc problemen (...). De daardoor toegenomen spanning maakt een volwassen, zuivere en zakelijke relatie tussen partijen nauwelijks mogelijk.»242
Als motief voor de verzelfstandiging van de NS hanteert de minister in het parlementaire debat in eerste instantie een dubbeldoelstelling: efficiëntie en beter OV (SVV: reizigerskilometers/modal split). «De klant mag centraal staan tegen de achtergrond van een zo rendabel mogelijk openbaar vervoer.»281 Hoe belangrijk de efficiencydoelstelling is valt niet te achterhalen.
Ook het vooruitzicht van marktwerking in Europa – het resultaat van Europese regelgeving (EU-richtlijn 91/440) – speelt een belangrijke rol in de argumentatie van de minister om tot verzelfstandiging over te gaan. Europa en de richtlijn worden door de minister veelvuldig naar voren gebracht als motief om over te gaan tot verzelfstandiging en ontvlechting van de NS. Desondanks wordt in de praktijk tijdens de parlementaire beraadslagingen weinig aandacht besteed aan de EU-regels en de liberaliseringsprocessen op het spoor. Europese ontwikkelingen worden door de Tweede Kamer grotendeels als gegeven beschouwd. De minister geeft aan dat een zekere mate van anticipatie op toekomstig Europees beleid inzake liberalisering invloed heeft op het kabinetsvoorstel om de NS in verschillende taakonderdelen op te splitsen. De Europese richtlijn verplicht slechts tot boekhoudkundige scheiding. Opvallend is dat de regeringsfracties een bepalende rol spelen in de formulering van de gewenste eindsituatie, zowel ten aanzien van de taakorganisaties als ten aanzien van de eigendomsstructuur van het spoor.
Een uitwisseling van standpunten over de probleemanalyse, nut en noodzaak en eventuele voor- en nadelen van verzelfstandiging blijft vrijwel uit. Niet de vraag of verzelfstandiging van de NS noodzakelijk is om de gestelde doelen te bereiken is aan de orde, maar de vraag hoe de verzelfstandiging vorm te geven. Door de Tweede Kamer wordt met name aandacht gevraagd voor de slechte financiële positie van de NS zonder hieraan andere conclusies te verbinden dan de constatering dat verzelfstandiging wellicht (nog) niet opportuun is. Wat precies de wensen van de NS zijn en op welke wijze zij zich in het proces opstelt, vormt geen onderdeel van de beraadslaging.
Opvallend is ook dat het hoofdlijnendebat vrijwel los van de financiële context wordt gehouden. Tot september 1993, het tijdstip waarop het besluit tot verzelfstandiging door de Tweede Kamer wordt genomen, kan gesteld worden dat financiële overwegingen een belangrijk onderdeel vormen van een breder complex aan overwegingen dat aanleiding vormt om tot grote hervormingen in de spoorsector over te gaan. Het financiële argument zal later gedurende het verzelfstandigingsproces in belang afnemen, omdat de NS in de jaren na 1993 vrij snel financieel wordt losgeweekt van de overheid.
Al met al ontstaat het beeld dat, het debat overziend, er geen sprake lijkt te zijn van een duidelijke of eenduidige visie op de verzelfstandiging van de NS; er komen tal van argumenten en motieven aan bod, maar weinig in onderlinge samenhang. Ook wordt in het debat wisselende aandacht besteed aan de verschillende motieven.
Een laatste belangrijke conclusie is dat in het besluitvormingsproces géén rol voor de Eerste Kamer is weggelegd. De hervorming van de relatie tussen de rijksoverheid en de NS zal worden gerealiseerd via contracten en privaatrecht. In deze keuze wordt voortgeborduurd op de adviezen van de commissie-Wijffels. Welke overwegingen een doorslaggevende rol hebben gespeeld voor zowel de adviescommissie als de minister om met contracten te werken, wordt niet direct gemotiveerd in het rapport van de commissie-Wijffels noch in het kabinetsstandpunt noch in de parlementaire beraadslagingen.302 Tijdens een discussie met de Tweede Kamer geeft de minister wel een belangrijk argument voor deze keuze. De relatie van de rijksoverheid met de NS is er een van een «zelfstandig bedrijf, zij het met 100% van de aandelen bij de rijksoverheid (...). Als je dan naar een andere verhouding met zo’n bedrijf toe gaat, is het eerste wat je moet doen, daarover onderhandelen met het bedrijf. Dat is niet iets dat je als wetgever in je eentje kunt beslissen.(...) Wij moeten ons goed realiseren dat de NS natuurlijk een positie heeft. Het is geen bedrijf zonder enige macht of invloed op dit moment. Vanuit de oude situatie heeft de NS een bepaalde positie.»303
Hoewel deze vorm past bij het relatief open en richtinggevende karakter van het advies van de commissie, dient niettemin geconstateerd te worden dat de uiteindelijk gekozen aanpak ten koste gaat van een ander belangrijk onderdeel uit het advies van de commissie-Wijffels: het advies tot toetsing en evaluatie van de besluitvorming gedurende het verzelfstandigingsproces.304 De consequenties hiervan zullen nog ter sprake komen als gesproken wordt over de borging en sturing van maatschappelijke belangen door het parlement. Immers, het parlement kan maar beperkt sturen als er wordt gewerkt met privaatrechtelijke contracten in plaats van wetgeving.
Aanleiding tot oprichting van ProRail
Nadat de Tweede Kamer eind 1995 akkoord gaat met het hoofdlijnencontract en de toevoegingen die in laatste instantie worden gemaakt, treedt een nieuwe fase in in de relatie tussen de rijksoverheid en de NS. Feitelijk is met het besluit sprake van een gecombineerd proces waarbij enerzijds sprake is van het reduceren van overheidsbemoeienis en anderzijds juist van een toenemende overheidsbemoeienis met de spoorwegsector.305
In het reizigersvervoer wordt de invloed van de rijksoverheid gereduceerd. De NV NS wordt op afstand van de overheid geplaatst306 waarbij «operationele bevoegdheden van het rijk naar NSR [NS Reizigers; red.]» overgaan «om als commerciële organisatie een op bedrijfseconomische principes geschoeid product- en marktbeleid te voeren. Gedurende de overgangsperiode blijft een rol voor de rijksoverheid bestaan op terreinen als tariefstelling en voorzieningenniveau. Op alle andere beleidsterreinen wordt de invloed van de rijksoverheid teruggedrongen ten gunste van de NS, bijvoorbeeld ten aanzien van personeelsbeleid. De voorstellen betekenen een financiële en beleidsmatige verzelfstandiging.»307 De verzelfstandiging leidt echter niet tot een wijziging in de organisatievorm van de NS. Die blijft een structuurvennootschap.
Op het gebied van infrastructuurplanning en -beheer en de verdeling van de infrastructuurcapaciteit is conform het advies van de commissie-Wijffels sinds 1995 juist sprake van een versterkte rol voor de rijksoverheid. De gedetailleerde uitwerking van de relatie heeft plaats na 1995.308 Eén van de cruciale aspecten die verder uitgewerkt dient te worden is de positionering van de taakorganisaties. Op dit onderdeel zal de analyse in deze subparagraaf gefocust blijven. Centraal in het besluitvormingsproces dat leidt tot de oprichting van de spoorwegbeheerder staat de vraag op welke wijze de zogenaamde taakorganisaties van de NS dienen te worden ingebed in de sector. Gedurende tien jaar, de periode 1995–2005, zal de wijze waarop de positionering van de taakorganisaties vorm wordt gegeven in de parlementaire beraadslagingen een punt van aandacht blijven. Het blijkt een grillig proces waarbij doelen en motieven meerdere malen wijzigen.
Initieel uitgangspunt ten aanzien van de taakorganisaties
In de hoofdlijnenovereenkomst uit 1995 wordt door de NS bedongen dat gedurende de overgangssituatie die tot eind 1999 gepland is, de taakorganisaties (Railned, Railverkeersleiding en Railinfrabeheer, respectievelijk capaciteitsmanagement, railverkeersleiding en spoorbeheer) integraal onderdeel uit blijven maken van de NS. In de overgangsperiode die is voorzien zullen de taakorganisaties functioneren via een hybride aansturingsconstructie waarbij inhoudelijke verantwoording door de taakorganisaties wordt afgelegd aan de minister en bedrijfsmatige aansturing plaatsvindt via de NS, analoog aan het advies van de commissie-Wijffels.
Tijdens de besluitvorming over de verzelfstandiging van de NS en het hoofdlijnencontract wordt door de Tweede Kamer echter al aangedrongen op «uitplaatsing» van de taakorganisaties uit de NS en hierover is door de Tweede Kamer een motie opgesteld en aangenomen.309 Deze motie zal in het verloop van dit besluitvormingstraject een belangrijke rol vervullen.
In januari 1996 wordt in de Tweede Kamer gesproken over een aanpassing van de Spoorwegwet aan de in 1991 verschenen Europese richtlijn en verordening.310 Het wetsvoorstel vormt aanleiding voor de Tweede Kamer om terug te komen op het verzelfstandigingsdebat, de nutsfunctie van de NS en na te gaan of Nederland zich aan richtlijn 91/440 zou kunnen onttrekken.311 De minister antwoordt dat Nederland geen mogelijkheid heeft om anders te handelen: «Nee, de richtlijn is de richtlijn en die is een wet.»312
Tijdens het debat wordt ook de juridische formalisering van de nieuwe relatie tussen de rijksoverheid en de NS in publiekrechtelijk opzicht besproken. De minister geeft daarbij aan: «Er zijn nu privaatrechtelijke afspraken gemaakt die na afloop van het overgangscontract in publiekrechtelijke regels overgaan. Dit moet in de wet geregeld worden en dat doen wij ook; daar is geen misverstand over.»313 Het wetgevingsproces wordt dus in werking gezet.
Nog belangrijker is echter de wijze waarop uiteindelijk invulling wordt gegeven aan de scheiding tussen exploitatie en taakorganisaties door de minister in de spoorsector. En deze invulling blijkt lastig. De uitgelopen onderhandelingen met de NS over de contractvorming rond de onrendabele lijnen, de zogenoemde contractsector, draagt bij aan de onzekerheid.
In juli 1996 licht de minister in de Eerste Kamer nog toe dat concurrentie in de spoorsector belangrijk is.314 Maar met de implementatie van de Europese richtlijn 91/440 die deze concurrentie moet verwezenlijken in de lidstaten gaat het minder goed. Uit een evaluatie blijken negen van de vijftien lidstaten de regelgeving die liberalisering op het spoor zou moeten realiseren adequaat in wetgeving te hebben omgezet, vijf landen hebben dit gedeeltelijk gedaan en van één lidstaat ontbreekt informatie.315 De minister rapporteert bij het aanbieden van haar begroting eind september 1996 aan de Tweede Kamer dan ook dat in Europa verdere liberalisering van de spoorsector op lokaal en regionaal niveau volgens de Europese Commissie vooralsnog niet aan de orde is, aangezien «de eerder in gang gezette (beperkte) liberalisatie nog niet het gewenste effect heeft gesorteerd. (...) Een directe volledige liberalisatie wordt op dit moment als te vergaand afgewezen.»316
Een daadwerkelijke keuze over de wijze waarop concurrentie in het personenvervoer op het spoor vormgegeven dient te worden blijft uit, en daarmee blijft ook de status quo-situatie ten aanzien van de taakorganisaties bestaan.
In Nederland laat een keuze voor de vorm van concurrentie die gekozen wordt – mede als gevolg van onduidelijkheid in het Europese beleid – op zich wachten. Daarmee blijft ook de toekomst voor de taakorganisaties onzeker. In afwachting van een definitieve keuze voor de wijze waarop marktwerking wordt geïntroduceerd vinden nieuwe ontwikkelingen plaats op het hoofdspoornet.
Experimenten: concurrentie op het spoor via Lovers
Minister van Verkeer en Waterstaat Jorritsma-Lebbink geeft op 12 juli 1996 een vergunning af aan Lovers Rail, een dochtermaatschappij van de Amsterdamse rederij Lovers die per 1 augustus een in onbruik geraakte spoorverbinding wil exploiteren.317 Vanaf augustus 1996 wordt de lijn Amsterdam-IJmuiden in gebruik genomen. De vergunning wordt gegund mede omdat de lijn inmiddels door de NS niet meer wordt gebruikt en er dus geen sprake is van verdringing. Desalniettemin is sprake van een experiment waarmee de minister toestaat dat binnen de Randstad en op het zogenaamde kernnet een (potentiële) concurrent van de NS op het spoor verschijnt. Volgens de minister is het experiment met concurrentie op het hoofdspoornet belangrijk «om ervaring op te doen met nieuwe toetreders en met concurrentie. De gekozen beleidslijn houdt echter niet per se een voorschot op een nieuw marktordeningsregime in.»318 In september 1996 worden door Lovers vergunningen aangevraagd om vanaf 1997 op een aantal andere trajecten verbindingen te mogen onderhouden.319
Op 17 oktober 1996 wordt in de Tweede Kamer onder andere over het vraagstuk marktwerking op het spoor (kernnet) en de relatie Lovers-NS gesproken.320 Vanuit D66 wordt aangedrongen op afsplitsing van capaciteitsmanager Railned uit de NS omdat daarmee de «zuiverheid van de discussie over de verdeling van het spoor» is gediend.321 Daarbij wordt duidelijk dat bij regeringspartij VVD concurrentie op het spoor niet wordt uitgesloten, alhoewel de overige regeringspartijen PvdA en D66 en enkele oppositiepartijen (GroenLinks en de SGP) voorzichtiger dan wel afwijzend ten aanzien van concurrentie zijn.322 De minister bevestigt echter de beleidsintentie: «De overheid heeft gevraagd om een betwistbare markt, dit staat ook met zoveel woorden in het advies van de commissie-Wijffels en het overgangscontract met de NS.»323 Grote vraag blijft welk type concurrentie de NS wacht. Want daarover bestaat nog steeds onduidelijkheid. Door de minister wordt in een tweetal nota’s aandacht besteed aan het marktmodel dat van toepassing zal zijn in de sector.324
Beleidskader toelating tot het spoorvervoer (1997): concurrentie als marktmodel
Op 7 februari 1997 licht de minister het beleidsvoornemen om marktwerking op het spoor te introduceren toe.325 Voor de contractsector, de zogenaamde onrendabele lijnen van het hoofdrailnet, wordt gekozen voor een geleidelijke introductie van marktwerking en concurrentie om het spoor, via periodieke aanbestedingen (zie ook paragraaf 3.4). Op 11 februari 1997 biedt de minister het Beleidskader toelating tot het spoorvervoer aan de Tweede Kamer aan.226 Hiermee wordt een nader perspectief geboden op de omgeving waarin de verzelfstandigde onderneming NS moet functioneren.
In de nota wordt een aantal concrete toedelingsregels en -instrumenten beschreven. Bovendien wordt duidelijk onder welke condities de minister zal overgaan tot vergunningverlening gedurende de overgangsperiode totdat de nieuwe verhoudingen via wetgeving zijn vastgelegd.
Ook wordt in de nota ondubbelzinnig gekozen voor concurrentie ten aanzien van het personenvervoer per spoor als «logisch complement van de verzelfstandiging van de NS als vervoerbedrijf.»326 Concurrentie moet leiden tot efficiënter en innovatief vervoer voor de reiziger. De minister geeft echter aan dat «de vorm, het tempo en de mate waarin concurrentie mogelijk wordt» nog niet bepaald is. «De meest gewenste wijze van marktordening voor de middellange termijn is op dit moment nog niet uitgekristalliseerd. Ik kom hier nog op terug.»327 Als reden voor uitstel van de keuze noemt de minister de (aanhoudende) onzekerheid ten aanzien van liberalisering in de spoorsector in Europa. Het gevolg is dat de bestaande overgangssituatie, waarin noch sprake is van een publiekrechtelijk kader noch duidelijkheid bestaat over de precieze vorm en inrichting van de spoorsector, wordt gecontinueerd.
In april en juni 1997 wordt het beleidskader in de Tweede Kamer besproken.328 In de Tweede Kamer wordt door zowel oppositie als coalitiepartijen kritisch gereageerd op het gebrek aan visie dat uit het beleidskader spreekt en enkele partijen leveren met terugwerkende kracht kritiek op de wijze waarop het besluit tot verzelfstandiging in 1993 is genomen.329 Zo concludeert de heer Remkes (VVD): «Mede op basis van Europese regelgeving is in 1993 gekozen voor verzelfstandiging van de NS. Nu kan worden geconstateerd dat op dat moment op zijn minst te weinig is nagedacht over de vraag hoe marktwerking op of om het spoor concrete vertaling krijgt. Dat denkwerk had toen moeten worden verricht om na te gaan wat het uiteindelijke resultaat van dat proces zou moeten zijn.»330 De minister bevestigt dat dit aspect bij de discussie over het rapport-Wijffels is blijven liggen: «Toen is absoluut niet nagedacht over de consequenties op de lange termijn van zo'n beslissing.»331
Tijdens het debat wordt door de Kamerleden uitgebreid aandacht besteed aan de link tussen marktwerking en verzelfstandiging. Coalitiepartijen VVD en D66 zijn van mening dat verzelfstandiging en marktwerking onlosmakelijk met elkaar zijn verbonden en vinden marktwerking een (cruciaal) onderdeel van verkeers- en vervoersbeleid waarvan niet op voorhand kan worden uitgesloten dat dit niet zal werken. Daarbij wordt steeds aangegeven dat een verzelfstandigde NS in een monopoliepositie een worst-case scenario is: «De heer Remkes was er buitengewoon van geschrokken, dat er bij de behandeling van het rapport van de commissie-Wijffels geen duidelijkheid bestond over de vraag waar men uiteindelijk wilde uitkomen in het verzelfstandigingstraject. Verzelfstandiging, marktwerking en privatisering hangen onlosmakelijk met elkaar samen. (...) Op het moment dat stap A gezet wordt, moet men zich goed realiseren wat in een logische en consistente benadering de vervolgstappen moeten zijn. Bij de bespreking van het rapport-Wijffels heeft de Kamer dat niet in alle opzichten goed onder ogen gezien. De Kamer had zich moeten realiseren dat, op het moment dat er een verzelfstandigingsbesluit genomen wordt, marktwerking daaraan onlosmakelijk verbonden moet zijn, op straffe van het zetten van een monopolie in de markt waartegen de VVD fundamentele bezwaren heeft.»332
De oppositiepartijen plaatsen echter (afkeurende of kritische) kanttekeningen bij het perspectief van marktwerking in de spoorsector.333 Sommigen partijen wijzen verzelfstandiging en marktwerking af, pleiten voor behoud van de nutsfunctie en wijzen op reizigersbelangen (GroenLinks, de SP).334 Andere partijen nemen genoegen met verzelfstandiging en de efficiencyvoordelen die hiermee gepaard gaan, maar hebben moeite met concurrentie op het spoor en vragen zich af op welke wijze publieke belangen worden geborgd (het CDA, de SGP).335 De PvdA en RPF/GPV336 steunen de verzelfstandiging, zijn tegen invoering van marktwerking en concurrentie op het hoofdrailnet maar niet noodzakelijkerwijs tegen concurrentie in de regio.337
In de zomer van 1997 worden door de minister vergunningen aan Lovers afgegeven op enkele aantrekkelijk geachte trajecten: Amsterdam-Haarlem, Leiden-Den Haag en Utrecht-Hilversum.338 Bovendien neemt op dat moment de Franse Compagnie Générale d'Entreprises Automobiles (CGEA,) een dochterbedrijf van multinational Compagnie Générale des Eaux, een meerderheidsaandeel in Lovers. 339 Daarmee dient zich serieuze concurrentie voor de NS aan op het kernnet; een gegeven dat met name de oppositiepartijen maar ook regeringspartij PvdA te snel gaat.340 Via een motie die wordt ingediend door regeringsfractie PvdA wordt de regering opgeroepen een uitgewerkt beleidskader inzake marktwerking in het spoorvervoer aan de Kamer voor te leggen voordat nieuwe stappen worden gezet op het spoor.341 Eerst dient duidelijkheid te worden gecreëerd over de wijze waarop bijvoorbeeld wordt omgegaan met de taakorganisaties.
In 1999 verschijnen kort na elkaar twee rapportages – de nota De derde eeuw spoor en de rapportage Zicht op toezicht van de Algemene Rekenkamer – die een belangrijke rol zullen spelen in de parlementaire besluitvorming rondom de inrichting van de taakorganisaties. Beide rapportages en hun parlementaire behandeling komen daarom hierna uitgebreid aan bod.
De derde eeuw spoor (1999): concurrentie om het spoor en taakorganisaties als ZBO
De parlementsverkiezingen die op 6 mei 1998 worden gehouden, zorgen voor oponthoud in het dossier verzelfstandiging NS en de wijze waarop met de taakorganisaties zal worden omgegaan. De onduidelijkheid over welke wijze van marktwerking op het spoor wordt gerealiseerd blijft voortbestaan tot begin 1999.
Op 3 augustus 1998 treedt het nieuwe kabinet-Kok II aan. In het kabinet hebben wederom de PvdA, D66 en de VVD zitting. Op het ministerie van Verkeer en Waterstaat komt een nieuwe minister aan het roer, mevrouw Netelenbos (PvdA). In het regeerakkoord worden forse stappen gezet in het verzelfstandigingsdossier.342 Onder andere wordt besloten de taakorganisaties op zo kort mogelijke termijn uit de NS te plaatsen. In het voorjaar van 1999 wordt de beleidsnota De derde eeuw spoor aan de Kamer voorgelegd waarin nader invulling wordt gegeven aan het regeerakkoord. Door de minister wordt gedetailleerd ingegaan op de vraag hoe de nieuwe marktordening in het personenspoorvervoer zal worden vormgegeven. Het doel dat dient te worden behaald is «verbetering van de prijs/kwaliteitverhouding van dit vervoer voor de reiziger.»343 In de nota maakt de minister een definitieve keuze voor de invoering van marktwerking om het spoor in concessievorm, waarbij wordt gekozen voor een publiekrechtelijke borging van publieke belangen en wordt aangesloten bij de systematiek in (regionaal en) stads- en streekvervoer. Nadere analyse heeft uitgewezen dat concurrentie op het spoor op het kernnet praktisch lastig te realiseren is en onwenselijke effecten kan hebben, aldus de minister.
Net als in eerder bestudeerde besluitvormingsprocessen speelt Europese wet- en regelgeving, met name richtlijn 91/440 en twee recentere aanvullingen,344 een belangrijke rol in de overwegingen van de minister.345 Bovendien geeft de minister aan dat nieuwe beleidsregels ten aanzien van de inrichting van de spoorsector verwacht kunnen worden: «In het witboek Een strategie om de spoorwegen in de gemeenschap weer vitaal te maken, uitgebracht in juli 1996 (COM(96)421def), heeft de Commissie haar toekomstvisie ten aanzien van het spoor ontvouwd. Zij zal het ingezette beleid continueren. In de Transportraad van 30 september 1998 heeft de Commissie een infrastructuurpakket spoor voorgesteld (...). Belangrijkste verandering is dat nu ook een organisatorische scheiding tussen infrastructuur en vervoer wordt vereist.»346
De nota geeft opnieuw aan dat de toelating van concurrentie een logisch complement is van de verzelfstandiging van de NS; een beleidsperspectief dat «overigens al neergelegd [was] in het kabinetsstandpunt bij het advies van de commissie-Wijffels.»347 Hiermee wordt een nieuwe stap gezet in de ambities van de regering om concurrentie te verwezenlijken op het hoofdrailnet.
Naast aandacht voor de wijze waarop decentralisatie en marktwerking in de gehele spoorsector wordt ingevoerd, bevat de nota ook een nadere invulling van de relatie tussen de rijksoverheid en de NS. De concessie voor het hoofdlijnennet wordt voor 10 jaar aan NS Reizigers gegund. In de gunning van het hoofdrailnet zullen eisen aan de geleverde prestaties worden gesteld. In de nota wordt bovendien gesproken over de uitplaatsing van de taakorganisaties, waarmee een einde gemaakt wordt aan de hybride situatie waarin de taakorganisaties functioneel onder de NS ressorteren maar in de verantwoordingslijn aangestuurd worden door en rekenschap afleggen aan het ministerie van Verkeer en Waterstaat. De taakorganisaties functioneren gedurende de overgangsperiode als BV’s binnen het NS-concern. Inhoudelijk zijn ze verantwoording verschuldigd aan de minister, maar in bedrijfsmatige zin worden ze aangestuurd door de NS. Door het besluit tot uitplaatsing wordt de facto uitvoering gegeven aan de motie-Remkes uit 1995 waarin wordt verzocht om na de overgangsperiode over te gaan tot uitplaatsing.348 Ook het eigendom van de infrastructuur zal bij de rijksoverheid worden ondergebracht waarmee invulling wordt gegeven aan de motie-Van ‘t Riet.349
De minister gaat uit van verzelfstandiging en ontvlechting van de drie taakorganisaties en van NS Railinfratrust BV – de holdingmaatschappij waarin het eigendom van het spoor is ondergebracht en waaronder de drie taakorganisaties ressorteren – per 1 januari 2000 via een overdracht van aandelen van de vier BV's door de NS aan de Staat.350 Er wordt een onderscheid gemaakt tussen infrastructuurmanagement en capaciteitsmanagement. In de nota wordt door de minister ook gefilosofeerd over de uiteindelijke organisatorische vorm voor de uitgeplaatste taakorganisaties waarbij voor essentiële functies zoals «toelating, capaciteitsbenutting en toekomstige capaciteitsbehoefte (...) een publiekrechtelijk Zelfstandig Bestuursorgaan (ZBO) de aangewezen positionering» lijkt te zijn. Met name ten aanzien van de overige beheerstaken op het spoor – de aanleg en instandhouding van de railinfrastructuur – geeft de minister aan dat «positionering en rechtspersoon waarin deze taken zullen worden ondergebracht, (...) onderwerp zijn van nadere uitwerking.»350
Door alle vertragingen rond het spoordossier en het verzelfstandigingsproces geeft de minister aan dat de nieuwe Spoorwegwet die het beleid vastlegt in tegenstelling tot de planning niet per 1 januari 2000 kan worden gerealiseerd. Als gevolg hiervan zal het bestaande overgangsregime worden gecontinueerd. De nieuwe streefdatum voor het realiseren van wet- en regelgeving verschuift naar januari 2001.351 Tot slot kondigt de minister een nieuwe beleidslijn inzake de eigendomsverhoudingen met de NS aan: «een (eventueel gedeeltelijke) vervreemding van de aandelen, door verkoop of beursgang. Privatisering van de NS kan gezien worden als een logisch sluitstuk van de verzelfstandiging en invoering van marktwerking. In de komende periode zullen concrete stappen worden gezet om de NS te privatiseren.»352 Welke periode dit betreft en welke stappen dat zijn, blijft in het verloop van het verzelfstandigingsproces onduidelijk.
In september 1999 tijdens het notaoverleg wordt De derde eeuw spoor door de PvdA met instemming begroet en beschouwd als «afronding van jarenlange discussie over de organisatiestructuur van het spoorvervoer in Nederland.»353 Tijdens de beraadslaging blijken niet alle partijen deze kwalificatie te delen. Coalitiepartner D66 proeft «een vrij grote mate van eensgezindheid (...) over de lijn die in de nota uiteen wordt gezet. Op een aantal punten zijn nog een aantal kritische tot zeer kritische noten naar voren gekomen, maar in het algemeen wordt de lijn van de nota onderschreven.»354 De Kamer is eensgezind in de wens tot (aanscherping van) prestatie-eisen waaraan de NS in de toekomst zal moeten voldoen; zeker als, zoals de nota aangeeft, gekozen wordt voor onderhandse gunning van exploitatie van het hoofdrailnet.
Maar er is niet op alle punten eensgezindheid en er is ook kritiek. Binnen de oppositie bestaat twijfel over de wijze waarop de beleidsdoelen kunnen worden behaald met de gekozen vorm van marktordening op het spoor; partijen vrezen de schaduwkanten.355 De heer Van den Berg (SGP) wijst op de complexiteit die met deze operatie gemoeid is en wijst in het bijzonder op het vraagstuk rond publieke en private verantwoordelijkheden.356 Het CDA, GroenLinks, de SP en de SGP wijzen het voornemen tot beursgang/privatisering ronduit af.357 Regeringspartijen PvdA en D66 sluiten privatisering en beursgang voorlopig uit, maar wijzen de gedachte niet principieel af.358 Alleen de VVD lijkt een privatiseringstraject niet af te wijzen; de partij is echter op voorhand niet bereid akkoord te gaan met de instelling van een ZBO.359 Ook het CDA is tegen instelling van een ZBO aangezien sprake is van een primaire overheidstaak.360 Oppositiepartijen GroenLinks, SP en RPF en GPV zijn kritisch over het gebrek aan (lange termijn)visie in de nota.361 De heer Van Bommel (SP) geeft aan dat in zijn ogen onvoldoende onderbouwing ten grondslag ligt aan de keuze van het kabinet voor de introductie van marktwerking.362 Door de heer Reitsma (CDA) wordt een motie ingediend waarin wordt geconstateerd dat beursgang van de NS niet wenselijk is en de regering wordt opgeroepen op korte termijn een helder standpunt te bepalen.363 De motie wordt op 26 oktober met brede steun aangenomen. Alleen de VVD stemt tegen.364
In het bijzonder bestaan bij veel fracties zorgen over de vertraging in het wetgevingsproces en het ontbreken van een publiekrechtelijk kader, zeker gezien de ervaringen met de experimenten van de vorige minister in het achterhoofd en de beleidsvoornemens voor de toekomst.365 De heer Van den Berg (SGP) concludeert: «Reeds enkele jaren ligt er een motie366 waarin de Kamer in het kader van de discussie in 1995/1996 heeft gezegd de toen gekozen aanpak niet verantwoord te vinden en dat die operatie omlijnd had moeten worden met een adequaat pakket van wetgeving. Met andere woorden: het moet publiekrechtelijk goed geregeld worden en niet alleen privaatrechtelijk. De minister geeft weliswaar aan hard aan het werk te zijn met die wetgeving, maar ik moet tevens constateren dat die er voor 1 januari nog niet zal zijn. (...) De Algemene Rekenkamer constateert dat de situatie ook formeel niet bevredigend is en dat die zonder adequate wetgeving ook niet bevredigend kan worden. Mijn conclusie is dan ook dat de voornemens ten aanzien van de uitplaatsing opgeschort moeten worden totdat er adequate wetgeving ligt. (...) Laten wij niet in dezelfde fout vervallen als een aantal jaren geleden.»367
Tijdens het notaoverleg worden door de Kamer tien moties ingediend. De heer Van den Berg (SGP) en de heer Reitsma (CDA) dienen twee moties in waarin de Kamer de minister oproept om uitplaatsing van de taakorganisaties op te schorten totdat sprake is van een deugdelijk wettelijk kader.368 Daarbij wordt expliciet verwezen naar de eerdere motie-Van den Berg waarin de minister hiertoe eveneens wordt opgeroepen.369 Tijdens de stemming op 26 oktober worden beide moties aangehouden. De heer Reitsma geeft als argumentatie voor het aanhouden van de motie voor de uitplaatsing van de taakorganisaties het gegeven dat de minister heeft toegezegd dat nadere stukken zullen volgen.370
Op 30 november 1999 stuurt de minister een brief over de achtergronden en doelstellingen ten aanzien van de uitplaatsing van de taakorganisaties naar de Kamer. De minister geeft expliciet aan dat de NS inmiddels bereid is om mee te werken.371 De uitplaatsing van de taakorganisaties is volgens de minister van essentieel belang in het licht van de bevindingen van de Rekenkamer om marktwerking in de spoorsector te realiseren en als sluitstuk van de verzelfstandiging van de NS. Onderdeel van de ontwikkeling is ook de overdracht van het juridische eigendom van het spoor via de overdracht van de aandelen van de NS Railinfratrust BV.
De minister streeft naar een stapsgewijze invulling van het organisatiemodel van de taakorganisaties en het sturings- en toezichtkader.372 Een keuze voor de wijze van uitplaatsing wordt niet gemaakt, wel wordt een gefaseerd proces beschreven373 en wordt aangegeven dat wordt gedacht aan de oprichting van één of twee ZBO's.372 Wat precies de overweging is om te komen tot een ZBO is onduidelijk, behalve dat sprake is van duidelijke overheidstaken die de minister op afstand wil plaatsen van de beleidskern.
Toezicht op het Spoor (1999): de taakorganisaties in de praktijk
Vrijwel gelijktijdig met de nota De derde eeuw spoor presenteert de Algemene Rekenkamer, op 23 juni 1999, haar rapportage Toezicht op het Spoor. Daarin wordt geconcludeerd dat de hybride vorm van aansturing van de taakorganisaties die vanaf 1995 de overgangssituatie kenmerkt, te wensen overlaat.374 In het rapport wordt een kritisch beeld geschetst van de wijze waarop door het ministerie van Verkeer en Waterstaat tussen 1995 en 1998 invulling wordt gegeven aan de aansturing van de publieke functies die de taakorganisaties verrichten. De Rekenkamer concludeert dat het «ministerie van Verkeer en Waterstaat zijn toezichts- en opdrachtgeversrol in de periode 1995–1998 onvoldoende [heeft] vervuld.»375 Omdat naar het oordeel van de Rekenkamer weinig controle op de prestaties bestaat en de organisatie van taken onduidelijk en juridisch onvoldoende geborgd is, voorziet de Rekenkamer «risico's voor een goede taakvervulling».376 De Rekenkamer is van oordeel dat bij de «geplande uitplaatsing van de taakorganisaties de inhoudelijke en beheersmatige aansturing door het ministerie veel aandacht behoeft. Het ministerie moet daarvoor met grote spoed een toezichts- en sturingskader ontwikkelen, met daarin een concrete uitwerking van zijn rol als toezichthouder en opdrachtgever.»377 Voor de minister biedt het rapport goede aanknopingspunten om het beleid verder vorm te geven en aanleiding om
«met de kennis van vandaag [te] concluderen dat de rol en positie van het ministerie duidelijker aangegeven hadden kunnen worden in de Overeenkomst uit 1995. In de Overeenkomst was hierover echter het meest haalbare opgenomen. De NS verzette zich in 1995 zeer sterk tegen het idee van splitsing van de NS in taak- en marktorganisaties vanuit de opvatting dat technische en vervoersactiviteiten onafscheidelijk zouden zijn.»378
Op 10 februari 2000 spreekt de Tweede Kamer met de minister over het Rekenkamerrapport en de voornemens inzake de uitplaatsing van de taakorganisaties.379 Veel partijen herkennen het beeld dat de Rekenkamer schetst. De heer Reitsma (CDA) constateert: «De kritiek die in het rapport van de Algemene Rekenkamer staat, is terecht. De afgelopen vijf jaar is bijna niets waargemaakt van de taak die de minister heeft.»380
De minister geeft tijdens het debat met de Kamer met zo veel woorden toe dat het verzelfstandigingsproces onderschat is.381 Hoewel de minister niet aangeeft waarom zij het organisatieonderdeel op afstand van het ministerie wenst te plaatsen, staat de gekozen ZBO-status overigens niet ter discussie.382 Pijnpunt is met name de afwezigheid van een wettelijk kader383 en de mate van uitwerking in het voorstel.384 De PvdA, GroenLinks en de VVD manen de minister tot spoed inzake het uitplaatsingsproces met het oog op het aflopen van het overgangscontract.385 De PvdA geeft aan dat zij vóór 1 juni 2000 een uitgewerkt voorstel voor uitplaatsing wenst te ontvangen.386 Tevens verzoekt de Kamer de minister duidelijker aan te geven hoe de minister haar formele verantwoordelijkheid inzake de taakorganisaties in de overgangsperiode kan waarmaken.387
In de notitie Verbetering relatie Overheid en NS 388 geeft de minister gehoor aan het verzoek van de Kamer en maakt de balans op van het verzelfstandigingsproces. De verzelfstandiging is in veel opzichten succesvol is geweest389 maar de relatie NS-rijksoverheid is problematisch gebleken. De beoordeling en kwalificering die wordt gebruikt voor het beleid van haar voorganger(s) is opmerkelijk: «Bij de verzelfstandiging van de NS lijkt onvoldoende aandacht te zijn besteed aan de uitplaatsing van taakorganisaties, de vormgeving van het toezicht, professioneel opdrachtgeverschap en het effectief waarborgen van publieke belangen.(...) Het ontbreken van transparantie en de onduidelijkheid in de functies bij beide partijen belemmert het tot stand komen van een zakelijke, professionele relatie tussen overheid en NS.»390 Gegeven de verzelfstandigde positie van de NS is «zowel voor het corrigeren van marktimperfecties als voor het waarborgen van publieke belangen (...) een sterke overheidspositie nodig.»391 Wat precies de publieke belangen zijn en op basis waarvan de minister tot deze conclusie komt, blijft in de brief onduidelijk. In de praktijk is echter sprake van afnemende prestaties op het terrein van punctualiteit en betrouwbaarheid. Bovendien neemt de drukte in de trein als gevolg van problemen met betrekking tot de inzet van materieel toe. Samen met een oplaaiend arbeidsconflict binnen de NS wordt in toenemende mate duidelijk dat de dienstverlening op het spoort te wensen over laat. In het laatste kwartaal van 2000 stort de dienstverlening op het spoor vrijwel in.392
De Spoorwegwet: alle taakorganisaties in één uitvoeringsorganisatie
Op 16 oktober 2000 kondigt de minister het voornemen tot overname van «het volledige aandelenpakket in de taakorganisaties NS Railned BV, NS Verkeersleiding BV, NS Railinfrabeheer BV en NS Railinfratrust BV» door de Staat aan.393 De minister motiveert het voorstel onder verwijzing naar de motie-Remkes394 en het vigerende regeerakkoord395 maar verwijst niet naar bovengenoemde notitie. Bovendien is nog steeds onduidelijk op welke wijze de taakorganisaties vorm gegeven worden.
Niet lang daarna vindt een belangrijke ontwikkeling plaats in het vormgevingsproces van de taakorganisaties. Op 15 november 2000 kondigt de minister in de memorie van toelichting van de nieuwe Spoorwegwet aan (op termijn uiterlijk in 2005) te streven naar één uitvoeringsorganisatie waarin de uitvoerende taken op het terrein van de verkeersleiding, capaciteitsmanagement en spoorbeheer zullen worden samengevoegd. Als motief voor deze keuze wijst de minister op «de behoefte aan een sterke integratie van de verschillende taken die aan de uitvoeringsorganisatie dienen te worden opgedragen. Dit leidt tot het samenvoegen van alle taken in één organisatie.»396 In haar advies op het wetsvoorstel geeft de Raad van State aan dat de duur van de overgangsperiode die voor ogen staat voordat sprake is van een finale inrichting van de spoorbeheersorganisatie (een periode van 5 jaar) erg lang is. Bovendien geeft de Raad van State aan dat een overkoepelende entiteit een wettelijke basis behoeft.397
In haar reactie op het advies van de Raad van State geeft de minister aan dat een lange overgangsperiode noodzakelijk is omdat pas na uitplaatsing invulling kan worden gegeven aan organisatievorm en positionering. De beheersorganisaties zullen gedurende deze overgangsperiode de facto fungeren en opereren als waren zij een privaatrechtelijke ZBO.398
Op 30 november 2000 bespreekt de vaste Kamercommissie het voorstel tot overname van de aandelenpakketten van de taakorganisaties door de Staat en de totstandkoming van het wettelijk kader tijdens een algemeen overleg.399 Bovendien wordt gesproken over het voorstel om een in oktober afgesloten memorandum van overeenstemming dat met de NS is bereikt over een nieuw prestatiecontract per 1 januari om te zetten in een prestatiecontract ter vervanging van het Overgangscontract I dat eerder was gesloten als verlenging van de bijeenkomst uit 1995. Met uitzondering van de VVD en de SP wordt door alle fracties (het CDA, de PvdA, D66 en GroenLinks400, RPF/GPV en de SGP401) kritiek geleverd op de voortvarendheid van de voorstellen. De kritiek van regeringspartij PvdA is daarbij opvallend scherp. De PvdA laat weten al sinds het advies van de commissie-Wijffels «geen warm voorstander» te zijn van uitplaatsing en «wijst erop dat de Kamer in het verleden herhaaldelijk en duidelijk heeft uitgesproken dat zowel de aanbestedingen als de uitplaatsing van de taakorganisaties uitsluitend binnen een wettelijk kader zouden moeten plaatsvinden.»402 Oppositiepartij CDA «herinnert aan de heldere afspraken rond de verzelfstandiging van de Nederlandse Spoorwegen: uitplaatsing van de taakorganisaties, het wettelijk kader dat 1 januari 2000 gereed moest zijn en teruggave van het juridische eigendom van het spoor aan de Staat als de verzelfstandiging zou worden voortgezet. De problematiek is ernstig en blijkt hardnekkig. Het roer moet dus om en daartoe moeten wellicht bepaalde aspecten van de verzelfstandiging worden heroverwogen. De minister heeft de afspraak met de Kamer om uitplaatsing van de drie taakorganisaties alleen in een wettelijk kader te doen plaatsvinden, niet tijdig waargemaakt en is daarmee de wens van de Kamer niet nagekomen. Zij dient te stoppen met het aanleggen van privaatrechtelijke noodverbanden om de doelstellingen met betrekking tot de taakorganisaties toch te kunnen doorzetten. (...) Gezien de grote belangen voor reizigers vindt het CDA een publiekrechtelijke regeling de enige toelaatbare optie. De afronding van de Spoorwegwet en de Concessiewet moet nu voortvarend worden aangepakt en pas daarna zijn de uitplaatsing van de taakorganisaties en het prestatiecontract aan de orde; deze volgorde mag zeker niet worden omgekeerd.»403
Kortom, de voorstellen van de minister zijn volgens de Kamer te ingrijpend, cruciale informatie ontbreekt en bovendien ontbreekt een juridisch kader. Volgens de PvdA dient in de periode totdat wetgeving wordt aangenomen het functioneren van de verzelfstandigde spoorwegen te worden onderzocht.404
De minister reageert op de kritiek door de Tweede Kamer te verzekeren dat het niet haar bedoeling is de Kamer te passeren en verdedigt haar voorstellen door erop te wijzen «dat in de beginperiode van het proces van verzelfstandiging van de Nederlandse Spoorwegen weinig is geregeld.»405 De voorgestelde maatregelen zijn gericht op versterking van de positie van de overheid zolang de nieuwe wetgeving nog niet is voltooid. De situatie waarin de taakorganisaties gedurende de overgangsperiode zijn ondergebracht bij de NS is onwenselijk en er moet ervaring met de nieuwe wijze van organiseren opgedaan worden voordat deze situatie kan worden vastgelegd in een publiekrechtelijke regeling.406 De minister roept de Kamer op de regeringsvoorstellen inzake het prestatiecontract en de uitplaatsing goed te keuren en waarschuwt voor de consequenties van een eventuele afwijzing: tijdsverlies, verlies aan dynamiek en het voortbestaan van een relatief zwakke positie van de minister versus de NS.407 De Kamer blijft echter bij haar standpunten en wenst de koninklijke weg te bewandelen. Daarmee wordt bedoeld dat eerst een publiekrechtelijk kader moet worden gecreëerd, voordat concreet invulling wordt gegeven aan de relatie tussen de overheid, de NS en taakorganisaties en pas daarna besluitvorming en uitvoering van uitplaatsing van taakorganisaties en concessieverlening.408 De minister concludeert daarop: «De taakorganisaties zullen vooralsnog dus niet worden uitgeplaatst en er zal nog geen aandelenoverdracht plaatsvinden.»409 De Tweede Kamer gaat op 30 november 2000 dus niet akkoord met de voorstellen van de minister en de status van de taakorganisaties blijft voortbestaan.
Crisis op het spoor
Op 8 december 2000 informeert de minister de Kamer over de gevolgen van de weigering van de Kamer om tot uitplaatsing over te gaan voordat sprake is van adequate publiekrechtelijke wetgeving.410 Die weigering heeft namelijk invloed op de voortgang in cruciale wetgevingsdossiers (bijvoorbeeld de Concessiewet) die nauw zijn verweven met het voorstel tot uitplaatsing van de taakorganisaties.411
De minister concludeert dat vanuit juridisch perspectief uitplaatsing van de taakorganisaties op korte termijn noodzakelijk is en niet vooruit loopt op definitieve positionering van de taakorganisaties per 1 januari 2005.412 Door een minimumpakket aan ZBO-sturingsinstrumenten voor de taakorganisaties vast te leggen in de Concessiewet is de Kamer voor de uitplaatsing van taakorganisaties niet langer afhankelijk van invoering van het publiekrechtelijk kader via de Spoorwegwet.412 Daarmee ontstaat een nieuwe deadline. Als voor 10 juni 2001 kan worden besloten tot uitplaatsen van de taakorganisaties, wordt volgens de minister «ordelijke en overzichtelijke parlementaire besluitvorming over de afzonderlijke voorstellen mogelijk gemaakt. Daarmee wordt eveneens recht gedaan aan de uit het algemeen overleg blijkende wens van de Kamer om met betrekking tot die voorstellen «de koninklijke weg» te bewandelen.»413 Terwijl de Kamer debatteert over de inrichting van de spoorsector, blijven de prestaties op het spoor problematisch.414
Op Kamervragen over het wetsvoorstel van de Concessiewet benadrukt de minister nogmaals het belang van wetgeving omdat momenteel «geheel geen sprake [is] van overheidsregelgeving.»415 Nieuwe spoorwegwetgeving moet volgens de minister «in belangrijke mate het primaat van de wetgever herstellen.»416 Over de taakorganisaties worden, met uitzondering van een vraag van de PvdA omtrent de status van het uitplaatsingsproces geen vragen gesteld.
Ondertussen zijn de spanningen in de spoorsector al enige tijd opgelopen. De spoorsector en met name de reizigers worden in deze tijd geconfronteerd met verschillende, aanhoudende problemen (vervoersproblemen op Koninginnedag in Amsterdam, grootschalige en aanhoudende stakingen en een scherpe daling van de punctualiteit). Tijdens een algemeen overleg op 4 april 2001, dat in het teken staat van het arbeidsconflict binnen de NS, geeft de minister aan dat zij in haar zoektocht naar meer sturingsmechanismen een wijziging van de statuten van de NS voorbereidt waarin de «tucht van de Staat» beter kan functioneren.417
Op 31 mei 2001 is er opnieuw een algemeen overleg tussen de minister en de Kamer waarbij de situatie op het spoor de beraadslagingen domineert.418 De Kamer is vrijwel unaniem van oordeel dat sprake is van een sturingsprobleem in de spoorsector (zie ook paragraaf 3.3). Zowel oppositiepartijen GroenLinks en het CDA als regeringspartijen PvdA en VVD kunnen zich vinden in de voornemens van de minister om via statutenwijziging de positie van de aandeelhouder te versterken en het publieke belang in de doelen van de NS te verankeren. Partijen geven ook aan dat meer nodig zal zijn. De minister deelt de analyse van de Kamer: «De NS zijn niet als enige verantwoordelijk voor de problemen; ook de politiek heeft lange tijd met de verzelfstandigingsoperatie geworsteld.»419 Tijdens het overleg kondigt de minister aan de zomer als een periode van herbezinning te gebruiken en stelt daartoe «de behandeling van de wijziging van de Spoorwegwet, inzake de uitplaatsing van de taakorganisaties, en de Concessiewet tot na de zomer» uit. Op 29 juni informeert de minister de Kamer over een addendum dat bij het Overgangscontract II is toegevoegd waarmee per 1 juli 2001 het Overgangscontract II nogmaals verlengd wordt tot maximaal 31 december 2001.420
Tot slot is vermeldenswaardig dat tijdens de begrotingsbehandeling een motie wordt ingediend door de heer Van der Steenhoven (GroenLinks) waarin de regering wordt verzocht ondanks de crisis op het spoor «bij de beschouwing van een betere verhouding tussen de overheid en de NS uit te blijven gaan van de uitplaatsing van de taakorganisaties uit het NS-concern en een spoedige behandeling van het wettelijk kader voor uitplaatsing mogelijk te maken.»421 Daarmee is de motie in zekere zin een nadere bevestiging van de motie-Remkes.422 De motie wordt op 5 juli 2001 aangenomen.423
Herbezinningsbrief (2001): van ZBO naar een privaatrechtelijke spoorwegbeheersorganisatie
In september 2001 komt de minister in de zogenoemde herbezinningsbrief terug op de situatie op het spoor.424 In de brief wordt een nieuwe analyse van de situatie op en rond het spoor gemaakt. Dit luidt een fundamentele herziening in van het tot dan toe voorgestane beleid. De minister stelt gewijzigde wet- en regelgeving voor die via nota's van wijziging van de Spoorwegwet en Concessiewet dienen te worden ingevoerd.
Specifiek ten aanzien van de taakorganisaties concludeert de minister dat de principiële scheiding tussen beheer en exploitatie en de organisatie van een overheidsorganisatie als beheerder van de infrastructuur en een private exploitant in de praktijk tot conflicten leidt en onwerkbaar is. «[D]e bestaande wetsvoorstellen [waren] onvoldoende gericht op de zakelijke, maar dagelijkse en intensieve, relatie tussen vervoerders en infrabeheerder [...] De ontstane relatie tussen overheid, infrabeheerder en vervoerders werkt conflicten in de hand en betreft te vaak directe overheidsbetrokkenheid bij elementen van dagelijkse bedrijfsvoering.»425 Te vaak blijkt de overheid als uitvoerende partij onderdeel te vormen van conflicten in de spoorsector. Vooral nu de verschillende partijen zich voorbereiden op de introductie van marktwerking, neemt het risico op conflicten nog verder toe. Het spoorsysteem is echter niet gebaat bij geruzie. Voor de «middellange termijn wordt een stabiele en conflictarme omgeving gecreëerd.»425
Bovendien is volgens de minister de voorgenomen oprichting van een publieke beheersorganisatie een te grote opgave: «Overheersend probleem blijkt bij nader inzien de publieke vormgeving van de uitvoering.»425 In de herbezinningsbrief geeft de minister aan haar plannen voor de omvorming van de spoorbeheersorganisatie tot een ZBO te laten varen. In tegenstelling tot in de nota De derde eeuw spoor wordt niet overgegaan tot de instelling van een ZBO, maar wordt gekozen voor een privaatrechtelijke constructie.426 De minister benadrukt dat het voorstel een solide basis vormt voor de sector, maar ook een «tijdelijke pas op de plaats is». In het wetsvoorstel worden geen «onomkeerbare stappen» genomen «en de gekozen vorm staat «discussies die nog gevoerd moeten worden niet in de weg.»427
De beleidsvoornemens in het najaar van 2001 en voorjaar van 2002 zijn ingebed in de Spoorweg- en Concessiewet die wederom – voor de vierde keer – ingrijpend worden gewijzigd. In de aanloop tot de plenaire behandeling worden vele tientallen Kamervragen gesteld.428
Kamerbehandeling Spoorweg- en Concessiewet
Op 27 en 28 maart 2002 vindt het plenaire debat over de Spoorweg- en Concessiewet in de Tweede Kamer plaats.429 Nieuwe verkiezingen staan voor de deur. Tijdens de behandeling van het wetsvoorstel wordt door de Kamerfracties gereflecteerd op de motieven voor verzelfstandiging en marktwerking430 en de vertraging die het voorstel heeft opgelopen.431 Bijzonder daarbij is dat beursgang, die in de Kamer eigenlijk nauwelijks aan de orde is geweest, als oorzaak van alle problemen wordt beschouwd.432 Met uitzondering van de VVD distantiëren alle partijen zich van een eventuele beursgang van de NS. Behalve de SP en GroenLinks geven alle partijen aan voor verzelfstandiging te zijn. Vrijwel alle fracties kwalificeren de procesgang en het uitblijven van wetgeving als ongewenst. Met name de oppositie uit daarbij (harde) kritiek433 en geeft aan dat een publiekrechtelijk kader essentieel is, zonder overigens specifiek aan te geven wat er in moet komen te staan.434 Cruciaal is de verbetering van de wijze van publiekrechtelijke borging van waarden om te kunnen sturen.435 Partijen beamen de noodzaak tot sturing en geven aan in te kunnen stemmen met voorstellen om sturing te vergroten, maar verschillen van mening of het concessiestelsel het instrumentarium biedt om adequaat te kunnen sturen.
Zowel GroenLinks436 als de SP437 zijn tegen invoering van het concessiestelsel vanuit de idee dat een andere en directere sturingsrelatie tussen de rijksoverheid en partijen in de spoorwegsector noodzakelijk is. Andere partijen geven aan moeite te hebben met de bevoegdheidsverdeling die voortvloeit uit het concessiestelsel.438 Sommige fracties geven aan zich geconfronteerd te weten met een dilemma aangezien zij inhoudelijke bezwaren hebben tegen de voorliggende wetsvoorstellen maar anderzijds de noodzaak van een publiekrechtelijk kader inzien.439 Via een serie amendementen beoogt de Tweede Kamer publieke belangen en verantwoordelijkheden scherper te formuleren.440 De PvdA geeft bijvoorbeeld aan dat publieke belangen via verschillende lijnen, zoals de recente statutenwijziging van de NV NS441 en de publiekrechtelijke concessielijn «prima kunnen worden veiliggesteld.»442
Centraal in het debat staat echter de toekomstige status van de taakorganisaties. Met uitzondering van de SP is de Kamer het eens over de noodzaak van een duidelijke scheiding tussen de taakorganisaties (beheer) en de exploitatie (vervoer).443 Regeringspartijen PvdA, VVD en D66444 en eveneens oppositiepartijen ChristenUnie445 SGP446, GroenLinks447 en het CDA geven aan de uitplaatsing niet bezwaarlijk te vinden. Het verschil van mening concentreert zich op organisatorische status van de spoorwegbeheerorganisatie. De VVD, D66 en het CDA zijn verbaasd over de fundamentele beleidswijziging die sinds de herbezinningsbrief door de minister wordt voorgesteld en vragen de minister om een nadere motivering voor de afwijking van haar eerdere beleidslijn om een ZBO-constructie te creëren en voor haar voorstel om de spoorbeheerorganisatie in een private staats-NV onder te brengen.448
De PvdA is de enige fractie die zich in de argumenten van de minister kan vinden. Oppositiepartijen SGP, ChristenUnie en GroenLinks zijn daarentegen principieel van mening dat het beheer van de spoorweginfrastructuur, dat Kamerbreed als een publieke taak wordt beschouwd, door een publieke organisatie dient te worden uitgevoerd.449 De heer Van den Berg (SGP) stelt: «Via de concessie creëren wij dus een privaatrechtelijke monopolist.»446 De oppositie verwijst in haar kritiek eveneens naar de kritiek van de Raad van State op het wetsvoorstel.450 De PvdA geeft daarentegen aan dat een ZBO-status geen oplossing biedt voor een inherente spanning die bestaat tussen spoorwegbeheerder en exploitant. In plaats daarvan stelt de PvdA voor een rol voor de vervoerkamer van de NMa in te voegen teneinde juridisering en politisering van conflicten te voorkomen.451
De minister motiveert haar beleidswijziging en uiteindelijke keuze voor de privaatrechtelijk inrichtingsvorm van de spoorwegbeheersorganisatie door te verwijzen naar de ervaringen van de laatste twee jaar. Er bestaat behoefte aan rust en een kader dat kan omgaan met de dynamiek en complexiteit van het dossier. Internationaal zijn alle landen op zoek naar de «meest optimale verhouding tussen spoor- en reizigersvervoer.» Daarbij is volgens de minister «hoofdvraag: hoe kun je de uitvoerders het best, op maat, aansturen?»452 De ervaringen op het spoor in de afgelopen jaren en ervaring met de ZBO’s leiden volgens de minister in praktische zin tot allerlei problemen en is minder flexibel. In een daaropvolgend debat met de SGP, het CDA, GroenLinks en de SP wordt ingegaan op de voor- en nadelen van een ZBO-status in relatie tot sturing en ministeriële verantwoordelijkheid.453 Daarbij geeft de SGP aan dat het kabinetsvoorstel principiële bezwaren oproept.454
De minister concludeert dat op dit moment de privaatrechtelijke variant de beste is en wijst erop dat «dit model met alle betrokken partijen uitdrukkelijk is doorgenomen op een win-win situatie.»455 De minister wijst nogmaals op de bezwaren tegen een ZBO en geeft aan dat het bij elkaar brengen van de taakorganisaties zeven jaar heeft geduurd en maant de Kamer de implicaties die gemoeid zijn met een eventuele ZBO-status mee te wegen; minimaal twee jaar uitstel van wetgeving en een omslachtige reorganisatie.456 Terugkijkend geeft de minister aan dat de verzelfstandiging en de wijze waarop deze werd uitgevoerd noodzakelijk was.
Tijdens de wetsbehandeling worden in totaal 44 amendementen en 11 moties457 ingediend.458 Het belangrijkste amendement wordt ingediend door de heer Van den Berg (SGP) en heeft tot doel de veranderingen die de minister ten aanzien van de spoorwegbeheerorganisatie maakt ongedaan te maken.459 Volgens de indieners zijn de argumenten van de nota van wijziging «louter van praktische aard en nopen niet tot een regeling op privaatrechtelijke basis. Bovendien is niet uitgesloten dat de gekozen privaatrechtelijke vormgeving op gespannen voet staat met Europese regelgeving; in ieder geval nopen de Europese regels volstrekt niet tot een privaatrechtelijke vormgeving.»460 De minister ontraadt het amendement ten stelligste.
Niet lang daarna – op 16 april 2002 – wordt het kabinet demissionair en op 22 juli 2002 treedt het kabinet-Kok II af. Gedurende deze periode wordt desondanks over de inrichtingsvorm van de taakorganisaties en de daarbij behorende spoorwegwetgeving gestemd. Op 23 april 2002 wordt in de Tweede Kamer gestemd over de amendementen op de Spoorwegwet.461 Voor het amendement-Van den Berg462 stemmen de SP, GroenLinks, de ChristenUnie en de SGP, maar dit levert geen meerderheid op waardoor het amendement wordt verworpen. Het amendement-Hofstra waarin een bredere en scherpere verantwoordelijkheid van de minister voor aanleg, maar ook «het beheer en het onderhoud» van de spoorweginfrastructuur wordt vastgelegd, wordt ondanks tegenstemmen van het CDA en de PvdA wel aangenomen.463 Tot slot wordt nog een aantal amendementen aangenomen waarmee de Kamer in generieke zin een grotere controlerende rol claimt ten aanzien van het formuleren van kwaliteits- en capaciteitseisen, de concessieverlening, en het goedkeuren van de gebruikersheffing.464 Een amendement van de SP dat ertoe zal leiden dat het hoofdspoornet niet kan worden gegund aan (deels) private bedrijven wordt niet aangenomen.465
Op 7 mei 2002 vindt de eindstemming plaats.466 Tijdens de eindstemming geeft de SGP een stemverklaring af, waarin wordt aangegeven dat zij niet kan instemmen met een voorstel dat het beheer van de infrastructuur uitbesteedt aan een privaatrechtelijke organisatie. Met de Concessiewet zal worden ingestemd, met de Spoorwegwet niet. Uiteindelijk stemmen de SP, GroenLinks, de ChristenUnie en de SGP tegen het wetsvoorstel van de Spoorwegwet, dat desondanks wordt aangenomen. De Concessiewet wordt met algemene stemmen aangenomen.
De taakorganisaties in staatseigendom
Een week later, op 15 mei 2002, zijn er Kamerverkiezingen. Hieruit komt op 22 juli 2002 het kabinet-Balkenende I voort. De nieuwe minister van Verkeer en Waterstaat wordt de heer De Boer (LPF). Gedurende de laatste weken van haar demissionaire periode wordt door minister Netelenbos nog een belangrijke stap gezet in het dossier van de taakorganisaties.
Op 24 mei 2002 informeert ze de Kamer dat de Staat op 21 mei 2002 met de directie van de NS is overeengekomen per 1 juli de aandelen in NS Railinfratrust BV (de houdstermaatschappij van Railned, Railverkeersleiding en Railinfrabeheer) over te nemen.467 De overeenkomst is een nadere uitwerking van het op 10 april 2000 gesloten memorandum van overeenstemming. Daarmee komt het eigendom van het spoorwegnet per 1 juli 2002 in handen van de Staat en is de uitplaatsing van de taakorganisaties gerealiseerd. «Waar de Staat sinds 1995 verantwoordelijk was, zal door de overdracht van de aandelen nu ook de beschikkingsmacht over de infrastructuur en over de organisaties die de infrastructuur beheren, bij de Staat komen te liggen.»468 Een maand later informeert de minister de Kamer over de voortgang van de integratie en geeft daarbij aan dat de definitieve keuze van de statutaire inrichting «overeenkomstig het beleid aangaande staatsdeelnemingen» zal plaatsvinden.469
De taakorganisaties besproken in de Eerste Kamer
Op 1 juli 2002 stelt de minister dat verlenging van het Overgangscontract II opnieuw aan de orde is aangezien de spoorwegwetgeving nog aanhangig is bij de Eerste Kamer en veel uitvoeringsregelgeving zich nog in de ontwerpfase bevindt.470 Op 23 juli 2002 stuurt de vaste commissie voor Verkeer en Waterstaat van de Eerste Kamer een verslag van voorbereidend onderzoek naar aanleiding van beide wetsvoorstellen.471 Enkele fracties geven blijk van een zeer kritische houding. Zo kunnen leden van de PvdA-fractie zich niet aan de indruk onttrekken dat «bij alle verdienstelijke pogingen om een valse start in de richting van een onbezonnen privatisering te redresseren, deze wetgeving naar vorm en inhoud nog niet voldoende is uitgekristalliseerd. Wetstechnisch valt op dat veel wordt geregeld door lagere regelgeving.»472 Is, zo vragen de senatoren zich af, het wetsvoorstel bovendien niet (te) eenzijdig gericht op marktwerking?473 Maar ook in de Eerste Kamer domineert het vraagstuk van de vormgeving van de spoorbeheerorganisatie. In de Senaat worden vraagtekens geplaatst bij het voornemen van de minister om de juridische status van de spoorbeheerorganisatie te wijzigen474 en de juridische scheiding van spoorbeheerder en vervoerder die met het wetsvoorstel wordt gefinaliseerd.475
Op 14 oktober 2002 stuurt de minister een memorie van antwoord op het voorlopige verslag van de Eerste Kamer.476 In het antwoord geeft de minister aan dat de institutionele vormgeving op het spoor er een is die via leren tot stand is gekomen. «De historie van het wetsvoorstel laat zien dat er verschillende mogelijkheden zijn overwogen en uitgeprobeerd (verzelfstandiging, uitplaatsing, concurrentie op of om het spoor, enz.). De elkaar opvolgende veranderingen hebben niet bijgedragen tot stabiliteit in de spoorsector.»477 Daarbij geeft de minister aan dat het denken in Nederland en Europa voortdurend is geëvolueerd. Ook geeft de minister aan dat de interpretatie van Europese wetgeving nog in beweging is en dat verschillen bestaan tussen landen ten aanzien van de inrichting tussen infrastructuur en vervoer.478 Niet overal is een scheiding tussen vervoerder en beheerder aangebracht; wel is overal in Europa een scheiding tussen vervoerder en capaciteitsverdeler/verkeersleiding aangebracht. De meeste lidstaten hebben voor een privaatrechtelijke vorm gekozen voor de verhouding tussen infrastructuurbeheerder en vervoerder (o.a. Duitsland, Verenigd Koninkrijk). Er zijn geen lidstaten die hebben gekozen voor een publiekrechtelijke verhouding tussen infrastructuurbeheerder en vervoerder.479
In de wetsvoorstellen is voorzien in een structuur die bijdraagt aan het creëren van duidelijkheid, rust en herstel. Vertrekpunt is de huidige situatie en niet een theoretisch ideaalmodel. De wetgeving beoogt de relatie tussen de rijksoverheid, spoorwegbeheerder en spoorexploitanten op een zodanige wijze wettelijk te verankeren dat publieke belangen kunnen worden geborgd. Op een vraag of in de concessiewet concurrentie uitgangspunt is, antwoordt de minister dat ten aanzien van personenvervoer per spoor noch concurrentie op dan wel om het hoofdrailnet uitgangspunt is.480
Met de wet wordt de situatie op het spoor bevroren; er wordt een principiële keuze gemaakt om niet te reorganiseren omwille van het creëren van rust en stabiliteit. De wet biedt echter de mogelijkheid om een vervoers- en beheerconcessie aan een geïntegreerd bedrijf te verlenen.481 De minister geeft aan: «In de wetsvoorstellen wordt geen principiële keuze gemaakt voor scheiding van vervoer en infrastructuur. Er zijn nu twee missie-gestuurde publieke vennootschappen die in kader- en toegangsovereenkomsten heldere afspraken maken om onder andere infrastructuur en exploitatie te optimaliseren.»481 De wetgeving zou daarmee voldoende robuust zijn om aan te sluiten bij Europese ontwikkelingen waarbij spoorwegen nationaal meer geïntegreerd raken. Ook schrijft de Europese richtlijn geen keuze voor een privaatrechtelijke of een publiekrechtelijke beheerder voor.479 Nederland kiest daarmee in lijn met de meeste andere Europese lidstaten voor een privaatrechtelijke invulling.
Desgevraagd reflecteert de minister nogmaals op de argumentatie dat een overheidstaak in principe publiekrechtelijk vormgegeven dient te worden482 en daarnaast geeft de minister aan dat de discussie rond de juridische vorm van de spoorbeheerorganisatie aangeeft dat geen sprake is van een beste vorm voor de inrichting van de verhoudingen op het spoor, «evenmin als de keuze voor de juridische vorm van de vervoerder een principiële is, is die dat voor de infrastructuurbeheerder.»483 Gevraagd naar de verschillen in aansturing tussen ZBO en staats-NV antwoordt de minister: «de mate van gedetailleerdheid. De concessie grijpt aan op de overleg- en de informatieplicht, op het toezicht op de naleving van de concessie door de minister, op het toezicht op de veiligheid door de minister, op de last onder dwangsom en op de gehele of gedeeltelijke intrekking van de concessie, als ultimum remedium. Bij een ZBO is het aangrijpingspunt overlegplicht en informatieplicht, het geven van algemene aanwijzingen – dat is dus een groot verschil – benoeming en ontslag van bestuurders van het ZBO, aansturing via begroting en verantwoording van ZBO en wijzigen bij wet van taken van het ZBO.»483
De minister licht verder toe dat de relatie tussen infrastructuurbeheerder en vervoerder bezien dient te worden «als een dienstverlener, die capaciteit aan een spoorwegonderneming aanbiedt. De [Europese] richtlijn beoogt juist géén hiërarchische relatie, maar een samenwerkingsrelatie.»483
Op 3 december 2002 is er een (algemeen) overleg484 in de Eerste Kamer waarin de wetsvoorstellen van de Spoorwegwet en de Concessiewet worden besproken.485 De heer Eversdijk (CDA) reflecteert tijdens de plenaire behandeling van de wetsvoorstellen over de wijze waarop de Senaat haar werkzaamheden uitvoert: «Er is voortdurend zeer veel schriftelijke informatie geweest in de verslagen en van lieverlede is ook in deze Kamer min of meer geruisloos – zo heb ik de indruk – het fenomeen van het algemeen overleg binnengekomen. Dit is bij ons weliswaar nog steeds in besloten vorm en dat heeft voor een deel zo zijn voordelen, met name, zo denk ik, omdat je dan wat openhartiger met ambtenaren kunt spreken; maar voor een ander deel is er ook wat voor te zeggen om er eens over na te denken hoe dat verder moet.»486
De minister licht nogmaals toe dat de nieuwe regelgeving primair bedoeld is om rust te creëren omdat publiekrechtelijke kaders worden aangebracht die essentiële publieke belangen borgen. Tegelijkertijd dient de wetgeving een flexibel kader te vormen aangezien de sector nog volop in ontwikkeling is. Met de evaluatie van het stelsel van wetgeving in 2006 kunnen eventuele aanpassingen worden doorgevoerd.487 Naar aanleiding van opmerkingen van de minister dat de transactiekosten van concessieverlening hoog zijn, waardoor aanbesteding van het kernnet een kostbaar en tijdrovend proces zal zijn, stelt PvdA-senator Wolfson de vraag of aanbesteding van een geïntegreerd spoorbedrijf niet eenvoudiger is.488 De minister geeft aan dat de huidige voorstellen deze ruimte voor «herbezinning op termijn» bieden.
Desalniettemin is de Eerste Kamer zeer kritisch. De heer Eversdijk (CDA) vraagt zich af of marktwerking op het Nederlandse infrastructuurnet wel mogelijk is.489 De heer Terlouw (D66) geeft aan «het onrustige gevoel» te hebben «dat de oplossing langzamerhand niet meer past op het probleem. De aanvankelijke gedachte van concurrentie in het personenvervoer op het spoor is niet realiseerbaar. Het idee van concessies is zo ingewikkeld en onwaarschijnlijk dat hij niet verwacht dat vervoerders beter voor hun klanten zullen zorgen onder de dreiging van verlies van de concessie.»490 Wellicht zou teruggang naar een situatie waarin sprake is van een privaatrechtelijke vorm in rijkseigendom wenselijk zijn, maar hij spreekt zijn angst uit dat «Nederland zal worden overruled door de Europese Unie.»490 In antwoord op de in de Kamer verwoorde zorgen benadrukt de minister bij monde van een topambtenaar dat concurrentie op het spoor niet mogelijk is. «Er is per definitie sprake van een monopolie op het hoofdrailnet.»491 De concessie kan wel worden gebruikt om concurrentie aan te gaan met het wegvervoer en de Spoorwegwet biedt de ruimte om «bijvoorbeeld een holding boven de infrastructuurbeheerder en de vervoerder» te plaatsen. De heer Bierman (OSF) geeft aan «dat er nog steeds een onlosmakelijk verband is tussen de kwaliteit van de infrastructuur en van het materieel dat erop rijdt. Hij pleit dan ook voor een holding boven beide bedrijven die efficiency-afwegingen maakt op gebied van onderhoud en investeringen en voor concurrentie op de trein.»492 Op de vraag van de heer Van der Lans (GroenLinks) hoe conflicten in de spoorsector kunnen worden voorkomen geeft de minister aan dat het nieuwe stelsel «de verantwoordelijkheden van de diverse partijen duidelijker zullen zijn.»492
Volgens de heer Van Altena bestaat er momenteel «geen inzicht in de kwaliteit van de infrastructuur en van het materieel en is er geen management informatie of publiekrechtelijk sturingsinstrument om de ministeriële verantwoordelijkheid voor het vervoer en de infrastructuur te kunnen waarmaken.» De concessie moet dit wel bieden en de evaluatie in 2006 en de periode erna biedt ruimte aan «de politieke discussie of er in 2014 een aanbesteding zal plaatsvinden.»492
Begin februari 2003 blijkt uit een nader voorlopig verslag, dat er nog vragen leven in de Senaatsfracties.493 Verschillende fracties hebben vragen bij de mate waarin vanuit Europa nu precies druk bestaat om concurrentie op het Nederlandse spoor toe te staan.494 Verschillende fracties wensen ook te weten wat nu precies de opvatting van de minister is inzake de splitsing van de NS en de drie taakorganisaties die vanaf 1 januari 2003 gezamenlijk onder de naam ProRail naar buiten treden.495
Tijdens de plenaire behandeling van de Spoorweg- en Concessiewet op 15 april 2003 schetst de heer Wolfson (PvdA) het dilemma dat de Tweede Kamer parten speelde en ook door fracties in de Eerste Kamer wordt gedeeld496; inhoudelijk en wetstechnisch gezien is op de voorstellen het nodige aan te merken: «Anderzijds zijn er goede argumenten om te proberen vandaag tot een voorlopige afronding te komen. De wetsvoorstellen regelen heel veel dat nu houtje-touwtje is opgelost en beter geregeld moet worden: halve afspraken, hele, maar onuitvoerbare contracten en tot dusver onduidelijke bevoegdheden. Niet alles wordt nu meteen goed geregeld, maar de wetten zijn flexibel en laten ruimte voor voortschrijdend inzicht.»497 Gegeven dit dilemma en de situatie op het spoor is het volgens de heer Wolfson belangrijk dat een langetermijnherstelplan wordt ontwikkeld en een grondige analyse plaatsvindt van de alternatieve beheersvormen gedurende de wetsevaluatie. Verschillende partijen reflecteren op nut en noodzaak van verzelfstandiging en marktwerking498, besteden aandacht aan de sturingsproblematiek499 waarbij sommigen aangeven moeite te hebben met de scheiding tussen beheer en exploitatie500 en het feit dat Nederland met de invoering van de wetgeving als eerste land zal voldoen aan de implementatie van de Europese regelgeving.501
Tijdens het debat wordt door de heer Wolfson (PvdA) een motie ingediend waarin de minister wordt opgeroepen met een visie te komen op de beste verhouding tussen de NS en taakorganisaties, gegeven de Europese regelgeving terzake:
«De Kamer, (...) verzoekt de regering om (...) bij de evaluatie van de Spoorwegwet als voorzien in 2006 een nota aan te bieden over het voor en tegen van alternatieve beheersvormen, waaronder tenminste concessieverlening aan een holdingconstructie waarin infrastructuur en exploitatie weer bijeen zijn gebracht, zoals mogelijk gemaakt in de Vierde Nota van Wijziging van de Spoorwegwet; (...) en nieuwe wetsvoorstellen voortvloeiend uit de voor 2006 voorziene wetsevaluatie en de bovenbedoelde nota nog in de loop van 2006 aan de Staten-Generaal aan te bieden (...).»502
De meeste partijen geven aan de PvdA in deze wensen te steunen503 en daarmee de voorstellen het «voordeel van de twijfel» te geven.504 Alleen GroenLinks en de OSF laten aantekenen niet met de voorstellen in te hebben kunnen stemmen.505 De minister geeft aan niet onsympathiek tegen de motie te staan. «Met het oog op de demissionaire status van het kabinet is het derhalve opportuun om het oordeel over de motie aan de Kamer over te laten.»506 Daarmee wordt de beraadslaging gesloten en de wetsvoorstellen worden zonder stemming aangenomen. Op 6 mei 2003 wordt gestemd over de motie-Wolfson.507 De motie wordt met algemene stemmen aangenomen. Daarmee is het publiekrechtelijke kader van het verzelfstandigingstraject bijna tien jaar nadat de Tweede Kamer besloot tot de verzelfstandiging van de NS eindelijk een feit (zie paragraaf 3.6 over recente ontwikkelingen).
Conclusies over motieven voor oprichting ProRail (1999–2005)
Verreweg de belangrijkste conclusie die kan worden getrokken over het besluit tot oprichting van ProRail is dat de vormgeving van de spoorbeheerder sterk wordt beïnvloed door de ontwikkelingen in de spoorsector. Motieven en argumenten van de minister wijzigen veelvuldig en ogenschijnlijk eenvoudig waardoor gesproken kan worden van een grillig wetgevingsproces. Het besluitvormingsproces kan ook als zeer stroperig worden bestempeld. Bij aanvang van het besluit tot verzelfstandiging wordt aangenomen dat een overgangsperiode van vier jaar (1995–1999) voldoende is om een perspectief op marktwerking in de spoorsector te ontwikkelen, maar dat blijkt veel te kort. Er blijft lang onduidelijkheid bestaan over de wijze waarop marktwerking zal worden geïntroduceerd en ook de samenhang tussen marktwerking op het spoor en andere delen van het openbaar vervoer blijft onderbelicht in het debat.
Een kabinetswijziging is medeverantwoordelijk voor een substantiële vertraging in de totstandkoming van beleid. Als gevolg hiervan blijft ook lang onduidelijkheid bestaan over de uitplaatsing van de taakorganisaties. Zelfs de visie die wordt neergelegd in de nota De derde eeuw spoor (1999) is niet uitontwikkeld, met name ten aanzien van de bijbehorende institutionele inrichting van de spoorsector en meer in het bijzonder ten aanzien van de juridische vormgeving van de taakorganisaties. Praktische ervaringen met de samenwerkingsrelatie tussen de taakorganisaties spelen een belangrijke rol bij het besluit van de minister (en de NS) om de taakorganisaties volledig uit te plaatsen.
De zeer pragmatische overwegingen die ten opzichte van de taakorganisaties een belangrijke rol spelen contrasteren met het expliciete voornemen van de minister om – op termijn – naar een beursgang van de NS en privatisering te streven. Met name als bedacht wordt dat dit privatiseringsperspectief al in de periode 1993–1995 post heeft gevat in de ambtelijke en politieke top van het ministerie van Verkeer en Waterstaat. Europese wet- en regelgeving speelt eveneens een belangrijke rol in de overwegingen van de minister om concurrentie te introduceren en de taakorganisaties uit te plaatsen.508
Rond het voornemen tot de oprichting van de taakorganisaties ontwikkelt zich gedurende de overgangsperiode 1995–2000 in de beleidsnota’s gaandeweg het idee dat sprake dient te zijn van één uitvoeringsorganisatie met een ZBO-status. Concrete ervaringen in de spoorsector als gevolg van ontvlechting en het vooruitzicht van marktwerking (experimenten; een toenemende spanning in de relatie taakorganisaties-NS) en een zeer kritisch rapport van de Rekenkamer ten aanzien van de aansturing gedurende de overgangssituatie voeden deze ontwikkeling.
Vanaf 2000 vormen de ontwikkelingen op en rond het spoor aanleiding om in hoog tempo deze voornemens opnieuw te wijzigen. De wetsvoorstellen worden tot vier keer toe gewijzigd. De oorzaak voor de wijzigingen is te vinden op het spoor. Gedurende de jaren 2000 en 2001 is sprake van een sterke daling in de prestaties op het spoor in termen van dienstverlening, verstoorde verhoudingen tussen de belangrijkste spelers op en rond het spoor, en is sprake van een arbeidsconflict binnen de NS. Als gevolg hiervan besluit de minister tot een radicale beleidswijziging en wordt «rust en stabiliteit» het centrale devies.509
De herbezinningsbrief (2001) vormt een fundamentele wijziging in het beleid; de Raad van State spreekt van «een ommekeer van uitgangspunt». De consequenties voor de inrichting van de taakorganisaties zijn ingrijpend. De Kamer oordeelt echter dat de onderbouwing en de plotselinge keuze van de minister voor een private spoorbeheerder onvoldoende en overwegend pragmatisch is.429 Met name praktische bezwaren (vanuit de sector) en ervaringen in andere sectoren worden door de minister aangedragen om de Kamer te overtuigen van het feit dat een ZBO-status van de spoorbeheerorganisatie ongewenst is.
Net als gedurende het besluitvormingstraject tot verzelfstandiging van de NS vormen Europese regelgeving en beleidsintenties opnieuw belangrijke aspecten in de argumentatie over de vormgeving van de relatie tussen overheid en spoorweg(beheer)organisatie(s).
Tot slot kan geconstateerd worden dat de Eerste Kamer aan het eind van het wetgevingsproces zeer wezenlijke kritiek levert op de motieven en de onderliggende argumentatie van de minister ten aanzien van enkele kernelementen in de wetsvoorstellen. De motie die unaniem door de Eerste Kamer wordt aangenomen, heeft potentieel verreikende implicaties (zie paragraaf 3.6).
Ten aanzien van het principebesluit tot verzelfstandiging valt op dat nadat in september 1993 door de Kamer wordt ingestemd met de verzelfstandiging er sprake is van een toenemende frustratie in de Tweede Kamer ten aanzien van de mate waarin nog invloed kan worden uitgeoefend op de condities waaronder tot verzelfstandiging wordt overgegaan.
Sturing en verantwoording tijdens onderhandelingen met de NS
Na instemming van de Kamer in september 1993, werken de NS en het ministerie van Verkeer en Waterstaat de voorstellen voor verzelfstandiging verder uit.510 Hierbij treedt de minister met de NS in onderhandeling over de vormgeving van de verzelfstandiging en de relatie rijksoverheid-NS. De voortgang tijdens de onderhandelingen is echter minder voortvarend dan gepland.511 Eén van de redenen hiervoor is dat de NS zich tegen de afsplitsing van de taakorganisaties verzet.512 Gedurende de onderhandelingen houdt de NS vast aan het eigendom van infrastructuur en behoud van de taakorganisaties binnen de holding.513
Bovendien loopt het dossier in het voorjaar en de zomer van 1994 vertraging op als gevolg van verkiezingen en de kabinetsformatie. Vanaf augustus 1994 treedt een nieuw kabinet onder leiding van premier Kok aan, waarin de PvdA, de VVD en D66 zitting hebben. In het regeerakkoord wordt echter niet gesproken over de NS noch over de verzelfstandigingsoperatie van de NS.514 Uiteraard verandert ook de samenstelling van de Kamer.
De nieuwe minister van Verkeer en Waterstaat – mevrouw Jorritsma-Lebbink – geeft begin 1995 optimistisch aan dat besluitvorming over de eerste fase van implementatie van het kabinetsstandpunt-Wijffels nabij is, en «voor het zomerreces het (omvangrijke) pakket aan contracten tussen de Staat en de NS aan de Tweede Kamer kan doen toekomen.»515 De minister geeft aan dat de resultaten in samenhang worden voorgelegd aan de Kamer en bereid te zijn om de Kamer (vertrouwelijk) nader van informatie te voorzien, mocht hieraan behoefte bestaan.516
Tijdens deze periode wordt de Tweede Kamer via besloten vergaderingen van de vaste Kamercommissie voor Verkeer en Waterstaat op de hoogte gehouden over de onderhandelingen met de NS en de implementatie van het kabinetsstandpunt-Wijffels.517 Desondanks blijkt uit een brief dat in de ogen van de nieuwe Kamer zorg bestaat «over de wijze waarop de Tweede Kamer daadwerkelijk betrokken kan worden bij de beoordeling van en de besluitvorming over deze complexe materie.»518 Hoe breed deze zorg wordt gedeeld in de Kamer en wat precies de oorzaak van deze zorg vormt, is onduidelijk. Uit het verloop van het besluitvormingsproces valt wel op te maken dat er onvrede is over de uitkomst van de contractbesprekingen en het uitblijven van informatie over enkele belangrijke onderdelen van de verzelfstandigingsoperatie.
Het hoofdlijnencontract Over de Wissel tussen de NS en de minister wordt op 29 juni 1995 ondertekend. Op de valreep, net voor het zomerreces, stuurt de minister de brief aan de Kamer ter toelichting op het inmiddels uitonderhandelde resultaat met de NS. In de brief vat de minister kort samen hoe de nieuwe verhouding tussen de NS en de rijksoverheid er uit komt te zien.519 Op 4 juli 1995 wordt het volledige contract door de minister aan de vaste Kamercommissie gestuurd. Omdat de Kamerleden inmiddels op reces zijn, worden de documenten nagestuurd.520 Eén van de belangrijkste aspecten in de verzelfstandiging blijkt echter in het contract te ontbreken; er is geen informatie over de zogenaamde contractsector opgenomen. De vaste Kamercommissie voor Verkeer en Waterstaat besluit tijdens een procedurevergadering op 31 augustus 1995 dan ook een extern adviesbureau in te schakelen bij de voorbereiding van de plenaire behandeling van het debat over het contractenpakket.521
De minister maakt onderwijl de (tussen)balans op: «De NS is de afgelopen jaren onomkeerbaar het pad van de verzelfstandiging opgegaan.»522 «Een stelsel van afspraken en contracten regelt de nieuwe verhoudingen. Bijna twee jaar is daarover onderhandeld. Beide partijen zijn ervan overtuigd, dat daarmee in de toekomst beter tegemoet kan worden gekomen aan de wensen van reizigers en verladers.»523
In het contract tussen de Staat en de NS is een afspraak gemaakt omtrent de wijze waarop concurrentie in de sector zal worden ingevoerd.524 Ten aanzien van de taakorganisaties wordt in het hoofdlijnencontract overeengekomen dat de taakorganisaties als «zelfstandige rechtspersonen – organisatorisch en boekhoudkundig gescheiden van de andere NS-onderdelen – maar binnen de NV NS blijven functioneren waarbij een (exclusieve) en directe opdrachtgeversrelatie met de rijksoverheid wordt vastgelegd».525 «De positie, de functie en het functioneren van Railned, NS Verkeersleiding en NS Railinfrabeheer» en de in de hoofdlijnenovereenkomst overeengekomen aansturingsrelatie wordt «niet eerder dan in 1998 en uiterlijk in 1999» uitgevoerd.526
Met de vertraging die de besluitvorming inmiddels heeft opgelopen, begint de tijd echter te dringen en de minister maant de Tweede Kamer tot spoed met betrekking tot goedkeuring van de gemaakte afspraken, aangezien er specifieke termijnen zijn opgenomen in het overgangscontract.527
Onderzoek Tweede Kamer hoofdlijnencontract
Het onderzoeksrapport dat in opdracht van de Tweede Kamer is opgesteld, wordt begin november 1995 aan de Kamer gepresenteerd. In het onderzoeksrapport wordt ingegaan op de splitsing tussen beheer en exploitatie528 en op overwegingen die ten grondslag liggen aan het besluit om de railinfrastructuur van de NS niet aan de rijksoverheid over te dragen.529 Het rapport concludeert dat de overeenkomst op hoofdlijnen een «correcte en evenwichtige uitwerking van het kabinetsstandpunt inzake de gewenste relatie tussen rijksoverheid en NS» is en een potentiële win-win-situatie voor zowel de rijksoverheid als de NS creëert «die zonder ontvlechting en verzelfstandiging naar alle waarschijnlijkheid niet optreedt.»530 «De rijksoverheid heeft dus op basis van het contract de sleutel in handen voor de voorwaarden waaronder en het tempo waarin concurrentie kan optreden.»531 Overigens wijst het rapport erop dat in de overeenkomst «flankerend beleid slechts als overweging in de Considerans is opgenomen. Gezien het belang dat RO [rijksoverheid; red.] zelf aan mobiliteitsbevordering hecht, was het denkbaar geweest dat het flankerend beleid meer verplichtend en concreter in de Overeenkomst was opgenomen.»532
Tijdens het Kameronderzoek presenteert de minister het vervolgtraject van de verzelfstandiging van de NS, met name van de voorgestelde systematiek waarmee wordt overgaan tot identificatie van de zogenaamde onrendabele lijnen – de zogenoemde contractsector.533 Via deze lijnen wordt door de rijksoverheid inhoud gegeven aan de borging van een maatschappelijk gewenst minimumvoorzieningenniveau voor het spoorvervoer. De minister geeft aan op welke wijze zij de Kamer denkt te betrekken bij deze besluitvorming en verzoekt de Kamer «bij het debat in december mijn overwegingen inzake de verdere uitwerking van de contractsector te betrekken».534 Een week later herbevestigt de minister haar verwachtingen rondom de verzelfstandigingsoperatie, waarbij zij bovendien de marktwerkingsvorm benoemt: concurrentie op het spoor.535 Overigens nuanceert de minister de verwachtingen dat NS Reizigers op het hoofdrailnet op korte termijn concurrentie zou mogen verwachten; op de regionale OV-markten wordt wel degelijk concurrentie voor de NS voorzien.536
In de Tweede Kamer blijven de financiële aspecten van de verzelfstandiging, met name daar waar het gaat over de wijze waarop de NS omgaat met de onrendabele lijnen (contractsector) de gemoederen bezighouden. Het adviesbureau IME is er namelijk niet in geslaagd de benodigde financiële informatie van de NS voor het rekenmodel van de (on)rendabele lijnen te verkrijgen. De Kamer roept de minister op geen besluiten over het gesloten hoofdlijnenakkoord of de contractsector te nemen vóór de parlementaire behandeling.537 De minister verzekert de Kamer dat zij bij besluitvorming over onrendabele lijnen zal worden geconsulteerd.538 Tegelijkertijd maant de minister de Tweede Kamer tot spoed inzake het oordeel omtrent het met de NS gesloten contract op hoofdlijnen. Er dient helderheid te komen voor de organisatie en haar werknemers.
Opmerkelijk is dat de minister in antwoord op Kamervragen een ander doel van verzelfstandiging benoemt. Daar waar de vorige minister in 1993 nadrukkelijk sprak van een dubbeldoelstelling en ook de relatieve verhouding daarbij weergaf,539 spreekt de minister inmiddels over één doel: «Het hoofddoel van de verzelfstandigingsoperatie is grotere klantgerichtheid.»540 Daarmee verdwijnt dus het financiële argument uit de doelstelling van de verzelfstandiging en de inrichting van de taakorganisaties.
Onvrede in de Kamer over het informatieproces
Uit de aard en hoeveelheid vragen die de Kamer stelt ter voorbereiding op het notaoverleg van 11 december 1995 blijkt dat er sprake is van onvrede bij de Kamer.541 Deze onvrede wordt niet weggenomen, maar eerder aangewakkerd in de aanloop naar de plenaire behandeling van de overeenkomst.
Hoewel de minister aangeeft dat de contracten zijn overeengekomen onder voorbehoud van goedkeuring door de Tweede Kamer, wijst de minister er ook op dat het onthouden van goedkeuring significante financiële en organisatorische gevolgen heeft.542 In antwoord op schriftelijke Kamervragen laat de minister er geen twijfel over bestaan dat het voorliggende contract op hoofdlijnen wat haar betreft integraal dient te worden bezien en zo spoedig mogelijk in werking dient te treden en dat het terugdraaien van de ingezette verzelfstandiging een gepasseerd station is.543
Tijdens het debat gaat de minister nader in op de twee doelstellingen die ten grondslag liggen aan de verzelfstandiging: «het geven van maximale flexibiliteit aan bedrijven om hun markt goed te bedienen, en aan de overheid om haar verantwoordelijkheid voor het verkeers- en vervoersbeleid een betere inhoud te geven», en «het bevorderen van de oriëntatie op de klanten en van de efficiëntie van het bedrijf.» De facto resulteert dit volgens de minister in «meer markt» en «anders overheid.»544 De minister geeft aan: «De ontvlechting van de Nederlandse Staat en de NS heeft ook als doel om te komen tot concurrentie op het railnet. De afspraken die met de NS zijn gemaakt, maken die concurrentie pas mogelijk. In zoverre is nu dus begonnen met het starten van concurrentiebevordering. In Europees verband wordt overigens ook gewerkt aan het wegnemen van drempels voor de internationale concurrentie. Dat richt zich meer op het wegnemen van de technische verschillen tussen de verschillende spoorwegnetten en op het vergroten van de toegang tot elkaars netten. Op beide punten liggen er voorstellen van de Commissie, waarover echter nog besluitvorming moet plaatsvinden.»545 Voor beide doelen is concurrentie dus instrumenteel. Maar de minister benadrukt nogmaals dat voor wat betreft het hoofdrailnet en de dienstverlening die door de NS wordt uitgevoerd op korte termijn geen concurrentie mag worden verwacht. En hoewel zij aangeeft groot voorstander van concurrentie te zijn en dit noodzakelijk te vinden om met name het tweede subdoel te bereiken, geeft zij aan dat de dreiging van concurrentie afdoende moet zijn om de gewenste positieve effecten te bereiken.
Tijdens de behandeling van het kabinetsstandpunt verzelfstandiging NS op 11 december 1995 wordt duidelijk dat de Kamer kritisch is over het voorliggende hoofdlijnencontract546 en over de wijze waarop invulling wordt gegeven aan de nieuwe relatie. Er bestaat Kamerbreed bij zowel regeringspartijen als oppositie onvrede over de wijze waarop de Kamer wordt geïnformeerd, met name ten aanzien van het vraagstuk rond de onrendabele lijnen.547 Bovendien ontbreken volgens de Kamerleden enkele belangrijke elementen in het contract. Parallel aan de verzelfstandiging wordt in de Kamer ook gesproken over marktwerking in het stads- en streekvervoer. De oppositie vreest dat verzelfstandiging ook een potentiële bezuiniging behelst.
De heer Poppe (SP) vraagt zich af op welke wijze de door de minister gewenste doelen efficiëntie en een kwalitatief hoogwaardig openbaar vervoer bereikt kunnen worden op de zogenaamde onrendabele lijnen: «Hoe kan de minister zonder te blozen zeggen dat de NS én rendabel moeten zijn én een nutsfunctie kunnen behouden die kwalitatief goed wordt ingevuld? Hierbij let ik op de cijfers en de tekorten. Minister Jorritsma-Lebbink: Als wij daarover contracten afsluiten, zullen de NS die functie behouden. De heer Poppe (SP): Ik wil de zekerheid dat de overheid garant staat voor de nutsfunctie. Die zie ik verdwijnen. Minister Jorritsma-Lebbink: Nee. De nutsfunctie is mijns inziens datgene wat in de contractsector wordt afgesproken, want al het overige kan op de markt gebeuren. Kan een traject via de markt niet gereden worden en vinden wij dat dit traject ondanks dit feit toch gereden moet worden, dan wensen wij dat te regelen in de contractsector. Dat is, dunkt mij, de nutsfunctie.»548
Door enkele fracties in de Kamer wordt opgemerkt dat met betrekking tot het proces rond de verzelfstandiging en het vaststellen van de onrendabele lijnen «een zeker gat tussen de politieke intenties van destijds en de inhoud van het contract van nu» zit.549 De Kamer is van mening dat het contract onvoldoende informatie bevat (over de onrendabele lijnen). «Het contract is geen nauwgezette uitwerking van «Wijffels» en dat is het probleem waar wij allemaal mee zitten,» aldus mevrouw Van ’t Riet (D66).550
Vooral het feit dat van de Kamer gevraagd wordt om in te stemmen met het hoofdlijnenakkoord zonder dat zicht bestaat op de uitkomsten rond de onrendabele lijnen en het feit dat de Kamer bovendien wordt geacht het gehele contract te beoordelen zonder dat wijzigingen of aanvullingen mogelijk zijn, zet veel kwaad bloed. Het «slikken of stikken»- argument alsook de waarschuwing van de minister dat aanpassingen in het contract – hoewel formeel mogelijk – in de praktijk veel geld zullen gaan kosten, wordt door de Kamer niet geaccepteerd.551 Kamer en minister verschillen van mening over de vraag of de ontbrekende informatie rond de onrendabele lijnen nu integraal deel uit dient te maken van het besluit om over te gaan tot verzelfstandiging van de NS.552 Bij een deel van de Kamer bestaat de perceptie dat in ieder geval ten aanzien van het overgangscontract nog een zekere mate van zeggenschap bestaat ten aanzien van tarieven en dienstregeling.553 De minister geeft aan dat met het uit handen geven van de bevoegdheden door de Kamer en de feitelijke verzelfstandiging, het beslist niet zo is dat na de overgangssituatie in 2000 alle instrumenten uit handen zijn geslagen.554 Door Kamerleden wordt dit perspectief echter niet gedeeld. Mevrouw Van ’t Riet (D66) stelt dat de overgangsperiode alles is «waarop wij nog enige invloed hebben. Uw vertrouwen dat de NS redelijke tarieven zullen hanteren, is bijna aandoenlijk.»555 Het besluit van de minister om afspraken met de NS over de inrichting van de relatie rijksoverheid-NS te maken voordat sprake is van een publiekrechtelijke borging wordt betreurd.556 De heer Van Gijzel (PvdA) geeft aan: «Wat zich hier wreekt, zeker op langere termijn, is dat de rijksoverheid door dit contract veel bevoegdheden uit handen geeft, zonder dat tegelijkertijd duidelijk is wat daar, naar de klant en naar het mobiliteitsbeleid toe geredeneerd, voor terugkomt.»557
Na de eerste termijn reageert de minister per brief.558 Ze geeft aan op een viertal terreinen (tarieven; voorzieningenniveau en contractensector onrendabele diensten; consumentenbescherming; en de wijze waarop de Kamer gedurende de overgangsperiode bij de uitvoering en uitwerking van het hoofdlijnenakkoord wordt betrokken) nadere voorstellen te willen doen.559 Ten aanzien van de tarieven en het voorzieningenniveau worden door de minister nadere afspraken met de NS in het vooruitzicht gesteld waarmee aan de kritiek in de Kamer wordt voldaan. Voor de twee overige punten doet de minister toezeggingen aan de Kamer. Consumentenbescherming, inclusief de tarieven, zullen worden verankerd in wet- of regelgeving. Tot slot belooft de minister de Kamer periodieke rapportages over de prestaties van de NS te sturen om toe te kunnen zien op naleving van de overeenkomst.
Door op deze wijze de kritiek vanuit de Kamer te pareren, worden deze publieke waarden tenminste voor de duur van de geplande overgangsperiode van vier jaar verankerd. Daarna is sprake van een volledig verzelfstandigde situatie. Dit stemt een groot deel van de Kamer aanzienlijk milder.560 Desalniettemin blijft de Kamer kritisch ten opzichte van een aantal elementen in het voorstel, waaronder de positie van de taakorganisaties (zie hiervoor). De VVD en het CDA geven aan op termijn te streven naar volledige uitplaatsing van de taakorganisaties.561 Door de Kamer wordt geanticipeerd op de introductie van marktwerking op het spoor. Het voorstel van de minister – waarbij de NS eigenaar blijft van het spoor – is dus alleen een tussenoplossing in de ogen van de Kamer.
Naar aanleiding van het notaoverleg worden negen moties ingediend, waarvan er twee worden aangehouden.562 Eén motie betreft een oproep aan de regering om «tijdig een samenhangend pakket wetsvoorstellen gericht op de definitieve vormgeving van de verzelfstandiging van de Nederlandse Spoorwegen aan de Kamer voor te leggen».563 Deze motie wordt Kamerbreed geaccepteerd.564
Een tweede motie verzoekt de regering om voldoende waarborgen voor een maatschappelijk aanvaardbaar minimum voorzieningenniveau op een meer structurele wijze te regelen.565 De motie wordt alleen gesteund door de oppositiepartijen CDA, de groep-Nijpels, het AOV, de RPF, de SGP, GroenLinks en de SP en dus verworpen.
Een derde motie gaat uit van het gegeven dat concurrentie zal worden geïntroduceerd en «ook toekomstige concurrenten gebruik moeten kunnen maken van de diensten van de taaksector, waardoor een onafhankelijke positie van de taaksector noodzakelijk is». De motie «verzoekt de regering de mogelijkheden om de taaksector buiten de NS te plaatsen te onderzoeken, zodat na afloop van het overgangscontract de taaksector een meer onafhankelijke positie kan krijgen.»348 Deze motie-Remkes, hoewel vrijblijvend in zijn formulering, sorteert duidelijk voor op de introductie van concurrentie in de spoorsector. De motie wordt aangenomen en wordt gesteund door de VVD, het CDA, D66, de RPF, de SGP, het GPV, de groep-Nijpels, het AOV, de CD en GroenLinks.564 De SP, de PvdA en de Unie 55+ stemmen tegen.
Een vierde motie gaat over de infrastructuur en sluit nauw aan op de vorige motie. Net als de situatie ten aanzien van de taakorganisaties bestaat in de Kamer ook onvrede over de wijze waarop de infrastructuur gedurende de overgangsperiode in handen van de NS blijft. De minister moet toegeven dat het eigendom van het spoor in het advies van de commissie-Wijffels «niet heel »outspoken» of uitgebreid aan de orde» is geweest.566 De motie «verzoekt de regering ernaar te streven dat na afloop van het overgangscontract de eigendom van de infrastructuur bij de overheid geplaatst kan worden»349 en wordt met algemene stemmen aangenomen.
Voor de heer Poppe vormt het debat aanleiding om de balans op te maken: «Als ik dit debat goed volg en zie waar het om gaat, denk ik dat wij bezig zijn met het openbaar vervoer en de nutsfunctie ervan te grabbel te gooien, waarna de reiziger echt vogelvrij wordt verklaard. De NS kan de overheid aan alle kanten klem zetten als zij de nutsfunctie overeind wil houden. Zowel de overheid als het parlement zit na 2000 in een zwart gat te staren. Wij zijn absoluut tegen deze ontwikkeling en wij zijn dus absoluut tegen het overgangscontract.»567
Een laatste motie, ingediend door de heer Poppe (SP) roept de regering op om, «gegeven de onzekerheid na afloop van het overgangscontract (...), de Kamer te garanderen dat na 2000 het spoorwegnet zowel als de dienstregeling als één geheel in stand zullen blijven en de algemeen maatschappelijke functie van de NS niet zal worden aangetast.»568 De motie wordt alleen gesteund door de SP en GroenLinks. De overige fracties stemmen tegen.564
Uiteindelijk wordt ondanks de opstelling van de SP en de diverse moties door de meerderheid van de Kamer ingestemd met het hoofdlijnenakkoord.569 Daarmee is de daadwerkelijke verzelfstandiging van de NS een feit.
Conclusie borging, sturing en verantwoording (1993–1995)
Het dominante denken gedurende het hoofdlijnendebat bij de Kamerfracties die instemmen is dat verzelfstandiging leidt tot «efficiency, heldere scheiding van verantwoordelijkheden en risico’s.»570 De Tweede Kamer heeft in deze periode echter ook aandacht geschonken aan de borging van twee publieke belangen.
Ten eerste consumentenbescherming.571 In september 1993 wordt in het hoofdlijnendebat door de minister een visie op inrichting van consumentenbescherming op de spoormarkt toegezegd en uitgewerkt.572 De aandacht in de Kamer voor consumentenbescherming gaat echter verder. Door vrijwel alle partijen wordt aangegeven dat een gewijzigde relatie rijksoverheid-NS belangrijk is en goede perspectieven biedt voor de klant: de reiziger. Gedurende het verdere verzelfstandigingstraject573 blijft het parlement een belangrijke rol als instigator, bewaker en vormgever van consumentenbescherming op het spoor spelen. Gedurende het debat over het kabinetsstandpunt wordt vrijwel uitsluitend gesproken in termen van burgers als klant van de spoorwegen.574 De aandacht die in de Kamer gevraagd wordt voor consumentenbescherming kan vanuit dit perspectief opgevat worden als een concrete invulling van een publiek belang; het belang van de burger. Door Kamerleden wordt bijvoorbeeld de tariefvrijheid van de NS vanuit dit perspectief in de verzelfstandigingsplannen kritisch benaderd,575 alsmede het belang van een geïntegreerd OV-netwerk. Op deze wijze wordt door de Kamerleden invulling gegeven aan consumentenbescherming.
Ten tweede wordt vanaf het begin van het verzelfstandigingsproces expliciet aandacht gevraagd voor de juridische aspecten rondom de verzelfstandiging.576 Kamerleden geven expliciet aan dat een publiekrechtelijk kader gewenst is om de relatie tussen de NS en de rijksoverheid te borgen.
Ten aanzien van de borging van deze publieke belangen valt op dat gedurende de periode waarin op hoofdlijnen wordt gesproken over de verzelfstandiging van de NS de Kamer vrij passief is. De kaders die door de minister in haar verzelfstandigingsvoorstel worden gesteld ten aanzien van de rol van de Tweede Kamer worden door de Kamer overgenomen. De Tweede Kamer gaat binnen deze kaders wel actief op zoek naar informatie, getuige bijvoorbeeld het onderzoek dat zij laat verrichten. Met uitzondering van oppositiepartij GroenLinks die in september 1993 als enige politieke partij in de Tweede Kamer principiële bezwaren heeft tegen de verzelfstandiging, conformeert de Kamer zich aan het basisidee achter de verzelfstandiging en een terugtredende overheid.
Hoewel enkele partijen (D66 en GroenLinks) zorgen uiten over de mate waarin het parlement nog sturing en controle kan uitoefenen op het personenvervoer per spoor nadat verzelfstandiging een feit is, vormt dit gegeven voor de meerderheid van de Kamerfracties geen aanleiding om niet met de verzelfstandiging van de NS in te stemmen. Zeker in vergelijking met bestudeerde periodes na 1995 valt op dat sturing en sturingsmogelijkheden in de parlementaire beraadslagingen begin jaren ’90 niet centraal staan in de overwegingen van de Tweede Kamer. Met uitzondering van oppositiepartijen als GroenLinks (en na de Kamerverkiezingen in 1994 ook de SP) wordt verzelfstandiging als een interessante optie beschouwd.
Deze houding verandert na het hoofdlijnendebat. Nadat door de Kamer in september 1993 is ingestemd met verzelfstandiging, ontstaat gedurende de periode 1993–1995 groeiende onvrede in de Kamer ten aanzien van de wijze waarop door de Kamer nog sturing en invulling gegeven kan worden aan het verzelfstandigingsproces en de condities op het spoor. De nieuwe Kamer is kritischer over de wijze waarop onder leiding van de nieuwe minister van Verkeer en Waterstaat met de NS wordt onderhandeld over de vorm waarin de verzelfstandiging en de relatie overheid-NS zijn beslag krijgt. Vanaf 1994, als sprake is van toenemende kritiek, tracht de Tweede Kamer meer invloed uit te oefenen op de wijze waarop tijdens het verzelfstandigingsproces wordt omgegaan met publieke belangen. Wat precies aanleiding voor deze omslag is, valt door analyse van de parlementaire beraadslagingen niet exact te achterhalen. Het parlement is gedurende de onderhandelingen met de NS een aantal keer vertrouwelijk geïnformeerd tijdens besloten zittingen. In enkele passages valt echter een toenemende bezorgdheid waar te nemen. Met name gebrek aan inzicht in de zogenaamde contractsector kan een belangrijke aanleiding zijn geweest voor deze onvrede. Doordat met de NS pas later een akkoord kan worden bereikt over hoe om te gaan met de zogenaamde onrendabele lijnen, de contractsector, moet de Tweede Kamer een besluit nemen over de Hoofdlijnenovereenkomst terwijl zij nog in onzekerheid verkeert over dit belangrijke onderdeel van de verzelfstandigingsoperatie.
De onderhandelingen tussen de Staat en de NS culmineren in het overgangscontract dat in juni 1995 wordt ondertekend maar pas in het najaar van 1995 door de Tweede Kamer wordt behandeld. Eind 1995 is de Tweede Kamer niet te spreken over de procesgang. Een belangrijk element van onvrede betreft de wijze waarop de Tweede Kamer wordt geïnformeerd en waarin de Kamer nog ruimte rest om invloed uit te kunnen oefenen op de Hoofdlijnenovereenkomst. De Kamer voelt zich slecht geïnformeerd; zij ontvangt de contracten pas na aanvang van het zomerreces en geeft aan slecht te kunnen besluiten over een pakket waarbij zeer belangrijke informatie ontbreekt. Als gevolg hiervan ontstaat groeiende onrust en aandacht voor publieke belangen.577 De focus is hierbij hoofdzakelijk gericht op de contractsector.
Tijdens het debat over het hoofdlijnencontract, eind december 1995, waarin de relatie tussen de NS en de rijksoverheid voor de overgangsperiode 1995–2000 wordt vastgelegd treedt de Kamer actief op. Door de Tweede Kamerfracties worden in 1995 naar aanleiding van het hoofdlijnenakkoord meer en indringender vragen gesteld over het te volgen verzelfstandigingstraject, de mate waarin het parlement invloed heeft op de besluitvorming en de uitwerking van het principebesluit. Veel aandacht gaat uit naar de mate van sturing die de Kamer nog rest, met name gedurende de overgangsperiode. Met het principe van verzelfstandiging is dan al ingestemd. De consequentie is dat het besef doordringt dat met het eerdere besluit ook de sturings- en controlemechanismen uit handen zijn gegeven.
In ieder geval bij een deel van de Kamer bestaat eind 1995 nog de perceptie dat in ieder geval ten aanzien van het overgangscontract nog een zekere mate van zeggenschap bestaat ten aanzien van tarieven en dienstregeling. Tijdens het debat in december 1995 wordt door de Kamer opgemerkt dat een verschil bestaat tussen hetgeen is gewisseld tijdens het verzelfstandigingsdebat en de uitwerking door de minister: «een zeker gat tussen de politieke intenties van destijds en de inhoud van het contract van nu.»578 «Het contract is geen nauwgezette uitwerking van «Wijffels» en dat is het probleem waar wij allemaal mee zitten.»579 De minister geeft aan dat met het uit handen geven van de bevoegdheden door de Kamer en de feitelijke verzelfstandiging, het beslist niet zo is dat na 2000 alle instrumenten uit handen zijn geslagen.580 Maar de Kamer is hierover een stuk sceptischer met name met betrekking tot tariefvrijheid.581
Bovendien is de Kamer kritisch als haar gevraagd wordt in te stemmen met een totaalpakket aan afspraken waarbij wordt meegedeeld dat aanpassen dan wel wegstemmen meer geld kost. Dit slikken of stikken- argument wordt door de Kamer niet geaccepteerd. Door de Tweede Kamer worden additionele voorwaarden gesteld bij de hoofdlijnenovereenkomst met de NS (een maximale bandbreedte voor tarieven; het voorzieningenniveau; de contractensector onrendabele diensten; en consumentenbescherming). Met de aandacht voor deze onderwerpen wordt door de Kamer invulling gegeven aan de belangen van de burger als reiziger. Deze publieke belangen worden via een aparte brief582 en additionele clausules toegevoegd aan de bestaande overeenkomst met de NS en als zodanig geborgd gedurende de overgangsperiode.
Met uitzondering van oppositiepartijen SP en GroenLinks bestaat bij weinig partijen de behoefte om na het overgangscontract een blijvende bemoeienis te hebben met de belangen die gedurende de overgangsperiode worden onderscheiden.
Tot slot keurt de Kamer het besluit van de minister af om afspraken met de NS over de inrichting van de relatie rijksoverheid-NS te maken voordat sprake is van een publiekrechtelijke borging.556 Vanaf 1993 wordt door Kamerlid Van den Berg (SGP) structureel – tijdens vrijwel elk debat – aandacht gevraagd voor de juridische borging van het verzelfstandigingsproces. Dit ongenoegen wordt breed gedragen en wordt steeds groter.583 Tijdens de behandeling van het hoofdlijnencontract wordt Kamerbreed ingestemd met de motie waarin de regering wordt opgeroepen de verzelfstandiging in te bedden in wetgeving.584
Ondanks de aandacht voor deze publieke belangen, kan geconcludeerd worden dat de Kamer relatief beperkte invulling geeft aan de borging van publieke belangen. Ten eerste gaat de Kamer akkoord met volledige verzelfstandiging na afloop van het overgangscontract. Dat betekent dat alleen gedurende de overgangsperiode 1995–1999 de Kamer invloed heeft op een aantal publieke belangen. Ten tweede krijgt slechts een beperkt aantal belangen aandacht, namelijk die belangen die in de rolverdeling door de commissie-Wijffels zijn geschetst, en enkele concrete aspecten die direct raken aan de belangen van reizigers. Bescherming van publieke belangen door een andere rolopvatting, bijvoorbeeld door het voeren van een bredere regierol over verschillende dossiers in het kader van marktwerking van het openbaar vervoer als geheel of bijvoorbeeld door specifieke aandacht voor het (ongehinderd) functioneren van vitale infrastructuren, blijkt niet uit de parlementaire beraadslagingen die hier zijn geanalyseerd.
Door de Tweede Kamer wordt vanaf het begin van het verzelfstandigingsproces sterke invloed uitgeoefend op het vraagstuk van de vormgeving van de taakorganisaties. De cruciale rol van de taakorganisaties binnen de organisatie van het spoor blijft lang onduidelijk. Mede als gevolg van de ontwikkelingen op het spoor groeit het relatieve belang van dit vraagstuk en wordt de rol van de Tweede Kamer bij de besluitvorming rond dit inrichtingsvraagstuk steeds actiever.
Sturing en verantwoording tijdens de oprichting van ProRail
Al tijdens de behandeling van het contract Over de Wissel in december 1995 wordt door partijen ingegaan op de opsplitsing van de organisatie en de eigendomsrelatie met het spoor.585 Door de Kamer wordt daarbij nadrukkelijk geanticipeerd op de introductie van marktwerking op het spoor. In de ogen van de Kamer wordt met de voorgestelde tussenoplossing een vreemde situatie geschapen, aangezien de Kamer het eens is met de fundamentele verantwoordelijkheidsverdeling die door de commissie-Wijffels is voorgesteld; de overheid is verantwoordelijk voor het spoor. Via de motie-Remkes wordt door de Kamer op basis van een abstracte argumentatie voorgesorteerd op een knip tussen beheer en exploitatie zonder dat hiermee onmiddellijk tot een wijziging in de aansturingsrelatie wordt opgeroepen.586 Op eenzelfde wijze wordt via de motie-Van ‘t Riet opgeroepen om na afloop van het overgangscontract de eigendom van de infrastructuur bij de overheid te plaatsen.349
Vanaf 1995 wordt invulling gegeven aan de verzelfstandiging van de NS en worden de taakorganisaties als aparte eenheden binnen de NS onderscheiden. Het duurt echter geruime tijd voordat aandacht wordt besteed aan de precieze invulling van de wijze waarop de organisaties zullen worden ingebed. Pas in de nota De derde eeuw spoor (1999) geeft de minister aan dat concurrentie in de spoorsector om het spoor zal plaatsvinden en welk marktordeningsregime na 2000 gehanteerd zal worden. Europese wet- en regelgeving en praktische ervaringen spelen een belangrijke rol in de overwegingen van de minister om concurrentie op deze wijze te introduceren en de taakorganisaties uit te plaatsen.587
Niet alle partijen zijn echter overtuigd van de splitsing en van de achterliggende argumentatie van de minister. Bovendien ontstaat in toenemende mate onvrede over het uitblijven van het publiekrechtelijke kader waarin de uitplaatsing gerealiseerd zal worden. Tijdens de behandeling van de nota De derde eeuw spoor wordt door de SGP gereflecteerd op de complexe verwevenheid van publieke en private verantwoordelijkheden die voortvloeit uit dit kabinetsvoornemen.356 Door de oppositie wordt bovendien kritisch gereageerd op het feit dat het kabinetsbeleid vooruit lijkt te lopen op het Europese liberaliseringsbeleid op het spoor. Zo stelt de heer Van Gijzel (PvdA): «Tegelijkertijd zegt de EU dat zij het ingezette beleid zal continueren, waarbij verdergaande openstelling van nationale spoorweginfrastructuur voor personenvervoer op korte termijn niet is voorzien. Dit betekent dat men vanuit Europees kader problemen verwacht met een eindbeeld, dat later in de nota geformuleerd staat. Overigens plaatsen wij vraagtekens bij dit eindbeeld.»588 Op basis van de rapportage van de Algemene Rekenkamer wordt geconcludeerd dat sturing ten aanzien van de taakorganisaties door het ministerie te wensen overlaat. Bovendien concludeert de Rekenkamer dat de hoofdlijnenovereenkomst «niet concreet» was en dat «de uitwerking van een aantal belangrijke onderwerpen [waaronder wetgeving; red.] vooruitgeschoven [werd] naar de overgangsfase die zou lopen tot 2000.»589
Gegeven deze ontwikkelingen wordt duidelijk dat de Tweede Kamer in toenemende mate geconfronteerd wordt met een sturingsvraagstuk rondom de voorgenomen uitplaatsing. Op grond van de kritiek van de Rekenkamer geeft de minister aan: «dat zij met de kennis van vandaag kan concluderen dat de rol en positie van het ministerie [ten opzichte van de taakorganisaties; red.] duidelijker aangegeven hadden kunnen worden in de Overeenkomst uit 1995».590
Hoewel in december 1995 een motie met Kamerbrede steun is aangenomen waarin wordt opgeroepen tot realisatie van een publiekrechtelijk wettelijk kader, wordt door de Kamer weinig gevolg gegeven aan deze eerder aangegeven wens. Vooral Van den Berg (SGP) refereert tijdens debatten met de minister regelmatig aan deze motie. Toch vormt het uitblijven van wetsvoorstellen lange tijd geen aanleiding voor de Tweede Kamer om tot actie over te gaan. In september 1999 worden naar aanleiding van de voornemens van de minister door de oppositie twee moties opgesteld waarin de Kamer de minister oproept eerst te komen met een publiekrechtelijk kader en de uitplaatsing van de taakorganisaties op te schorten totdat sprake is van een deugdelijk wettelijk kader.368 In de ingediende moties wordt expliciet verwezen naar de eerdere motie waarin de minister wordt opgeroepen zo spoedig mogelijk een publiekrechtelijk kader in de vorm van een «samenhangend pakket wetsvoorstellen gericht op de definitieve vormgeving van de verzelfstandiging van de Nederlandse Spoorwegen aan de Kamer voor te leggen.»369 Hoewel de moties worden opgesteld, worden ze niet ingediend in afwachting van een toezegging van de minister dat meer informatie over de uitplaatsing van de taakorganisaties zal worden verschaft.591 Daar waar de Kamer in eerste instantie op basis van abstracte verwachtingen een keuze maakt inzake de positie van de taakorganisaties, wordt in de loop van de jaren steeds duidelijker dat de inrichting en inbedding van de taakorganisaties een belangrijk sturingsvraagstuk betreft waarover meer van gedachten dient te worden gewisseld.
Dalende operationele prestaties op het spoor
Deze notie wordt steeds belangrijker als eind jaren negentig en begin 2000 de prestaties op het spoor (snel) dalen en de maatschappelijke onrust rondom de gebeurtenissen op het spoor toeneemt. Zo signaleert de minister in de nota De derde eeuw spoor dat «de basiskwaliteit van het spoorvervoer (punctualiteit)» bijvoorbeeld is afgenomen.592
Ten aanzien van de NS wordt in deze periode duidelijk dat, hoewel via contracten gedetailleerde outputindicatoren zoals punctualiteit zijn overeengekomen, deze in de praktijk niet blijken te worden gehaald. De geformuleerde prestaties die zijn overeengekomen met de NS blijken gegeven de ontwikkelingen op het spoor (een tekort aan rijtuigen, een arbeidsconflict, het ontvlechtingsproces van de taakorganisaties uit de NS) te ambitieus. Gedurende de crisis wordt ook steeds duidelijker dat de werkelijkheid van het aansturen van de spoorwegsector vele malen complexer is dan het sturen op aspecten als zitplaatscapaciteit en punctualiteit. De minister moet de Kamer dan ook melden dat de NS aangeeft dat de indicatoren en meetsystemen die het geboden kwaliteitsniveau zouden moeten weergeven in de praktijk eigenlijk niet voorhanden zijn. Kortom, de prestatie-indicatoren die zijn opgenomen in het overgangscontract en zijn opvolgers zijn niet geschikt «om een externe sturingsrelatie tussen de NS en de rijksoverheid op te baseren.»593
Als gevolg van het privaatrechtelijke karakter van de overeenkomst met de NS hebben de Tweede Kamer en de minister weinig publiekrechtelijke instrumenten om iets aan deze situatie te doen. De ervaringen en gebeurtenissen op het spoor, die uiteindelijk culmineren in het opstappen van het grootste deel van de directie van de NS en de raad van commissarissen op 1 januari 2002, focussen de aandacht van de Kamer weliswaar op de problemen bij de NS, maar leiden er ook toe dat ten aanzien van de taakorganisaties meer dan in het verleden oog is voor het (aan)sturingsvraagstuk.
In november 2000 wordt door de Tweede Kamer aangegeven dat de nadere invulling van de relatie NS-rijksoverheid niet kan plaatsvinden zonder publiekrechtelijk kader. Door de Kamer wordt actief ingegrepen in de ontwikkeling van de aansturingsrelatie tussen de rijksoverheid en de taakorganisaties als de minister voorstelt om over te gaan tot de overname van de aandelen in de taakorganisaties. De Kamer is unaniem van mening dat de processen in de spoorsector onzorgvuldig en te snel verlopen. Daarmee wordt expliciet terugverwezen naar de motie-Van den Berg.563 De minister accepteert de wens van de Kamer zonder dat de Kamer een motie hoeft in te dienen.
De inrichting van de taakorganisaties is ingebed in de Spoorweg- en Concessiewet. Gedurende de behandeling van de Spoorwegwet focust het parlementaire debat zich op de wijze waarop publieke sturing op de spoor kan worden gegenereerd. Daarbij speelt de Kamer een zeer actieve en sturende rol (zie ook paragraaf 3.6). Via amendementen wordt bijvoorbeeld het complex aan sturingsrelaties uitgebreid en verankerd.594 Gedurende de periode waarop de problemen op het spoor het grootst zijn en sprake is van een duidelijk neergaande trend in termen van prestaties vormt sturing het kernbegrip in de wijze waarop de Kamer invulling geeft aan haar rol als hoeder van publieke belangen.
Voldoende grip op het spoor?
Als het arbeidsconflict binnen de NS verscherpt en de prestaties in 2001 nog verder terugvallen neemt de roep om actieve sturing door de Kamer toe. De Tweede Kamer is eind mei 2001 van oordeel dat sprake is van een ongewenste situatie in de spoorsector en vraagt zich af op welke wijze de overheid sturing kan uitoefenen, aangezien de waarborgen die via contracten zijn ingebouwd niet blijken te voldoen.595
GroenLinks, de PvdA en D66 concluderen dat de politiek tenminste medeverantwoordelijk is voor de ontwikkelingen op het spoor, en nu vooral worstelt met haar rol. Volgens de PvdA is sprake van een ernstige situatie en dient wet- en regelgeving te worden aangepast en de behandeling van de Spoorwegwet te worden uitgesteld.596 Mevrouw Halsema (GroenLinks) «betreurt de onmacht van de overheid om in te grijpen in de problematiek van de NS. Deze onmacht is het gevolg van de verzelfstandiging van het bedrijf. Het politieke debat over de problematiek op het spoor moet gaan over de relatie tussen Staat en NS. (...) Het huidige Overgangscontract biedt de overheid onvoldoende middelen om de reizigersbelangen op het spoor veilig te stellen: buitenlandse investeringen door de NS kunnen niet gecontroleerd worden, boetes zijn niet effectief en voor een tekort aan zitplaatsen geldt geen sanctie.»597
Over de te nemen stappen verschillen de partijen van mening. Volgens D66 dient de politiek juist afstand te houden tot de NS.598 Volgens de heer Leers (CDA) zal de minister daarentegen juist «een mogelijkheid moeten zoeken om haar greep op de NS te verstevigen, bij voorkeur via een statutaire wijziging die de publieke functie van de NS op de voorgrond plaatst. De verzelfstandiging van de NS hoeft niet ongedaan gemaakt te worden, maar er moeten wel meer sturingsmogelijkheden komen om service, kwaliteit en beschikbaarheid van het openbaar vervoer te waarborgen. Het is uiterst belangrijk dat de Kamer goed geïnformeerd wordt over de mogelijkheden om het maatschappelijk belang bij de NS veilig te stellen.»597 Ook de heer Stellingwerf dringt aan op «een notitie, waarin alle mogelijkheden om de overheid meer invloed te geven op de NS in beeld worden gebracht.»599
De minister geeft aan dat de «de complexe problemen van de laatste tijd» de minister doen omzien naar een mogelijkheid om te komen tot «een definitieve regeling van de relatie tussen de Staat en de NS (...). Uitgangspunt voor de nieuwe structuur moet zijn dat de overheid niet langer in volledige onmacht verkeert als er problemen op het spoor ontstaan, terwijl de directie volledig verantwoordelijk blijft voor het bestuur.»600
Het resultaat van deze herbezinningsperiode is een voorstel van de minister waarin de relatie rijksoverheid-NS op een andere wijze wordt ingevuld. Consequentie van deze beleidswijziging is wel dat de behandeling van de wijziging van de Spoorwegwet en de uitplaatsing van de taakorganisaties wordt uitgesteld tot het najaar van 2001.
Toch lijkt Kamerbreed de opvatting te bestaan dat ondanks de crisis op het spoor de ingezette splitsing tussen exploitatie en beheer gehandhaafd dient te blijven. Tijdens de begrotingsbehandeling van Verkeer en Waterstaat wordt een motie ingediend door Kamerlid Van der Steenhoven (GroenLinks) waarin het kabinet wordt verzocht ondanks bestaande onduidelijkheden die bij de splitsing van de NS zijn opgetreden «bij de beschouwing van een betere verhouding tussen de overheid en de NS uit te blijven gaan van de uitplaatsing van de taakorganisaties uit het NS-concern en een spoedige behandeling van het wettelijk kader voor uitplaatsing mogelijk te maken.»601 Daarbij dient «de conclusie van de Algemene Rekenkamer in Toezicht op het spoor voor uitplaatsing van de taakorganisaties uit het NS-concern» als uitgangspunt. De motie wordt aangenomen. Vóór stemmen de fracties van GroenLinks, het CDA, de ChristenUnie, de SGP en de VVD.602
De focus is primair gericht op de NS en de mogelijkheid om het vacuüm, dat sinds 1995 bestaat te vervullen. Met ieder nieuw incident neemt de frustratie van de Kamer echter toe. Eind december 2001 blijkt de NS al eerder naar beneden bijgestelde en heronderhandelde minimale prestatie-eisen in termen van punctualiteit niet te kunnen behalen. In de Kamer verwoordt mevrouw Halsema (GroenLinks) het Kamerbrede gevoel van frustratie dat geen sturing lijkt te kunnen worden gegeven: «Het overgangscontract is blijkbaar niet meer dan een vodje papier, waar beide contractpartners hun schouders over ophalen. Het verbeterplan wordt door niemand meer serieus genomen.»603 Oppositiepartijen PvdA, SP en SGP, maar ook regeringspartijen zijn eensgezind van mening dat wetgeving noodzakelijk is en roepen op zo snel mogelijk te komen tot wetgeving.604
De minister beaamt in deze periode dat de zoektocht naar de juiste aansturingsrelatie tot de kern van de verzelfstandiging behoort: «De belangrijkste uitdaging sinds 1995 is geweest om de gescheiden rollen goed te definiëren, de overheidssturing niet langer op input, maar op output gericht te laten zijn en de relaties tussen de gescheiden functies en de overheid goed te duiden.»605 Bovendien geeft zij aan dat dit niet eenvoudig is voor een structuur-NV,606 aangezien een «aandeelhouder in een structuur-NV slechts het belang van de totale holding heeft te dienen. Het aandeelhouderschap in een structuur-NV is voor een overheid dan ook geen aantrekkelijke positie. Vandaar dat het kabinet van mening is dat moet worden bezien of het dode geld dat in het aandeelhouderschap van de overheid in de NV zit, benut kan worden voor andere interessante zaken.»607 Bovendien: «Eén ding is zeker: als je te maken hebt een monopolist, waar prikkels van buitenaf nooit ook maar een enkel butsje maken in de schil van de organisatie, komt de dynamiek niet vanzelf op gang. Ik zou willen dat het anders was, maar het is helaas niet zo.»608
Opvallend is dat in de parlementaire beraadslagingen de minister, meer nog dan de Kamer, aangeeft dat sprake is van een sturingsprobleem en een onwenselijke situatie omdat609 «in de beginperiode van het proces van verzelfstandiging van de Nederlandse Spoorwegen weinig is geregeld. De overheid, als vertegenwoordiger van de belangen van de reizigers, verkeerde daarom tot voor kort in een zeer ongunstige positie tegenover NS Reizigers, een monopolist die in staat was om het totale beleid rond het spoor te dicteren, maar onvoldoende prestaties leverde.»405 De sturingsmogelijkheden en nadelen van een privaatrechtelijk contract geven de minister niet de mogelijkheden die de concessie- en Spoorwegwet wel bieden.610 Publieke wetgeving maakt het mogelijk om «ten behoeve van die sturing alle benodigde informatie te vereisen» en naleving af te dwingen.611 Kamer en minister zitten derhalve op één lijn. Ook de minister geeft sturing hoofdprioriteit. Als voorbeeld kan gewezen worden op de argumentatie van de minister dat in de zoektocht naar meer sturingsmechanismen een wijziging van de statuten van de NS wordt voorbereid waarin de tucht van de Staat beter kan functioneren.417
De heer Van Walsum (D66) geeft aan waarom deze invloed noodzakelijk is: «De verantwoordelijkheid voor het kernnet is een publieke zaak waar de politiek – de overheid – geen afstand van kan en mag nemen. Het is de afgelopen jaren gebleken dat de burger zich bij het disfunctioneren van de NS tot de politiek wendt en van haar verwacht dat zij, het liefst zo snel mogelijk, oplossingen biedt om de klachten te verhelpen. Zowel het parlement als de minister voelde zich de afgelopen jaren wat onmachtig, hetgeen voor velen en ook voor mij een frustrerende ervaring was.»612
Kamerleden worstelen als gevolg van de wijze waarop het verzelfstandigingsproces vorm heeft gekregen met hun positie. Dit wordt het best beschreven door de heer Reitsma (CDA): «[D]e Kamer [zit] in een lastige positie [...], omdat zij formeel geen bevoegdheden over de NS heeft, maar door de samenleving wel wordt aangesproken op de problemen in het openbaar vervoer. Het belang van de reiziger maakt het noodzakelijk dat de Kamer over de problematiek op het spoor spreekt dat gezocht wordt naar meer sturingsmogelijkheden om service, kwaliteit en beschikbaarheid van het openbaar vervoer te waarborgen.»613
Interessant vanuit dit perspectief is dat de heer Dijsselbloem (PvdA) ten aanzien van de borging van consumentenbelangen aangeeft dat (publieke) sturing en toezicht uitsluitend via het parlement dient te verlopen omdat juist politieke controle op de borging van publieke belangen een essentieel onderdeel vormt van de relatie tussen minister en parlement: «Als directe belangen van reizigers en burgers in het geding zijn, moet de politieke verantwoordelijkheid altijd waargemaakt kunnen worden.»435 Hieruit blijkt dat de Tweede Kamer, ondanks de verzelfstandiging, ten aanzien van publieke belangen wenst mee te sturen op details in plaats van op hoofdlijnen. Kamerleden geven aan dat «te veel sturingsinstrumenten uit handen zijn gegeven.»614
Als gevolg van de ontwikkelingen op het spoor komt de Kamer tot de conclusie dat voor het invullen van deze rol voldoende specifieke sturingsmogelijkheden voor handen moeten zijn om waarden veilig te stellen die voor de klant belangrijk zijn zoals betrouwbaarheid, betaalbaarheid en toegankelijkheid.615 Ten aanzien van de NS richt de discussie zich daarbij op de concessiewetgeving en een «hiërarchie van beïnvloedingsmogelijkheden van de Staat richting NS: eerst de kaders scheppen via wetgeving, vervolgens sturen via contracten en concessies, ten slotte een rol spelen als aandeelhouder.»616 «[L]angs die publiekrechtelijke concessielijn [kunnen] de publieke belangen prima (...) worden veiliggesteld.»617
Ook als het gaat over de positionering van de taakorganisaties blijkt dat sturing een belangrijk onderwerp van discussie is. Met name omdat lang onduidelijkheid bestaat over de precieze aansturingsrelatie. Als gevolg van deze ontwikkelingen is de uitwerking van het sturingsconcept van de relatie met de taakorganisaties veel minder geavanceerd of zelfs niet-bestaand; zo constateert ook de Rekenkamer in 1999. Via een amendement beoogt de Kamer de verantwoordelijkheid van de minister ten aanzien van aanleg, maar ook voor beheer en onderhoud van infrastructuur scherper te formuleren618 en de borging van basiskwaliteit van publieke voorzieningen vast te leggen en via nadere regelgeving uit te werken. Wat precies de sturingsrelatie is tussen met name minister en taakorganisaties blijft echter onduidelijk. Met name gedurende de periode 1999–2002 vinden vele wijzigingen plaats in de wijze waarop de minister de aansturingsrelatie wenst vorm te geven.
Tijdens de behandeling van de Spoorwegwet wordt door de Tweede Kamer nadrukkelijk gevraagd om de argumentatie voor de voorgestelde sturingsrelatie te expliciteren.618 De Tweede Kamer verzoekt dit met name omdat de minister tot een paar maanden ervoor een fundamenteel andere invulling geeft aan de wijze van aansturing en terugkomt op een eerder voornemen tot oprichting van een ZBO. In de brief waarin zij haar voornemen motiveert stelt de minister: «De ontstane relatie tussen overheid, infrabeheerder en vervoerders werkt conflicten in de hand en betreft te vaak directe overheidsbetrokkenheid bij elementen van dagelijkse bedrijfsvoering. De communicatie tussen vervoerder en infrabeheerder ging nu met het oog op de in het voorgestelde systeem te ontstane verantwoordelijkheden steeds meer via de overheid lopen. (...) Infrabeheerder en vervoerders moeten samen het primaat hebben en niet het overheidsapparaat. Het moeten twee sterke uitvoerende partijen zijn, die elkaar in een gezonde samenwerking met oog voor eigen rol en verantwoordelijkheid in evenwicht houden. De Wetenschappelijke Raad voor het Regeringsbeleid heeft er op gewezen dat voor de borging van het publiek belang bedrijfscultuur net zo een belangrijke factor is als bijvoorbeeld concessievoorwaarden en incentive-regelingen. Die bedrijfscultuur van publiek belang, dat verantwoordelijkheidsgevoel moet weer in Utrecht komen te liggen.»619
Reden waarom de Tweede Kamer zo scherp reageert, is mede gelegen in het feit dat de kaderwet ZBO de dag ervoor is aangenomen620 en dat de Raad van State concludeert dat «op basis van minder overtuigende praktische overwegingen gekozen wordt voor een fundamentele wijziging in de opzet van het spoorwegbestel waarvan de verstrekkende gevolgen niet zijn overzien. De Raad beveelt onder meer aan, de privaatrechtelijke vormgeving van beheer, capaciteitsverdeling en verkeersleiding te heroverwegen».621 De minister reageert door een schema toe te zeggen «met de voors en tegens van ZBO en staats-NV, bezien vanuit het element sturing».622 De minister geeft aan hoe reflectie op ervaringen met het functioneren van ZBO’s in andere sectoren (bv. de luchtverkeersleiding en OPTA)623 en de taakorganisaties (die als ZBO’s functioneren) vis-a-vis een private exploitant NS aanleiding geeft te twijfelen aan het nut van zo’n constructie, aangezien deze voeding geeft aan conflicten. De minister geeft aan «dat de aansturing van ZBO’s heel ingewikkeld is» en de bevoegdheid van de minister sterk ingeperkt en daarmee «ook de ministeriële verantwoordelijkheid jegens parlement.»624 Bovendien is de NV versie «flexibeler» en sluit daarbij aan bij het doel van de minister. De minister geeft aan dat een belangrijk argument om geen ZBO van de spoorbeheersorganisatie te maken is omdat anders elke handeling als een bestuursbesluit kan worden opgevat waartegen bezwaar en beroep mogelijk is bij de rechter. Ondanks bezwaren van oppositiepartijen en met name van de SGP en GroenLinks – die aangeven dat de kaderwet ZBO ruimer geïnterpreteerd kan worden en meer mogelijkheden biedt dan de minister voorstelt – gaat de meerderheid van de Tweede Kamer akkoord met dit argument.625
Conclusies borging, sturing en verantwoording (1999–2005)
Gedurende de periode waar in de parlementaire beraadslagingen aandacht wordt geschonken aan de vormgeving en inrichting van de spoorsector, en meer in het bijzonder de taakorganisaties, kan gesteld worden dat door het parlement nadrukkelijk invulling wordt gegeven aan haar wensen ten aanzien van de inrichting van de spoorsector via moties die door het parlement op verschillende tijdstippen tijdens het besluitvormingsproces zijn ingebracht. Zowel ten aanzien van de specifieke vorm als ten aanzien van het proces dat daartoe zou moeten leiden wordt door het parlement nadrukkelijk invulling gegeven aan haar wensen. Wel dient opgemerkt te worden dat deze wijze van optreden vooral reactief is.
De Kamer reageert op ontwikkelingen op het spoor via het indienen van moties en amendementen in het parlementaire proces. Bovendien kan worden geconstateerd dat moties en amendementen die fundamentele wijzigingen beogen in het verzelfstandigingsproces zelden steun van een Kamermeerderheid verwerven. Daarmee verandert er in strategisch opzicht weinig aan het door de minister voorgestelde beleid inzake de uitplaatsing van de taakorganisaties. Zo wordt met de motie-Remkes586 door de Tweede Kamer eind 1995 de basis gelegd voor de «knip» tussen beheer en exploitatie zonder dat hiermee onmiddellijk tot een wijziging in de aansturingsrelatie wordt opgeroepen. Tijdens datzelfde debat wordt via de motie-Van den Berg626 door de Tweede Kamer nadrukkelijk aangedrongen op de uitwerking van een samenhangend pakket van wetsvoorstellen, waarmee ook eisen worden gesteld aan het proces waarlangs de verzelfstandiging dient te worden bereikt.
Omdat het lang stil blijft rond de specifieke invulling van de taaksector en de daartoe noodzakelijke wetsvoorstellen pas in 2000 worden ingediend, neemt de onvrede binnen de Tweede Kamer toe. Met name als blijkt dat de minister tegen de achtergrond van dalende prestaties geen aandacht lijkt te besteden aan herhaalde oproepen van Kamerleden over het belang van adequate publiekrechtelijke borging van de nieuwe verhoudingen. Terwijl de borging van publieke belangen via contracten en outputgerichte sturing van zowel de NS (niet geschikt voor een externe sturingsrelatie) als de taakorganisaties (een problematische aansturingsrelatie) faalt, ontbreekt het de Tweede Kamer aan een adequaat instrumentarium om te kunnen sturen en blijven veel onduidelijkheden rond de uitplaatsing van de taakorganisaties bestaan.
Eind 1999 worden twee moties opgesteld waarin de Kamer de minister oproept met wetgeving te komen en de uitplaatsing van de taakorganisaties op te schorten totdat sprake is van een deugdelijk wettelijk kader.368 De moties behoeven niet te worden ingediend, aangezien de minister haar beleidsvoornemen op basis van de reacties in de Kamer wijzigt. Niet lang daarna geeft de minister meer duidelijkheid over de precieze wijze waarop invulling zal worden gegeven aan de uitplaatsing van de taakorganisaties.627 Bovendien worden de wetsvoorstellen die de nieuwe verhoudingen op het spoor moeten vastleggen in de loop van 2000 ingediend.
Vanaf dat moment wordt het wetgevingsproces ingehaald door de situatie op het spoor en neemt de wens om in te kunnen grijpen in de sector snel toe. Deze wens van zowel Tweede Kamer als minister om meer grip op de sector te krijgen en beter te kunnen sturen, wordt door de minister tot uitgangspunt verheven. Op basis van de recente ervaringen en in overleg met de sector besluit de minister in de zomer van 2001 om te komen tot een geheel andere inrichting van de spoorsector. De herbezinningsbrief en de gewijzigde plannen omtrent de inrichting van de taaksector leiden echter tot veel weerstand in het parlement.
Hoewel de Tweede Kamer kan instemmen met de argumenten van de minister om tot een robuuster stelsel van aansturingsrelaties met zowel de NS als de taaksector te komen, blijft vooral de oppositie kritisch ten opzichte van de nieuwe voorstellen. Met name de plotselinge keuze voor een privaatrechtelijke spoorwegbeheersorganisatie in plaats van een ZBO roept weerstand op. Uiteindelijk weet de minister in beide Kamers een meerderheid te overtuigen van het nut van deze wijziging. Primair zal volgens de plannen sturing moeten worden gegeven aan de spoorsector via het concessie-instrument.
Een belangrijke vraag die gesteld kan worden ten aanzien van het verzelfstandigingsproces is in hoeverre de parlementaire beraadslagingen zijn beïnvloed door (leer)ervaringen of kennis opgedaan van andere verzelfstandigings- of privatiseringsprocessen, in de spoorsector of daarbuiten in binnen- of buitenland. Alhoewel er tussen de twee periodes die hier worden besproken sprake is van een significant verschil (als gevolg van de herbezinning), kan dat niet worden toegeschreven aan het leren van eerdere ervaringen of ervaringen uit andere landen of sectoren. Dat wil echter niet zeggen dat er helemaal niet naar andere landen of sectoren is gekeken tijdens de debatten, maar het zijn vooral ontwikkelingen binnen de sector zelf die bepalend zijn voor de koers van beleid. Er wordt maar zeer weinig gebruik gemaakt van evaluatiegegevens over het spoor of anderszins.
Ervaringen in andere sectoren
Op de vraag in hoeverre eerdere ervaringen in andere sectoren of evaluaties invloed hebben op de wijze waarop door de minister wordt vormgegeven aan haar verzelfstandigingsplannen kan een vrij kort antwoord worden geformuleerd: niet of nauwelijks.628 In elk geval niet op papier, want noch in de beraadslagingen noch in parlementaire documenten wordt hier uitgebreid bij stilgestaan. Uit interviews met direct betrokkenen is echter wel degelijk gebleken dat de gedachten inzake verzelfstandiging op het spoor beïnvloed zijn door ervaringen in andere sectoren.
Ervaringen in andere landen
Met betrekking tot eerdere ervaringen in andere landen geldt een iets genuanceerdere analyse. Tijdens de voorbereidingen op het plenaire debat over het principebesluit tot verzelfstandiging in september 1993 worden vragen gesteld over ervaringen in andere landen.629 De minister antwoordt dat weinig voorbeelden bekend waren tijdens de totstandkoming van het advies van de commissie-Wijffels.630 Als al sprake is van een land waaraan Nederlandse plannen gespiegeld worden, dan is dat Zweden, vanwege de goede resultaten aldaar.631 Of deze resultaten ook in de Nederlandse situatie behaald kunnen worden, wordt in de parlementaire beraadslagingen niet geanalyseerd. De minister geeft in de beantwoording op een Kamervraag ook uitdrukkelijk aan dat aan dat het verzelfstandigingsplan en de analyse van de commissie-Wijffels vooral zijn gebaseerd op de Nederlandse specifieke situatie: «Er is echter geen sprake van dat de ontwikkelingen zijn gemodelleerd naar de in Zweden gevolgde ontwikkelingen. De commissie heeft op basis van haar eigen bevindingen een advies uitgebracht over de volgens haar noodzakelijke herziening van de relatie tussen rijksoverheid en NS.»632 Door parlementariërs wordt tijdens het plenaire debat over het verzelfstandigingsvoorstel ook aan ervaringen in Duitsland en Japan gerefereerd.633 De minister geeft echter aan dat in beide landen sprake is van andere omstandigheden.634
Evaluaties
Hoewel in het advies van de commissie-Wijffels iteratie en evaluatie een belangrijk en integraal onderdeel vormen van de voorgestelde aanpak van de verzelfstandiging van de NS, kan vastgesteld worden dat geen specifieke aandacht aan evaluatieprocessen is geschonken in de parlementaire beraadslagingen of het hoofdlijnendebat. Noch door de minister, noch door het parlement wordt aandacht besteed aan de wijze waarop geleerd kan worden gedurende het hervormingsproces.
In het hoofdlijnenakkoord dat in juni 1995 tussen de NS en de rijksoverheid wordt gesloten en dat in december 1995 door de Tweede Kamer wordt beoordeeld, wordt wel overeengekomen om de rolverdeling ten aanzien van de taakorganisaties te evalueren. Meer in het algemeen wordt door de minister op Kamervragen aangegeven dat ten aanzien van leren en evalueren «rekening [is] gehouden met de mogelijkheid dat op onderdelen een andere koers moet worden gevaren dan op dit moment voorzien. Om die reden is afgesproken dat voor wat de betreft de relatie van de overheid met de taakorganisaties binnen de NS, zijnde de organisaties die een deel van de overheidsverantwoordelijkheid voor de infrastructuur moeten waarmaken, een evaluatie plaatsvindt uiterlijk in 1999. Ook de totstandkoming van wetgeving biedt de gelegenheid tot een bijstelling; de Overeenkomst op Hoofdlijnen bevat daartoe een voorbehoud (artikel 4).»635
De Rekenkamer concludeert enkele jaren later dat de hoofdlijnenovereenkomst niet concreet was en dat «de uitwerking van een aantal belangrijke onderwerpen [waaronder wetgeving] vooruitgeschoven [werd] naar de overgangsfase die zou lopen tot 2000.»636
De minister benadrukt daarentegen tijdens het plenaire debat over het hoofdlijnenakkoord dat de ingezette veranderingen een ontwikkelings- en leertraject betekenen.637 Wat hiervan de precieze betekenis is en hoe processen dienen te worden ingericht om deze ambities te verwezenlijken wordt echter zowel door de Kamer als de minister tijdens het debat niet verder uitgewerkt. Tijdens het debat rond de hoofdlijnenovereenkomst wordt gesproken over de evaluatie door enkele Kamerleden638 en de minister.639 De minister benadrukt het belang van de evaluatie als mogelijkheid om de met de NS overeengekomen taakverdeling – die niet aansluit bij de wensen van de Kamer en de minister – te wijzigen: «Tot een evaluatie van de taaksector in 1999 hebben wij ons inderdaad beide gecommit[t]eerd. Ik hecht daaraan, omdat de betrokken partijen daarmee ook bij voorbaat de afspraken over de taaksector voor discussie vatbaar stellen, zodra het inzicht bestaat in het feitelijk functioneren van die sector.»640 Wat echter precies deze evaluatie inhoudt blijft ook na het plenaire debat onduidelijk. Bovendien blijkt in 1999 dat de evaluatie niet zal worden uitgevoerd (zie hierna).
Verwachtingen over effecten
Ten aanzien van verwachtingen over de effecten voor burgers wordt het belang van de burger als reiziger gedurende de periode 1992–1995 benadrukt door te wijzen op de markt, efficiency en kostenbesparingen.641 Tijdens het cruciale debat in december 1995 wordt door de Kamer aandacht gevraagd voor de directe borging van belangen van reizigers in de vorm van specifieke publieke belangen (tarieven; voorzieningenniveau en contractensector onrendabele diensten; consumentenbescherming). Een breder perspectief op de relatie tussen publieke belangen en de wijze waarop de Kamer zich bemoeit met de verzelfstandiging wordt echter niet geschetst.
Opvallend is dat gedurende de besluitvorming rond de verzelfstandiging van de NS weinig aandacht wordt besteed aan effecten van de verzelfstandiging in brede zin. Dat wil niet zeggen dat geen aandacht wordt besteed aan effecten voor burgers. Gedurende de parlementaire beraadslagingen wordt vaak verwezen naar het belang van de reizigers en de gedachte is dat verzelfstandiging goed is (betere dienstverlening en gereduceerde kosten), dan wel slecht is voor de burger (uitholling serviceniveau, betaalbaarheid). Er wordt echter geen aandacht besteed aan verwachte effecten voor de relatie tussen burger en rijksoverheid. De overheersende gedachte is dat verzelfstandiging en de introductie van marktwerking positieve effecten zal hebben voor de reiziger.
Ervaringen in andere sectoren
Ook rond de uitplaatsing van de taakorganisaties spelen ervaringen in andere sectoren slechts een kleine rol in de parlementaire beraadslagingen. Het dossier lijkt op zichzelf te staan en zowel door minister als door Kamerleden worden weinig pogingen gedaan om lering te trekken uit andere sectoren.
Wanneer andere sectoren aan de orde komen, is de teneur van de analyse al snel dat de situatie in de sector (te) verschillende is om tot zinvolle conclusies te komen. Zo merkt GroenLinks naar aanleiding van het beleidsvoornemen tot privatisering van de NS in de nota De derde eeuw spoor op dat privatisering en beursgang in de spoorsector anders is dan in de telefoniesector.642 De minister verwijst in haar eerste termijn tijdens dit overleg naar haar ervaring met private scholen en de luchtvaartsector, maar beide voorbeelden worden tijdens het debat bekritiseerd vanwege de inherente onvergelijkbaarheid.643
Verreweg de meest opvallende en belangrijke verwijzing naar ervaringen in andere sectoren vindt plaats in 2002 tijdens de behandeling van de Spoorweg- en Concessiewet. Tijdens het plenaire debat geeft de minister aan dat deze ervaringen in andere sectoren een argument vormen om af te zien van een ZBO-status voor de op te richten spoorwegbeheerder in het kader van de heroverweging van haar eerdere beleidsvoornemens uit de nota De derde eeuw spoor.644 Via een schema «met de voors en tegens van ZBO en staats-NV, bezien vanuit het element sturing»645 tracht de minister de Kamer te overtuigen van de nadelen die verbonden zijn aan een ZBO-status. In het schema vergelijkt de minister ervaringen met ZBO’s in de luchtvaartsector en de telefonie. Verschillende oppositiepartijen in de Kamer zijn echter van mening dat de vergelijking mank gaat en dat meer principiële argumenten gehanteerd dienen te worden om een afweging inzake de sturingsrelatie te maken.646
Ervaringen in andere landen
Ook ontwikkelingen in buitenlandse spoorsectoren spelen een ondergeschikte rol in de parlementaire beraadslagingen rond het uitplaatsingsproces van de taakorganisaties. Maar meer dan gedurende de voorgaande periode wordt door zowel minister als parlementariërs gebruik gemaakt van informatie en ervaringen uit andere landen, met name als gesproken wordt over marktwerking. In de nota De derde eeuw spoor benadrukt de minister een perspectief met een richtinggevende «koers zonder blauwdruk» te willen schetsen en benadrukt het belang van het «leren van ervaringen hier en elders» en het bieden van «mogelijkheden voor flexibiliteit.»647
Door de minister wordt in deze nota en in de periode erna ter onderbouwing van haar keuze uitvoerig verwezen naar onderzoek met betrekking tot ervaringen in het buitenland rond de introductie van concurrentie.648 Door Kamerleden worden tijdens de behandeling van zowel de nota649 als de daarin aangekondigde Concessiewet vragen gesteld over buitenlandse ervaringen met de wijze van marktwerking.650 Op basis van Kamervragen van het CDA, de SGP, het GPV, de RPF, de PvdA, de VVD en GroenLinks gaat de minister uitgebreid in op de motivering voor de keuze voor het concessiestelsel en geeft zij op basis van onderzoek een overzicht van de verschillende wijzen waarop in West-Europa openbaar vervoer per trein wordt verzorgd in relatie tot de Europese regelgeving.651 Ook wordt door de minister op vragen van het CDA, GroenLinks, het GPV en de RPF een uitgebreide motivatie voor de onderhandse gunning van de concessie aan de NS gegeven.652
Gedurende de debatten zelf wordt nauwelijks verwezen naar de ontwikkelingen in andere landen. Maar als het buitenland een rol speelt, dan is dat niet om te leren. De minister verwijst naar de unieke situatie in Nederland. Zo claimt de minister bijvoorbeeld in 2000 nog «dat de Staat der Nederlanden op grotere afstand van het spoorbedrijf staat dan de overige Europese landen», en dat het «tarief per kilometer het laagst is in Nederland in vergelijking met de overige landen in Europa.»653
Ook als tijdens de behandeling van de Spoorwegwet en Concessiewet gevraagd wordt naar en gerefereerd wordt aan ervaringen in het buitenland654, geeft de minister aan dat Nederland niet als enige worstelt met het dossier maar ook weinig te leren heeft uit het buitenland: «Alle landen in de wereld zijn dus op zoek naar de meest optimale verhouding tussen spoor en reizigersvervoer. Op zichzelf is dat geen statische situatie. Ik heb het wetsvoorstel zo gemaakt dat wij onszelf flexibiliteit bieden, ook in de toekomst. Ook Denemarken loopt bijvoorbeeld aardig voorop wat betreft de liberalisering van het spoor, maar ook daar verandert men voortdurend de posities. Ook daar heeft men dus het optimale punt nog niet bereikt. Ik heb het dan nog niet over Groot-Brittannië, want wat daar gebeurt is niet goed te vergelijken met wat met wat wij hier in Nederland doen. Groot-Brittannië kijkt overigens heel strikt naar wat wij doen. De Britse minister was hier vorige week op bezoek en zei toen heel goed te kijken naar onze wetgeving, omdat men die interessant vindt in het licht van hun slechte ervaringen tot nu toe.»655
Ook door de Eerste Kamer wordt navraag gedaan naar ervaringen in het buitenland en worden vragen gesteld over de rechtsvorm waarin en de wijze waarop in het buitenland exploitatie en beheer zijn gescheiden.656 In geen van de gevallen wordt met de aandacht die wordt besteed aan ervaringen in andere landen een significante bijdrage geleverd in de bestudeerde beraadslagingen.
Evaluaties
In de parlementaire beraadslagingen rond de uitplaatsing van de taakorganisaties spelen evaluaties een belangrijke rol gedurende de bestudeerde periode. In eerste instantie omdat de voorgenomen evaluatie geen doorgang vindt. Hoewel in het hoofdlijnencontract tussen de NS en de rijksoverheid was afgesproken dat de rolverdeling en het functioneren van de taakorganisaties gedurende de overgangsperiode onderwerp van reflectie zou vormen blijft deze stap achterwege. In de nota De derde eeuw spoor wordt door de minister kort ingegaan op het (dis)functioneren van de hybride rolverdeling tussen de rijksoverheid en de NS.657 Doordat de NS inmiddels bereid is gebleken mee te werken aan de uitplaatsing van de taakorganisaties, hoeft volgens de minister «de in de overeenkomst afgesproken evaluatie niet meer [...] plaats te vinden».658 «De evaluatie waarvan in 1995 sprake was, had volgens de minister tot doel de werkbaarheid na te gaan van het compromis om van de taakorganisaties besloten vennootschappen in het NS-concern te maken.»659 Daarmee wordt de evaluatie door de minister slechts als onderdeel van de onderhandelingen beschouwd en lijkt voorbij te worden gegaan aan de functie van evaluaties in het advies van de commissie-Wijffels.660
Deze argumentatie is opvallend aangezien een evaluatie van de Algemene Rekenkamer over de wijze waarop door het ministerie van Verkeer en Waterstaat invulling is gegeven aan de aansturing van de taakorganisaties een negatief beeld van de situatie gedurende de overgangsperiode schept. De Rekenkamer concludeert dat het «ministerie van Verkeer en Waterstaat zijn toezichts- en opdrachtgeversrol in de periode 1995–1998 onvoldoende [heeft] vervuld.»661 Het Rekenkamer-rapport speelt een belangrijke rol in het bewustwordingsproces van de Kamer en geeft een belangrijke impuls aan de argumentatie van met name de oppositiepartijen over de vormgeving van de relatie tussen de NS, de rijksoverheid en de taakorganisaties.
De uitkomsten van de evaluatie van de Rekenkamer worden door de minister grotendeels omarmd en geven voor haar aanleiding te concluderen dat «we er nog niet zijn»662 en dat de nadere stappen in het uitplaatsingsproces die de minister na 1999 voorstelt noodzakelijk zijn: «Alle punten die de Rekenkamer heeft aangedragen, worden aangepakt.»663 De Rekenkamer is echter ongerust over de mate waarin door de minister invulling wordt gegeven aan de aanpak van de geconstateerde problemen.664 In de parlementaire beraadslagingen wordt het Rekenkamerrapport overigens pas een half jaar na publicatie besproken.
De algehele reactie van de Kamerleden op de bevindingen van het rapport van de Rekenkamer is kritisch maar gematigd; Kamerlid Van Walsum (D66) merkt op: «In de overgangsperiode van 1995 tot 1998 was een evaluatiemoment ingebouwd. Om haar moverende redenen heeft de minister daarvan afgezien. Dat is jammer, omdat wij nu niet precies weten waar de haken en ogen zitten en wat niet goed is gegaan. Als ik het Rekenkamerrapport goed tot mij laat doordringen, lijkt er maar weinig goed te zijn gegaan. Dat beeld is wellicht te zwart-wit. Wat betreft de taken, bevoegdheden en verantwoordelijkheden is er echter maar heel weinig geregeld. Het idee is dat de taakorganisaties buiten de NS geplaatst moeten worden. Dat heeft onze instemming. Dat kan echter alleen gebeuren als er heel goede afspraken gemaakt worden over wie wat moet doen, wie waarvoor verantwoordelijk is en welke bevoegdheden er bestaan.»665
Oppositiepartij SP noemt de bevindingen van de Rekenkamer vernietigend en aanleiding gevend tot zorg666 en oppositiepartij CDA vraagt de minister om uitleg.667 Maar tot een oproep aan de minister om gegeven de uitkomsten van de evaluatie vast te houden aan een evaluatie over het functioneren van de taakorganisaties leidt het Rekenkamerrapport echter niet. De Kamer neemt genoegen met de uitleg van de minister over de rol van de evaluatie en daarmee wordt een cruciaal onderdeel van het advies van de commissie-Wijffels verlaten.
De consequenties van het niet uitvoeren van de evaluatie zijn vergaand, omdat gesteld kan worden dat in de periode nadien door de Kamer geen (gedetailleerde) grondslag voor toekomstige besluitvorming in het kader van de uitplaatsing van de taakorganisaties bestaat. Er resten alleen Kamermoties waaraan uitvoering gegeven wordt.668 Een analyse waarom en vooral op welke wijze gegeven deze moties tot uitplaatsing van de taakorganisaties overgegaan dient te worden op basis van praktische ervaringen gedurende de overgangsperiode, wordt niet gemaakt. Aangezien het oorspronkelijke voorstel van de minister om tot uitplaatsing van de taakorganisaties over te gaan afwijkt van het advies van de commissie-Wijffels blijft onduidelijk op basis van welke overwegingen het kabinet vervolgens komt tot een keuze voor een specifieke indeling voor de taakorganisaties. In de latere beraadslagingen vormt dit onderdeel dan ook een van de belangrijkste discussiepunten tijdens de behandeling van de Spoorwegwet en de Concessiewet (zie hierboven).
Een ander advies dat gedurende de periode 1999–2005 een rol speelt in de parlementaire beraadslagingen rond de uitplaatsing van de taakorganisaties vormt het advies van de Raad van State op de vierde nota van wijziging van de Spoorwegwet.669 In het advies geeft de Raad aan dat dat het regeringsvoorstel om een private spoorwegbeheersorganisatie in het leven te roepen «op basis van minder overtuigende praktische overwegingen gekozen wordt.»670 Het advies komt in de plenaire Kamerdebatten ter sprake bij pogingen van de oppositiepartijen SGP en GroenLinks om te pleiten voor een andere inrichting van taakorganisaties.671 De minister geeft in de herbezinningsbrief waarin zij een privaatrechtelijke spoorwegbeheersorganisatie voorstelt overigens aan dat na afloop van de herstelfase «zal worden geëvalueerd wat in de praktijk de ervaring met de doeltreffendheid en de effecten van de structuur en de wetgeving zijn.»672 Een Kamermeerderheid besluit uiteindelijk tot acceptatie van een privaatrechtelijke vorm voor spoorwegbeheersorganisatie.
Pas gedurende de behandeling van de Spoorwegwet en Concessiewet in de Eerste Kamer is er meer aandacht voor de onzekerheden en onduidelijkheid rondom de oorzaken en contouren van de sturingsproblematiek tussen de rijksoverheid, de NS en de taakorganisaties. Deze aandacht mondt uit in de motie-Wolfson die Kamerbreed wordt ondersteund en waarin de minister gevraagd wordt om als onderdeel van de evaluatie van de Spoorwegwet een grondige analyse van alternatieve beheersvormen uit te voeren voordat opnieuw verder stappen worden gezet in dit dossier (zie paragraaf 3.4).
Belangrijke gebeurtenissen in de spoorsector
Tijdens de parlementaire besluitvorming over de oprichting van ProRail bestaat veel aandacht voor de effecten van de recente beleidswijzigingen in de spoorsector. Zozeer zelfs dat vertraging optreedt in het verzelfstandigingsdossier. Veel besluiten die genomen dienen te worden ten aanzien van de rol en invulling van de taakorganisaties zijn afhankelijk van de wijze waarop concurrentie in het personenvervoer op het hoofdrailnet wordt geïntroduceerd. Een definitieve keuze hierover wordt pas na het aantreden van een nieuw kabinet in 1999 in de nota De derde eeuw spoor gemaakt. Een ander voorbeeld betreft de voorziening in een juridisch kader. Hoewel dit kader al in 1999 klaar had moeten zijn, wordt de wetgeving waarin de verzelfstandiging wordt verankerd pas in 2000 bij het parlement ingediend. Enerzijds is dus sprake van vertraging omdat het beleidsproces op zich laat wachten; anderzijds omdat de Kamer ook in toenemende mate eisen stelt en soms zelfs op specifieke punten invulling geeft aan elementen in het juridische kader in de spoorsector, zoals bijvoorbeeld de juridische scheiding van de taakorganisaties.
Nog veel belangrijker dan de ervaringen en evaluaties zijn echter de ontwikkelingen in 2000 en 2001 in de spoorsector. Gedurende deze jaren is er sprake van sterk dalende punctualiteitscijfers, grote ongemakken voor treinreizigers als gevolg van materieeluitval en daarbovenop een slepend personeelsconflict. De ontwikkelingen creëren een enorme maatschappelijke onrust. Gedurende de parlementaire beraadslagingen wordt gesproken over «de ernstigste crisis sinds de spoorwegstaking van 1903.»673 Deze gebeurtenissen drukken een stempel op de wijze waarop het parlement omgaat met het verzelfstandigingsdossier en meer in het bijzonder de uitplaatsing van de taakorganisaties.
De problemen die zich manifesteren tijdens de crisis vormen aanleiding voor de minister en de Tweede Kamer om in toenemende mate met een kritische blik de ontwikkelingen en doelstellingen van het verzelfstandigingsbeleid te beschouwen en laat de focus van het verzelfstandigingsbeleid omslaan van een poging om marktwerking te introduceren naar beleid dat beoogt op korte termijn rust in de spoorsector te brengen. Daarbij zoeken zowel Kamer als minister naar mogelijkheden om (weer meer) greep te krijgen op de ontwikkelingen in de sector (zie paragraaf 3.3 en 3.4).
Verwachtingen over effecten
Met het herbezinningsbesluit wordt door de minister de facto het verzelfstandigingsproces stopgezet. Als gevolg van de ontwikkelingen op het spoor staat vanaf eind 2001 alles in het teken van het creëren van rust en het opbouwen van een vertrouwensrelatie tussen de verschillende partijen in de sector.
Gedurende de bestudeerde periode wordt door de Tweede Kamer zeer veel energie gestoken in het beheersen van de crisis op het spoor zonder overigens dat de Tweede Kamer (of de minister) veel instrumenten tot haar beschikking heeft om actief in te kunnen grijpen. Door de Kamerleden wordt dit gebrek aan sturend vermogen als frustrerend ervaren. Er worden door de Kamer dan ook verschillende oproepen gedaan om deze situatie zo snel mogelijk te wijzigen.
Tot nadere reflectie ten aanzien van verwachtingen over de relatie tussen overheid en burger en het eigen functioneren komt het echter niet. De Tweede Kamer blijft van mening dat, ondanks de verzelfstandiging, de politiek dient mee te kunnen sturen. Kamerleden geven aan dat «te veel sturingsinstrumenten uit handen zijn gegeven.»674
Conclusies over evaluaties en effecten
Gedurende de initiële besluitvorming rond de verzelfstandiging in de periode 1992–1995 spelen ervaringen uit andere sectoren en landen een zeer bescheiden rol. Het Nederlandse perspectief domineert de parlementaire beraadslagingen.
Tijdens de besluitvorming rond de uitplaatsing van de taakorganisaties spelen evaluaties en andere gebeurtenissen een veel grotere rol. Allesoverheersend gedurende deze periode is de invloed van de actuele problematiek op het spoor. Als gevolg van deze focus verliest de Tweede Kamer eigenlijk al snel een cruciaal element in het verzelfstandigingsproces uit het oog; de aandacht voor effecten en evaluaties en met name de noodzaak voor een grondslag om te komen tot besluitvorming in het kader van uitplaatsing van de taakorganisaties.
Hoewel minister en Kamer gedurende de herbezinning die volgt op de crisis die zich op het spoor voordoet wel degelijk aandacht hebben voor problemen in de wijze waarop de rolverdeling tussen de rijksoverheid, de NS en de taakorganisaties is georganiseerd, bestaat relatief weinig aandacht voor de kennis die inmiddels is opgedaan met het functioneren van de uitgeplaatste organisaties en de wijze van aansturing.
Er is door het parlement eigenlijk weinig nadruk gelegd op leren. Evaluaties vinden geen doorgang, en als zij al doorgang vinden, dan worden de uitkomsten in de Tweede Kamer niet of nauwelijks gebruikt om te reflecteren op de invloed van deze ontwikkelingen op de mogelijkheid om te kunnen sturen op belangrijke publieke waarden en door te dringen tot de essentie van de gerapporteerde problemen. Er vinden in de spoorsector ingrijpende veranderingen plaats zonder voorafgaande evaluatie en zonder een breed gedragen analyse waarom deze wijzigingen wenselijk zijn.
Over het optreden van het parlement is in de voorgaande paragrafen al het nodige geschreven. Nu wordt ingegaan op de wijze waarop het parlement haar rol als medewetgever, controleur en volksvertegenwoordiger heeft vervuld. Daarbij wordt grotendeels teruggegrepen op informatie die eerder aan de orde is gekomen.
Uit onze analyse van het parlementaire debat blijkt vooral dat het parlement haar rol vrij instrumenteel invult. Er is sprake van een overwegend reactieve houding met veel aandacht voor operationele effecten en incidenten. Dit is verklaarbaar als de specifieke omstandigheden op het spoor in aanmerking genomen worden. Immers, de prestaties op het spoor nemen eind jaren negentig snel en significant af, terwijl het verzelfstandigingsdebat in het parlement voortduurt. Tijdens een gesprek met de voorzitter van de parlementaire onderzoekscommissie Onderzoek en Innovatie Spoor van de Tweede Kamer, mevrouw Kuiken (PvdA), oordeelde zij zeer kritisch over het vermogen van het parlement om een complex verzelfstandigingsproces als dat van de NS te controleren: «Het parlement is (en heeft zich) te veel op afstand gezet en had niet alle relevante informatie en inzichten op tafel om de besluiten goed te kunnen controleren. Dit soort grote besluiten vindt bovendien nooit op een moment plaats maar hier gaan vaak jaren – en daarmee ook verschillende kabinetten en kamers – overheen. (...) Het is voor een parlement dan ook niet eenvoudig zulke grote vraagstukken goed te behappen.»
Een tweede conclusie die op basis van eerdere paragrafen reeds getrokken kan worden is dat in het dossier verzelfstandiging NS door de parlementariërs primair aandacht wordt besteed aan de (publieke) belangen van de burger als reiziger en veel minder van de burger als kiezer of belastingbetaler, bijvoorbeeld.
Als de rol van de Tweede Kamer gedurende het verzelfstandigingsproces nader wordt geanalyseerd, dan valt als eerste op dat de rol van de Kamer als medewetgever in formele zin pas vanaf 2000 aanvangt met het indienen van de wetsvoorstellen voor de Concessiewet en Spoorwegwet. In de voorgaande periode is de rol van de Kamer als medewetgever niet aan de orde, zo lijkt het. Dat betekent echter niet dat de Tweede Kamer geen aandacht aan de juridische vormgeving van de verzelfstandiging heeft besteed. Al tijdens het hoofdlijnendebat waarin tot verzelfstandiging wordt besloten, maar meer nog tijdens het debat over het hoofdlijnencontract in 1995 wordt ingegaan op de rol en positie van de Kamer als medewetgever tijdens het verzelfstandigingsproces (zie paragraaf 3.3 en 3.4).675
Volgens de minister is de voorgestelde aanpak waarbij wijzigingen in de relatie tussen de rijksoverheid en de NS gedurende een overgangsperiode via privaatrechtelijke contracten wordt vastgelegd gewenst voordat via wetgeving een (nieuwe) definitieve situatie wordt vastgelegd: «Wij hebben met dit contract onszelf verzekerd van de medewerking van de NS op weg naar de toekomst zoals Wijffels ons die heeft geschetst. Ik denk dat dit sneller gebeurt dan wanneer van meet af aan prematuur de inspanningen op het formuleren van wetteksten zouden zijn gericht. Ik denk dat ervaring met de uitvoering van het contract ook inzichten oplevert waar de wetgever voordeel van heeft bij de totstandkoming van goede maar ook uitvoerbare wetgeving. Samenvattend: de nieuwe verhoudingen zijn thans in hoofdlijnen contractueel overeengekomen, vooruitlopend op de totstandkoming van wetgeving. Nu moeten die contracten natuurlijk uitgewerkt worden in wetgeving.»676
Hoewel de minister benadrukt dat de Kamer tijdens het verzelfstandigingsproces het recht van medewetgeving toekomt, maar vanwege de (gekozen) aanpak van het verzelfstandigingsproces pas later in het verzelfstandigingsproces gebruik kan maken van deze rechten, laat de Kamer zich door haar argumentatie niet overtuigen. In de ogen van de Tweede Kamer wordt «een publiekrechtelijke verantwoordelijkheid privaatrechtelijk geregeld.»677 Sommige leden vrezen uitholling van het politieke primaat.678 Door de Kamer wordt een motie aangenomen waarin de minister wordt opgeroepen zo spoedig mogelijk met wetgeving te komen.679
Parallel aan de wens tot wetgeving wordt ook een motie aangenomen waarmee de Kamer invulling geeft aan de toekomstige inrichting en wordt tot twee keer toe via (aangenomen) moties aangegeven dat de uitplaatsing van de taakorganisaties gerealiseerd dient te worden.680 Daarmee is de Tweede Kamer overigens medeverantwoordelijk voor de «knip» die tussen beheer en exploitatie wordt gemaakt.681 Gedurende het wetgevingstraject vormt de positie van de taakorganisaties een van de richtpunten van de parlementaire beraadslagingen. Er wordt uitvoerig gesproken over de vorm waarin en wijze waarop de taakorganisaties worden uitgeplaatst. Voordat uitplaatsing gerealiseerd wordt, weigert de Kamer in een eerdere fase tijdens het besluitvormingsproces akkoord te gaan met de door de minister voorgestelde aandelenoverdracht, waarbij de SGP haar weigering motiveert onder verwijzing naar uitholling van de medewetgevende taak van de Kamer.682
Gedurende het wetgevingstraject blijkt uit de grote hoeveelheid vragen en opmerkingen tijdens de parlementaire behandeling van de Spoorweg- en Concessiewet dat de Tweede Kamer zeer actief betrokken is bij de totstandkoming van de wetgeving waarmee de verzelfstandiging publiekrechtelijk wordt geëffectueerd. Tijdens de behandeling van de spoorwegwet en concessiewet in de Eerste Kamer merkt de heer Wolfson (PvdA) over deze rol op: «Aan de overzijde is de behandeling al opgeluisterd met maar liefst acht nota's van wijziging, 13 brieven van de minister, een stuk of 100 amendementen en 24 moties. (...) Ongemeen veel gemeen overleg dus.»683 Tijdens de behandeling van de finale wetsvoorstellen worden in totaal 44 amendementen en 11 moties684 ingediend.685
Tegelijkertijd kan eveneens geconstateerd worden dat de bemoeienis met het wetgevingsproces niet altijd wordt volgehouden. Zo heeft de Tweede Kamer in 1995 in de vorm van de motie-Van den Berg unaniem een motie aangenomen waarin de regering wordt opgeroepen de verzelfstandiging van de NS zo spoedig mogelijk in te bedden in wetgeving,686 maar opvolging van de motie laat zeven jaar op zich wachten. Al met al is het parlementaire dossier van de «verzelfstandiging» van de NS waarschijnlijk geen schoolvoorbeeld van medewetgeving te noemen.687 De inherente complexiteit en lange duur van het verzelfstandigingstraject en de bijzondere omstandigheden op het spoor zorgen voor een bijzonder grillig verloop. Voortschrijdend inzicht maar ook de keuze voor andere (beleids)accenten leiden er diverse keren toe dat het afdwingen van eerdere moties minder prioriteit krijgt. Ook zijn er diverse wisselingen in het lidmaatschap van de vaste Kamercommissie voor Verkeer en Waterstaat en het fractiewoordvoerderschap binnen deze commissie, waardoor discussies af en toe opnieuw worden gevoerd. En tenslotte lijken Kamerleden soms terughoudend in hun rol van medewetgever vanuit de overweging dat het effectueren van een actieve rol zal leiden tot additionele vertraging in de totstandkoming van een wettelijk kader en dat in de praktijk reizigers en burgers daarmee nog minder gebaat zijn. Dat blijkt bijvoorbeeld uit de volgende woordenwisseling tussen oppositiepartijen SP en GroenLinks:688
«De heer Poppe (SP): Voorzitter. Wij zijn niet blij met deze ontwikkelingen rond Spoorweg- en Concessiewet. Ons stemgedrag is afhankelijk van de wijze waarop over een belangrijk aantal amendementen zal worden gestemd. Het feit dat er zo'n berg amendementen ligt, maakt duidelijk dat er in deze Kamer verwarring heerst. Men vraagt zich blijkbaar af hoe het hiermee verder moet.
Mevrouw Halsema (GroenLinks): Overweegt u om tegen de Concessiewet te stemmen? Vindt u in dat geval dat een concessieloze verhouding met de NS de voorkeur geniet?
De heer Poppe (SP): Dat is een dilemma.
Mevrouw Halsema (GroenLinks): Zacht gezegd, ja. Immers, in dat geval houdt uw fractie ongewild de situatie van de afgelopen jaren in stand.»
Marktwerking OV
De verzelfstandiging van de NS is onderdeel van een breder en fundamenteler beleidsvoornemen261 in de aansturing van het openbaar vervoer. De verzelfstandiging vormt onderdeel van een bredere visie op het openbaar vervoer waarbij versterking van marktwerking nadrukkelijk een rol speelt. Hoewel de minister zowel voorafgaand als tijdens het hoofdlijnendebat nadrukkelijk ingaat op de achterliggende doelen van de verzelfstandiging en aan het feit dat de verzelfstandiging onderdeel uitmaakt van een groter traject, wordt in de Tweede Kamer niet of nauwelijks aandacht geschonken aan deze koppeling en leidt dit niet tot een debat.689 De minister stelt: «Wij zitten met drie gelijk oplopende processen: de reconstructie en verzelfstandiging van de Nederlandse Spoorwegen, de decentralisatie van het stads- en streekvervoer en de ontwikkeling van de vervoerregio's. Het spreekt vanzelf, maar dat is best nog wel passen en meten, dat die zaken zoveel mogelijk gelijk op moeten lopen.»690
De Tweede Kamer gaat tijdens de parlementaire beraadslagingen zelden in op de wisselwerking tussen verzelfstandiging en andere dossiers. In plaats van een focus op hoofdlijnen besteedt de Tweede Kamer gedurende het hoofdlijnendebat over de verzelfstandiging van de NS en in reactie op het kabinetsstandpunt-Wijffels aandacht aan relatief minder grote aspecten. Daarmee verandert het zogenaamde hoofdlijnendebat in een debat over hoe te verzelfstandigen. Verschillende onderwerpen worden toegevoegd aan de verzelfstandigingsdiscussie. Hierbij kan gedacht worden aan de aandacht voor consumentenbescherming, alsook de verschillende aanvullingen die door de Kamer in december 1995 worden bedongen op het hoofdlijnencontract.
Het parlement richt zich gedurende de bestudeerde parlementaire besluitvormingsprocessen in eerste instantie primair op borging van de geïdentificeerde publieke belangen zoals tarieven, vervoersprestaties en het behouden van onrendabele lijnen en veel minder op controle en medewetgeving ten aanzien van het vraagstuk marktwerking in het gehele openbaar vervoer. De Tweede Kamer neemt genoegen met een generiek perspectief op de samenhang tussen de verzelfstandiging van de NS en de overige beleidsdossiers in het openbaar vervoer (decentralisatie en marktwerking van het regionaal-, stads-, en streekvervoer, taxivervoer) en stuurt niet actief vanuit dit perspectief. Pas als deze koppeling door de minister expliciet wordt gemaakt in het Beleidskader toelating tot het spoor en de nota De derde eeuw spoor, wordt meer aandacht besteed aan deze samenhang. Zodra wetsvoorstellen worden ingediend neemt deze aandacht verder toe.
Tijdens het debat over het hoofdlijnencontract blijkt dat marktwerking een belangrijk onderdeel uitmaakt van de verzelfstandigingsoperatie en wordt de minister gevraagd naar de mogelijkheden van marktwerking.691 Er worden in 1995 veel Kamervragen gesteld over de verwachtingen over concurrentie en ook in het Kamerdebat wordt hierover gesproken. De heer Remkes (VVD) merkt op: «Nog duidelijker dan ruim twee jaar geleden is dat voorlopig van concurrentie op het rompnet geen sprake zal zijn. Duidelijker is geworden dat het tempo van liberalisering in Europees verband minder snel gaat dan de veronderstelling die het kabinet toen hanteerde. De verwachtingen en de vormgeving daarvan zijn achtergebleven bij de verwachtingen die toen bestonden. Duidelijk is dat de kans op het ontstaan van concurrentie (...) op het rompnet zeker niet het geval zal zijn en dat daar, zeker op de middellange termijn, vooralsnog sprake is van het verzelfstandigen van een monopoliebedrijf.»692
In welke vorm concurrentie in het personenvervoer per spoor wordt geïntroduceerd is nog onduidelijk eind 1995. De Tweede Kamer gaat dus uiteindelijk met de verzelfstandiging akkoord zonder dat een fundamenteel debat heeft plaatsgehad over marktwerking en de doelen die met de verzelfstandiging worden beoogd. De specifieke vorm van marktwerking wordt pas in 1997 (brief Beleidskader toelating tot het spoor) en 1999 (nota De derde eeuw spoor) ingevuld. Oppositiepartij CDA is van mening dat «de fundamentele discussie over uitgangspunten van de marktordening [...] twee jaar eerder gevoerd [had] moeten worden.»693 Tijdens parlementaire beraadslagingen over deze beleidsnota’s wordt meerdere malen geconstateerd dat een heldere doelstelling wat met de marktwerking dient te worden bereikt ontbreekt. Door oppositiepartijen wordt gesproken over een «gebrek aan visie».
De wijze waarop de Tweede Kamer omgaat met privatisering en liberalisering verschilt qua tempo en aanpak wezenlijk van die in andere bestudeerde sectoren zoals energie waar eerst wordt geliberaliseerd en dan verzelfstandigd en geprivatiseerd. In het dossier personenvervoer per spoor is de volgorde precies andersom (zie ook hoofdstuk 7 van dit rapport)
Privatisering
Tijdens reflecties op het wetgevingsproces wijzen vele parlementariërs op de rol die onduidelijkheid rond over de keuze van het type marktwerking heeft gespeeld. Veelvuldig wordt de keuze om al dan niet tot privatisering over te gaan benoemd als aspect dat heeft bijgedragen aan de problemen op het spoor. Zo stelt de heer Eurlings (CDA) tijdens de behandeling van de spoorwegwet in 2002: «De beursgang is de grote pest geweest.»694
Privatisering van de NS heeft inderdaad gedurende een lange periode op de (interne) beleidsagenda van de politiek en de ambtelijke top van het ministerie van Verkeer en Waterstaat gestaan. Hoewel privatisering van de NS binnen het ministerie van Verkeer en Waterstaat begin jaren ’90 al wordt overwogen en als integraal onderdeel van de grotere reorganisatie van de spoorsector wordt beschouwd, duurt het tot 1999 voordat het voornemen daadwerkelijk voor het eerst in een officieel beleidsdocument verschijnt (zie beleidsgeschiedenis in paragraaf 3.2).
Anticiperend op eventuele vervolgstappen op de verzelfstandiging van de NS wordt door fracties in de Tweede Kamer geregeld stelling ingenomen in het debat rond privatisering en beursgang. Uit de parlementaire beraadslagingen wordt duidelijk dat daar waar partijen begin jaren ’90 nog gematigd optimistisch waren over marktwerking en een eventuele privatisering, dat in de loop van het verzelfstandigingsdebat steeds meer partijen privatisering expliciet afwijzen. Al tijdens het hoofdlijnendebat in september 1993 wordt door het GPV695 en GroenLinks stelling genomen tegen privatisering en eventuele beursgang van de NS. Tijdens het notaoverleg over het hoofdlijnenakkoord in december 1995 volgen de SP en regeringspartij PvdA.696 Tijdens het debat over De derde eeuw spoor volgen de SGP697 en het CDA. Daarmee zijn het CDA, GroenLinks, de SP en de SGP tegen het voornemen tot beursgang en/of privatisering.698 Tijdens de behandeling van de nota De derde eeuw spoor wordt door de heer Reitsma (CDA) een motie ingediend waarin wordt aangegeven dat «privatisering van NSR in een monopoloïde markt niet in het belang van de overheid is» en «niet aangetoond is dat privatisering de positie van de reiziger kan verbeteren.» Op basis daarvan komt de Kamer tot de conclusie dat «beursgang van NSR niet wenselijk is» en wordt de regering verzocht «hierover een nader standpunt te bepalen.»699
Geconcludeerd kan worden dat in de Tweede Kamer nooit een meerderheid voor privatisering van de NS heeft bestaan.
Een van de belangrijkste randvoorwaarden voor het slagen van het verzelfstandigingsproces vormt het op afstand zetten van politiek van de spoorsector. Zowel door de commissie-Wijffels700 als de toenmalige minister701 wordt aandacht besteed aan de rol van het parlement in deze nieuwe, voorgestelde relatie. Hoewel het de bedoeling was dat het parlement zich minder intensief zou bemoeien met het personenvervoer, kan op grond van de bestudeerde dossiers geconstateerd worden dat deze bemoeienis eerder toe- dan afgenomen is. Met name als sprake is van toenemende problemen op het spoor (culminerend in de periode 2000–2002) wordt in de parlementaire beraadslagingen meer tijd besteed aan deze ontwikkelingen en verdringt dat onderwerpen in de beraadslagingen die tot doel hadden om de verzelfstandiging te realiseren. Op zichzelf is deze toenemende bemoeienis ook verklaarbaar. Deze gebeurtenissen voeden de parlementaire irritatie en geven aanleiding tot veel vragen, maar verdringen ook de meer fundamentele beraadslagingen die rond het verzelfstandigingsproces gevoerd hadden kunnen worden.
Opvallend is ook dat de Kamer zichzelf over dit onderwerp niet vaak de maat neemt. Als uitzondering kan gewezen worden op een opmerking van de heer Van Walsum (D66): »Bij de aanpak van de problemen op het spoor door de NS-directie is de bemoeienis van de Kamer een hinderlijk obstakel (...). De Kamer heeft in principe geen bevoegdheden inzake het spoorwegvervoer, maar stelt wel kritische vragen en heeft allerlei wensen. Niet vergeten moet worden dat de raad van bestuur en de raad van commissarissen verantwoordelijk zijn voor het functioneren van de NS [... en ...] dat de Kamer een oplossing van de problemen bij de NS in de weg staat.»702
Hoewel in de beraadslagingen vele andere voorbeelden te vinden zijn, zullen twee voorbeelden worden aangegeven. Allereerst verzoekt de Tweede Kamer de minister te bezien in hoeverre de rijksoverheid in staat is om een rookverbod in de treinen van de NS af te dwingen: «In het algemeen is het van belang te weten hoe ver de sturingsmogelijkheden van de rijksoverheid gaan, bijvoorbeeld ten aanzien van de dienstverlening aan het publiek. Heeft de overheid in dat kader mogelijkheden om een rookverbod door te voeren in het openbaar vervoer en dus ook in de trein? Is de minister bereid, gelet op de overlast door roken en de onmogelijkheid om zich in de trein geheel aan de vuile lucht te onttrekken, de wens van een rookverbod mee te nemen bij de komende onderhandelingen met de NS?»703
Als tweede voorbeeld van medebestuurderschap noemen we de beraadslagingen rondom het voornemen van de NS om in 2002 tot tariefverhoging over te gaan. Inmiddels is na de verkiezingen van 2002 een nieuw kabinet en daarmee een nieuwe minister (De Boer, LPF) aangetreden. De NS is voornemens om de tarieven eind 2002 en halverwege 2003 te verhogen met in totaal ongeveer 10 procent.704 De tariefverhoging valt binnen de bandbreedte van het geldende overgangscontract en er zijn geen bepalingen opgenomen wanneer de tariefstijging mag plaatsvinden. De minister geeft aan dat de onvrede over de tariefverhogingen met de NS is besproken en besloten is de afspraken rond de tariefverhogingen in de toekomstige concessie nader te regelen. In de Tweede Kamer bestaat weerstand tegen dit idee, gegeven de prestaties in voorgaande crisisperiode op het spoor. In reactie op het ongenoegen past de NS haar plannen aan door de tariefverhoging uit te stellen tot 31 december en vervolgens in juli van het jaar erna nogmaals een tariefverhoging aan te kondigen. Tijdens een algemeen overleg in de Tweede Kamer op 1 oktober 2002 wordt gesproken over de aangekondigde prijsverhogingen van de NS en het nieuwe contract dat met de NS moet worden gesloten.705 Binnen de Kamer bestaat onvrede over de hoogte van de prijsverhoging en de wijze waarop de NS via fasering tracht te voldoen aan de bepalingen uit het overgangscontract. De Tweede Kamer is verbolgen over het voornemen en meent dat sprake is van contractbreuk.706 Verschillende partijen wensen opheldering of de NS de prijsverhogingen kan doorzetten en wat de instrumenten van de minister zijn. De minister geeft aan dat in afwachting van behandeling van de wetsvoorstellen door de Eerste Kamer het Overgangscontract II het juridisch kader vormt tussen de Staat en de NS. Verlenging van dat contract is op korte termijn gewenst omdat de vertraging in de behandeling van de wetsvoorstellen in de Eerste Kamer de NS anders nergens aan gebonden is. Hoewel de minister van oordeel blijft dat de voorgenomen tariefverhoging contractueel niet aangevochten kan worden, geeft de minister aan dat de opmerkingen van de Kamer doorgeleid zullen worden. Pas als de concessiewet is aangenomen, zo geeft de minister nogmaals aan, heeft de overheid de beschikking over adequate sturingsinstrumenten.707
Het onderwerp blijft de Kamer echter sterk bezighouden.708 Een Kamermeerderheid – de VVD, D66, het CDA, de SP en de LPF – is tegen de tariefverhoging en is van mening dat de minister actie moet ondernemen. De PvdA en GroenLinks dreigen met het indienen respectievelijk het in stemming brengen van moties als de minister geen stappen onderneemt.709 Mevrouw Kant (SP) pleit voor het terugdraaien van de verzelfstandiging van de spoorwegen en het herinvoeren van democratische controle aangezien «[d]e verzelfstandiging van de NS heeft immers geen verbetering voor de reiziger [heeft] gebracht.»710 Volgens de VVD heeft de minister «met de steun van de gehele Kamer, voldoende gezag om te zorgen dat er geen prijsverhoging komt in het jaar 2002.»711 De minister geeft aan «niet vrolijk» te worden van de kritiek van de Kamer en erkent dat sprake is van serieuze problemen. Helaas is het overgangscontract niet zo eenduidig.712 De minister geeft aan als boodschap uit de Kamer mee naar de NS te nemen «dat er geen sprake zal zijn van een gesprek, maar van een mededeling aan de NS over hoe de zaken in elkaar steken.» De minister stelt daarop de NS in gebreke.713
Deze voorbeelden laten zien dat, bij gebrek aan wettelijke sturingsinstrumenten, het parlement op andere manieren toch invloed probeert uit te oefenen op bepaalde aspecten van het reizigersvervoer, met name aspecten die directe belangen van burgers raken.
Voor de uitoefening van haar rol als controleur van de regering zijn informatie en informatievoorziening voor het parlement van cruciaal belang. De bestudeerde parlementaire beraadslagingen laten zien dat in beide Kamers doorgaans een actieve behoefte aan informatie bestaat en dat de informatiepositie gedurende het bestudeerde traject in de ogen van de parlementariërs menigmaal voor verbetering vatbaar is. Op basis van de bestudeerde beraadslagingen zijn ten aanzien van de informatievoorziening de volgende conclusies te trekken.
Vertrouwelijke informatie
In de periode waarin de minister de contouren van het verzelfstandigingsproces uitwerkt met de NS vormt de informatievoorziening aan het parlement een serieus probleem. Al tijdens het hoofdlijnendebat in september 1993 wordt door Kamerleden aangegeven dat zij graag tussentijds over de (voortgang) in de onderhandelingen met de NS op de hoogte worden gehouden.714 Op meerdere momenten wordt door de minister aangegeven dat zij hiertoe bereid is.715 En hoewel leden van de Tweede Kamer gedurende deze periode door de minister actief worden betrokken bij het verzelfstandigingsproces, blijkt dat sprake is van de nodige problemen rondom de informatievoorziening.
Door de in augustus 1994 aangetreden minister van Verkeer en Waterstaat, mevrouw Jorritsma-Lebbink, wordt de Tweede Kamer tussen september 1994 en mei 1995 tenminste drie keer tijdens een besloten zitting vertrouwelijk geïnformeerd over de voortgang van de onderhandelingen met de NS. Hiervan zijn geen verslagen aangetroffen. Over de informatiepositie van het parlement en de beraadslagingen gedurende de periode september 1994 tot begin 1995 kunnen derhalve geen specifieke uitspraken worden gedaan. Zowel over de inbreng van het parlement in het overeengekomen Hoofdlijnenakkoord als ten aanzien van de positie van onrendabele lijnen bestaat echter onduidelijkheid (zie ook paragraaf 3.3).
De minister is als gevolg van de keuze voor de privaatrechtelijke contractvorm ook niet altijd in staat om de Kamer van alle informatie te voorzien. Tijdens het debat over het hoofdlijnenakkoord geeft de minister aan omwille van haar onderhandelingsruimte niet te veel te kunnen vertellen over haar motieven.
Daarnaast holt de vertrouwelijke informatievoorziening ook de controlerende functie van de Kamer uit. De Kamer kan vertrouwelijke informatie niet inbrengen tijdens het openbare parlementaire besluitvormingsproces. Dit leidt gedurende de parlementaire beraadslagingen op een aantal momenten tot praktische problemen. Zo leidt de restrictieve omgang met (bedrijfsgevoelige) informatie van de NS tot onvrede bij de Tweede Kamer als blijkt dat het onderzoeksbureau dat door de minister is ingesteld niet openbaar over haar onderzoek over de onrendabele lijnen kan rapporteren (zie paragraaf 3.3). Kamerlid Reitsma (CDA) geeft eind 1995 aan «(...) dat de Tweede Kamer, zeker in de aanloopfase naar dit debat, gebrek had aan feitelijke informatie en dus niet in staat werd gesteld om een fatsoenlijk debat te voeren over het contract, met alle gevolgen van dien.»716
Tijdsdruk en vertraging
Een belangrijk aspect in relatie tot de informatiepositie van de Tweede Kamer betreft de factor tijd; die speelt op twee manieren een belangrijke rol in de bestudeerde parlementaire beraadslagingen.
Ten eerste, is regelmatig sprake van tijdsdruk en deadlines. Parlementariërs geven herhaaldelijk aan informatie pas laat te ontvangen waardoor zij niet in staat zijn zich een serieus oordeel te vormen over de kabinetsvoorstellen. Als voorbeeld kan gewezen worden op het hoofdlijnencontract, met name rond de onrendabele lijnen en de ingangsdatum van het contract.717 Tijdsdruk speelt eveneens een rol tijdens de voorstellen tot overname van aandelen van de taakorganisaties door de Staat.718 De korte beslissingstermijn die de Kamer rest wordt door veel Kamerleden als «onverantwoord» bestempeld.719
Maar vertragingen spelen ook een belangrijke rol in de bestudeerde parlementaire beraadslagingen. Daar waar de minister tijdens het plenaire debat in het hoofdlijnendebat nog uitgaat van een periode van vier tot zes jaar voordat sprake is van een verzelfstandigde organisatie blijkt het wetgevingsproces tien jaar te duren. De vertraging begint tijdens de ondertekening van het hoofdlijnencontract. Zo wordt het contract tussen de minister en de NS niet zoals gepland in februari 1994 maar pas in juli 1995 getekend.720 Het gevolg is dat direct sprake is van tijdsdruk op de vervolgstappen in het besluitvormingsproces. Het belang van deadlines neemt toe naarmate zich meer onverwachte vertragingen voordoen tijdens het besluitvormingsproces en naarmate meer wordt heroverwogen. In dit dossier blijken planningen en doelstellingen veelvuldig niet te kunnen worden gehaald.721 In 2000 geeft de minister de volgende motivering voor de opgetreden vertragingen: «Op dit moment ontbreekt een duidelijk wettelijk kader, het systeem is in belangrijke mate gebaseerd op een combinatie van overgangscontracten en gewoonterecht. In 1995 is bij de verzelfstandiging deze situatie geaccepteerd met de bedoeling zo snel mogelijk, maar in ieder geval voor januari 2000 met wetgeving te komen. Onder meer door inhoudelijke heroverwegingen is dit niet (tijdig) gebeurd».722
Paradoxaal genoeg vormen de vertragingen tegelijkertijd een krachtig instrument om het parlement aan te sporen om een besluit te nemen. De minister roept de Kamer op krachtig de regeringsvoorstellen inzake het prestatiecontract en de uitplaatsing goed te keuren en waarschuwt voor de consequenties van een eventuele afwijzing: tijdsverlies, verlies aan dynamiek en het voortbestaan van een relatief zwakke positie van de minister versus de NS (zie paragraaf 3.3).723 Ook gebruikt de minister de vertragingen in het dossier regelmatig in de overwegingen, zoals bijvoorbeeld bij de herbezinningsbrief of de verwijzingen naar de voortgang (of gebrek daaraan) bij de implementatie van EU-regels. Een derde voorbeeld is te terug vinden in de nota De derde eeuw spoor (p. 19). Daarin wordt aangegeven dat de oorspronkelijk (bijgestelde) datum van 1 januari 2001 voor het wettelijk regime niet tot stand komt; dat wordt later.
Eigen onderzoek
Tijdens de bestudeerde parlementaire beraadslagingen wordt door de Tweede Kamer eigen onderzoek verricht in aanvulling op de informatie die de minister verstrekt.
In opdracht van het presidium van de Tweede Kamer wordt ter voorbereiding op de plenaire behandeling van het hoofdlijnenakkoord tussen de NS en de Nederlandse Staat onderzoek verricht naar het contract en de positie van de onrendabele lijnen (zie paragraaf 3.3). Het parlement besluit tot dit onderzoek om zich te kunnen voorbereiden op het debat over het hoofdlijnenakkoord en omdat informatie over de wijze waarop de overheid en de NS omgaan met de zogenaamd onrendabele lijnen uitblijft.724 De uitkomsten uit het onderzoek worden door met name de oppositie gebruikt tijdens het debat over het hoofdlijnenakkoord. De kritische opstelling van Kamerfracties tijdens het debat over de hoofdlijnenovereenkomst in het parlementaire proces noodzaakt de minister om een aantal additionele aspecten in het contract op te nemen.
Ook rond de uitplaatsing van de taakorganisaties wordt door de Kamer onafhankelijk onderzoek uitgevoerd naar de concessieverlening op het hoofdrailnet. In 2001 laat de vaste Kamercommissie voor Verkeer en Waterstaat van de Tweede Kamer in 2001 een second opinion uitvoeren naar aanleiding van de voorgenomen ondertekening van Overgangscontract II. Dit «Onderzoek Concessie Hoofdrailnet» heeft tot gevolg dat de behandeling van de Concessiewet en de Spoorwegwet wordt uitgesteld.725
Tijdens het verzelfstandigingsdossier wordt door verschillende fracties op verschillende momenten aangegeven dat een eigen onderzoek naar de gang van zaken wenselijk is.726 Geconcludeerd kan worden dat hoewel de onderzoeken nuttig zijn, geen bijzondere of doorslaggevende conclusies worden getrokken tijdens de parlementaire beraadslagingen. Het uiteindelijke effect op de parlementaire beraadslagingen van de onderzoeken is derhalve klein.
De Europese dimensie
Ten aanzien van het initiële besluit tot verzelfstandiging kan gesteld worden dat de Europese ontwikkelingen die een sleutelrol in de argumentatie van de minister voor verzelfstandiging vormen door de Kamer grotendeels als gegeven worden beschouwd. Zelfs gedurende het tweejarige traject waarin het hoofdlijnendebat via de voorstellen van de minister wordt uitgewerkt in het hoofdlijnenakkoord, vindt door de Kamer nauwelijks reflectie plaats op de precieze doelstellingen en eisen vanuit Europa. Uiteraard worden vragen gesteld en in de externe rapportage die door de Kamer wordt aangevraagd in het kader van de analyse van het hoofdlijnencontract vormt de Europese dimensie komt het onderwerp ter sprake, maar een debat over de betekenis hiervan blijft uit (vgl. paragraaf 3.3).
Als voorbeeld kan gewezen worden op de wijze waarop tijdens het hoofdlijnendebat in 1993 wordt gesproken over de Europese dimensie, nadat de minister heeft aangegeven dat de EG Nederland via richtlijnen dwingt tot het introduceren van concurrentie in het spoorvervoer:
«De heer Wolffensperger: Ik heb altijd wat moeite met de gemakkelijke opmerking: «De EG dwingt ons.» Daar bent u toch zelf bij? Het beleid dat wij hier in Nederland formuleren, kunt u in de Transportraad dan toch vertalen in de richtlijnen? Vervolgens krijgen wij die weer terug. Niemand dwingt ons! U bent erbij!
Minister Maij-Weggen: Daar heeft u gelijk in, maar er wordt wel met twaalf collega's gestemd. Op dit vlak bestaat echter een grote mate van overeenstemming over het inzetten van een lijn in de richting van een ander spoorvervoersbeleid dan tot nog toe het geval is geweest. (...) Ik weet dat dit een algemeen gevoelig punt is. Na Maastricht, dat de Kamer zelf heeft goedgekeurd, zal het echter toch wel eens gebeuren dat Europa dwingt tot beleid, ook al wordt er hier misschien iets anders over gedacht.»727
Dit patroon herhaalt zich tijdens de besluitvorming over de inrichting van de taakorganisaties. Ook hier spelen ontwikkelingen in Europa op het terrein van regelgeving en beleidsontwikkeling een belangrijke rol. Door verschillende opeenvolgende ministers wordt op zeer verschillende wijzen gerapporteerd over de Europese dimensie.
Gedurende de onderzochte besluitvormingstrajecten wordt in de argumentatie door de minister een zeer wisselend beroep gedaan op Europa. In 1993 en in 1999 vormen Europese ontwikkelingen en beleidsvoornemens juist een argument en aanjager voor de introductie van marktwerking. Anderzijds is de expliciet (aanhoudende) onzekerheid ten aanzien van liberalisering van de spoorsector in Europa als reden voor vertraging.728 Ook tijdens de periode van herbezinning bestaat onduidelijkheid over de ontwikkelingen in Europa (zie hierboven). Daarmee wordt Europa zowel gebruikt in argumenten om besluitvorming te versnellen, maar ook om te vertragen (zie ook hierboven over factor tijd).
Uit deze houding blijkt ook dat de Europese dimensie complex is en niet als lineaire constante dient te worden beschouwd. Een deel van de vertraging en afwachtende houding van de minister in de periode 1995–1999 kan verklaard worden door (het uitblijven van) Europese ontwikkelingen op het gebied van liberalisering.
Minister Maij-Weggen en na haar andere ministers wijzen bovendien op de betrekkelijkheid van de Europese ervaringen in andere landen: «De EG zal overigens nooit anders doen dan hoofdrichtlijnen vaststellen. Dan zal per land worden bekeken hoe men er het beste mee uit de voeten kan. Daarom is het onmogelijk om te zeggen: wij maken een kopie van dit land, of wij maken een kopie van dat land.»727 Hoewel Europese regelgeving in de argumentatie van de minister een belangrijke rol lijkt te spelen, wordt in de praktijk tijdens de parlementaire beraadslagingen maar relatief weinig aandacht besteed aan de ervaringen en liberaliseringsprocessen elders op het spoor.
Contact tussen de NS en het parlement
Hoewel de informatiestromen doorgaans via de minister richting parlement verlopen, zijn ook voorbeelden gevonden van momenten waarop meer rechtstreekse contacten bestaan tussen de NS en het parlement. Met name gedurende de eerste periode blijkt deze methode een vruchtbare wijze van communicatie te zijn die het Tweede Kamerleden mogelijk maakt om nog enige invloed uit te oefenen op de uitkomst van de onderhandelingen tussen de minister en de NS. Deze onderhandelingen voltrekken zich verder grotendeels buiten de directe invloedssfeer van het parlement omdat de vorm en uitgangspunten van de verzelfstandiging in eerste instantie via privaatrechtelijke contracten met de NS worden vastgelegd (zie paragraaf 3.2 en 3.3).
Tijdens debatten over het verzelfstandigingsproces en in het bijzonder over het Hoofdlijnenakkoord wordt door sprekers op meerdere momenten verwezen naar de aanwezigheid van de NS op de publieke tribune729 en wordt zowel door minister als Kamerleden tijdens het debat indirect met de NS gecommuniceerd over belangrijke onderdelen in het contract.730
Tijdens de voorbereiding op de behandeling van wetsvoorstellen is ook tussen de Eerste Kamerleden en de NS-directie contact geweest. Zo wordt op 17 juni 1997 ter voorbereiding van een wetsbehandeling door de Eerste Kamer door de raad van bestuur van de NS een bezoek afgelegd aan de commissie voor Verkeer en Waterstaat.731
Naast deze vormen van contact zijn er ook contacten tussen de NS en Kamerleden732 in de vorm van bilaterale gesprekken, brieven733 of open brieven zoals bijvoorbeeld tijdens het debat over de Beleidskader toelating tot het spoor.734 Tijdens het notaoverleg van de nota De derde eeuw spoor wordt aangegeven dat de Kamer ook brieven heeft ontvangen van de taakorganisaties over het voornemen tot uitplaatsing.735
Dat dergelijke contacten invloed hebben op de afwegingen van parlementariërs blijkt bijvoorbeeld uit een uitspraak van mevrouw Halsema (GroenLinks): «Het is door de dringende oproep van de vele betrokkenen bij het openbaar treinvervoer, van de NS tot de reizigersorganisaties, dat rust, stabiliteit en continuïteit nu vooral belangrijk zijn dat wij met deze wetsvoorstellen – ik spreek met name over de Spoorwegwet – toch maar enigszins contre coeur, als gereed voor parlementaire behandeling beoordelen.»736
Contracten
Een bijzondere rol in het verzelfstandigingproces van de NS is weggelegd voor de contracten die met de verzelfstandigde NS worden gesloten. Op verschillende momenten gedurende het verzelfstandigingsproces worden door de minister overeenkomsten gesloten met de NS.
Wat precies de overwegingen zijn van de minister om gedurende de overgangsperiode een sturingsrelatie alleen op basis van contracten op te bouwen valt uit de parlementaire beraadslagingen niet op te maken. Wel valt op dat al in het advies van de commissie-Wijffels wordt gesproken over contracten.737 Duidelijk is dat al tijdens het hoofdlijnendebat in september 1993 en derhalve voordat besloten wordt over het hoofdlijnencontract, door een groot aantal fracties wordt aangegeven dat alleen een contract tussen minister en de NS onvoldoende is om enkele belangrijke maatschappelijke belangen te behartigen (zie paragraaf 3.3 en 3.4).
De afspraken in de privaatrechtelijke sfeer creëren een aantal problemen. Als gevolg van de gekozen (privaatrechtelijke) wijze van borging en aansturing komt veel nadruk te liggen op de aansturingsvorm. Het tijdelijke karakter van deze contractuele aansturingsvorm gedurende de overgangssituatie creëert tijdsdruk. Bovendien zorgt de uitgangssituatie voor een lastige positie; de NS heeft als staatsbedrijf en eigenaar van de spoorweginfrastructuur een bijzondere uitgangspositie gedurende de onderhandelingen. De minister merkt hierover op: «Wij moeten ons goed realiseren dat de NS natuurlijk een positie heeft. Het is geen bedrijf zonder enige macht of invloed op dit moment. Vanuit de oude situatie heeft de NS een bepaalde positie. Wij gaan die nu veranderen en als wij aan het einde van de rit graag nog veranderingen willen, maar de NS zou daar niets voor voelen, dan is er weer een onderhandelingspositie aan de orde. Zo werkt dat nu eenmaal met een bedrijf dat je hebt.»738 Tijdens het hoofdlijnendebat geeft de minister aan dat met name rond het vraagstuk van de eigendom van de infrastructuur de NS als contractpartner grote beperkingen oplegt: «Ik moet wel zeggen dat, nog meer dan bij de uitplaatsing van de taakorganisaties, uitplaatsing van eigendom van de infrastructuur mijns inziens niet goed mogelijk is zonder medewerking van de Nederlandse Spoorwegen. De juridische middelen voor uitplaatsing van de eigendomssituatie zijn heel beperkt en overigens is ook het effect daarvan weer discutabel. Het betreft zeer ingrijpende middelen, waarvan de toepassing slechts onder uitzonderlijke omstandigheden mogelijk is. (...) Ik wijs erop dat alle infrastructuur in het normale bezit van de Nederlandse Spoorwegen was. In de nieuwe verhoudingen hebben wij het bezit zodanig geregeld, dat in elk geval de publieke taken van de overheid goed kunnen worden georganiseerd. (...) Ik vind inderdaad zelf ook dat het bezit misschien wel beter bij de rijksoverheid zou kunnen berusten. Dat is tot nu toe niet de opvatting van de Nederlandse Spoorwegen en ik heb aangeven wat de consequenties zouden zijn als je het met alle juridische middelen toch zou willen afdwingen.»739
Een van de redenen voor vertraging in de uitwerking van de verzelfstandiging is dat bij de NS weerstand bestaat om over te gaan tot afsplitsing van de taakorganisaties:740 «Positionering buiten de holding [was] voor de NS geen aanvaardbare optie, omdat de eigendom dan te zeer in de invloedssfeer van de overheid zou komen.»741
De minister geeft toe dat «[b]ij het hele verzelfstandigingsproces van de NS de grote grondfout is dat er geen goede wetgevingsbasis is. Daardoor ontstaan er iedere keer problemen.» De heer Van den Berg (SGP) merkt op: «Voortdurend merk ik in de discussie dat de minister zich afhankelijk stelt van onderhandelingssituaties en zegt: daar hebben wij de medewerking van de NS voor nodig. Maar dan kom ik bij mijn meer fundamentele vraagstelling, of deze operatie, die toch duidelijk publieke aspecten heeft en daarmee ook via publiekrechtelijke weg geregeld zou moeten worden, niet veeleer een wetgevingsoperatie eist. Voor dit soort punten is dat zeer essentieel, want ik proef nu een benadering die ik op zich wel begrijp, maar waarvan ik me afvraag of dat vanuit de publiekrechtelijke verantwoordelijkheid de meest juiste invalshoek is. Ik kan best begrijpen dat de minister zegt: via die weg kom ik misschien het verst op dit moment. Maar als wij praten over een zuivere afbakening van verantwoordelijkheden en bevoegdheden van overheid en spoorwegbedrijf, dan vraag ik mij af waarom de minister het wetgevingsinstrument zo ver weg plaatst als zij dit nu doet.»742
De minister geeft aan dat dat wat haar betreft de noodzaak om zaken contractueel te regelen voortvloeit uit de bestaande verhoudingen: «Kijk, wij zaten in een bepaalde verhouding met de Nederlandse Spoorwegen; een overigens zelfstandig bedrijf, zij het met 100% van de aandelen bij de rijksoverheid, hetgeen vooralsnog ook zo moet blijven. Als je dan naar een andere verhouding met zo'n bedrijf toe gaat, is het eerste wat je moet doen, daarover onderhandelen met dat bedrijf. Dat is niet iets dat je als wetgever in je eentje kunt beslissen.»743 De minister geeft aan het eens te zijn met de noodzaak voor wetgeving: «Alleen al de implementatie van Europese richtlijnen brengt de noodzaak van wetgeving mee. Het gaat om de functies infrabeheer, toedeling van verkeersleiding, gebruiksheffing, toegangsrechten, derde vervoerders, vergunningen, veiligheidsattesten etcetera. De Europese richtlijn brengt de noodzaak van een heel vernieuwd juridisch kader met zich mee. Ook vanuit het oogpunt van het beginsel van de wetmatigheid van bestuur dient wetgeving tot stand te worden gebracht. Dat beginsel brengt mee dat de uitoefening van overheidstaken op een wettelijke grondslag moet berusten uit een oogpunt van rechtszekerheid en bescherming van rechten van derden. Voorts brengt de beoogde exclusieve positie van de taakorganisaties de noodzaak van een wettelijke uitvoeringsplicht mee als keerzijde van exclusiviteit. De wetgeving verankert de sturingsrelatie tussen de rijksoverheid en de taakorganisatie op een publiekrechtelijke basis in plaats van een privaatrechtelijke basis». De minister concludeert: «Aan de orde is dus niet zozeer de vraag naar contract of wetgeving, maar de vraag of het zinnig is om vooruitlopend op wetgeving een contract als het onderhavige af te sluiten. Ik heb eerlijk gezegd net al aangegeven waarom ik denk dat het niet anders zal kunnen en waarom het wenselijk is. Wij hebben met dit contract onszelf verzekerd van de medewerking van de NS op weg naar de toekomst zoals Wijffels ons die heeft geschetst. Ik denk dat dit sneller gebeurt dan wanneer van meet af aan prematuur de inspanningen op het formuleren van wetteksten zouden zijn gericht. Ik denk dat ervaring met de uitvoering van het contract ook inzichten oplevert waar de wetgever voordeel van heeft bij de totstandkoming van goede maar ook uitvoerbare wetgeving. Samenvattend: de nieuwe verhoudingen zijn thans in hoofdlijnen contractueel overeengekomen, vooruitlopend op de totstandkoming van wetgeving. Nu moeten die contracten natuurlijk uitgewerkt worden in wetgeving.»744 Bovendien is volgens de minister sprake van een overeenkomst die mogelijkheden open laat. Artikel 18 lid 1 van het Openbare dienstcontract stelt: «deze overeenkomst beperkt de Staat op geen enkele wijze in zijn bevoegdheid om langs publiekrechtelijke weg regels te geven, welke verband houden met een publiek belang, die in deze overeenkomst geregelde onderwerpen raken of die in deze overeenkomst aangegane rechten of verplichtingen geheel of gedeeltelijk ter zijde stellen.»745 De minister geeft later in de herbezinningsbrief in 2001 aan: «In een situatie als deze lijken twee goede praktische wegen open te staan. De eerste is het maken van een tijdelijke wet, het tweede is het maken van een wet die naar alle opties kan doorgroeien, maar in zichzelf weliswaar sober, maar ook volledig en stabiel is. Op voorhand is de tweede optie altijd te prefereren indien dit technisch haalbaar en uitvoerbaar is. Dit laatste blijkt het geval. Hiertoe is het voorliggend wetsvoorstel ontdaan van elementen van reorganisatie en structuurverandering die het in zich had.»746
In eerste instantie wordt een hoofdlijnenovereenkomst gesloten met de NS voor de periode 1995–2000. Tijdens deze overgangsperiode zou de uitwerking van overeenkomst ertoe leiden dat de benodigde wet- en regelgeving kon worden opgesteld. Deze inschatting blijkt onhaalbaar. Daarna wordt een Overgangscontract II gesloten voor de duur van een jaar. Al snel blijkt dat de bepalingen in het overgangscontract onhaalbaar zijn. Als de minister als gevolg van vertragingen in het beleidsproces van zins is om het prestatiecontract als een (pre-)concessie te gunnen, grijpt de Kamer in. De minister wordt duidelijk gemaakt dat geen contracten of concessies worden gegund voordat sprake is van een juridisch kader. Als gevolg hiervan wordt het tijdelijk Overgangscontract II verlengd voor de periode van een half jaar. Maar ook dit blijkt te kort vanwege vertragingen bij de behandeling van de Concessiewet. Als gevolg hiervan is de minister genoodzaakt voor de derde keer over te gaan tot verlenging van het contract.
Met name gedurende de periode waarin sprake is van een crisissituatie op het spoor blijkt dat rond de prestatiecontracten onduidelijkheden leven. Het parlement worstelt op verschillende momenten met de eisen in het prestatiecontract.747 Met name ook omdat door de NS en de minister wordt overeengekomen om enkele onderdelen van het prestatiecontract geen invulling te geven omwille van rust en herstel in deze periode van crisis op het spoor. Zo wordt afgezien van nieuwe prestatie-eisen op het terrein van punctualiteit en reizigersgroei in de spits, waarmee de sturingsrelatie wordt uitgehold. De minister geeft aan dat in de concessie «passende bepalingen en wettelijke voorschriften» dienen te worden opgenomen om de sturingsrelatie te verbeteren. Het bevreemdt de Kamer dat ondanks dat er sprake is van een prestatiecontract bepaalde afspraken kennelijk niet gelden. De heer Van den Berg (SGP) merkt op: «Onlangs heeft de WRR gesignaleerd dat publieke belangen bij liberaliserings- en privatiseringsprocessen te vaak sluitpost zijn. Moeten de minister en de Kamer hieruit geen lessen trekken? Hebben de minister en de Kamer eigenlijk wel voldoende grip gehad op het hele proces van liberalisering en privatisering? De heer Van den Berg was van mening dat de borging van publieke belangen primair via wetgeving, dus publiekrechtelijke instrumenten, dient plaats te vinden en niet via concessies en contracten.»748
In november 2000 gaat de Tweede Kamer niet langer akkoord met uitstel van wetgeving. De minister kondigt aan wetsvoorstellen te zullen indienen, maar verdedigt de tot dan toe gehanteerde werkwijze: «De ratio achter de maatregelen was om eerst ervaring met de geheel nieuwe structuur op te doen voordat tot een definitieve publiekrechtelijke regeling zou worden overgegaan. Als de Kamer deze visie niet deelt en hier niet mee instemt, dan zal haar wens worden gevolgd (...) maar dan moet zij zich wel realiseren dat hierdoor de broodnodige dynamiek in het veranderingsproces wordt ondermijnd en veel kostbare tijd verloren zal gaan. (...) Een pas op de plaats, te weten het doen vervallen van de hoofdlijnenovereenkomst met de Nederlandse Spoorwegen, zal de mogelijkheden tot sturing van de minister ten opzichte van deze laatste sterk verslechteren.»749
Over de rol van de Eerste Kamer tijdens de bestudeerde hervormingsprocessen kan een gevarieerd beeld worden geschetst. Wanneer de rol van het parlement ten aanzien van de het initiële besluit tot verzelfstandiging wordt geanalyseerd, kan geconcludeerd worden dat de Eerste Kamer tijdens het overgrote deel van de parlementaire beraadslagingen geen rol speelt omdat wetgeving in eerste instantie achterwege blijft (zie paragraaf 3.3). Aangezien het besluit tot verzelfstandiging niet via wetgeving wordt gerealiseerd, wordt in de Eerste Kamer via een ander wetgevingsdossier – een technische en beleidsarme wetswijziging van de Spoorwegwet aan Europese regelgeving – vanaf februari 1996 voor het eerst gesproken over de verzelfstandiging van de NS.750 Opvallend genoeg wordt in de beraadslagingen van de Tweede Kamer niet ingegaan op de consequenties van deze aanpak – het gebruik van privaatrechtelijke contracten – voor de rol van de Eerste Kamer.
Een plenair debat met de minister over de verzelfstandiging vindt pas in november 1997 plaats.751 Pas vijf jaar nadat het onderwerp verzelfstandiging in de Tweede Kamer ter sprake komt, kan de Eerste Kamer reflecteren op de beleidsvoorstellen van de minister. Tijdens het plenaire debat geven meerdere Senatoren uiting aan hun ongenoegen over deze gang van zaken.752 Zo stelt de heer Baarda (CDA): «Wij hebben de stellige indruk dat reeds een weg is ingeslagen die onomkeerbaar zal blijken te zijn en dat de Eerste Kamer bij toekomstige wettelijke regelingen voor een voldongen feit zal komen te staan. Dat geeft precies de kern aan van de aarzeling van de vaste commissie voor Verkeer en Waterstaat bij de behandeling van dit wetsvoorstel. Veel zaken zijn reeds in nota’s geregeld, zonder dat daar wetgeving op is gevolgd.»753
Door de minister wordt in antwoord op vragen van de Eerste Kamer beargumenteerd dat in de relatie tussen de NS en de rijksoverheid voor de Eerste Kamer een medewetgevende taak is weggelegd.754
Ten aanzien van de uitplaatsing van de taakorganisaties kan een belangrijke rol voor de Eerste Kamer worden onderscheiden. Via de wetsvoorstellen voor een nieuwe Spoorwegwet en een daarbij behorende Concessiewet wordt de uitplaatsing van de taakorganisaties juridisch uitgewerkt en vastgelegd. Het parlementaire wetgevingstraject wordt pas vanaf 2000 ingezet en pas vanaf juli 2002, na behandeling door de Tweede Kamer, kunnen de wetsvoorstellen in de Eerste Kamer worden behandeld. De behandeling van beide wetten wordt echter pas in mei 2003 afgerond.755 Door de Eerste Kamer wordt gedurende deze periode intensief onderzoek gedaan naar en gereflecteerd op de wetsvoorstellen (zie paragraaf 3.2.).
Naast kritiek op het grillige wetgevingsproces en de inhoudelijke kwaliteit van de wetgeving,756 roept de Eerste Kamer op tot zorgvuldig onderzoek naar de wijze van institutionele inrichting van het spoor; de Eerste Kamer benadrukt het belang van evaluaties om het verzelfstandigingsproces op koers te houden. De afwezigheid van criteria op basis waarvan de verzelfstandiging wordt vormgegeven en de keuze die gemaakt dient te worden wordt ten aanzien van de uitplaatsing van de taakorganisaties wordt daarmee aan de orde gesteld. Daarmee bespreekt de Eerste Kamer een cruciaal element uit het advies van de commissie-Wijffels dat tijdens het behandelingsproces in de Tweede Kamer uit het oog is verloren (zie paragraaf 3.5). De Eerste Kamer verzoekt de minister per Kamerbreed aangenomen motie757 om als onderdeel van de evaluatie van de spoorwegwetgeving in 2006 expliciet verschillende potentiële organisatievormen van de inrichting van de taakorganisaties op het spoor te analyseren (zie motie-Wolfson).758 Met deze motie beoogt de Senaat de minister en de sector in staat te stellen om de «bevroren» situatie op het spoor weer te normaliseren.
Het parlement en meer in het bijzonder de Tweede Kamer heeft haar rol als medewetgever gedurende het gehele periode zo actief mogelijk vervuld. Het duurt echter lang voor er sprake is van wetgeving, waardoor het parlement lange tijd haar rol als medewetgever niet optimaal kan vervullen. Al tijdens het hoofdlijnendebat waarin tot verzelfstandiging wordt besloten maar meer nog tijdens het debat over het hoofdlijnencontract in 1995, wordt de minister daarom door de Tweede Kamer opgeroepen om met wetsvoorstellen te komen. Door deze gang van zaken blijft de Eerste Kamer overigens nog helemaal uit beeld.
Bij haar inhoudelijke inbreng heeft de Tweede Kamer vooral aandacht voor de borging van tastbare publieke belangen zoals onrendabele lijnen, tarieven en vervoerprestaties. Er is minder aandacht voor de eigen regiefunctie en controlerende taak. Ook wordt er weinig ingegaan op de samenhang tussen de marktwerking op het spoor en in andere delen van het OV, ondanks dat de minister hier wel een paar maal op wijst. Er worden diverse wijzigingsverzoeken of aanvullingen ingediend, bijvoorbeeld op het hoofdlijnencontract, maar uitvoering daarvan loopt regelmatig vertraging op. Tijdens het langdurige besluitvormingsproces wordt bovendien een aantal keer van koers veranderd. Hierdoor loopt de Tweede Kamer regelmatig achter de feiten aan of wordt onder druk gezet om bepaalde besluiten te nemen. Ten slotte gaat veel aandacht uit naar de incidenten op het spoor. Al met al vervalt de Tweede Kamer door al deze omstandigheden meermaals in een rol van medebestuurder in plaats van wetgever. De Kamer maakt zich zorgen over de effecten voor de burger (zoals in de tarievendiscussie) en wil daarom meesturen op terreinen waar de belangen van burgers direct lijken te worden geraakt. Dit sluit aan bij de constatering dat de burger vooral als klant wordt gezien.
Hoewel met het aannemen van de Spoorweg- en Concessiewet de uitsplitsing van de taakorganisaties is voltooid, is de besluitvorming rond de verzelfstandiging nog niet afgerond. In de loop van 2004 worden de beheer- en vervoerconcessie in de Tweede Kamer behandeld en goedgekeurd. Tijdens de behandeling geeft de Tweede Kamer expliciet uiting aan de wens om zowel de wetgeving als de concessies te evalueren. Bovendien wordt besloten om de wetsevaluatie niet zoals gepland in 2006 te laten plaatsvinden, maar uit te stellen tot 2008.
Sinds 1 januari 2005, het moment waarop de verzelfstandiging met de oprichting van ProRail van de NS in formele zin is afgerond, zijn de ontwikkelingen in de spoorsector doorgegaan. In de parlementaire beraadslagingen is de situatie op het spoor nog veelvuldig aan de orde geweest.
Al in april 2005 vormt de situatie voor de vaste commissie voor Verkeer en Waterstaat aanleiding om ter voorbereiding op de evaluatie een werkgroep Prorail in te stellen en «inzicht te verkrijgen in het functioneren van ProRail» en de spoorsector als geheel.759 In december 2005 verschijnt het rapport Op de Rails van de parlementaire werkgroep van de Tweede Kamer over de situatie op het spoor. De werkgroep concludeert dat de politiek medeverantwoordelijk is geweest voor de situatie die eind jaren negentig in de spoorsector is ontstaan: «De wijze, waarop vanaf 1995 de splitsing van de NS en de taakorganisaties in de praktijk is vormgegeven, is achteraf bezien ondoordacht en onverstandig geweest.»759 De werkgroep concludeert dat de NS en ProRail als gevolg van Europese richtlijnen organisatorisch niet meer samengebracht mogen worden onder één ministerie. De NS en ProRail mogen wel samen in een holding worden geplaatst.
De werkgroep concludeert voorts dat sturing door het ministerie van Verkeer en Waterstaat via een stabiel kader prioriteit heeft en dat de beheersconcessie op zich onvoldoende is om ProRail aan te sturen. Bovenal is volgens de werkgroep rust en de ontwikkeling van visie nodig om tot herstel in de sector te komen. Een evaluatie van het functioneren van de nieuwe institutionele structuur en eventuele structuurveranderingen zijn pas gewenst na de evaluatie van de Spoorwegwet die in 2008 zal plaatsvinden.
In januari 2009 wordt de evaluatie Spoor in Beweging aan de Kamer gezonden. In juni 2009 volgt het kabinetsstandpunt waarbij ook wordt het onderzoek naar aanleiding van motie- Wolfson wordt toegevoegd.760 «Gezien de uitkomsten van de evaluatie ziet het kabinet geen aanleiding om de ordening van het spoor ingrijpend te wijzigen. Het kabinet ziet dan ook geen aanleiding om een van de alternatieve ordeningsmodellen te introduceren, zoals die zijn onderzocht in het kader van de uitvoering van de motie-Wolfson c.s. De bij de evaluatie betrokken partijen uit de spoorsector staan in het algemeen positief kritisch tegenover het met de wetgeving vastgelegde spoorbestel. Zij geven aan verder te willen met de huidige ordening en pleiten niet voor een structuurwijziging.»761 Wel zal de sturing ten opzichte van ProRail en de NS worden verbeterd en verscherpt.762 Het debat in oktober 2009 in de Tweede Kamer leidt niet tot verdere ingrijpende wijzigingen in de institutionele verhoudingen. 763
Meer recent blijft de situatie op het spoor aanleiding geven tot parlementaire belangstelling. Op 7 april 2011 wordt door de Tweede Kamer de tijdelijke commissie onderhoud en innovatie spoor ingesteld, onder voorzitterschap van mevrouw Kuiken (PvdA).764 De parlementaire onderzoekscommissie heeft tot doel om de wijze waarop de spoorsector wordt aangestuurd op het terrein van infrastructuuraanleg «beter inzicht te krijgen in de besteding van de spoorbudgetten en in de wijze waarop innovatie op het spoor tot nu toe is aangepakt.»765 Op 16 februari 2012 deed de onderzoekscommissie verslag van haar bevindingen in de Tweede Kamer.766 Het debat hierover is tot op heden (eind september 2012) nog niet afgerond.
Dit hoofdstuk behandelt de besluiten tot privatisering van de reïntegratie, ofwel het begeleiden van werklozen en arbeidsgehandicapten naar de arbeidsmarkt. Dit besluit is onderdeel geweest van de herstructurering van de sociale zekerheid (SUWI).
De opbouw van dit hoofdstuk volgt de thematische indeling zoals beschreven in de methodologische verantwoording in hoofdstuk 1. Na een korte schets van het verloop van het besluitvormingstraject (paragraaf 4.1) wordt achtereenvolgens ingegaan op de motieven voor het besluit (paragraaf 4.2), aspecten ten aanzien van sturing en verantwoording (paragraaf 4.3), voorziene en eventueel bereikte effecten voor de burger (paragraaf 4.4), en de rol van het parlement in de besluitvorming (paragraaf 4.5).
De eerste Nederlandse sociale verzekeringswet, de Ongevallenwet, dateert van 1901. Met deze wet worden de eerste stappen van de overheid gezet op het terrein van de sociale zekerheid.768 In de jaren ’50 en ’60 worden belangrijke stappen gezet in de uitbouw van de verzorgingsstaat. De dan al bestaande werknemersverzekeringen – de Ziektewet en de Invaliditeitswet – worden aangevuld met de werknemersverzekeringen tegen werkloosheid (WW), ziektekosten (ZFW) en arbeidsongeschiktheid (WAO), later aangevuld met WAJONG en de WAZ voor respectievelijk jong gehandicapten en zelfstandigen. Van oudsher hebben de werkgevers- en werknemersorganisaties een belangrijke rol gespeeld bij het bestuur, het beheer en de uitvoering van de werknemersverzekeringen. Deze dominantie positie van de sociale partners is in 1952 wettelijk vastgelegd in de Organisatiewet sociale verzekering (Osv). De uitvoering van de werknemersverzekeringen is krachtens deze wet opgedragen aan bedrijfsverenigingen. De naar bedrijfstak georganiseerde bedrijfsverenigingen hadden een bestuur bestaande uit afgevaardigden van werkgevers en werknemers. Deze van oorsprong privaatrechtelijke bedrijfsverenigingen voerden publiekrechtelijke taken uit ten aanzien van de claimbeoordeling, de verstrekking van de uitkering, controle, premieheffing en fondsbeheer.769 Tot begin jaren ’90 was de uitvoering in handen van deze bedrijfsverenigingen, 19 in totaal. De administratie werd vaak uitbesteed aan een administratiekantoor. De Gemeenschappelijke Medische Dienst (GMD) hielp de bedrijfsverenigingen bij de uitvoering van de WAO, waaronder ook de bemiddeling en reïntegratie van arbeidsgehandicapten.770 Naast de GMD opereerde Arbeidsvoorziening, een (tweede) publieke bemiddelaar op de arbeidsmarkt, die werkzoekenden moest helpen met het vinden van een baan. Zij bood daartoe diverse producten aan, zoals scholing, arbeidsinpassing, individuele trajectbemiddeling en een sollicitatieclub. Tot begin jaren ’90 waren er dus twee publieke bemiddelaars voor reïntegratiediensten: de GMD en Arbeidsvoorziening. In figuur 4.1 is de structuur weergegeven zoals die in de begin jaren ’90 eruit zag.
Figuur 4.1. Structuur sociale zekerheid begin jaren ’90

I. Groot et al. (2002), p. 19.
In 1992 heeft de Algemene Rekenkamer een rapport uitgebracht over het toezicht door de Sociale Verzekeringsraad. De belangrijkste conclusie was dat dit toezicht op bepaalde punten niet strookte met het doel van de wetgever. Naar aanleiding van dit rapport hebben enkele fracties gevraagd om een nader onderzoek. Dit verzoek heeft uiteindelijk geresulteerd in de installatie van een parlementaire enquêtecommissie naar de uitvoering van werknemersverzekeringen, onder leiding van de heer Buurmeijer.771 De resultaten van de parlementaire enquête waren schokkend. Bedrijfsverenigingen fungeerden voornamelijk als uitkeringsfabriek en deden nauwelijks iets aan de reïntegratie van werklozen en arbeidsgehandicapten. De wet- en regelgeving was ook niet ingesteld op de bevordering van reïntegratie. Voor zowel werknemers als werkgevers was de WAO een aantrekkelijke afvloeiingsregeling, omdat het de individuele werkgever geen kosten opleverde (zoals wel het geval was bij bijvoorbeeld vervroegde uitkeringsconstructies) en het voor werknemers een relatief hoge uitkering tot aan de pensioengerechtigde leeftijd betekende (in tegenstelling tot de bijstand waarvan de uitkeringshoogte een stuk lager lag, of de WW die slechts voor beperkte duur gold). Daarnaast was er nauwelijks sprake van een toetredingsdrempel, waardoor de instroom in de WAO aanmerkelijk hoger lag dan noodzakelijk en de uitstroom uit de sociale zekerheid laag was.772
De conclusie die de commissie trok was dat de werknemersverzekeringen niet doelmatig en doeltreffend werden uitgevoerd. Wijzigingen in de sociale zekerheid waren nodig, zowel wat betreft de beheersing van het volume als wat betreft aanpassingen in de uitvoeringsorganisatie.
In 1994 treedt het «paarse» kabinet-Kok I aan, dat het oude uitvoeringsmodel stukje bij beetje gaat ontmantelen.773
De slogan van het eerste kabinet-Kok was «werk, werk, werk». In de sociale zekerheid moest voortaan de nadruk komen liggen op het aan werk helpen van mensen met een uitkering. Echter, reïntegratie stond begin jaren ’90 nog in de kinderschoenen.774 Reïntegratiediensten werden verricht door twee publieke partijen: de Gemeenschappelijke Medische Dienst (GMD) en Arbeidsvoorziening. Daarbij was de GMD verantwoordelijk voor de reïntegratie van arbeidsgehandicapten en Arbeidsvoorziening voor werkloze werkzoekenden. Met de inspanningen die Arbeidsvoorziening verrichtte om werkzoekenden weer aan de slag te krijgen, was ongeveer een half miljard euro gemoeid. De GMD kon aanspraak maken op een beperkt deel van het budget van Arbeidsvoorziening: circa 8 miljoen euro in 1991.775
De eerste stap die werd genomen was de privatisering van de Ziektewet (Wet terugdringing ziekteverzuim, 1994). Werkgevers kregen daarmee een actieve rol om het ziekteverzuim (en daarmee de instroom in de WAO) te beperken. De bedrijfsverenigingen mochten niet meer zelf de administratie voeren, daartoe werden uitvoeringsinstellingen opgericht. Bedrijfsverenigingen werden opdrachtgever van uitvoeringsinstellingen. De GMD werd onderdeel van GAK. Haar taken werden overgedragen aan de bedrijfsverenigingen en Tijdelijk Instituut coördinatie en afstemming (Tica).
De uitvoeringsinstellingen verloren als gevolg van de privatisering van de Ziektewet (1996)776 een deel van hun taken. Ter compensatie wilden de uitvoeringsinstellingen zich naast hun taken op de publieke markt profileren op de private markt. Dit werd goedgekeurd, mits de uitvoeringsinstellingen hun publieke en private diensten strikt scheidden. In de holdingstructuur werd dit vormgegeven door in de zogenaamde A-poot de publieke taken onder te brengen, en in de zogenaamde B-poot de private taken. GAK-Arbeidsintegratie ging op in de Arbeidsvoorzieningsorganisatie waardoor laatstgenoemde de enige publieke aanbieder van reïntegratiediensten werd.777 Gemeenten (verantwoordelijk voor de bijstands- en niet uitkeringsgerechtigden) en uitvoeringsinstellingen (verantwoordelijk voor arbeidsgehandicapte werknemers en WW-ers) kregen middelen om bij Arbeidsvoorziening reïntegratiediensten in te kunnen kopen. Tot 2000 was daarbij sprake van verplichte winkelnering; 80% moest bij Arbeidsvoorziening worden ingekocht. Op deze manier konden gemeenten en uitvoeringsinstellingen wennen aan hun rol als opdrachtgever en kon Arbeidsvoorziening zich ontwikkelen tot een goede aanbieder van reïntegratiediensten. In figuur 4.2 is de structuur van de sociale zekerheid geschetst zoals die er eind jaren ’90 uitzag.
Figuur 4.2. Structuur sociale zekerheid eind jaren ’90

I. Groot et al. (2002), p. 37. Zieke werknemers zonder werkgever vielen onder de uitvoeringsinstellingen.
Wetgeving ten aanzien van reïntegratie
In de jaren negentig zijn diverse wetten ingevoerd die erop gericht zijn om prikkels te introduceren voor werkgevers en werknemers.778 Ten aanzien van de reïntegratie van arbeidsgehandicapten is in 1998 de Wet op de (Re)integratie arbeidsgehandicapten (REA) in werking getreden. In deze wet wordt een nieuwe verantwoordelijkheidsverdeling geïntroduceerd. De verantwoordelijkheid voor de reïntegratie van de betrokken spelers wordt nu neergelegd bij degenen die belang bij hun reïntegratie hebben. Werkgevers en het Landelijk Instituut Sociale Verzekeringen (Lisv, later opgegaan in UWV) hebben een gedeelde verantwoordelijkheid voor de reïntegratie van zieke werknemers, de gemeenten en Arbeidsvoorziening zijn verantwoordelijk voor mensen met een bijstandsuitkering respectievelijk mensen zonder werk en uitkering.779 De overheid heeft eind jaren ’90 vragende partijen naar reïntegratiediensten gecreëerd; enerzijds heeft zij voor werkgevers en werknemers financiële prikkels geïntroduceerd en anderzijds heeft zij aan gemeenten en de uitvoeringsinstellingen middelen gegeven om reïntegratiediensten te kunnen kopen (voornamelijk) bij Arbeidsvoorziening.780
Markt voor reïntegratie
Op de markt voor reïntegratiediensten is aan het einde van de jaren ’90 een groep bedrijven actief die zich richt op het aanbieden van reïntegratiediensten aan werkgevers, Ook is er een groep bedrijven die reïntegratiediensten aanbiedt aan publieke partijen. Een beperkt aantal bedrijven is op beide markten actief.
Er kunnen twee deelmarkten worden onderscheiden. Aan de ene kant is er een markt die gericht is op werkgevers: «de werkgeversmarkt.» Op deze markt zijn er veel (vooral kleine) reïntegratiebedrijven actief die zich richten op de reïntegratie van zieke werknemers. De opdrachtgevers van deze bedrijven zijn werkgevers, verzekeraars (in beperkte mate) en arbodiensten. Aan de andere kant is er een markt die diensten verleent aan de publieke vragers: «de publieke markt». Op deze markt concurreren private aanbieders met de publieke aanbieder Arbeidsvoorziening.
In werkelijkheid is er echter geen sprake van marktwerking. Arbeidsvoorziening is verreweg de belangrijkste aanbieder van reïntegratiediensten aan gemeenten en de uitvoeringsinstellingen. Dit komt ook doordat tot eind jaren negentig er sprake was van de eerder genoemde gedwongen winkelnering. De omvang van de publieke markt wordt geschat tussen de 700 en 1265 miljoen euro, en de omvang van de werkgeversmarkt rond de 70 miljoen euro.781 In de praktijk faalt de publieke markt, omdat er sprake is van een gebrek aan concurrentie tussen aanbieders waardoor vragers weinig te kiezen hebben.
In het regeerakkoord van 1998 geeft het kabinet-Kok II zichzelf de opdracht te komen tot een op activering gericht stelsel, waarin voorrang wordt gegeven aan werk. De voorstellen van het kabinet-Kok II zijn daarbij nog steeds voor een belangrijk deel gebaseerd op de analyses en aanbevelingen van de parlementaire enquêtecommissie uitvoering werknemersverzekeringen (commissie-Buurmeijer). Zoals vermeld concludeerde deze commissie in 1993 dat de uitvoering van de werknemersverzekeringen niet doelmatig en doeltreffend was. Wijzigingen waren nodig, zowel wat betreft beheersing van het volume als wat betreft de aanpassingen in de uitvoeringsorganisatie. Nadat in 1995 en 1997 al wijzigingen waren doorgevoerd door middel van de Osv (nieuwe Organisatiewet sociale verzekeringen) en de Osv ging het kabinet-Kok II in de uitwerking van het regeerakkoord van 1998 nog een stapje verder. In het regeerakkoord stelt men dat «de effectieve en rechtmatige uitvoering van de sociale verzekeringswetten valt onder de publieke verantwoordelijkheid. Daarbinnen wordt een onderscheid gemaakt tussen de publiek georganiseerde uitvoering van taken die naar hun aard niet voor concurrentie in aanmerking komen en de ruimte voor private uitvoering van werkzaamheden die daardoor tot grotere effectiviteit voor werkzoekenden, werkgevers en werknemers kan leiden.»782 Het eerste kabinetsstandpunt, verwerkt in een nota die in maart 1999 is aangeboden aan de Tweede Kamer783, ging uit van een vergaande privatisering van de uitvoeringstaken, met uitzondering van de claimbeoordeling. Het kabinet wenste deze taak in publieke handen te houden. Na een storm van kritiek heeft het kabinet dit voorstel aangepast en is in het nader kabinetsstandpunt van januari 2000784 verrassend genoeg afgestapt van een vergaande privatisering van de uitvoering van de werknemersverzekeringen. In dit voorstel komen de uitvoeringstaken in handen van één publiekrechtelijke instantie (het nieuw op te richten Uitvoeringinstituut Werknemersverzekeringen UWV), met uitzondering van de reïntegratiedienstverlening. Deze taak wil het kabinet nog steeds op de private markt onderbrengen. Begin 2001 zijn de voorstellen uitgewerkt en biedt het kabinet het wetsontwerp SUWI785 ter voorbereiding aan de Tweede Kamer aan:
«In dit wetsontwerp maakt het kabinet een keuze die naar zijn oordeel logisch, duidelijk, effectief, efficiënt en evenwichtig is. De taken die op het terrein van werk en inkomen moeten worden uitgevoerd kunnen in hoofdlijnen als volgt worden samengevat en onderverdeeld:
• het innen van de premies voor de werknemersverzekeringen;
• het verrichten van de claimbeoordeling voor toelating tot één van de uitkeringsregelingen in verband met ziekte/arbeidsongeschiktheid, werkloosheid of bijstand;
• het verstrekken van de uitkering;
• alle activiteiten die samenhangen met het voorkomen van uitval uit het arbeidsproces (preventie) en het daadwerkelijk weer toeleiden naar het arbeidsproces (reïntegratie).»786
De eerste drie taken worden beschouwd als de kern van de inkomensbeschermende functie van de sociale zekerheid. «Naast bevordering van de arbeidsparticipatie beoogt de sociale zekerheid immers ook de bestaanszekerheid te bieden aan degenen die buiten hun schuld niet of niet meer in staat zijn om door het verrichten van arbeid in hun levensonderhoud te voorzien.»787 Het kabinet is van mening dat deze taken door één publieke organisatie dienen te worden uitgevoerd. Dit in tegenstelling tot de andere doelstelling, de bevordering van de arbeidsparticipatie. Het kabinet acht het hier wenselijk een koppeling aan te brengen tussen de financiële prikkels in het stelsel en de wijze waarop de verantwoordelijkheden voor preventie en reïntegratie worden belegd. Degene die de financiële lasten draagt, is in beginsel ook verantwoordelijk voor preventie en reïntegratie. Werkgevers zijn en waren uitsluitend verantwoordelijk voor preventie en reïntegratie van hun werknemers gedurende de eerste twee jaar (of zo lang het dienstverband duurde) van ziekte. UWV is verantwoordelijk voor reïntegratie van WW-ers en klanten met ZW of arbeidsongeschiktheidsuitkering. Gemeenten zijn verantwoordelijk voor de reïntegratie van WWB-ers en niet-uitkeringsgerechtigden (NUG-gers).
De daadwerkelijke uitvoering van de reïntegratieactiviteiten kan het best worden ingekocht bij private reïntegratiebedrijven.787 Daartoe wordt de Arbeidsvoorzieningsorganisatie opgeheven. De beoogde structuur voor de reïntegratie ziet er dan als volgt uit (zie figuur 4.3).
Figuur 4.3. Structuur sociale zekerheid 2002

I. Groot et al. (2002), p. 55. WAZ en Wajong zijn niet opgenomen in deze figuur.
In de discussie over de toekomstige structuur van Werk en Inkomen krijgt de privatisering van de reïntegratiedienstverlening gaandeweg een aparte plaats en een apart dossiernummer wanneer de Wet verzelfstandiging privatisering reïntegratiediensten Arbeidsvoorziening wordt ingediend (TK 27 549, december 2000). Voor die tijd (1999/2000) wordt de discussie over de privatisering van de reïntegratie vooral gevoerd naar aanleiding van de voorstellen en debatten aangaande de toekomstige Structuur Uitvoering Werk en Inkomen (SUWI, TK 26 448). Tabel 4.1 geeft een overzicht en tijdspad van de belangrijkste momenten in deze wetsvoorstellen.
In de SUWI-voorstellen wordt ten aanzien van de Arbeidsvoorzieningstaken opgemerkt dat de basisdienstverlening van Arbeidsvoorziening wordt geïntegreerd in de nog op te richten Centra voor Werk en Inkomen (CWI). Naast de basisdienstverlening verricht Arbeidsvoorziening in de huidige situatie ook de prestatiedienstverlening. Daaronder worden taken als reïntegratie van werkzoekenden met een zekere afstand tot de arbeidsmarkt verstaan,788 alsmede een aantal overige wettelijke taken zoals het verlenen van toestemming voor ontslag, tewerkstellingsvergunning in het kader van de Wet arbeid vreemdelingen, registratie in kader van de Wet SAMEN etc. Voor de prestatiedienstverlening wordt het volgende voorgesteld:
• de middelen voor de prestatiedienstverlening worden van Arbeidsvoorziening overgeheveld naar de gemeenten en naar de opdrachtgevers sociale verzekeringen;789
• het reïntegratiedeel van de huidige Arbeidsvoorziening zal worden geprivatiseerd en zal net als andere reïntegratiebedrijven opdrachten moeten zien te verwerven van gemeenten en opdrachtgevers sociale voorzieningen; en
• nader bezien wordt hoe de reïntegratie van met name moeilijk plaatsbare werkzoekenden door middel van publieke middelen c.q. een publieke voorziening vorm kan krijgen.790
Geconcludeerd wordt dat Arbeidsvoorziening zal worden gesplitst in een publiek en privaat deel. Het kabinet kiest voor een geleidelijke ontmanteling van Arbeidsvoorziening: «De privatisering van het reïntegratiebedrijf Arbeidsvoorziening vindt geleidelijk plaats, zodat de expertise waarover Arbeidsvoorziening nu beschikt zich op een goede wijze in de markt kan positioneren.»791
In maart 2000 wordt, op verzoek van het CDA, een stand van zaken geschetst ten aanzien van Arbeidsvoorziening. In deze stand van zaken onderscheidt het kabinet drie stappen in de privatisering van het Reïntegratiebedrijf Arbeidsvoorziening. Hierover is uitvoerig discussie gevoerd in vast commissieverband en in de Tweede Kamer, maar in grote lijnen zijn de drie stappen gehandhaafd:
1. Interne ontvlechting Arbeidsvoorziening (2000). De eerste stap betreft de interne ontvlechting waarbij de Arbeidsvoorzieningsorganisatie wordt opgedeeld in meerdere bedrijfsonderdelen, maar waarbij het Centraal Bestuur Arbeidsvoorzieningsorganisatie (CBA) de eindverantwoordelijkheid blijft dragen voor de resultaten van alle bedrijfsonderdelen, inclusief het Reïntegratiebedrijf.792
2. Externe verzelfstandiging Arbeidsvoorziening: NV Kliq (2001). De tweede stap betreft de externe verzelfstandiging van het Reïntegratiebedrijf. Hierbij wordt gedacht aan de oprichting van een Overheids-NV (het latere Kliq NV), waarin de reïntegratieactiviteiten en de commerciële dienstverlening zullen worden ondergebracht. Het CBA draagt na de externe verzelfstandiging derhalve geen verantwoordelijkheid meer voor het Reïntegratiebedrijf. Wel kan nog sprake zijn van tijdelijke garanties voor het Reïntegratiebedrijf.792 De oprichting van Kliq NV krijgt een apart dossiernummer (TK 27 296).
3. Privatisering: de derde stap betreft de privatisering van het Reïntegratiebedrijf, waarbij de aandelen van het bedrijf door de Staat zullen worden verkocht aan derden. In het Kabinetsstandpunt SUWI van 23 maart 1999 is aangegeven dat aan de hand van evaluatiegegevens bezien kan worden, wanneer het voornemen tot (volledige) privatisering over te gaan moet worden uitgevoerd.792
In de hierna volgende hoofdstukken wordt ingegaan op het wetgevingstraject rondom de verzelfstandiging en privatisering van de reïntegratiedienstverlening. Daarbij is het van belang zich te realiseren dat alleen ten behoeve van stap 2 een wetswijziging nodig is. De eerste stap en laatste stap in het proces naar privatisering kennen geen eigen wetgevingstraject, maar spelen wel een rol in de parlementaire behandeling. Daarnaast speelt de privatisering van de reïntegratiedienstverlening zich af in de schaduw van de SUWI-wetgeving. Daar waar relevant zal dit ook worden meegenomen.
|
Datum |
Bewindspersonen |
|
|---|---|---|
|
Eerste SUWI-nota |
23 maart 1999 |
minister: K. de Vries (PvdA) staatssecretaris: H. Hoogervorst (VVD) |
|
Tweede SUWI-nota |
24 januari 2000 |
|
|
Plenair debat TK tweede SUWI-nota |
21/23 maart 2000 |
|
|
Indiening wetsvoorstel SUWI |
20 januari 2001 |
minister: W. Vermeend (PvdA) staatssecretaris: H. Hoogervorst (VVD) |
|
Plenaire behandeling in TK -> amendement overgangsregime |
20/21 juni 2001 |
|
|
Plenaire behandeling in EK |
26/27 november 2001 |
|
|
Wet verzelfstandiging reïntegratiedienstverlening ( 27 549 ) |
||
|
Oprichting Kliq (27 296) |
15 september 2000 |
minister: W. Vermeend (PvdA) staatssecretaris: H. Hoogervorst (VVD) |
|
Begrotingsbehandeling SZW -> motie-Wilders c.s. |
7 december 2000 |
|
|
Indiening wetsvoorstel |
8 december 2000 |
|
|
TK vraagt om onafhankelijk extern onderzoek |
13 december 2000 |
NB: initiatief ligt bij Tweede Kamer |
|
Plenaire behandeling in TK |
21/22 november 2001 |
minister: W. Vermeend (PvdA) staatssecretaris: H. Hoogervorst (VVD) |
|
Plenaire behandeling in EK |
17 december 2001 |
|
|
Periode na verzelfstandiging (2002–2006) |
||
|
Intentieovereenkomst Solvus |
mei 2002 |
minister: W. Vermeend (PvdA) staatssecretaris: H. Hoogervorst (VVD) |
|
Verslechtering positie Kliq op de markt |
oktober 2002 |
minister van Financiën: H. Hoogervorst (VVD) |
|
Financiële problemen Kliq, kapitaalinjectie |
augustus 2003 |
Minister van Financiën: G. Zalm (VVD) |
|
Reorganisatie Kliq en blokkeren kredietfaciliteit |
januari 2005 |
|
|
Faillissement Kliq BV |
december 2005 |
|
|
Kliq BV vanuit faillissement verkocht aan Agens |
februari 2006 |
|
Deze paragraaf gaat in op de motieven en verwachtingen zoals die in eerste instantie door het kabinet zijn geformuleerd in de verschillende discussienota's en wetsvoorstellen om te kiezen voor privatisering van de reïntegratiediensten. Daarbij wordt ook gekeken of er zich in de loop van de tijd verschuivingen hebben voorgedaan in de verschillende motieven en verwachtingen.
De keuze voor de privatisering van de reïntegratiedienstverlening wordt gemotiveerd met één van de doelstellingen die in het regeerakkoord is opgenomen, namelijk het vergroten van de effectiviteit en de efficiency van de uitvoering. Vanuit sociaal en economisch oogpunt is het van groot belang de noodzaak van een beroep op de sociale zekerheid te beperken en de afhankelijkheid van regelingen zo veel mogelijk te voorkomen.793 Daarbij maakt het kabinet onderscheid tussen taken die naar hun aard niet voor concurrentie in aanmerking komen en taken waarvoor ruimte wordt gezocht voor private uitvoering, «die tot grotere effectiviteit voor werkzoekenden, werkgevers en werknemers kan leiden.»794 In de uitwerking van het regeerakkoord stelt het kabinet in het eerste Kabinetsstandpunt ten aanzien van de toekomstige Structuur Uitvoering Werk en Inkomen795 dat taken als de reïntegratiefunctie en de uitkeringsverzorging (en voor de werknemersverzekeringen ook de premieheffing en -inning) in opdracht van de opdrachtgevers door onderling concurrerende private uitvoerders worden uitgevoerd, dan wel – in het geval van gemeenten – door de eigen sociale dienst of uitbesteed aan derden.796 «Oogmerk van de private uitvoering van taken is dat deze tot grotere effectiviteit en efficiency leiden».796
Ten aanzien van reïntegratie stelt het kabinet dat er in het sociale stelsel prikkels worden opgenomen om te zorgen voor een beheersing van het uitkeringsvolume. Deze prikkels zijn vooral gericht op werkgevers en werknemers. Zij hebben dus een financieel belang bij het verbeteren van de reïntegratie. «De omvang van en de verhoudingen tussen die prikkels zullen echter niet in alle gevallen passend dan wel voldoende zijn. Derhalve is het noodzakelijk om, in aanvulling op de in de materiewetten reeds vervatte prikkels, additionele prikkels te ontwikkelen via het selectief en conditioneel toekennen van reïntegratiebudgetten.»797 Op basis hiervan concludeert het kabinet dat partijen die een financieel belang hebben gekregen bij de reïntegratie een (grotere) rol krijgen als opdrachtgever. Dat betekent dat reïntegratiemiddelen overgedragen moeten worden aan gemeenten of uvi's, waarbij er nog wel sprake is van reïntegratie met publieke middelen. Daarnaast moeten de reïntegratiemiddelen zodanig ingezet worden dat zij de betrokken partijen stimuleren om zich in te spannen tot reïntegratie. «De gedachte achter marktwerking is dat vrije concurrentie een prikkel oplevert voor een efficiëntere en effectievere uitvoering. Dit zal leiden tot lagere uitvoeringskosten en betere reïntegratieresultaten.»798
Ten aanzien van Arbeidsvoorziening constateert het kabinet dat de huidige dienstverlening in hoofdzaak bestaat uit drie onderdelen:
• «een deel dat zich met de basisdienstverlening bezighoudt;
• een deel dat is gericht op de reïntegratie van moeilijk plaatsbare werkzoekenden;
• een deel dat commerciële diensten verricht voor werkgevers.»799
De basisdienstverlening wordt onderdeel van de nieuw op te richten Centra voor Werk en Inkomen (CWI). De reïntegratie van moeilijk plaatsbaren en de overige commerciële diensten worden in een afzonderlijk bedrijf ondergebracht. Welke rechtsvorm dit bedrijf zou moeten hebben wordt hier nog niet duidelijk. Dit voorstel wijkt af van hetgeen in het regeerakkoord stond, en wordt als volgt gemotiveerd: «In het regeerakkoord wordt gesproken over handhaving van de huidige Arbeidsvoorzieningsorganisatie door blijvende gedwongen inkoop van een deel van de reïntegratietrajecten, met name voor mensen met een grote afstand tot de arbeidsmarkt. Dit staat echter op gespannen voet met het uitgangspunt van gelijke concurrentieverhoudingen, dat ook als randvoorwaarde in het regeerakkoord wordt genoemd. De sturing van de minister van Sociale Zaken en Werkgelegenheid (SZW) op de publieke reïntegratiemiddelen waarborgt dat ook groepen met een grote afstand tot de arbeidsmarkt gere-integreerd (blijven) worden. Daarom is het kabinet van mening dat het deel van de Arbeidsvoorzieningsorganisatie dat zich thans bezighoudt met de reïntegratie van moeilijk plaatsbaren, geprivatiseerd kan worden».799
De motieven om over te gaan tot privatiseren van de reïntegratiedienstverlening stuiten in de Tweede Kamer aanvankelijk niet op veel verzet. In het eerste debat met de Tweede Kamer over de hoofdlijnen van de toekomstige Structuur Uitvoering Werk en Inkomen (SUWI, juni 1999) kunnen de meeste partijen zich vinden over te gaan naar meer marktwerking op dit terrein, met uitzondering van de SP. De SP geeft aan dat nog steeds niet gebleken is dat de markt het beter kan, en noemt daarbij als voorbeeld de privatisering van de Ziektewet. 800 De overige partijen zijn ondanks de steun voor de marktwerking wel kritisch, en vinden veel zaken nog onduidelijk en problematisch. De PvdA vraagt naar de uitwerking van het opdrachtgever- en opdrachtnemerschap, om een uitwerking per playing field van de incentives en de gelijkwaardigheid van partijen.801 De PvdA vraagt de minister van SZW het instrument trajectbegeleiding en casemanagement op te nemen in de plannen voor mensen met een langere afstand tot de arbeidsmarkt, en in de financiering daarvan te voorzien.802 Ook het CDA vraagt in dit eerste debat over het kabinetsstandpunt SUWI specifiek aandacht voor de positie van werkzoekenden met een zwakke positie op de arbeidsmarkt, en vraagt garantie dat ook deze groep een beroep moet kunnen doen op actieve begeleiding en bemiddeling: «Zonder die garantie kan privatisering en verkoop van het reïntegratiebedrijf van Arbeidsvoorziening niet aan de orde zijn.»803
De PvdA, het CDA, de VVD, D66 en GroenLinks pleiten ook voor betrokkenheid en medeverantwoordelijkheid van de cliënt, onder andere door de cliëntenparticipatie goed te regelen.804 De VVD wil de cliënten ook een grotere rol geven, en is verder van mening dat Arbeidsvoorziening een gebed zonder einde dreigt te worden, waarmee zij doelt op de lange doorlooptijd van het proces: «wij vinden dat de bewindslieden op zeer korte termijn de waarde van het af te splitsen reïntegratiedeel samen met de CVV's [Centra voor Vakopleidingen; red.] moet onderzoeken.»805
GroenLinks stelt de vraag hoe de privatisering er uit gaat zien. Wordt het een overheids-BV, is er een terugvaloptie en hoe zit het met de recessiebestendigheid? Zowel GroenLinks als de SP vinden dat er eerst een discussie zou moeten zijn over de inhoud van ons stelsel. De heer Harrewijn van GroenLinks merkt hierover op dat de structuur de inrichting van de sociale zekerheid lijkt te gaan bepalen in plaats van dat de inhoud de structuurdiscussie leidt.806
Daarnaast wordt in dit debat zijdelings ingegaan op de afschaffing van de verplichte winkelnering bij Arbeidsvoorziening, zoals die tot 1 januari 2000 gold.807 De meeste partijen vinden dit een gezonde ontwikkeling. Over de ontvlechting bij Arbeidsvoorziening zegt de heer De Wit van de SP dat zij bedenkingen hebben tegen de opsplitsing van Arbeidsvoorziening: «Het merkwaardige is dat ik niet heb kunnen constateren dat er vanuit arbeidsvoorziening zelf veel bezwaren tegen zijn geopperd, wel door de centrale ondernemingsraad.»808
Opvallend is dat er in dit debat heel weinig discussie is over de motieven voor privatisering van de reïntegratie, namelijk dat private partijen de reïntegratiedienstverlening effectiever en efficiënter zouden kunnen uitvoeren dan de overheid. Kennelijk zijn de meeste partijen (met uitzondering van de SP) van mening dat er veel heil valt te verwachten van meer marktwerking op het terrein van de reïntegratiedienstverlening. Maar deels heeft het ook te maken met het feit dat dit eerste debat vooral in het teken staat van de toekomstige structuur voor werk en inkomen. Immers, het kabinet stelt ten aanzien van de uitvoering ook voor een aantal taken (premie-inning, verstrekken uitkering) naar de markt te brengen. De claimbeoordeling vormt hierop een uitzondering; die wenst het kabinet in het publieke domein te houden. Over deze keuze van het kabinet, die afwijkt van de keuze die in het regeerakkoord was gemaakt namelijk volledige privatisering, is vrijwel geen enkele partij te spreken. Hoewel de meeste partijen wel de doelstellingen van SUWI omarmen, te weten klantgerichtheid, activering en effectiviteit en efficiency, zijn de meeste partijen van mening dat door een knip te maken in de uitvoering, dat wil zeggen een deel publiek te organiseren en de rest privaat, de uitvoering minder efficiënt en effectief zal worden. Immers, er zijn teveel overdrachtsmomenten nodig, en verder zou de wijziging gepaard gaan met grote reorganisatiekosten. Zo stelt mevrouw Noorman-Den Uyl (PvdA): «Ik kom tot de conclusie dat het commercieel onderbrengen van de UVI's op deze manier niet echt bijdraagt aan klantgerichtheid en kostenbesparing, vanwege de dubbele verantwoordelijkheid van CWI en UVI voor het uitvoeringsproces (...).»809 Het CDA stelt dat de uitvoering en vormgeving van het voorstel in het voorstel niet berekend worden. «Als gevolg van de vele overdrachtsmomenten in de aanpak, zullen de kosten zeer waarschijnlijk stijgen.» Ook over de effectiviteit van het voorstel heeft het CDA [mevrouw Verburg; red.] grote twijfels: «Als het gaat om klantvriendelijkheid, wordt er teveel geschoven met cliënt en dossier, waardoor eerder sprake is van meer versnippering, met als effect onduidelijkheid en onzekerheid voor de cliënt.»810 «Echter, ik vraag me af [mevrouw Essers, VVD; red.] of beide bewindslieden zich hebben gerealiseerd dat de omvang van personele verschuiving zeer groot is.»811
Moties ten aanzien van de plannen voor de uitvoeringsstructuur
Minister De Vries en staatssecretaris Hoogervorst geven in hun reactie in eerste termijn aan dat er ten aanzien van de organisatie van de uitvoering nog niets vaststaat. Ook wordt gezegd dat er geen optimaal model voorhanden is en dat het kabinet geprobeerd heeft een zo goed mogelijk model te presenteren. Ten aanzien van de reïntegratiedienstverlening geeft de minister in zijn reactie aan dat het kabinet content is met het feit dat de Kamer zich in grote lijnen schaart achter de privatisering van een deel van de arbeidsvoorzieningsorganisatie.812 Over het aantal vragen dat gesteld is, merkt de minister op dat het nu tijd is een aantal zaken uit te gaan werken. Hij wilde dat niet doen voordat dit debat gevoerd was (juni 1999). Hij zegt daarbij toe «dat hij mede op verzoek van de Tweede Kamer bezig is met een nota te schrijven over het reïntegratiebeleid.»813
Ten aanzien van de discussie over de toekomstige uitvoering wordt in tweede termijn een aantal moties ingediend. Het CDA dient een motie in en verzoekt de regering op basis van publieke regelgeving en onder onafhankelijk toezicht de uitvoeringsinstellingen de uitvoering van het gehele uitkeringsproces op de te dragen.814 GroenLinks dient een motie in tegen de voortgang van de privatisering van de uitvoeringsinstellingen en de SP verzoekt de regering af te zien van de invoering van marktwerking en privatisering bij de verdere reorganisatie van de uitvoering.815
In de tweede termijn van de minister en staatssecretaris zegt de minister toe het proces te zullen evalueren inzake de privatisering van de reïntegratiepoot van Arbeidsvoorziening. De Kamer wordt dus met regelmaat op de hoogte gehouden, gezien haar vrees over een terugval in de economie. Ten aanzien van de uitvoering zegt de staatssecretaris dat er niet geprivatiseerd wordt voordat de Kamer over nader onderzoek van het kabinet is geïnformeerd. Het kabinet zegt met zoveel woorden nu een aantal opties aan de Kamer te hebben voorgelegd en dat nu wordt bekeken waar de haken en ogen zitten. De minister zegt: «Daarom vond ik de moties die ons proberen vast te pinnen op een bepaalde vorm van de toekomstige uitvoeringsinstellingen zo voorbarig (... en) dat is dan ook de reden waarom ik de aanvaarding van de moties met die strekking ontraad.»816
Nieuw voorstel kabinet
Het kabinet gaat zijn huiswerk opnieuw doen en beraadt zich over alternatieve modellen. Pas in januari 2000 ontvangt de Kamer het tweede kabinetsstandpunt over de toekomstige uitvoeringsstructuur werk en inkomen (tweede SUWI-nota). Hierin worden wezenlijk andere keuzes gemaakt ten aanzien van de uitvoering, maar de keuze voor privatisering van de reïntegratiepoot van Arbeidsvoorziening blijft gehandhaafd. Het kabinet kiest er ten aanzien van de uitvoering voor om de organisatie in handen te leggen van één publiekrechtelijke organisatie, het Uitvoeringsinstituut Werknemersverzekeringen (UWV). De motieven voor die keuze zijn vooral ingegeven door «het commentaar van de uitvoeringsinstellingen en de kritiek van de Kamer (...)», vooral als het gaat om «de verdeling van de verantwoordelijkheden tussen het publieke en het private domein en de direct daarmee samenhangende kwesties van waarborgen van een onafhankelijke claimbeoordeling en van de beleidsmatige aansturing in de uitvoering van de sociale verzekeringen.»817 De criteria waaraan de uitvoeringsorganisatie van de werknemersverzekeringen moeten voldoen worden uitgebreid. In de eerste SUWI-nota luidden de criteria, in beknopte zin, als volgt:
• voorrang voor werk;
• klantgerichtheid;
• publieke claimbeoordeling;
• marktwerking;
• efficiency;
• bestuurlijke helderheid; en
• incentives.818
In de tweede SUWI-nota luiden de criteria anders. Daarin zijn duidelijk de elementen te herkennen die in het debat over de eerste SUWI-nota naar voren zijn gekomen. De criteria luiden:
• effectiviteit;
• klantgerichtheid;
• doelmatigheid;
• publieke waarborgen;
• reorganisatielasten;
• beleidsmatige aansturingsmogelijkheden; en
• toezichtbaarheid.819
Het kabinet stelt verder in deze tweede nota dat door de keuze voor een publieke uitvoering van de werknemersverzekeringen nieuwe mogelijkheden ontstaan om tot een dynamische aanpak van de reïntegratie te komen. «In het eerste SUWI concept was voorzien dat bipartiete opdrachtgevers de rol van het Lisv als opdrachtgever zouden overnemen, met uitzondering van de claimbeoordeling. In het nieuwe concept worden de wettelijke «klassieke» taken uitgevoerd door een nieuwe publieke uitvoeringsorganisatie, waarin de bestaande uitvoeringsinstellingen opgaan.»820
Er is dus geen opdrachtgeverschap meer nodig voor de premie-inning, claimbeoordeling en uitkeringsverzorging; deze taken worden voor alle werknemers en werkgevers verricht door één organisatie. Dit geldt niet voor de wettelijke taak reïntegratie:
«In opdracht van de daarvoor meest aangewezen partijen zullen de feitelijke reïntegratiewerkzaamheden worden uitgevoerd door private reïntegratiebedrijven.»820
Daarbij ziet het kabinet een hoofdrol weggelegd voor (vertegenwoordigers van) werkgevers en werknemers als het gaat om het afsluiten van contracten. Zij dragen thans een belangrijke verantwoordelijkheid bij het voorkomen van ziekte, arbeidsongeschiktheid en werkloosheid van werknemers. Indien deze zaken toch optreden, moeten zij voor het bevorderen van terugkeer van de betrokken werknemers eveneens hun verantwoordelijkheid kunnen dragen.821 Het UWV wordt verantwoordelijk voor de arbeidsgehandicapte werknemers (REA-gelden) en de reïntegratie van WW-gerechtigden. De gemeente was al verantwoordelijk voor de reïntegratie van bijstandsgerechtigden en daar komen nu de niet-uitkeringsgerechtigde werkzoekenden bij. De feitelijke reïntegratie besteden zij uit aan private reïntegratiebedrijven.
Politieke uitruil?
In de reactie van de Tweede Kamer is vooral het CDA (als grootste oppositiepartij) fel gekant tegen de ommezwaai van het kabinet. Door de kabinetskeuze staan de sociale partners met betrekking tot de uitvoering van de sociale zekerheid aan de kant. Het CDA wil juist de sociale partners weer verantwoordelijk maken voor de uitvoering, bijvoorbeeld via de pensioenfondsen. Dat voorstel stuit op verzet van de PvdA, GroenLinks en D66. Behoudens het CDA kunnen de meeste partijen zich grotendeels vinden in de ommezwaai van het kabinet. De RPF laat in haar reactie weten dat het bijna onvermijdelijk is dat de regering kiest voor privatisering van de reïntegratie, omdat er al zoveel in het publieke domein wordt ondergebracht: «ik [woordvoerder RPF; red.] realiseer me dat de privatisering van de reïntegratie voor de sociale partners een belangrijke voorwaarde was om tot overeenstemming te komen.»822
Ten aanzien van de privatisering van de reïntegratie is, net als in het eerste debat, de SP tegen marktwerking op dit terrein. De SP heeft kritiek op de geprivatiseerde uitvoering van de reïntegratie. Net als voor de uitvoering van de werknemersverzekeringen betreft het hier publieke gelden. De SP verwijst naar de ervaringen in de thuiszorg, die niet positief zijn, en waarvan ze teruggekomen zijn: «omdat het tot het bekende verhaal leidde van particuliere ondernemers die de krenten uit de pap halen.»822
De overige partijen stemmen in met de voorgenomen privatisering van de uitvoering van de reïntegratie-activiteiten, maar dat is wat GroenLinks betreft niet zonder zorgen. Ook GroenLinks vraagt aan de regering hoe zij denkt over de reïntegratie van de zwakke groepen in de samenleving. Ook de SGP en de PvdA vragen de regering toe te zien op de positie van moeilijk plaatsbaren. Verder heeft de SGP nog een belangrijke opmerking aangaande het motief van het kabinet om over te gaan naar privatisering van de reïntegratie. Zij vraagt zich af waarom de nadelen die het kabinet noemt ten aanzien van de privatisering van de uitvoering van de werknemersverzekeringen niet gelden voor de privatisering van de reïntegratie.823
Verder stellen partijen veel vragen over het proces naar privatisering en hoe het er uit moet zien. Dit komt in latere paragrafen aan bod.
Reactie kabinet
Op de vraag naar de positie van moeilijk plaatsbaren stelt minister De Vries dat het reïntegratiebedrijf zich uiteraard zal blijven richten op de reïntegratie van moeilijk plaatsbaren: «het reïntegratiebedrijf zal dat tot zijn belangrijkste taken rekenen», aldus de minister.824 Op de vraag naar de negatieve ervaringen in de thuiszorg antwoordt de minister dat er wel gestuurd kan worden op een bepaalde mate van inspanning, maar niet zozeer op resultaat: «Het is uiteraard evident dat, net zoals op het ogenblik het geval is, bij het verrichten van inspanningen nooit kan worden gegarandeerd dat die inspanningen ook tot een resultaat leiden. (...) Maar dat de inspanning gedaan wordt, kunnen wij in belangrijke mate zelf sturen door ervoor te zorgen dat er voldoende middelen beschikbaar zijn om de cliënten hulp en ondersteuning te geven die zij nodig hebben.»825
Verwachtingen Kabinet
In het eerste kabinetsstandpunt ten aanzien van de toekomstige structuur van de uitvoering werk en inkomen (eerste SUWI-nota) worden drie verwachtingen uitgesproken ten aanzien van klantgerichtheid, effectiviteit en efficiency.826
Ten aanzien van klantgerichtheid wordt verwacht dat de inrichting van een loket voor mensen die op zoek zijn naar werk of in aanmerking willen komen voor een uitkering, naar verwachting zal bijdragen aan een grotere tevredenheid van de klant over de dienstverlening binnen de sociale zekerheid.
Ten aanzien van de effectiviteit stelt het kabinet dat de verbetering van de uitvoeringsorganisatie, in combinatie met de vergroting van prikkels in de materiewetten, moet leiden tot een betere reïntegratie. Dit zal primair zijn vertaling moeten vinden in een lager volume aan uitkeringen (met name ABW, WW en WAO).827
Ten aanzien van de efficiency wordt gesteld dat dit thema zich vertaalt in het begrip uitvoeringskosten. Gesteld wordt dat deze door de noodzakelijke aanpassingen op korte termijn zullen toenemen, maar dat op de lange termijn zich het tegengestelde zal voordoen:
«Enerzijds kan een daling worden verwacht door de aanpassing van de uitvoeringsorganisaties en de financieringsstructuur. Anderzijds kan een stijging worden verwacht doordat bijvoorbeeld de reïntegratie inspanningen worden uitgebreid. Dat brengt dan hogere uitvoeringskosten met zich mee, maar vertaalt zich in een daling van de uitkeringslasten.»827
Het kabinet spreekt in de eerste SUWI-nota de verwachting uit dat «door middel van marktwerking met name op het gebied van reïntegratie een efficiëntere en effectievere uitvoering zal ontstaan.»791 In de tweede SUWI-nota zijn deze verwachtingen hetzelfde, maar worden wat meer specifieke verwachtingen uitgesproken richting de reïntegratiemarkt en de financiën. De verwachting van het kabinet is dat nu werkgevers in meer algemene zin verantwoordelijk worden voor de reïntegratie, er bedrijven komen die een zo breed mogelijk dienstenpakket aanbieden voor alle doelgroepen (grote uitzendbedrijven of reïntegratiebedrijf Arbeidsvoorziening), of meer gespecialiseerde bedrijven.828 Ten aanzien van de financiën verwacht het kabinet dat de voorstellen op termijn tot een verlaging van de uitkeringslasten zullen leiden. Het kabinet erkent dat het echter niet mogelijk zal zijn de effecten van de afzonderlijke maatregelen te meten. Wel kunnen de effecten van de maatregelen in hun samenhang worden bezien. Er wordt derhalve een intensief monitoringsprogramma opgezet (zie paragraaf 4.4). De Kamer is hierover bij nota van 17 november 1999 (Taskforce Beleidsinformatie) geïnformeerd.829 Naast de besparing op de grote geldstroom (uitkeringslasten) is het kabinet er ook van overtuigd dat er bespaard zal worden op de kleine geldstroom (uitvoeringskosten van de betrokken instituties).
Vanuit de Kamer wordt niet zo specifiek ingegaan op de geuite verwachtingen van het kabinet. Wel wordt door verschillende woordvoerders van de PvdA, de VVD, D66 en GroenLinks gevraagd naar het (verplichte) opdrachtgeverschap van gemeenten en heeft de RPF zorgen over het feit of er wel een echte markt zal ontstaan. Zij wijst hiervoor naar de VNG, die heeft aangegeven dat voor een deel van de arbeidsmarkt nooit een echte markt zal kunnen bestaan.830
Ontwikkeling in motieven
In een latere fase (2000) wordt in de memorie van toelichting van de Wet verzelfstandiging reïntegratiediensten Arbeidsvoorzieningsorganisatie nog een ander motief zichtbaar om tot privatisering over te gaan. Het kabinet geeft aan dat deze wet een uitvloeisel is van de reeds in gang gezette ontwikkeling op de reïntegratiemarkt. Gezien deze ontwikkeling acht het kabinet het van belang dat Arbeidsvoorziening zo snel mogelijk als een zelfstandig bedrijf kan gaan opereren: «Om op de reïntegratiemarkt evenwichtige concurrentieverhoudingen te creëren is een hybride organisatie zoals de Arbeidsvoorzieningsorganisatie, die zowel een publieke opdracht heeft als in concurrentie met private bedrijven opdrachten verwerft, niet wenselijk.»831 Het lijkt erop dat de keuze om Arbeidsvoorziening te verzelfstandigen ingegeven wordt door de ontwikkelingen op de markt. Het kabinet erkent echter dat de keuze om Arbeidsvoorziening te verzelfstandigen al eerder gemaakt is, namelijk in de voorstellen voor een nieuwe uitvoeringsstructuur voor werk en inkomen.831
De in eerste instantie breed gedeelde instemming van de Tweede Kamer met de voorgestelde privatisering van de reïntegratiedienstverlening wordt in de loop van de tijd steeds meer op de proef gesteld, zo blijkt uit de wetsbehandeling van de Wet Verzelfstandiging reïntegratiediensten Arbeidsvoorziening (2001). Ondanks het feit dat de vaste commissie van de Tweede Kamer van mening is dat de openbare behandeling voldoende is voorbereid, worden er zeer kritische opmerkingen gemaakt over enkele onderdelen van het proces naar externe verzelfstandiging en privatisering, en het eindresultaat. De VVD (regeringspartij) constateert ook dat het wetsvoorstel erg lang op zich heeft laten wachten, en acht verdere vertraging schadelijk.832 Maar veel zaken zijn nog onuitgewerkt, met name financiële aspecten als de omzetgarantie, de eventuele investeringsimpuls en de verdere invoeringskosten. Ook rept de VVD van bestuurlijke wijzigingen die het wetsvoorstel wellicht in een ander daglicht plaatsen. De VVD gaat zelfs zo ver door te concluderen dat genoemde punten: «de leden van de VVD-fractie voor de vraag stellen of het voorliggende wetsvoorstel wel in deze vorm kan worden beoordeeld door het parlement.»833
Ook andere partijen hebben bij de behandeling van dit wetsvoorstel kritische vragen. Het gaat hierbij echter niet over de keuze over te gaan tot privatisering, maar wel de wijze en termijn waarop. Daarbij kijkt de Kamer ook naar de informatie en toetsingsmogelijkheden (zie ook paragaaf 5.5).
In de Eerste Kamer is er zowel in 1999 als in 2000 tijdens de begrotingsbehandeling gesproken over de SUWI-voorstellen. Tijdens de begrotingsbehandeling in 1999 wordt door diverse partijen in de Eerste Kamer vooral gerefereerd aan het feit dat er ontzettend veel veranderd is de laatste jaren in de sociale zekerheid, en dat het verstandig zou zijn om af te wachten of deze veranderingen effect sorteren.834 Ten aanzien van de positionering en taakafbakening van de uitvoeringsinstellingen worden ernstige twijfels uitgesproken door de Eerste Kamer en ten aanzien van de opsplitsing van Arbeidsvoorziening wordt in de Eerste Kamer vooral door het CDA, de PvdA en het GPV getwijfeld aan de borging van de publieke belangen.835 De begrotingsbehandeling in 2000 wordt vooral door het CDA aangegrepen om principiële en praktische bezwaren te uiten over de SUWI-operatie.836 Ten aanzien van het private reïntegratiebedrijf houdt het CDA zorgen over de positie van de kansarmen op de arbeidsmarkt.837 De woordvoerder van de PvdA verwacht dat er met de nieuwe structuur «eindelijk zicht komt op een transparante taakverdeling, waarin verantwoordelijkheden en bevoegdheden niet langer zoek worden gemaakt, waarin goede intenties worden beloond, en waarin de rekening voor een gebrek aan inzet kan worden gepresenteerd aan wie dat aangaat.»838 Ook andere partijen steunen in grote lijnen de SUWI-operatie, en zijn van mening dat de scheiding tussen publiek en privaat beter gewaarborgd is nu. De woordvoerder van RPF/GPV zegt hierover: «De onderscheiding tussen publiek en privaat is helderder, maar er resteren nog heel wat vragen.»839
Zo vraagt de VVD bijvoorbeeld naar de voorwaarden voor het opdrachtgeverschap van gemeenten, de PvdA naar de wijze waarop het kabinet rekenschap denkt af te leggen over de voortgang en prestaties van de versmelting van de uitvoeringsinstellingen in het UWV, en de RPF/GPV naar de wijze waarop opdrachtgevers en commerciële reïntegratiebedrijven zich zullen inspannen voor de mensen die minder makkelijk aan werk geholpen kunnen worden.836
SUWI
Over de voorstellen om over te gaan naar een nieuwe structuur voor de uitvoering werk en inkomen is uitgebreid gedebatteerd in de Tweede Kamer. Ook in de Eerste Kamer is hier uitgebreid over gesproken. Het debat in de Tweede Kamer richt zich daarbij vooral op de plannen voor de nieuwe structuur, en niet zozeer op de motieven en verwachtingen om over te gaan naar de nieuwe structuur. Vrijwel alle partijen zijn namelijk van mening dat de uitvoering van de sociale zekerheid, na de harde conclusies van de commissie-Buurmeijer, anders georganiseerd moet worden. De aanvankelijke voorstellen van het kabinet om de uitvoering geheel te privatiseren, met uitzondering van de claimbeoordeling, worden niet goed ontvangen in het parlement. Er is sprake van een onduidelijke scheiding tussen publiek en privaat. De plannen worden dan ook radicaal gewijzigd, met uitzondering van de plannen om de reïntegratiedienstverlening te privatisering. Met deze wijziging kunnen de meeste partijen instemmen, met uitzondering van het CDA en de SP; zij stemmen tegen het wetsvoorstel SUWI. Ook in de Eerste Kamer is door vrijwel alle partijen forse kritiek geuit op de eerste voorstellen aangaande de SUWI-wetgeving. En net als in de Tweede Kamer wordt in de Eerste Kamer het gewijzigde voorstel met meer instemming ontvangen. Hoewel de SP zich in de Eerste Kamer niet in het debat mengt stemmen zij, evenals de fractie van het CDA, niet in met de SUWI-wetgeving. De overige partijen wel.
Privatisering reïntegratiedienstverlening
Het deel van de wetgeving dat de privatisering van de reïntegratiedienstverlening betreft kan op instemming rekenen van de Tweede en Eerste Kamer. Of met de privatisering van de reïntegratiedienstverlening de beoogde efficiency en effectievere dienstverlening wordt gerealiseerd is niet zozeer onderwerp van discussie, behalve dat vrijwel alle partijen veel heil verwachten van de markt. Dat het kabinet ook de reïntegratiedienstverlening van de moeilijk plaatsbaren wil privatiseren, in tegenstelling tot wat in het Regeerakkoord stond, stuit op vragen in de Tweede en Eerste Kamer. Getwijfeld wordt of met een geprivatiseerde reïntegratiedienstverlening deze (kansarme) groepen wel worden bediend. Voor de SP (in de Tweede Kamer) is dit de reden om tegen privatisering te stemmen.
In deze paragraaf gaan we in op de mate van borging, sturing en verantwoording na verzelfstandiging en privatisering van de reïntegratiedienstverlening. Wat waren de verwachtingen van de verschillende actoren ten aanzien van deze aspecten, en zijn deze verwachtingen nog veranderd in de loop der tijd? Wordt er aandacht besteed aan de borging van de publieke belangen, en zo ja op welke wijze?
In deze casus is sprake van drie fasen in het proces van privatisering. Deze fasen zullen afzonderlijk worden besproken ten aanzien van de aspecten borging, sturing en verantwoording. In het algemeen kunnen we stellen dat er in het Regeerakkoord van 1998 een belangrijke keuze is gemaakt als het gaat over sturing. Daarin wordt namelijk gesteld dat taken die voor concurrentie in aanmerking komen ook privaat uitgevoerd kunnen worden. Dit geldt in ieder geval voor de reïntegratietaak die de regering onderscheidt in de taken binnen de uitvoering van de sociale verzekeringswetten.
Van belang is te benadrukken dat bij de behandeling van de Wet verzelfstandiging reïntegratiediensten Arbeidsvoorzieningsorganisatie het vooral gaat over de ontvlechting van Arbeidsvoorziening en de overgang naar het extern te verzelfstandigen bedrijf Kliq. Daarbij wordt ook gekeken naar de positie die dit bedrijf krijgt op de reïntegratiemarkt. In dit casusonderzoek wordt niet zozeer ingegaan op de ontwikkelingen op de reïntegratiemarkt, en de veranderende rol van gemeenten en UWV als opdrachtgever. Hoewel deze ontwikkelingen zeer zeker van belang zijn, ook voor de positionering van Kliq op de markt, gaat het hier vooral over de parlementaire behandeling van het te privatiseren overheidsbedrijf. In paragraaf 4.4 worden de ontwikkelingen op de reïntegratiemarkt wel kort belicht.
Sturing en verantwoording kabinet in eerste fase
Nadat de kabinetsstandpunten ten aanzien van SUWI zijn uitgebracht (maart 1999 en januari 2000) komt het kabinet in maart 2000 met een brief over de stand van zaken bij Arbeidsvoorziening. In de brief wordt ingegaan op het eerste kabinetsstandpunt, namelijk dat de hele basisdienstverlening van Arbeidsvoorziening onderdeel wordt van de CWI en dat de reïntegratieactiviteiten in een afzonderlijk bedrijf zullen worden ondergebracht.840 Het kabinet is van oordeel dat dit afzonderlijke bedrijf, dat deel van Arbeidsvoorziening dat zich bezig gaat houden met de reïntegratie van werklozen en arbeidsgehandicapten, op termijn geprivatiseerd kan worden. De positionering op de markt dient uiterst zorgvuldig te gebeuren. In deze brief wordt voor het eerst melding gemaakt van de drie beoogde stappen in het proces naar privatisering:
• interne ontvlechting;
• externe verzelfstandiging; en
• privatisering.841
Uit de brief blijkt dat Arbeidsvoorziening naar aanleiding van het kabinetsstandpunt (maart 1999) en het debat in de Tweede Kamer (juni 1999) de interne ontvlechting voortvarend ter hand heeft genomen. Naast de twee bedrijfsonderdelen – Basisdiensten en het Reïntegratiebedrijf – stelt het bestuur van de Arbeidsvoorziening (CBA) voor nog drie afzonderlijke onderdelen tot stand te brengen: Algemeen Facilitair Bedrijf, Centra Vakopleiding en Europees Sociaal Fonds Nederland. Het betreft hier louter een interne opsplitsing van de Arbeidsvoorzieningsorganisatie. Het bestuur van de Arbeidsvoorziening, het CBA842, blijft verantwoordelijk voor de gehele organisatie, inclusief het Reïntegratiebedrijf Arbeidsvoorziening. Dit betekent dat minister De Vries in deze fase weinig te maken heeft met het ontvlechtingsproces. De minister houdt de vinger aan de pols door in overleg te treden met Arbeidsvoorziening, maar het CBA is verantwoordelijk voor dit proces.
Het CBA heeft haar plannen en verwachtingen voor de komende jaren in de openbaarheid gebracht. Het CBA komt zelf ook tot de conclusie dat op grond van nieuwe ramingen van vraag en aanbod op de arbeidsmarkt in de eerstkomende jaren minder personeel nodig zal zijn dan oorspronkelijk was voorzien.841 Er wordt gewerkt aan een bijgesteld ondernemingsplan Reïntegratiebedrijf en een bijgesteld plan voor de Basisdiensten. In de brief wordt gesteld dat deze plannen binnenkort gereed zullen zijn.
Uit de brief blijkt verder dat Arbeidsvoorziening een ander tijdspad voor ogen heeft dan de minister. Op grond van de veranderde marktomstandigheden, maar ook om voldoende tijd te hebben voor de cultuuromslag geeft het CBA aan dat een externe verzelfstandiging van het Reïntegratiebedrijf per 1 januari 2002 de voorkeur verdient. De minister zegt hierover het volgende: «Ik heb erop aangedrongen dat het CBA zich nader beraadt op zijn mening over de gewenste datum van de externe verzelfstandiging, aangezien de ontwikkeling van de reïntegratiemarkt juist reden kan zijn om reeds vóór 1 januari 2002 het Reïntegratiebedrijf om te vormen tot een overheids-NV. Ook een datum in de loop van 2001 is daarbij denkbaar».841
Ook wordt in de informatie van de minister aan de Tweede Kamer voor het eerst voor de Kamer zichtbaar welke kosten gemoeid zijn met het verzelfstandigen van Arbeidsvoorziening. Met betrekking tot de financiële gevolgen van de interne ontvlechting raamt Arbeidsvoorziening de extra kosten op 2,5 miljard gulden. De minister geeft in de brief aan zich te beraden op de samenstelling en omvang van deze omvangrijke claim.843 Per 1 juli 2000 zullen de reïntegratie-activiteiten die worden bekostigd uit de Rijksbijdrage Arbeidsvoorziening (prestatiebudget) worden ondergebracht in het landelijke gepositioneerde Reïntegratiebedrijf. Daarmee verschuift ook de verantwoordelijkheid van de Regionale Besturen naar de landelijke aansturing van het Reïntegratiebedrijf. Het Centraal Bestuur zal in de zomer van 2000 een toekomstplan voor de Centra Vakopleiding gereed hebben.
Samengevat geeft de minister in deze brief aan de Tweede Kamer aan dat Arbeidsvoorziening primair verantwoordelijk is voor de interne ontvlechting. Maar de minister geeft aan de ontwikkelingen nauwgezet te volgen. Ook voert hij de komende tijd regelmatig overleg over de noodzakelijke financiële bijdrage en over de positionering van de verschillende bedrijfsonderdelen.843 De minister stelt dat de Tweede Kamer met enige regelmaat geïnformeerd zal worden en streeft naar «een periodieke rapportage op hoofdpunten die de Kamer de gelegenheid geeft het proces nauwgezet te volgen en daarover door de bewindslieden verantwoording af te laten leggen».844 Daarnaast zegt de minister toe de Tweede Kamer ook tussentijds te informeren, indien nodig.
De Tweede Kamer over sturing en verantwoording in eerste fase
In het kader van de SUWI-wetgeving doet zich een belangrijke ontwikkeling voor aangaande de verantwoording aan de Tweede Kamer. In mei 2000 vraagt de vaste commissie voor Sociale Zaken en Werkgelegenheid de voorzitter van de Tweede Kamer om SUWI aan te wijzen als groot project. Op 23 mei wordt dit toegekend. De aanwijzing als groot project houdt in dat de Kamer met de minister afspraken maakt over de informatie-eisen en de frequenties van de voortgangsrapportages. Ook worden de onderwerpen vastgesteld waarover de Kamer periodiek geïnformeerd wenst te worden. Eén van de onderwerpen is: «de privatisering van de reïntegratie en de ontvlechting van de arbeidsvoorzieningsorganisatie, daarbij betrokken de rol van de gemeenten in het kader van reïntegratie en sociale activering».845 In paragraaf 4.5 wordt nader ingegaan op deze controlerende functie van de Tweede Kamer.
De hierboven genoemde brief van de minister met informatie over de ontvlechting van Arbeidsvoorziening (van maart 2000) is er op verzoek van het CDA (oppositie) gekomen. Tot dan toe is er binnen dit dossier weinig aandacht voor dit onderwerp in de Tweede Kamer. Pas in juli 2000 is er een apart overleg over dit onderwerp, nadat de Tweede Kamer in juni 2000 opnieuw informatie heeft ontvangen van minister Vermeend (sinds maart 2000 de opvolger van minister De Vries). Uit het verslag van het overleg in de vaste commissie voor Sociale Zaken en Werkgelegenheid blijkt dat de woordvoerders van de verschillende fracties kritisch zijn ten aanzien van het proces naar verzelfstandiging. De PvdA (regeringspartij) betreurt het zo kritisch te moeten zijn over Arbeidsvoorziening, maar acht een striktere sturing en toezicht nodig om ervoor te zorgen dat de zaken niet misgaan.846 De PvdA stemt in met de ontvlechting in drie fasen, maar heeft vragen, evenals andere partijen. De vragen betreffen onder andere de late informatievoorziening (nog niet aangeleverde kwartaalrapportages), informatie over de eigendomsverhouding, intellectueel eigendom, klantenbestanden, bruidsschat, de data van de interne en externe verzelfstandiging, etc. GroenLinks maakt zich zorgen om de ontvlechting omdat Arbeidsvoorziening zelf over de opsplitsing mag beslissen. Het hoofdmotief hoeft dan niet te zijn dat een goede publieke organisatie wordt opgezet.847 GroenLinks vraagt zich verder af of de minister wel voldoende grip heeft op dit dossier. De SGP vraagt de minister wat precies onder de interne ontvlechting moet worden verstaan die aan de externe verzelfstandiging vooraf gaat. De VVD geeft aan «al een jaar geleden om verschillende onderzoeken te hebben gevraagd, bijvoorbeeld naar de marktpositie en -potentie, de vermogenspositie, level playingfield voor het reïntegratiebedrijf en dergelijke.»847 Dat de Kamer zo kritisch is, heeft deels ook te maken met de ontwikkeling aangaande de besteding van gelden van het Europees Sociaal Fonds (ESF). Arbeidsvoorziening heeft ESF-geld dat bestemd was voor projectgeld voor arbeidsmarktbeleid als inkomsten genoteerd op de begroting. D66 merkt hierover op dat de Kamer vaak vragen heeft gesteld over de ESF-controle, maar dat ze evenzo vaak met een kluitje in het riet gestuurd is met het antwoord dat toezicht en controle nu verbeterd zouden zijn. «In het kader van SUWI dient nog een fundamentele discussie over het toezicht te worden gevoerd.»848
Reactie minister
Minister Vermeend geeft in zijn reactie aan dat het hem parten speelt dat hij maar beperkte bevoegdheden heeft ten aanzien van Arbeidsvoorziening: «De Arbeidsvoorziening is een zelfstandig bestuursorgaan met vergaande bevoegdheden. De politieke verantwoordelijkheid berust bij de minister die beperkte bevoegdheden heeft.»849 De minister geeft aan te worstelen met die beperkte bevoegdheden. In het overleg met de Kamer moet hij zich verantwoorden over de interne ontvlechting, maar feitelijk zou het CBA veel beter met de Kamer hierover in debat kunnen gaan. Ook geeft de minister aan dat ten aanzien van de verdere stappen – externe verzelfstandiging en privatisering – Arbeidsvoorziening zich alleen nog intern kan voorbereiden, zolang de wet nog niet gewijzigd is.850 De verwachting is dat de interne ontvlechting per 1 oktober 2000 gerealiseerd zal zijn. Het is wenselijk dat het bedrijf zo snel mogelijk daarna een private rechtsvorm krijgt en geen onderdeel meer is van de Arbeidsvoorzieningsorganisatie. Het CBA onderschrijft dat ook, en denkt dat de (externe) verzelfstandiging per 1 april 2001 een feit kan zijn; dit in tegenstelling tot de eerder door het CBA aanbevolen datum van 1 januari 2002. Diverse partijen vragen om een apart overleg over de toezichtvraag. De minister zegt in zijn eerste reactie er «prijs op te stellen de vraag hoe het toezicht in meer algemene zin goed te organiseren in een apart overleg met de Kamer te bespreken.»851 In de tweede termijn tijdens hetzelfde Algemeen Overleg scherpt hij deze toezegging aan: «de minister verklaarde niet van plan te zijn de discussie over de toezichtstructuur over te doen. Het is wel belangrijk na te gaan of de toezichtstructuur die in ontwikkeling is, wel de meest adequate is.»852 Er komt dus geen apart overleg over de toezichtstructuur, maar in de debatten over de weg naar verzelfstandiging en privatisering wordt aandacht besteed aan hoe het toezicht georganiseerd moet worden.
Ten aanzien van de financiële claim van Arbeidsvoorziening geeft de minister aan deze af te wijzen, en hij zegt toe dat er «een objectief onderzoek komt naar de levensvatbaarheid en de strategische mogelijkheden. Aan de hand daarvan wordt vastgesteld, hoeveel middelen ingezet zullen worden.»852 De minister zegt verder toe na te gaan welke onderzoeken reeds een jaar geleden zijn toegezegd, welke lopen, wanneer zij zullen zijn afgerond en welke nieuwe onderzoeken in gang zijn gezet, met de vermoedelijke einddatum852.
Om sturing te kunnen houden is het noodzaak dat de minister snel komt met wetsvoorstellen omtrent de verzelfstandiging. Dit gebeurt dan ook. In september 2000 wordt het wetsvoorstel voor de oprichting van de NV Kliq aangeboden aan de Eerste en Tweede Kamer. Nota bene: dit is de keer dat de Eerste Kamer over dit dossier wordt geïnformeerd.853 In december 2000 wordt het wetsvoorstel Verzelfstandiging reïntegratiediensten Arbeidsvoorzieningsorganisatie aan de Tweede Kamer aangeboden. Het streven was om nog voor de begrotingsbehandeling het wetsvoorstel aan de Tweede Kamer voor te leggen,852 maar uiteindelijk vallen deze data nagenoeg samen.
Borging publieke belangen eerste fase
Het borgen van de publieke belangen speelt zich in deze fase vooral af in de SUWI-debatten. Al in het eerste debat over de eerste SUWI-nota (juni 1999) refereren de PvdA, het CDA en de SP aan de positie van de groepen met een grote afstand tot de arbeidsmarkt, die door het opheffen van Arbeidsvoorziening aan de markt worden overgedragen. De woordvoerder van het CDA verwoordt dit als volgt: «Dit betekent dat mensen met de zwakste arbeidsmarktpositie aan de markt worden overgedragen.»854 De woordvoerder van de SP haalt hier ook de internationale context aan en vreest voor Amerikaanse toestanden: «Kansrijken worden snel geholpen door de private bedrijven, terwijl degenen die dat niet zijn uiteindelijk bij de gemeente terechtkomen en een heel andere behandeling nodig hebben». Verder refereert de woordvoerder van de SP aan een tweedeling in Engeland met de jobcenters, «doordat men er het zicht op verliest waar degenen met minder kansen terechtkomen en hoe het gaat met degenen met meer kansen.»855
Ook in het debat over de tweede SUWI-nota (maart 2000) wordt wederom door verschillende partijen aan de positie van de zwakkere groepen op de arbeidsmarkt gerefereerd. De PvdA, het CDA, de SP, de RPF, GroenLinks, en de SGP spreken allen hun zorg uit over de positie van deze groepen in relatie tot de privatisering van de reïntegratiepoot van Arbeidsvoorziening. De SP spreekt zich als enige partij uit tegen marktwerking, en haalt daarbij – als voorbeeld hoe het niet moet – de marktwerking en de privatisering in de thuiszorg aan: «Wij zijn daarvan teruggekomen, omdat het tot het bekende verhaal leidde van particuliere ondernemers die de krenten uit de pap haalden.»822
Vanuit het kabinet wordt verzekerd dat zolang de regering collectieve middelen ter beschikking stelt ook de reïntegratie van de groepen met de grootste afstand tot de arbeidsmarkt blijft gewaarborgd. In het debat naar aanleiding van de eerste SUWI-nota reageert de minister op de positie van kwetsbare groepen als volgt: «Ik stel mij voor dat bij de toedeling van reïntegratiebudgetten aan de gemeenten en de uvi's nadrukkelijk wordt aangegeven dat er aandacht moet worden besteed aan de cliënten uit de verschillende groepen, zodat met niet kan zeggen: wij krijgen nu geld en dat besteden wij wel aan fase 2 of aan fase 3, maar fase 4 schiet erbij in. Dat kan niet het geval zijn.»856
Ook bij de bespreking van de tweede SUWI-nota reageert de minister op de uitgesproken zorg van de verschillende partijen om de positie van moeilijk plaatsbaren, ook in tijden waarin het economisch slechter gaat. De minister zegt hierover het volgende: «Dit is in belangrijke mate afhankelijk van de inspanningen die het Rijk, de gemeenten en de uitvoeringsorganisaties zich zullen getroosten om iedereen, dus ook de moeilijke cliënten, goed te bedienen. Daar zullen, evenals nu, middelen voor beschikbaar gesteld worden.»857
Conclusies sturing en verantwoording fase 1
De interne verzelfstandiging bij Arbeidsvoorziening, waarbij de reïntegratie-activiteiten worden ondergebracht in een zelfstandig onderdeel Reïntegratiebedrijf Arbeidsvoorziening, is wat betreft sturing en verantwoording een lastige fase. Arbeidsvoorziening is een zelfstandig bestuursorgaan (ZBO) en het bestuur van de Arbeidsvoorziening, het CBA, is zelf verantwoordelijk voor de interne ontvlechting. De minister probeert grip te houden door regelmatig in overleg te treden met het CBA. Ook vervroegt hij de datum waarop de externe verzelfstandiging zou moeten plaatsvinden, vergeleken met het voorstel van het CBA. De verantwoording naar de Tweede Kamer komt mondjesmaat op gang. Aanvankelijk vraagt de Kamer daar ook niet om, maar bij monde van het CDA komt daar verandering in. Vervolgens blijkt meer en meer dat de informatie die gestuurd wordt veel onduidelijke elementen bevat. Een belangrijke ontwikkeling in deze fase is dat de hele SUWI-operatie als groot project wordt aangemerkt en de Tweede Kamer om regelmatige voortgangsverslagen vraagt, ook over de privatisering van de reïntegratie en de ontvlechting van de arbeidsvoorzieningsorganisatie.
In deze fase speelt de behandeling van de Wet verzelfstandiging reïntegratiediensten Arbeidsvoorzieningsorganisatie een rol. Deze wet regelt de overgang van de huidige dienstverlening door de Arbeidsvoorzieningsorganisatie (reïntegratie van moeilijk plaatsbare werkzoekenden en arbeidsgehandicapten, en bemiddeling van moeilijk vervulbare vacatures) naar een privaatrechtelijk bedrijf dat in concurrentie met derden opdrachten moet verwerven.858 Het voorstel van het kabinet is een nieuwe rechtspersoon op te richten, waarin de reïntegratie-activiteiten die voorheen werden uitgevoerd door Arbeidsvoorziening859 zullen worden ondergebracht. De rechtspersoon zal een naamloze vennootschap zijn, waarbij de aandelen aanvankelijk in handen zijn van de Staat der Nederlanden. «Het CBA draagt na de externe verzelfstandiging geen verantwoordelijkheid meer voor het beleid en de resultaten van de NV. Voor deze verandering is deze wet nodig.»860
De keuze voor een privaatrechtelijke vorm is gebaseerd op de overweging dat er geen wettelijke taken door de organisatie behoeven te worden vervuld. Na de externe verzelfstandiging heeft de ministeriële verantwoordelijkheid dan ook geen betrekking meer op het functioneren van het reïntegratiebedrijf, onverlet de verantwoordelijkheid van de Staat als aandeelhouder.861 «Het beleid inzake staatsdeelnemingen (1996/96) geeft aan dat de keuze voor de privaatrechtelijke rechtsvorm voor de hand ligt wanneer de overdracht van het eigendom van de rechtspersoon op kortere of langere termijn aan de orde is. Dit is onder andere het geval indien de beleidsvoornemens erop gericht zijn de taken die de rechtspersoon vervult onder de tucht van de markt te brengen. Er is dan op termijn geen doorslaggevende reden meer waarom de Staat aandeelhouder zou moeten blijven.»861
Sturing en verantwoording kabinet in tweede fase
Het kabinet acht twee zaken in deze fase van groot belang, te weten de financiële startpositie van de NV en de continuïteit van de dienstverlening aan cliënten. De financiële startpositie komt tot uiting in de openingsbalans, waarin een deel van de activa en passiva van Arbeidsvoorziening wordt opgenomen. De openingsbalans kan worden aangevuld met de noodzakelijk gebleken financiële middelen. De financiële startpositie van de NV zal door de Staat worden bepaald na advisering door externe deskundigen.862 Ten aanzien van de continuïteit van de dienstverlening acht het kabinet het noodzakelijk om voldoende reïntegratiecapaciteit en continuïteit in de dienstverlening in stand te houden. Dat betekent dat het kabinet kiest voor een «tijdelijke en in omvang van te besteden middelen afnemende garantie over te leveren diensten.»863 Het kabinet kiest ervoor om deze garantie vorm te geven door het CBA te verplichten de prestatiebijdrage te besteden bij de NV. De omvang hiervan wordt in overleg met het CBA vastgesteld.
Het toezicht tijdens deze fase blijft bij de minister van SZW. Daarbij staan hem de gebruikelijke instrumenten als goedkeuring van de begroting en het beleidsplan ten dienste. «Het grote verschil met de huidige situatie is dat het CBA niet meer in directe zin verantwoordelijk is voor de uitvoering van een groot deel van de diensten die gefinancierd worden uit de prestatiebijdrage. Het CBA blijft wel verantwoordelijk voor een rechtmatige en doelmatige besteding van de Rijksbijdrage, waaronder ook de prestatiebijdrage. Het CBA kan die verantwoordelijkheid alleen waarmaken voor zover dat past in de contractuele verhouding met de NV. Het toezicht van de minister heeft dan ook betrekking op het contract dat het CBA afsluit met de NV.»864 Ten aanzien van de informatievoorziening aan de minister wordt gesteld dat deze primair loopt via de Arbeidsvoorzieningsorganisatie. In uitzonderingssituaties – indien de informatievoorziening via de Arbeidsvoorzieningsorganisatie niet toereikend is – mag de minister rechtstreeks inlichtingen vragen bij de NV.864
In het wetsvoorstel is ook de uitvoeringstoets van het CBA opgenomen. «Het CBA acht een externe verzelfstandiging per 1 april 2001 haalbaar en onderschrijft de noodzaak Kliq zo snel mogelijk als een privaat bedrijf te positioneren.»865 Daarnaast is het CBA van mening dat de rol van de Staat zich dient te beperken tot de rol van aandeelhouder en dat de Staat niet op de stoel van de ondernemer moet gaan zitten. «Deze rol van aandeelhouder moet ook niet vermengd te worden met de wetgevende, toezichthoudende rol.»865 Het CBA is verder van mening dat de NV vanaf het begin een structuur-NV moet zijn. De opvatting van het CBA over de rol van de Staat ten aanzien van de NV is in lijn met het beleid inzake staatsdeelnemingen. In lijn met dit beleid is echter ook dat gedurende de eerste jaren de invloed van de aandeelhouder niet wordt beperkt. De statuten van de NV zijn ingericht volgens het regime van een gewone vennootschap. Dit biedt de aandeelhouder de mogelijkheid nog invloed uit te oefenen op strategische beslissingen.865 In een structuur-NV is deze mogelijkheid er niet.
Verder wil het CBA het artikel in de instellingswet laten vervallen waarin staat dat de minister rechtstreeks informatie kan vragen aan de NV. Het kabinet merkt hierover op dat de minister inderdaad geen direct toezicht houdt op de NV maar dat het gewenst is, zolang de Staat aandeelhouder is, dat de minister informatie kan vragen over de besteding van de publieke middelen. Het kabinet vergelijkt dit met de toegang tot informatie van de NV voor de Algemene Rekenkamer op basis van de Comptabiliteitswet. «Het ligt dan in de rede voor de minister een vergelijkbare bevoegdheid te regelen.»866
De Tweede Kamer over sturing en verantwoording in tweede fase
Een dag voordat het wetsvoorstel naar de Kamer wordt gestuurd vindt de begrotingsbehandeling plaats van het ministerie van Sociale Zaken en Werkgelegenheid (7 december 2000). In het debat over de begrotingsbehandeling wordt een motie ingediend die gevolgen heeft voor het wetsvoorstel. Het betreft de motie van de leden Wilders, Schimmel en Verburg inzake het prestatiebudget. In het voorstel van het kabinet wordt dit prestatiebudget naar gemeenten en UWV overgeheveld en dient het verplicht (aan)besteed te worden aan Kliq gedurende de eerste jaren (het zogenaamde overgangsregime). De motie gaat in op het feit dat in diverse begrotingstukken een vorm van verplichte winkelnering met betrekking tot de NV Kliq is vastgesteld ten aanzien van prestatiebudgetten en de zogenoemde sluitende aanpak. De VVD, het CDA en D66 vinden dit in strijd met de afspraken die in de SUWI-debatten zijn gemaakt over gelijke concurrentiepositie voor reïntegratiebedrijven, en verzoeken de regering te bevorderen dat Arbeidsvoorziening alleen naar rato kan beschikken over de prestatiebijdrage en de middelen voor de sluitende aanpak 2001 en dat het restant van het budget volgens de huidige verdeelsleutel wordt verdeeld over de uvi’s en gemeenten.867 De minister gaat niet meteen akkoord met de motie en vraagt de Kamer de motie aan te houden. Hij reageert op de motie met een brief aan de Tweede Kamer op 12 december 2000.868 In de brief motiveert de minister waarom er gekozen is voor een – vrij gebruikelijke – tijdelijke (afnemende) omzetgarantie. «Bij privatiseringsoperaties vergt het veelal enige tijd om over te schakelen van een publieke organisatie naar een levensvatbare private onderneming.»869 Het opvolgen van de motie zou betekenen dat vanaf het moment van privatisering (1 april 2002) het bedrijf nagenoeg de volledige omzet uit de markt zou moeten halen, terwijl de organisatie- en kostenstructuur nog niet is aangepast aan de nieuwe omstandigheden. De minister wil de organisatie tijd en ruimte geven om zich aan te passen en stelt daarom voor (en dit is in het wetsvoorstel verzelfstandiging reïntegratiediensten Arbeidsvoorziening opgenomen) dat tot aan de inwerkingtreding SUWI per 1 januari 2002 het Centraal Bestuur Arbeidsvoorziening de prestatiebijdrage verplicht bij de NV Kliq moet besteden. «De belangrijkste overweging hiervan is dat daarmee wordt voorkomen dat per 1 april 2001 de dienstverlening stilvalt.»870 De minister wil in januari 2001 een besluit nemen over de noodzaak en vormgeving van de omzetgarantie en zal de Tweede Kamer daarvan op de hoogte stellen. Hij verzoekt dan ook de motie aan te houden totdat er meer informatie beschikbaar is «over het ondernemingsplan en de motie te betrekken bij de behandeling van het ondernemingsplan en de omzetgarantie aan NV Kliq.»870 Het verzoek van de minister wordt niet gehonoreerd. Bij de stemming over de begroting wordt de motie aangenomen. De fracties van de VVD, het CDA en D66 zijn voor, de overige fracties zijn tegen.871
In februari 2000 volgt de behandeling van het wetsvoorstel in vast commissieverband. Opvallend is dat men enerzijds de voorbereiding van dit wetsvoorstel voldoende acht, terwijl er anderzijds op veel punten zeer kritische vragen gesteld worden over onderdelen van het wetsvoorstel. Verschillende partijen merken op dat zij het wetsvoorstel niet goed kunnen beoordelen omdat er met name financiële informatie ontbreekt. De VVD is hier het meest uitgesproken over en vraagt zich af hoe zij met dit wetsvoorstel kunnen instemmen terwijl nog zoveel zaken onuitgewerkt zijn: «hierbij spelen de financiële aspecten als omzetgarantie, eventuele investeringsimpuls en de verdere invoeringskosten een grote rol.»832
Ook had de VVD dit wetsvoorstel al veel eerder verwacht en acht verdere vertraging zeer schadelijk. Naast het feit dat er zich op het bestuurlijk vlak ook ontwikkelingen hebben voorgedaan872 stellen de genoemde punten «de leden van de VVD-fractie voor de vraag of het voorliggende wetsvoorstel wel in deze vorm kan worden beoordeeld door het parlement.»833 Daarbij refereert de VVD-fractie aan het plan van de Tweede Kamer om een contra-expertise uit te laten voeren.873 Ook het CDA vraagt zich af hoe dit wetsvoorstel te beoordelen en geeft aan, in navolging van de Raad van State, dat de versnelling in de verzelfstandigingsoperatie van Kliq een zorgvuldige beoordeling van dit wetsvoorstel in relatie tot het gehele SUWI-proces bemoeilijkt.874 GroenLinks wil de komende jaren bezien of de concurrentie bij reïntegratieactiviteiten de effectiviteit en efficiency inderdaad verhoogt, voordat besloten wordt de NV Kliq volledig los te laten. GroenLinks laat haar definitieve standpunt ten aanzien van dit wetsvoorstel afhangen van de beantwoording van aantal vragen.
De belangrijkste vragen waar de Kamer antwoordt op wil krijgen, alvorens met dit wetsvoorstel in te stemmen luiden als volgt:
• Allereerst is er de vraag naar financiële stukken, zoals hierboven genoemd. Verschillende fracties spreken net als de VVD uit dat zij dit wetsvoorstel niet kunnen beoordelen zonder de noodzakelijke financiële onderbouwing.
• Een ander belangrijk punt betreft het proces en tijdspad van de privatisering; wanneer acht de regering de tijd rijp om de aandelen Kliq te vervreemden, aan welke voorwaarden moet zijn voldaan?
• Dan zijn er belangrijke vragen over het overgangsregime bij vrijwel alle fracties naar aanleiding van de aangenomen motie-Wilders c.s.. De regering wil een omzetgarantie realiseren via een geleidelijk af te bouwen prestatiebudget. Dit staat haaks op de motie- Wilders c.s.. Gaat de regering deze motie uitvoeren en een andere methode kiezen om het bedrijf een goede start te geven op levensvatbaarheid?875 GroenLinks verwoordt dit als volgt: «Wel vinden wij het opzienbarend dat het wetsvoorstel niets regelt over de aard, omvang en duur van een omzetgarantie waardoor de parlementaire toetsing onmogelijk is. Welke overwegingen liggen hieraan ten grondslag en is het mogelijk om dit in lagere regelgeving nader te regelen? Is de regering inderdaad bereid dit te doen?»876
• Tot slot zijn er vragen over de bestuurlijke verhoudingen en het toezicht. Er zijn kennelijk spanningen ontstaan tussen de minister en het CBA naar aanleiding van het ESF-dossier.877 In januari 2001 zijn twee nieuwe bestuurders benoemd die rechtstreeks aan de minister verantwoording afleggen. De PvdA, het CDA en D66 vragen naar de precieze verantwoordelijkheidsverdeling tussen het CBA, Kliq en de minister.878 D66 is van mening «dat dit wetsvoorstel op het punt van toezicht over de hele linie tekortschiet. Zeker gezien de ervaringen in het verleden, lijkt het geen overbodige luxe een scherp toezicht te waarborgen.»879
Kabinet/minister gaat aan de slag
De minister gaat met de vragen van de Kamer aan de slag. Kort voor het debat in de vaste commissie komt de minister in maart 2001 met een brief over de financiële aspecten. In deze brief vermeldt de minister ook dat in januari 2001 de bestuurlijke constellatie bij Arbeidsvoorziening grondig gewijzigd is. «Op 15 respectievelijk 22 januari zijn bij Kliq de bestuurders Le Blanc en Aptroot aangetreden. U bent daarover reeds geïnformeerd.»880
Verder blijkt er een aantal vertrouwelijke stukken te zijn, die alleen ter inzage liggen voor de leden van de Staten-Generaal Het betreft de volgende stukken:
• het oorspronkelijke ondernemingsplan van Kliq (oktober 2000);
• de beoordeling van dit ondernemingsplan door Arthur Andersen in opdracht van het Rijk;
• een geactualiseerde financiële paragraaf van het ondernemingsplan Kliq (februari 2001); en
• een rapport van Price Waterhouse Coopers (eind 2000) in opdracht van het CBA.881
De conclusie van het onderzoek door Arthur Andersen was «dat er sprake is van een deugdelijk onderbouwd plan waarin op een adequate manier de te ondernemen stappen in het transformatieproces worden beschreven. Niettemin resulteerden onzekerheden die zich met name toespitsten op de omvang van het bedrijf.»882 Deze conclusie was de stand van zaken begin januari 2001. In januari treden echter nieuwe bestuurders aan waardoor de zaken veranderden. Zij komen, na de beoordeling en verdieping in de problematiek, tot de conclusie dat «ook met inachtneming van de vervulling van de normale financiële randvoorwaarden er nog een zekere weg te gaan is; de organisatie moet worden aangepast, de commerciële slagkracht moet worden vergroot en de klantoriëntatie moet met prioriteit worden versterkt».883 Deze nieuwe inzichten noopten tot aanpassing van het oorspronkelijke ondernemingsplan.
Ten aanzien van het overgangsregime wordt het oorspronkelijke ondernemingsplan, dat voorzag in een afbouw van de prestatiebijdrage in vier jaar, aangepast. Dit komt tevens tegemoet aan de motie-Wilders c.s. De minister stelt voor de prestatiebijdrage in twee jaar tijd af te bouwen. Vanaf 2004 moet Kliq zijn volledige omzet uit de vrije markt realiseren. Het uitgangspunt is dat het bedrijf schoon wordt opgeleverd, dus niet belast met de afwikkeling van (eventuele) negatieve financiële erfenissen of bovenmatige reserves. De minister stuurt een indicatieve openingsbalans mee en verwacht dat de (definitieve) openingsbalans circa twee maanden na de oprichtingsdatum van de NV beschikbaar zal komen.884
Ten aanzien van het aandeelhouderschap geeft de minister aan dat al in juni 1999 gezegd is dat het in de overgangsfase voor de hand ligt om te kiezen voor een NV waarvan de Staat in eerste instantie alle aandelen houdt. «Ook bij eerdere externe verzelfstandigingen (KPN, PinkRoccade) werd gekozen voor een NV-vorm met de Staat in aanvang als enige aandeelhouder» .885 Daarbij wordt ervoor gekozen om het structuurregime pas te laten gelden op het moment waarop dat wettelijk verplicht wordt (na drie jaar). Dat betekent dat er niet gekozen wordt voor een vrijwillig structuurregime, waarbij de Staat als aandeelhouder meer op afstand komt te staan, en de Raad van Commissarissen meer bevoegdheden heeft ten opzichte van de aandeelhouders. Pas na drie jaar gaat het structuurregime gelden, tot die tijd zal er sprake zijn van een reguliere vennootschap, waarbij de Staat als aandeelhouder op gepaste afstand van de onderneming zal staan. Geen operationele bevoegdheid dus, maar wel bevoegdheden ten aanzien van een beperkt aantal ingrijpende besluiten.886
Nadat de minister de Tweede Kamer over de financiële aspecten van de oprichting van de NV heeft geïnformeerd, volgen in maart een nota naar aanleiding van het verslag en een nota van wijziging. De minister gaat hier in op de vragen die gesteld zijn in het debat met de vaste commissie in februari 2001. Hij gaat er vanuit «dat het voor de Kamer mogelijk moet zijn op korte termijn tot een definitief oordeel over het wetsvoorstel te komen.»887 Deze verwachting en hoop van de minister komen niet uit.
Het proces naar externe verzelfstandiging loopt vertraging op
Er doen zich tijdens deze fase twee ontwikkelingen voor die het proces van de externe verzelfstandiging van Kliq aanzienlijk vertragen.
De eerste ontwikkeling betreft het verzoek van de Tweede Kamer om een extern onderzoek te laten uitvoeren naar de startpositie en levensvatbaarheid van Kliq. Dit gebeurt nadat de eerste voortgangsrapportage is verschenen en de Tweede Kamer het wetsvoorstel Verzelfstandiging reïntegratiediensten Arbeidsvoorzieningsorganisatie heeft ontvangen (december 2000). Er leven bij de vaste commissie: «nog vele vragen over de financieel-comptabele aspecten van de ontvlechting van de Arbeidsvoorzieningsorganisatie, waarbij vooral de totstandkoming van een privaat reïntegratiebedrijf (NV Kliq) duidelijkheid behoeft. Vragen waarop voorliggende stukken geen antwoord geven.»888
Nog voordat over het wetsvoorstel met de minister is gesproken vraagt de Tweede Kamer dus om een extern onderzoek. Opmerkelijk is dat dit vrijwel niet terug te vinden is in de stukken rondom dit wetgevingsproces. In februari 2001 wordt er door de VVD aan gerefereerd tijdens het overleg over de voorbereiding van het wetsvoorstel, en tijdens het plenaire debat over de SUWI-wetgeving in juni 2001 wordt duidelijk dat hierom is gevraagd. Het onderzoek wordt uitgevoerd door KPMG. Pas in september 2001 wordt door de VVD naar de stand van zaken gevraagd met betrekking tot het onderzoek.889 Twee weken later, op 19 september 2001, worden de Tweede Kamerleden in een besloten briefing door KPMG vertrouwelijk geïnformeerd over de onderzoeksresultaten.890 Opmerkelijk is dat het rapport daarna niet officieel aangeboden is aan de Tweede Kamer, en dus niet als Kamerstuk terug te vinden is. Wel wordt er door de minister en de Tweede Kamerleden naar de resultaten van dit onderzoek verwezen in de debatten en overleggen die na deze datum nog plaatsvinden.
De tweede ontwikkeling doet zich voor tijdens de plenaire behandeling van de SUWI-wetgeving in juni 2001. Tijdens deze behandeling wordt duidelijk dat de Tweede Kamer bezwaren heeft tegen de verplichte inkoop door de gemeenten en UWV bij Kliq, en verzoekt het kabinet te gaan kijken naar alternatieven. Het kabinet was overigens wel op de hoogte van de bezwaren van de Kamer, gezien de hier eerder genoemde aangenomen motie-Wilders c.s. Het kabinet heeft ondanks deze bezwaren de gedwongen winkelnering opgenomen in de Invoeringswet SUWI, die tegelijkertijd met de SUWI-wetgeving in juni 2001 plenair wordt behandeld. In het debat hierover blijken diverse fracties hier niet blij mee te zijn. Bij amendement wordt het voorgestelde overgangsregime geschrapt. Het amendement is ingediend door de regeringspartijen VVD en PvdA, en oppositiepartijen D66 en CDA.891 Terwijl de VVD, evenals D66 en het CDA, ook al betrokken was bij de motie over dit onderwerp, heeft ook regeringspartij PvdA besloten af te willen zien van de gedwongen winkelnering bij Kliq. Bij stemming over het amendement stemmen alleen de fracties van de SP en GroenLinks tegen.892 De minister heeft hierover: «de pest in (..) Ik heb begrip voor de opstelling van de Kamer, gezien de motie-Wilders. Ons was bekend dat er bezwaren leefden bij de Kamer. Toch zit ik met een probleem. De Kamer zegt ervan uit te gaan dat wij creatief genoeg zijn om iets te bedenken waardoor Kliq een eerlijke kans op de markt krijgt. De minister van Financiën en ik hebben de mogelijkheden bekeken, maar hebben moeten constateren dat de alternatieven niet direct voor de hand liggen. Dat heeft ook te maken met Europese regelgeving.»893
Het kabinet komt met alternatieven
Door deze twee ontwikkelingen duurt het tot oktober voordat de minister met nieuwe informatie komt. Dit is een flinke streep door de rekening van het kabinet, dat Kliq NV al per 1 april 2001 extern wilde verzelfstandigen. In oktober komt het kabinet – in een gezamenlijke brief van de minister van SZW en de minister van Financiën – met alternatieven voor de positionering van Kliq op de markt. De nieuwe strategie is om in te zetten op drie terreinen:
• reïntegratiedienstverlening voor het UWV en gemeenten;
• employability-diensten gericht op verzuimreductie en in-, door- en uitstroomdienstverlening voor bedrijven en instellingen; en
• detachering van schaarse competentie op het terrein van sociale zekerheid en arbeidsmarkt.894
Om de dienstverlening effectiever af te stemmen op de wensen van relevante klantengroepen wordt door de bestuurders van Kliq actief gezocht naar samenwerking met erkende marktpartijen. Omdat het overgangsregime is komen te vervallen, worden alternatieven verkend om een goede uitgangspositie op de markt te creëren. «Met het elimineren van de tijdelijke verplichte winkelnering is een belangrijke bouwsteen uit het financiële bouwwerk rond Kliq weggevallen. Om Kliq toch een faire kans op de markt te geven is derhalve een adequate compensatie nodig,» aldus de minister.895
Het kabinet heeft de bestuurders van Kliq aanvullende financiering toegezegd voor het aangaan van samenwerkingsverbanden/acquisities. Deze zijn nodig volgens de bestuurders «om een snelle turn-around van Kliq naar een volwassen en volwaardige marktspeler te kunnen bereiken. Dit is des te meer dringend aangezien de markt voor reïntegratie- en employability-diensten reeds geliberaliseerd is en er een felle concurrentiestrijd tussen de verschillende aanbieders is.»895
Het kabinet stelt voor de Kamer vooraf te informeren als:
• (gedeeltelijke) verkoop van bedrijfsonderdelen van Kliq op het terrein van reïntegratie aan de orde is;
• acquisitie en/of deelneming van Kliq in een ander bedrijf, en een substantieel deel van het eigen vermogen van Kliq, gemoeid met het verkrijgen van de betreffende overname of deelneming, aan de orde is.
Daarbij luiden de criteria voor het beoordelen van de voorgenomen allianties of samenwerkingsverbanden als volgt:
• is er sprake van een ordelijk proces (fair, transparant en te verantwoorden);
• is het financieel aanvaardbaar (wegen de kosten op tegen de baten);
• is het niet strijdig met wetgeving (concurrentie ten opzichte van wettelijke taken, beletselen vanuit de NMa); en
• is er commitment van betrokkenen (ondernemingsraad, Raad van Advies e.d.)?
Ook wordt een belangrijke randvoorwaarde gesteld, namelijk dat ten aanzien van het gehele proces van allianties/samenwerkingsverbanden geldt dat er «geen aanwijsbare nadelige publieke effecten optreden als gevolg van de voorgestelde samenwerkingsrelatie.»896
Sturing en verantwoording in deze fase is moeizaam proces
Nadat het kabinet alternatieven heeft uitgewerkt naar aanleiding van het wegvallen van het overgangsregime (afschaffen van de verplichte winkelnering/afbouw omzetgarantie) en de nieuwe strategie en financiële startpositie (met een nieuwe indicatieve openingsbalans) van Kliq uiteen heeft gezet, is de Kamer weer aan zet. In oktober 2001 volgt er een verslag van het overleg van de minister met de vaste commissie voor SWZ. De Kamer heeft dan inmiddels de beschikking over de resultaten van het onderzoek van KPMG897 naar de levensvatbaarheid en startpositie van Kliq dat op verzoek van de Tweede Kamer is uitgevoerd. De Kamer acht het wetsvoorstel voldoende voorbereid, onder voorbehoud dat nadere vragen en opmerkingen genoegzaam worden beantwoord.898 De belangrijkste vragen die in dit overleg worden gesteld betreffen wederom de financiële startpositie en het proces naar privatisering.
Met name de fracties van de PvdA, de VVD, en het CDA vragen naar een verklaring voor het ontbreken van (financiële) gegevens met betrekking tot de openingsbalans. De PvdA vraagt om een toelichting op de conclusie van KPMG: «Voor het antwoord op de vraag in hoeverre privatisering leidt tot doelmatige en rechtmatige besteding van publieke middelen hebben de onderzoekers van KPMG geen stukken met overwegingen aangetroffen.»899
Aangezien het kabinet een schone oplevering wil, wordt ook de vraag gesteld in hoeverre er dan sprake is van open-eind-financiering. De VVD merkt op dat de inschattingen van de technische posten op de openingsbalans nog flink kunnen afwijken als de definitieve openingsbalans bekend wordt. «De Kamer heeft met andere woorden geen notie of de bedragen die met de verzelfstandiging van Kliq gemoeid zijn wel hard vaststaan. Het zal de regering duidelijk zijn dat het de Kamer onmogelijk is om zonder nadere voorziening in te stemmen met een en ander. De leden van de VVD-fractie verzoeken dringend om een zodanige inrichting van dit wetsvoorstel dat de Kamer weliswaar akkoord kan gaan met verzelfstandiging, maar onder nadrukkelijk voorbehoud ten aanzien van de totale financiële kosten.»900
De Kamer geeft aan niet zo veel te hebben aan weer een nieuwe indicatieve openingsbalans, zolang een aantal posten nog heel onzeker zijn. Terwijl het kabinet steeds zo goed mogelijk probeert te voldoen aan de eisen en wensen van de Kamer blijven er onzekerheden met betrekking tot de externe verzelfstandiging van Kliq. De Kamer wenst enkele zekerheden over de posten op de openingsbalans, maar de minister stelt bij herhaling dat voor «de zogenaamde technische posten geldt, dat deze in de definitieve openingsbalans aanmerkelijke afwijkingen kunnen vertonen. Bij vaststelling van de openingsbalans is pas zicht op de omvang van deze posten op het moment van verzelfstandiging.»901 Ten aanzien van de verantwoording stelt de minister dat investeringen die nu nog gedaan worden uit de publieke middelen tot het moment van verzelfstandigen deel uitmaken van de jaarrekening van de Arbeidsvoorzieningsorganisatie. Dit betekent dat het deel uitmaakt van de controle door de accountant op rechtmatigheid en doelmatigheid.902 Over de prognose van Kliq stelt de minister dat «noch voor Kliq noch voor andere private reïntegratiebedrijven betrouwbare prognoses zijn te geven, aangezien de resultaten van de bedrijven van meerdere factoren afhankelijk zijn.»902
Door het wegvallen van de gegarandeerde omzet voor Kliq is de startpositie veranderd. Deze wijziging is door de Kamer afgedwongen en als gevolg daarvan is een nieuw businessplan opgesteld. De bestuurders van Kliq hebben hier hun vertrouwen in uitgesproken, maar tekenen er wel bij aan dat de «risico's voor de onderneming door de wijziging van het overgangsregime in de beginfase zijn toegenomen.»903
Over de sturing en verantwoording ten aanzien van de definitieve openingsbalans zegt de minister: «De definitieve openingsbalans zal pas na de datum van verzelfstandiging van Kliq kunnen worden opgesteld, zodat het kabinet pas achteraf verantwoording zal afleggen over de definitieve openingsbalans. De geactualiseerde openingsbalans biedt evenwel naar het oordeel van het kabinet voldoende inzicht in de financiële startpositie van Kliq om daar een gefundeerd oordeel over te kunnen geven.»904
GroenLinks vraagt naar aanleiding van het rapport van KPMG ook specifiek naar het proces van verzelfstandiging. Zij vraagt niet alleen naar de stappen, maar ook naar de wijze waarop de Kamer hierbij wordt betrokken. Ook de VVD vraagt het faseringstraject zodanig in te richten dat de Kamer de ontwikkelingen kan volgen. Het proces verloopt in drie stappen, hetgeen tevens belangrijke mijlpalen zijn, aldus de minister:
De interne ontvlechting Arbeidsvoorziening heeft al per 1 oktober 2000 plaatsgevonden.
De verzelfstandiging van Kliq als privaat rechtspersoon zal per 1 januari 2002 plaatsvinden. Hiertoe is een ondernemingsplan geschreven en moet een overgangsregime en openingsbalans voor Kliq worden vastgesteld. In de brief van 5 oktober zijn het (herziene) overgangsregime en de geactualiseerde openingsbalans opgenomen. De hoofdlijnen liggen hiermee vast, er kunnen zich nog wel wijzigingen in de technische balansposten voordoen. De minister zegt hierover het volgende toe: «Het kabinet hecht eraan dat de Kamer thans haar instemming geeft aan het herziene overgangsregime en de financiële startpositie. Achteraf zal het kabinet verantwoording afleggen over de in de loop van 2002 vastgestelde definitieve openingsbalans Kliq en de Kamer daarover informeren via de voortgangsrapportages groot project SUWI.»905
Bij de privatisering van Kliq worden de aandelen van de Staat verkocht aan derden. Over dit belangrijke beslismoment zal de Kamer vooraf schriftelijk worden geïnformeerd, zo belooft de minister.
Het CDA stelt vragen over stap 3: op welke termijn denkt het kabinet de aandelen te verkopen? Het kabinet verwijst hiervoor naar de uitgangspunten zoals die in de nota inzake staatsdeelnemingen zijn opgenomen. De verkoop van aandelen door de Staat is aan de orde als er voldoende waarborgen zijn dat de onderneming zich ook op langere termijn in een concurrerende omgeving kan handhaven en de verkoop van de Staat op verantwoorde wijze kan geschieden: «Het is thans nog niet mogelijk een tijdstip van de (gedeeltelijke) verkoop van aandelen te bepalen.»902
Voordat het wetsvoorstel plenair wordt behandeld, op 21 november 2001, voorziet het kabinet de Tweede Kamer nog van wat aanvullende informatie over de financieringsvoorwaarden, de technische posten op de openingsbalans en de samenstelling van de Raad van Advies.906
Plenaire behandeling
Tijdens de plenaire behandeling van dit wetsvoorstel komen geen nieuwe aspecten meer aan bod. Alleen de PvdA, het CDA en de VVD, die ook namens D66 spreekt, voeren en vragen in dit debat het woord. De fracties zijn ontstemd over het langdurige proces (het wetsvoorstel was al een jaar eerder ingediend). Ten aanzien van de sturing en verantwoording in de fase van externe verzelfstandiging vraagt de Tweede Kamer om zo snel mogelijk geïnformeerd te worden over de technische posten van de openingsbalans en de transformatiekosten van Arbeidsvoorziening. Ook tijdens dit debat kan de minister niet een precieze startdatum te geven van de verzelfstandiging. Hierover wordt overlegd met de heer Koopmans van Arbeidsvoorziening, die de liquidatie verzorgt. De minister zegt toe de Kamer hierover met terugwerkende kracht te informeren. Ook vragen alle partijen hoe het zal gaan als de NV Kliq straks een staatsdeelneming is. De PvdA geeft daarbij aan dat het nog wel een tijdje een overheids-BV907 mag blijven, terwijl de VVD en D66 het liefst zien dat zo snel mogelijk overgegaan wordt tot verkoop en vervreemding van de aandelen. Het CDA zou Kliq het liefst een bruidsschat meegeven. Over de staatsdeelneming merkt de minister op dat Kliq niet afwijkend is ten aanzien van andere deelnemingen. Er is sprake van bestaand beleid voor staatsdeelnemingen. Wel is er net voor dit plenaire debat in de ministerraad gesproken over staatsdeelnemingen, en daarover zal «de minister van Financiën op korte termijn een nota sturen naar de Tweede Kamer.»908 Minister Vermeend merkt nog wel op dat Kliq «straks, ook als staatsdeelneming, onder de primaire verantwoordelijkheid valt van deze minister.»908 De minister is dan alleen wel aandeelhouder en niet meer dan dat. De Kamer krijgt dus alle informatie als er sprake is van een staatsdeelneming. De PvdA merkt hierover op dat er nog wel een andere verantwoordelijkheid is, namelijk de verantwoording van de besteding van (publieke) middelen waar het gaat om de doelmatigheid en de effectiviteit ervan, en dat de Kamer daarover geïnformeerd moet worden. De minister erkent dat en geeft aan dat dit geldt voor de gehele markt: «Kliq heeft wat dat betreft geen bijzondere positie.»909 Aan het slot van het debat merkt de minister op dat er risico's verbonden zijn aan het op de markt zetten van Kliq: «Wij moeten ons natuurlijk wel realiseren dat er risico's aan verbonden zijn. Het heeft geen zin mooi weer te spelen. (...) Het is ook een beetje koffiedik kijken. Wij geven het bedrijf echter wel een startpositie die het in ieder geval een faire kans geeft op de reïntegratiemarkt. Garanties kan ik echter absoluut niet geven.»910
Eerste Kamer over fase van externe verzelfstandiging
De Eerste Kamer is – behoudens het ontvangen van het wetsvoorstel inzake de oprichting van Kliq – pas in november 2001 geïnformeerd over de externe verzelfstandiging van Kliq. Voordat het wetsvoorstel plenair wordt behandeld in de Eerste Kamer (17 december 2001) worden er in de vaste commissie van de Eerste Kamer vragen gesteld door het CDA (oppositie). Het CDA wil weten waarom de regering ervoor heeft gekozen om de meest kwetsbare groepen op de arbeidsmarkt op enige termijn geheel afhankelijk te maken van de vrije markt. En daarnaast wil het CDA weten wat een overheids-NV toevoegt aan een markt waarop nu al honderden, veelal private bedrijven opereren.911 Naast deze twee vragen van principiële aard stelt het CDA ook nog een aantal andere vragen over het wetsvoorstel. Behoudens de vragen van het CDA worden er door de overige fracties in de Eerste Kamer geen vragen gesteld over de externe verzelfstandiging van Kliq.
In de reactie van het kabinet benadrukt de minister dat in het nieuwe stelsel de verantwoordelijkheid voor de reïntegratie van personen met een afstand tot de arbeidsmarkt bij de (publieke) opdrachtgevers ligt en dat de uitvoering van de reïntegratietrajecten door private bedrijven wordt gedaan. «Ook in het geval de overheid bepaalde taken overlaat aan de markt, geldt het uitgangspunt dat de overheid kan worden aangesproken op de kwaliteit van de aldaar geboden, met publieke middelen gefinancierde dienstverlening.»912 De verantwoordelijkheid van de reïntegratie van kwetsbare groepen wordt dus niet zomaar aan de vrije markt overgelaten, volgens de minister. Door de onderneming in concurrentie opdrachten uit te laten voeren, verwacht het kabinet dat de dienstverlening aan cliënten kan verbeteren en kostenbesparingen mogelijk zijn. Ook de overige vragen van de CDA-fractie worden door de minister beantwoord, waarna het wetsvoorstel op 17 december 2001 plenair in de Eerste Kamer wordt behandeld.
Tijdens het plenaire debat over de Wet verzelfstandiging reïntegratiediensten Arbeidsvoorzieningsorganisatie worden door het CDA en de PvdA vragen gesteld over de verantwoordelijkheid van de minister na verzelfstandiging. De minister zegt hierover dat hij aandeelhouder is, en dat als het gaat om beleidsmatige aangelegenheden de minister van SZW daarvoor aanspreekbaar is: «mevrouw Ter Veld [PvdA; red.] heeft natuurlijk wel gelijk: als de reïntegratiemarkt niet goed functioneert, als mensen langs de kant blijven staan of een grote afstand tot de arbeidsmarkt houden, kom je in beleidsdebatten altijd uit bij de minister van Sociale Zaken en Werkgelegenheid en niet bij de minister van Financiën.»913
Minister Vermeend geeft eveneens in dit debat aan dat hij over het spanningsveld tussen beleidsmatige verantwoordelijkheden en het aandeelhouderschap heeft overlegd met de minister van Financiën, en dat de nota hierover inmiddels bij de Kamer ligt. De wet wordt zonder stemming in de Eerste Kamer aangenomen. De SP is wel tegen, maar ontbreekt in het debat (zie ook paragraaf 4.5).
Borging publieke belangen in tweede fase
Naast het feit dat in de verschillende SUWI-debatten aandacht wordt gevraagd voor de positie van de zwakke groepen op de arbeidsmarkt wordt ook in de fase naar externe verzelfstandiging specifiek aandacht gevraagd voor de positie van deze groepen in relatie tot de voorgenomen privatisering van de markt. Bij het eerste voorbereidende overleg over het wetsvoorstel Verzelfstandiging reïntegratiediensten Arbeidsvoorzieningsorganisatie (februari 2001) spreken vooral de fracties van het CDA, de SP, GroenLinks en RPF/GPV hun zorg uit of het op de markt zetten van Kliq geen negatieve gevolgen heeft voor de zwakke(re) groepen op de arbeidsmarkt. De woordvoerder van het CDA onderschrijft de privatisering van de NV Kliq, maar stelt dat dit niet ten koste van de zwakkeren op de arbeidsmarkt: «Daarbij moet het uiterste worden gedaan om het risico te vermijden dat mensen die relatief gemakkelijk te bemiddelen zijn wel voor reïntegratie in aanmerking komen en werkzoekenden met een grote afstand tot de arbeidsmarkt hierdoor onvoldoende prioriteit krijgen en nog verder op afstand geraken.»914
RPF/GPV stelt dat «weliswaar gegarandeerd blijft dat collectieve middelen beschikbaar blijven voor de moeilijkste groepen, maar vraagt zich af welke rechten individuele werkzoekenden en arbeidsgehandicapten daaraan kunnen ontlenen? Welke instrumenten zijn er om af te dwingen dat ook de moeilijkste groepen daadwerkelijk worden geholpen?»915 Voor de SP is dit reden om bij aanvang, maar ook bij uiteindelijke plenaire behandeling van het wetsvoorstel, tegen de verzelfstandiging van Kliq te stemmen. Zij vermoeden dat er sprake zal zijn van afroming, dat wil zeggen dat degenen met een geringe afstand tot de arbeidsmarkt het eerst voor een traject in aanmerking komen.
Ook in de overleggen die plaatsvinden na de indiening van het wetsvoorstel wordt er nog gewezen op de positie van de groepen met een grote afstand tot de arbeidsmarkt, vooral door het CDA en GroenLinks, maar in veel mindere mate dan eerder het geval was. De focus in de latere overleggen over dit wetsvoorstel ligt vooral op de financiële aspecten van de verzelfstandiging.
Het kabinet stelt in een reactie op de geuite zorgen dat de bemiddeling van de kwetsbare groepen blijft gewaarborgd, omdat collectieve middelen beschikbaar blijven voor reïntegratie. De verzelfstandiging houdt in dat de reïntegratiewerkzaamheden niet langer door een publiekrechtelijk orgaan worden uitgevoerd. «Doordat de verantwoordelijkheid voor de reïntegratie bij een publieke instelling ligt [de gemeenten en het Lisv, t.z.t. UWV; red.], kunnen er voldoende garanties worden gecreëerd dat deze groep werkzoekenden wordt geholpen. Opdrachtgevers zullen zodanige afspraken (moeten) maken met de uitvoerders dat ook personen met een grote afstand tot de arbeidsmarkt worden bereikt.»916 De minister erkent wel dat als de werkloosheid oploopt de reïntegratie onder druk komt te staan. Het bestand dat in aanmerking zou moeten worden gebracht voor reïntegratietrajecten neemt toe, en de selectiviteit aan werkgeverszijde ook.
In het plenaire debat over het wetsvoorstel – waar alleen de fracties van de PvdA, het CDA en de VVD, die ook namens D66 spreekt, het woord voeren – wordt door het CDA nog een keer aandacht gevraagd voor de kansarmen op de arbeidsmarkt. Het CDA stelt dat hij zich niet verzet tegen de verzelfstandiging van Kliq, mits er voldoende garanties worden ingebouwd: «Die garanties moeten er met name zijn voor de kansarmen op de arbeidsmarkt, want zij mogen nooit extra de dupe worden van een tegenvallende economie die gepaard gaat met een groeiende werkloosheid. De overheid moet juist de zwakkeren op de arbeidsmarkt de garantie geven dat zij evenzeer tellen als de sterken, die zichzelf al snel weten te redden.»917 De minister reageert in zijn beantwoording niet specifiek meer op dit aandachtspunt in dit plenaire debat.
In de Eerste Kamer is het vooral het CDA dat aandacht vraagt voor de positie van kansarme groepen op de arbeidsmarkt.
Conclusies sturing en verantwoording fase 2
Met het indienen van het wetsvoorstel Wet Verzelfstandiging reïntegratiedienstverlening Arbeidsvoorzieningsorganisatie in december 2000 treedt vertraging op in de externe verzelfstandiging van de NV Kliq. De onduidelijke informatie over de startpositie en de levensvatbaarheid van het extern te verzelfstandigen reïntegratiebedrijf (Kliq), maakt dat de Tweede Kamer zelf een onderzoek uitzet om hier meer duidelijkheid over te krijgen.
Daarnaast wordt door middel van een aangenomen motie in de Tweede Kamer getornd aan een belangrijke bouwsteen voor het op de markt zetten van Kliq, namelijk het schrappen van het zogenaamde overgangsregime waarbij gemeenten en UWV de eerste paar jaar een deel van hun reïntegratiediensten verplicht moeten inkopen bij Kliq. De minister wijzigt tot twee keer toe het wetsvoorstel en komt met alternatieven voor het op de markt zetten van Kliq. Hij moet daarbij steeds een slag om de arm houden voor wat betreft de openingsbalans van Kliq, omdat gegevens over de eindbalans van Arbeidsvoorziening (nog) niet beschikbaar zijn.
Bovenstaande ontwikkelingen maken dat het wetsvoorstel uiteindelijk een jaar na indiening wordt besproken in de Tweede en Eerste Kamer, en de externe verzelfstandiging niet per 1 april 2001 plaatsvindt, maar per 1 januari 2002. Na de externe verzelfstandiging is Kliq een overheids-NV, waarbij de Staat 100% aandeelhouder is. Kliq is dan een gewone staatsdeelneming, waarvoor in de eerste drie jaar een beperkt structuurregime zal gelden. Van een uitgebreid debat over het toezicht na (de externe) verzelfstandiging is niet echt sprake. In het kader van de SUWI-wetgeving is vermoedelijk wel uitgebreid gesproken over de toezichtsfunctie, maar dit valt buiten dit casusonderzoek.
In het debat over de periode na de externe verzelfstandiging worden in de Tweede en in de Eerste Kamer wel vragen gesteld over de verantwoordelijkheidsverdeling tussen de minister van SZW en de minister van Financiën. De minister van SZW blijft verantwoordelijk voor het beleid, het aandeelhouderschap valt onder de minister van Financiën. Een nota over de verantwoordelijkheidsverdeling als het gaat om een staatsdeelneming – het betreft hier een aanpassing van een reeds bestaande nota – verschijnt na de behandeling van het wetsvoorstel.
In deze fase worden de aandelen van de Staat verkocht. De bedoeling van het kabinet is dat het reïntegratiebedrijf Kliq uiteindelijk helemaal geprivatiseerd wordt. In het kabinetsstandpunt geeft het kabinet aan dat aan de hand van evaluatiegegevens bezien zal worden wanneer het voornemen tot privatisering moet worden uitgevoerd.792
Sturing en verantwoording kabinet derde fase
Tijdens de voorbereiding van het wetsvoorstel tot externe verzelfstandiging van het Reïntegratiebedrijf Arbeidsvoorziening komt regelmatig de vraag aan de orde op welke termijn de aandelen verkocht kunnen worden. De minister verwijst in dit verband steeds naar het beleid inzake staatsdeelnemingen918, waarbij het uitgangspunt is dat ondernemingen worden afgestoten als het publiek belang en de praktische omstandigheden dat toelaten.
«De tijd tussen verzelfstandiging en privatisering wordt gebruikt om de onderneming zich te laten ontwikkelen tot een commercieel slagvaardig en financieel solide bedrijf. Door (op zakelijke leest geschoeid) aandeelhouderschap kan de Staat de eerste jaren invloed uitoefenen op beslissingen die van invloed zijn op de levensvatbaarheid en aandeelhouderswaarde van het bedrijf. Privatisering is echter pas aan de orde als er voldoende waarborgen zijn dat de onderneming zich ook op langere termijn kan handhaven in een concurrerende omgeving en als verkoop voor de Staat op verantwoorde wijze kan geschieden.»919
Ook wordt in dit verband verwezen naar andere trajecten van verzelfstandiging en privatisering zoals KPN en PinkRoccade. De minister benadrukt dat over de timing en voorwaarden van privatisering nu (maart 2001) nog niets valt te zeggen: «Een fusie is daarbij slechts een van de mogelijkheden.»919
Na de externe verzelfstandiging van Kliq in januari 2002 wordt de Tweede Kamer in mei 2002 door minister Vermeend geïnformeerd over een mogelijke samenwerkingspartner voor Kliq. Kliq heeft een intentieovereenkomst gesloten met Solvus NV, een Belgische beursgenoteerde onderneming. Solvus zal in eerste instantie voor 30% participeren in het kapitaal van de twee dochters van Kliq (Reïntegratie BV en Kliq employability BV), en zal de komende jaren zijn aandelenbezit kunnen uitbreiden. De Staat blijft 100% aandeelhouder van de NV Kliq. De minister hoeft de Kamer hierover feitelijk niet te informeren – «het betreft namelijk geen verkoop van de aandelen van de Staat in de NV Kliq»920 – maar doet dat toch vanwege de materiële gevolgen voor Kliq. In de brief van mei 2002 wordt als mogelijke datum voor het daadwerkelijk vervreemden van alle aandelen 2006 genoemd. Overigens is op het moment dat deze intentieovereenkomst wordt getekend de openingsbalans van Kliq nog steeds niet definitief. Deze wordt pas in september 2002 definitief.
In de fase naar privatisering spelen twee belangrijke ontwikkelingen een rol. De eerste ontwikkeling betreft de liquidatie van Arbeidsvoorziening. In de brief van staatssecretaris Hoogervorst van Financiën (september 2002) wordt de Tweede Kamer geïnformeerd over het vaststellen van de openingsbalans van Kliq. Het blijkt dat de waarde van de uit Arbeidsvoorziening overgedragen activa en passiva kleiner is dan eerder (oktober 2001, indicatieve openingsbalans) werd aangenomen. De staatssecretaris vermeldt dat ook de inkrimping van de markt ervoor zorgt dat de activiteiten van Kliq kleiner in omvang zijn zodat een kleiner vermogen mogelijk is.921 De tweede ontwikkeling betreft de complexe transformatie van Kliq, waarbij ook exogene factoren een rol spelen, aldus de staatssecretaris. «Hierin spelen exogene factoren een rol zoals de afgesproken ombuigingen en de intussen veranderde (en nog te veranderen) wetgeving op het gebied van de sociale zekerheid (Verbetering poortwachter en de WAO), waardoor de verantwoordelijkheid voor reïntegratie steeds verder verschuift van publiekrechtelijke instanties naar private marktpartijen.»922
Vermeldenswaard is hier dat de staatssecretaris aangeeft dat Kliq van mening is dat de structuur en de omvang van Kliq Reïntegratie nog niet voldoende zijn toegesneden op de toekomst: «Eén van de factoren die daarin een rol speelt is het schrappen van het overgangsregime voor Kliq, wat een duidelijk effect heeft op de resultaten in de jaren van transformatie. De afbouw van de prestatiedienstverlening voor het ministerie van SZW (het afmaken van de oude werkvoorraad trajecten) is zeer fors en kan niet volledig gecompenseerd worden met nieuwe omzet.»922 Andere factoren die de staatssecretaris noemt die van belang zijn voor de toekomst van de reïntegratiemarkt zijn «de onzekerheid met betrekking tot de invulling van de ombuigingen van de publieke reïntegratiemiddelen en de invloeden van de verslechterde economie.»922
Deze ontwikkelingen hebben gevolgen voor de intentieovereenkomst met Solvus; in september 2002 ziet de intentieovereenkomst er al anders uit dan in mei 2002. Belangrijkste wijziging is dat door de onzekerheid met betrekking tot de toekomstige ontwikkeling van de reïntegratiemarkt Solvus geen aandelen koopt in Kliq Reïntegratie en Kliq Employability. «Daarentegen koopt Solvus in beginsel in het voorjaar van 2004 in een keer het gehele aandelenkapitaal in deze dochters van Kliq.»922 Deze verkoop is uiteindelijk nooit tot stand gekomen.
Het kabinet heeft in deze fase weinig sturingsmogelijkheden, met uitzondering van de financiële aspecten. Het gaat niet goed met Kliq op de markt, en daardoor wacht Solvus met het kopen van aandelen. Minister Zalm bericht de Tweede Kamer hierover in augustus 2003.923 In deze brief vermeldt de minister dat een herstructurering van Kliq noodzakelijk is. Kliq heeft zelf een onderzoek gedaan naar de oorzaken. Daaruit blijkt dat de belangrijkste oorzaken liggen in een tegenvallende markt (a), een inadequate startpositie (b) en een bedrijfsvoering die niet op orde was (c).924 Interviews met betrokken spelers van destijds bevestigen deze oorzaken en noemen ook specifiek de benodigde cultuuromslag, die veel langer duurde en moeilijker was dan voorzien. De minister vermeldt in de brief dat Kliq Reïntegratie een doorstart wil maken. Hiervoor is in totaal € 68 miljoen nodig. Omdat Kliq nog de beschikking heeft over € 38 miljoen925, stelt de minister € 30 miljoen extra beschikbaar. Het betreft hier de laatste financiële injectie door de Staat volgens de minister: «Ik zie de financiering van de doorstart van Nieuw Kliq als finaal. Ik kan me geen situatie voorstellen waarbij de Staat in de toekomst opnieuw middelen ter beschikking zou stellen.»926 Verder wordt in deze brief eveneens gemeld dat er nog steeds geen volledige eenduidigheid is in welke mate aan de beoogde inbrengverplichting (schoon over) is voldaan: «Immers, de jaarrekening over 2001 van Arbeidsvoorziening heeft eind 2002 een afkeurende accountantsverklaring gekregen.»927
De toegekende injectie van de Staat blijkt niet voldoende. In januari 2005 informeert de minister van Financiën de Tweede Kamer over de surseance van betaling die is aangevraagd door de directie van KG Holding NV en Kliq Reïntegratie BV. Voor de doorgestarte dochter Kliq BV is (nog) geen surseance van betaling aangevraagd.928 Uit deze brief blijkt dat eind 2004 minister Zalm de (nog vrijwel niet gebruikte) kredietfaciliteit van € 17 miljoen heeft geblokkeerd. Hierover is in een besloten bijeenkomst met de vaste commissie voor Financiën gesproken. Het verslag is vertrouwelijk en ter inzage gelegd bij het Centraal Informatiepunt van de Tweede Kamer.929 In de brief van minister Zalm refereert de minister nog even aan de historie en zegt het volgende over de verzelfstandiging van Arbeidsvoorziening: «Hoewel de zogenaamde Kliq-wet met een grote Kamermeerderheid is aangenomen, is tijdens de plenaire behandeling van de SUWI-wet in juni 2001 het voorgestelde overgangsregime met een gedeeltelijk gegarandeerde omzet geschrapt. Een tijdelijk verplichte inkoop door de gemeenten en het UWV bij de Kliq-groep werd niet wenselijk geacht. Door het wegvallen van de omzetgarantie van de Kliq-groep was een bouwsteen in de startpositie van de Kliq-groep weggevalllen, een startpositie die toch al krap werd gepercipieerd door een extern onderzoekbureau.»928
Hier wordt gedoeld op het eerder genoemde onderzoek van KMPG, dat in opdracht van de Tweede Kamer is uitgevoerd om de levensvatbaarheid en startpositie van Kliq te onderzoeken. Opvallend is dat destijds de resultaten van dit onderzoek juist als voldoende werden gepercipieerd om naar de markt te gaan met Kliq. Uit één van de interviews met betrokken spelers van destijds blijkt echter dat men, ondanks de resultaten van het onderzoek, toch twijfels had over de levensvatbaarheid van Kliq (zie verder paragraaf 4.5 over de rol van het parlement).
De surseance van betaling is begin februari 2005 omgezet in een faillissement. Vervolgens ontvangt de Tweede Kamer eind van dat jaar, op 19 december 2005, een brief van het ministerie van Financiën met de mededeling dat op 14 december 2005 het faillissement van Kliq BV (de doorgestarte dochter van Kliq) is uitgesproken. In februari 2006 volgt informatie over een doorstart die na het faillissement van Kliq BV heeft plaatsgevonden. Kliq BV blijkt twee dagen na de uitspraak inzake het faillissement te zijn verkocht aan reïntegratiebedrijf Agens, een grote speler op de reïntegratiemarkt.930
Tweede Kamer over sturing en verantwoording derde fase
Over de intentieovereenkomst met Solvus, een Belgische beursgenoteerde onderneming, worden in juli 2002 schriftelijke vragen gesteld door het CDA, de PvdA en GroenLinks. In september 2002 volgt er een algemeen overleg van de vaste commissie voor Financiën en die van Sociale Zaken en Werkgelegenheid met minister De Geus van SZW. De Tweede Kamer is ontevreden over de ontwikkelingen en vraagt zich af waarom Kliq in rap tempo terrein verliest. Er worden door de PvdA, de VVD, het CDA en de LPF vragen gesteld, onder andere over de geluiden dat Kliq veel banen moet schrappen en de voorgestelde bezuinigingen.931 Ook vraagt de PvdA wie er nu verantwoordelijk is voor Kliq en de verzelfstandiging. De VVD vraagt onder andere hoe de minister de toekomst van Kliq beoordeelt en hoe hij de samenwerking met Solvus inschat. Het CDA vraagt waarom de evaluatie van Kliq en Solvus, die was voorzien voor 2003, is verschoven naar 2004, en waarom Solvus niet bereid is 30% van de aandelen over te nemen. Minister de Geus beantwoordt deze vragen tijdens het overleg. Voor de minister is het onbekend of de krantenberichten over komende ontslagen bij Kliq op waarheid berusten. «Een en ander neemt niet weg dat het debat over de effecten van het reïntegratiebeleid van het kabinet van groot belang is. Het is ook duidelijk dat in de Kamer zorgen leven over de reïntegratiemarkt als zodanig. Dat debat moet echter niet gevoerd worden langs de lijn van (toevallige informatie over) de particuliere bedrijfsomstandigheden van één van de reïntegratiebedrijven.»932
De minister erkent voorts de zorg van de regering als aandeelhouder en eigenaar van Kliq. Tot slot stelt de minister dat het hem «onbekend is dat in de afwikkeling van Arbeidsvoorziening een risico verscholen zou liggen voor de ontwikkeling bij Kliq. Mocht dat het geval zijn of worden, dan zal de Kamer hierover onmiddellijk worden geïnformeerd.»933 De vragen over de consequenties van de ombuigingen en de vragen van het CDA over het belang van de overheid als eigenaar-aandeelhouder worden door minister Zalm van Financiën schriftelijk beantwoord in oktober 2002. Hij stelt daarin dat de ombuigingen op de reïntegratiemarkt (bezuinigingen) voor Kliq niet de enige reden zijn om nog eens kritisch naar de organisatie te kijken: «Kliq heeft tevens, naar eigen zeggen, te kampen met de verslechterde economische situatie. Hierdoor krijgt Kliq als gevolg van de toenemende werkloosheid meer klanten die in aanmerking komen voor reïntegratie, maar wordt het een stuk moeilijker om voor deze mensen een traject van reïntegratie daadwerkelijk af te ronden.»934
Over de samenwerking met Solvus stelt minister Zalm dat Kliq en Solvus de afgelopen maanden nog niet hebben samengewerkt. Er is een intentieovereenkomst getekend om te komen tot een vorm van samenwerking. Pas bij het sluiten van de daadwerkelijke overeenkomst begint de samenwerking.935 De participatie is doorgeschoven naar 2004. De minister hoeft hiervoor geen extra waarborgen voor af te geven. Hij verwijst in de brief naar de openingsbalans van Kliq, die zojuist is vastgesteld. «Met de vaststelling van de bedragen is er vanuit gegaan dat Kliq stand alone zou moeten kunnen opereren; er is rekening gehouden met de bufferfunctie van het eigen vermogen. (...) Het geven van extra waarborgen wegens het uitstel van de participatie is dan ook niet aan de orde.»935
Na dit algemeen overleg in 2002 volgt er over dit onderwerp pas in 2003 weer een verslag van een algemeen overleg, en dat betreft de informatie van de minister over de herstructurering van Kliq. Tijdens dit algemeen overleg stellen het CDA, de VVD, de PvdA en GroenLinks vragen aan de ministers de Geus (SZW) en Zalm (Financiën) over de herstructurering.936 De partijen hebben zorgen over het verloop van het verzelfstandigingsproces en de kosten daarvan, en vragen zich af waarom het Kliq nu wel zal lukken een positie in de markt te veroveren. De VVD en GroenLinks vragen zich af of er sprake is van staatssteun. De PvdA vraagt of de bewindslieden zich debet voelen aan de dramatische ontwikkeling bij Kliq.937 Beide ministers beantwoorden tijdens dit Algemeen Overleg de gestelde vragen. Vooral minister Zalm heeft vertrouwen in de toekomst en spreekt uit dat er nu een goed businessplan ligt en dat de loonkosten nu concurrerend zijn met andere aanbieders. Op de vraag of het niet beter was te kiezen voor een faillissement geeft de minister twee redenen. De eerste is dat de jaarrekening van Arbeidsvoorziening werd afgekeurd en dat er bij een faillissement een curator zal onderzoeken of er sprake was van een schone overgang. De minister geeft aan: «Dat zou tot allerlei claims op de Staat zou kunnen leiden. Dat is een risicopost die doorslaggevend is geweest bij de keuze voor het doorstartscenario.»938 De tweede reden is dat het behoud van 600 banen een rol heeft gespeeld bij de keuze voor het doorstartscenario. De ministers gaan niet op de vraag of ze schuldig voelen. Wel doet minister Zalm een belofte: «ik beloof stellig dat dit de laatste keer is dat ik bij de Kamer zal aankloppen met budgettaire voorstellen over Kliq. Als het onverhoopt wel nodig is bij de Kamer aan te kloppen voor geld, treed ik af.»938 De vraag of er sprake is van staatssteun wordt door minister Zalm bevestigend beantwoord. Maar hij geeft aan dat dit over het algemeen wel wordt geaccepteerd door Brussel. Er is hier niet zozeer sprake van concurrentievervalsing, maar van aanvullende steun op een sociaal plan.938
Na dit algemeen overleg wordt er in de Tweede Kamer niet meer gesproken over de verdere afwikkeling van Kliq.939 Op 14 december 2005 wordt het faillissement van Kliq uitgesproken.940
De Eerste Kamer speelt in deze fase helemaal geen rol.
Borging publieke belangen in derde fase
Het borgen van publieke belangen komt in deze fase wel aan de orde, maar niet meer zo nadrukkelijk als in de eerdere fasen. De PvdA (oppositiepartij sinds 2002) is nu de enige partij die nadrukkelijk ingaat op het waarborgen van de expertise voor moeilijk plaatsbare werklozen. De PvdA maakt zich zorgen dat er een afbouw van deze expertise zal plaatsvinden als gevolg van het gekozen rijksbeleid. Zij zou dat in tegenstrijd vinden met de eerdere toezeggingen en de eerdere intentie van de regering.931
De vragen die de PvdA tijdens het overleg in 2002 stelt worden niet direct beantwoord door de minister. In 2003, als de Kamer geïnformeerd wordt over herstructurering van Kliq, komt de PvdA hierop terug: «De opdrachtgevers, UWV en gemeenten, hebben niet genoeg geld over voor de specifieke expertise van Kliq om moeilijk plaatsbare mensen duurzaam aan het werk te helpen.»941 Minister de Geus merkt hierover op dat Kliq in de aanvangstijd een bijzondere positie had. «Het bedrijf had, meer dan welk ander reïntegratiebedrijf, kennis over de groep moeilijk plaatsbare arbeidskrachten. De markt heeft zich inmiddels verder ontwikkeld. Nu zijn er meer bedrijven die over die specifieke expertise beschikken.»942
De minister spreekt de ambitie uit de markt zodanig te ordenen dat het voor de opdrachtgevers en voor de aanbieders aantrekkelijk blijft om moeilijk plaatsbare arbeidskrachten te reïntegreren. Ook in 2005, als minister Zalm de Tweede Kamer informeert over het faillissement van Kliq BV, geeft de minister aan dat de publieke belangen op de reïntegratiemarkt geborgd zijn door de methodiek van financiering van de markt: «Door gemeenten en UWV worden publieke budgetten aanbesteed en gegund aan verschillende concurrerende reïntegratiebedrijven die op deze markt actief zijn. Het faillissement van één van deze bedrijven staat derhalve los van het publieke belang.»943
De Tweede Kamer komt hier niet meer op terug.
Conclusies sturing en verantwoording fase 3
In deze fase is Kliq een verzelfstandigd bedrijf, waarvan de Staat 100% aandeelhouder is. De sturing en verantwoording als aandeelhouder is in principe beperkt tot het informeren van de Tweede Kamer over de mogelijke verkoop van aandelen. De minister doet meer aangezien de minister ook de Tweede Kamer informeert over de ontwikkelingen bij Kliq. Die maken dat in 2003 de minister besluit Kliq een extra kapitaalinjectie te verstrekken. Een doorstartscenario wordt expliciet verkozen boven een faillissement. De injectie mag niet baten, zo blijkt achteraf. Twee jaar later wordt alsnog het faillissement van Kliq uitgesproken. De Tweede Kamer wordt over de ontwikkelingen bij Kliq steeds geïnformeerd door de minister. De Tweede Kamer spreekt naar aanleiding van de informatie haar twijfels uit over de herstructurering van Kliq en de benodigde kapitaalinjectie. Op het uitspreken van het faillissement wordt door de Tweede Kamer niet meer gereageerd. De privatisering van Kliq is niet gerealiseerd. De Eerste Kamer speelt in deze fase helemaal geen rol.
Tijdens de eerste fase, de interne verzelfstandiging bij Arbeidsvoorziening, is de sturing en verantwoording voor de minister lastig. Arbeidsvoorziening is een zelfstandig bestuursorgaan (ZBO) en het bestuur van de Arbeidsvoorziening, het CBA, is verantwoordelijk voor de interne ontvlechting. De minister erkent dat hij in deze fase maar beperkte bevoegdheden heeft. De Tweede Kamer is in deze fase aanvankelijk reactief. Door de SUWI-operatie in 2000 aan te wijzen als groot project wordt de Kamer allengs meer geïnformeerd en is er sprake van een gestructureerde verantwoording over het proces. Tijdens de tweede fase, de externe verzelfstandiging van het Reïntegratiebedrijf Arbeidsvoorziening (Kliq), is er sprake van een moeizame sturing en verantwoording van het kabinet. Onduidelijke informatie over de startpositie en levensvatbaarheid van het extern te verzelfstandigen bedrijf noopt de Tweede Kamer tot het uitbesteden van een extern onderzoek. Daarnaast vecht de Tweede Kamer met succes het overgangsregime aan; er komt geen verplichting voor gemeenten en UWV om reïntegratiediensten in te kopen bij Kliq in de eerste jaren. Het kabinet komt tot twee keer toe met een nota van wijziging. De sturing door het kabinet wordt vooral bemoeilijkt doordat financiële gegevens, met name over de afwikkeling bij Arbeidsvoorziening, lange tijd onzeker zijn. Door deze ontwikkelingen loopt het proces naar de externe verzelfstandiging aanzienlijke vertraging op. In de laatste fase is er sprake van een verzelfstandigd bedrijf Kliq (vanaf 2002), dat zijn omzet volledig uit de markt moet halen. De Staat is 100% aandeelhouder. Tot het voornemen de aandelen op termijn te verkopen (en het bedrijf te privatiseren) komt het niet. Kliq heeft het moeilijk op de markt, waarna in 2003 de Staat nog eenmaal een kapitaalinjectie verstrekt. Kliq redt het ook daarmee niet op de markt en gaat in 2005 failliet.
Van een uitgebreid debat over het toezicht na verzelfstandiging is niet echt sprake. Er is wel gesproken over waar de verantwoordelijkheid komt te liggen na verzelfstandiging. De minister verwijst inzake de verantwoordelijkheidsverdeling naar het (bestaande) beleid inzake staatsdeelnemingen. Zowel in de Tweede als in de Eerste Kamer wordt gewezen op het feit dat er niet alleen een verantwoordelijkheid is van de minister van Financiën als aandeelhouder, maar dat de minister van SZW ook een verantwoordelijkheid houdt en heeft ten aanzien van het beleid. Een aangepaste nota inzake de verantwoordelijkheidsverdeling voor staatsdeelnemingen verschijnt na de behandeling van het wetsvoorstel.
In alle drie de fasen wordt aandacht besteed aan het borgen van publieke belangen. De Tweede Kamer spreekt regelmatig haar zorg uit over het feit of er op de private markt wel voldoende aandacht besteed zal worden aan de moeilijk plaatsbare groepen op de arbeidsmarkt. Ook in de Eerste Kamer wordt deze zorg op verschillende momenten uitgesproken. Vanuit het kabinet wordt bij herhaling verzekerd dat aan dit publieke belang niet wordt getornd. De Staat blijft publieke middelen ter beschikking stellen voor reïntegratie, en maakt publieke opdrachtgevers (UWV, gemeenten) daarvoor verantwoordelijk. De uitvoering van de reïntegratie-activiteiten gebeurt echter door private partijen.
In deze paragraaf gaan we in op de verwachtingen die er waren ten aanzien van de effecten van de privatisering van de reïntegratiedienstverlening en gaan we in op de vraag in hoeverre bekend is of deze verwachtingen zijn uitgekomen. Daartoe wordt eerst kort samengevat wat de verwachtingen en doelstellingen waren, en vervolgens welke evaluaties zijn uitgevoerd en de uitkomsten daarvan. Ook wordt gekeken of er in het debat is verwezen naar eerdere of andere evaluaties en ervaringen.
In paragraaf 4.2 staat beschreven welke motieven en verwachtingen het kabinet had bij de privatisering van de reïntegratiedienstverlening. Deze motieven verwijzen naar de veronderstelde effecten van het beleid om de reïntegratie dienstverlening te privatiseren. Deze privatisering kan echter niet los worden gezien van de wijzigingen in de uitvoeringsstructuur werk en inkomen (SUWI). De verwachtingen van deze operatie, inclusief het introduceren van concurrentie in de uitvoering van reïntegratie activiteiten, zijn:
– dat de inrichting van één loket voor mensen die op zoek zijn naar werk of in aanmerking willen komen voor een uitkering bijdraagt aan een grotere tevredenheid over de dienstverlening en daarmee de klantgerichtheid bevordert;
– dat de verbetering van de uitvoering moet leiden tot een betere reïntegratie. Dit zal primair zijn vertaling moeten vinden in een lager volume aan uitkeringen;
– dat de efficiency zich vertaalt in de uitvoeringskosten. Enerzijds verwacht het kabinet een daling van de uitvoeringskosten door de aanpassing van de uitvoeringsorganisaties en de financieringsstructuur. Anderzijds kan een stijging worden verwacht omdat de reïntegratie inspanningen worden uitgebreid. Maar dit zal zich dan vertalen in een daling van de uitkeringslasten (zie verwachting 2).
Ook in de memorie van toelichting van de Wet verzelfstandiging reïntegratiedienstverlening worden de doelstellingen van de introductie van meer concurrentie bij de uitvoering van reïntegratie-activiteiten nog eens bevestigd: «Doel hiervan is om de effectiviteit en de efficiency van de uitvoering van reïntegratie te vergroten.»858
In het wetgevingsproces verwijst het kabinet een enkele maal naar andere privatiseringen en verzelfstandigingen, met name KPN en PinkRoccade worden genoemd. Daarvan wordt geleerd dat wanneer publieke taken naar de markt worden overgeheveld het wenselijk is om de taken geleidelijk vrij te geven aan de markt.944 Het kabinet stelt daarom voor om de collectieve middelen niet in één keer vrij te geven aan de markt maar daar wordt, zoals in voorgaande paragrafen beschreven, door de Kamer een stokje voor gestoken, vooral uit het oogpunt van een oneerlijke concurrentiepositie. Er wordt verder geen gebruik gemaakt van ervaringen van eerdere verzelfstandigingen en privatiseringen, in Nederland of daarbuiten.
Het kabinet erkent bij aanvang al dat het niet mogelijk zal zijn de effecten van de afzonderlijke maatregelen te meten. Wel kunnen de effecten van de maatregelen in hun samenhang worden bezien. Er wordt derhalve een intensief monitoringsprogramma opgezet.829 In deze paragraaf worden achtereenvolgens de startfase, de monitoring en ingrepen en tot slot evaluatie en effecten onderscheiden. In deze laatste subparagraaf komen de eindevaluatie en een terugblik op de doelen aan bod.
De startfase
Om effecten te kunnen beoordelen is het idealiter nodig een nulmeting uit te voeren. Dat is hier niet gebeurd, maar er zijn wel twee onderzoeken uitgevoerd om de stand van zaken op de reïntegratiemarkt in kaart te brengen, voorafgaand aan de externe verzelfstandiging van Kliq. Het eerste onderzoek is uitgevoerd door Regioplan, in opdracht van het ministerie van SZW, met als doel de uitkomsten te gebruiken om de randvoorwaarden uit te werken voor een goed functioneren van de reïntegratiemarkt.945 Dit onderzoek is in 2000 verschenen. Het tweede onderzoek is uitgevoerd door het College toezicht sociale verzekeringen (Ctsv), en is in 2001 gepubliceerd.946
Beide onderzoeken concluderen dat de markt volop in beweging is, maar dat er nog geen sprake is van een goed functionerende markt. Regioplan concludeert dat de omvang van de markt nog niet duidelijk kan worden vastgesteld. Tijdens de onderzoeksperiode zijn 404 bedrijven geïdentificeerd als reïntegratiebedrijf, maar dat aantal was ook na de onderzoeksperiode nog snel groeiende. Het betreft relatief jonge aanbieders, vaak klein van omvang. Slechts één op de vijf bedrijven heeft meer dan 50 werknemers in dienst. Het betreft commerciële, maar ook niet- of gedeeltelijk commerciële bedrijven. Publieke en private aanbieders komen naast elkaar voor, en er is niet altijd een duidelijk onderscheid te maken tussen opdrachtgevers en uitvoerders. Slechts drie op de tien organisaties halen meer dan 50% van hun omzet uit reïntegratieactiviteiten. De meeste bedrijven zijn dus ook actief op (andere) deelmarkten. Ten aanzien van de werking van de markt constateert Regioplan dat de spelregels van de markt nog niet zijn uitgekristalliseerd. Zij constateren vijf soorten belemmeringen:
• een ondoorzichtige markt: vragers kennen het aanbod niet voldoende of kunnen het aanbod niet op waarde (prijs) beoordelen;
• onvolwassen marktgedrag: marktpartijen hebben nog weinig ervaring met het vrij inkopen van diensten;
• ontbreken van level playing field: er zijn belemmeringen om op de markt diensten aan te bieden;
• gebrekkige prijsvorming: de relatie tussen prijs en product is onduidelijk bij reïntegratiediensten; en
• lage prijselasticiteit van reïntegratiediensten: het prijsmechanisme werkt niet optimaal omdat de prijsgevoeligheid voor het product reïntegratie laag is.945
Het Ctsv heeft vooral gekeken naar de eerste aanbestedingsronde van werklozen (WW), arbeidsgehandicapten (WAO) en de Wajong. In het najaar van 2000 is voor het eerst een aanbestedingsronde gehouden.947 De vijf uitvoerders van de WW en WAO hebben groepsgewijs werknemers, die in 2000 werkloos of gedeeltelijk arbeidsongeschikt waren geworden, aangeboden op de reïntegratiemarkt. Het betrof in totaal 62 duizend werknemers en met de opdrachten was ongeveer 500 miljoen gulden gemoeid. Ctsv concludeert dat de eerste aanbestedingsronde niet tot meer maatwerk, transparantere procedures en voorlopig ook niet tot meer concurrentie tussen reïntegratiebedrijven heeft geleid. Voor de uitkeringsgerechtigde pakt de aanbesteding echter redelijk gunstig uit. Wel constateert het Ctsv dat er «een risico bestaat dat moeilijke gevallen niet aan bod komen bij de reïntegratie.»946 Dat komt vooral doordat de uitkeringsgerechtigden in grote groepen worden aangeboden. Grote bedrijven schrijven in tegen zeer scherpe prijzen. Dat bemoeilijkt speciale aandacht voor moeilijke werkzoekenden, aldus het Ctsv.
Deze beide onderzoeken zijn gedaan in de beginfase van de reïntegratiemarkt. Het besluit van het kabinet om Arbeidsvoorziening op te heffen en de reïntegratieactiviteiten privaat te laten uitvoeren leidt er toe dat de ontwikkelingen op de markt worden gemonitord. De volgende (sub)paragraaf gaat hierop in.
Monitoring en ingrepen
Zoals hierboven aangegeven heeft het kabinet toegezegd een intensief monitoringsprogramma op te zetten. De hierboven besproken, eerste rapportage van Regioplan (2000) wordt gevolgd door nog drie trendrapporten (2002, 2004 en 2006), waarbij de laatste het eindrapport betreft van de evaluatie over de introductie van marktwerking bij de reïntegratie van niet-werkenden. Al deze studies zijn door Regioplan uitgevoerd. De eindevaluatie komt later aan bod. Hier wordt de tussenliggende periode behandeld. In die periode wordt ook, omdat SUWI door de Tweede Kamer als groot project is aangemerkt, door het kabinet een aantal voortgangsrapportages opgeleverd. In deze voortgangsrapportages wordt op verzoek van de Tweede Kamer onder andere ingegaan op de privatisering van de reïntegratie en de ontvlechting van de Arbeidsvoorzieningsorganisatie, en de rol van gemeenten in het kader van reïntegratie en sociale activering. Er zijn in de periode 2000 tot en met 2007 veertien voortgangsrapportages opgeleverd.948 De eerste vier rapportages gaan – onder andere – in op de ontvlechting bij Arbeidsvoorziening en de ontwikkelingen op de reïntegratiemarkt. Vanaf de vijfde voortgangsrapportage is er steeds een hoofdstuk over de ontwikkelingen op de reïntegratiemarkt, maar er wordt niet meer gerapporteerd over de ontvlechting bij Arbeidsvoorziening. Deze is dan inmiddels een feit. Ook het UWV levert kwartaalrapportages aan de minister. Deze worden eveneens ter informatie naar de Tweede Kamer doorgestuurd.949
Het eerste trendrapport zou worden gebruikt om de randvoorwaarden te formuleren voor een goed functionerende reïntegratiemarkt. Dat heeft kennelijk langer geduurd dan gedacht, aangezien in november 2002 uit een brief van de minister aan de Kamer blijkt dat er inmiddels een tweede trendrapport950 is verschenen, en de uitkomsten daarvan zijn verwerkt in een notitie Naar een werkende reïntegratiemarkt.951 Deze notitie is een reactie op een toezegging van staatssecretaris Hoogervorst op 27 september 2001. In de notitie zet het kabinet de hoofdlijnen uiteen waarlangs zij een goed functionerende reïntegratiemarkt wil bereiken. Daarbij benoemt zij een aantal parameters aan de hand waarvan beoordeeld kan worden of de reïntegratiemarkt goed functioneert (deze parameters komen terug in de evaluatie). Het betreft hier bijvoorbeeld: toetreding en concurrentie, transparantie, openbare en toegankelijke aanbestedingsprocedures, contracten, toegankelijkheid van reïntegratiebedrijven voor de klant, kwaliteit, keuzevrijheid en verantwoording door opdrachtgevers van besteding van publieke middelen.952
Het tweede trendrapport concludeert dat de markt zich verder aan het ontwikkelen is. Met betrekking tot transparantie, administratieve lasten in relatie tot aanbestedingsprocedure, de keuzevrijheid voor individuele cliënten en de prijsvorming is er echter nog geen sprake van een optimale markt. De onderzoekers signaleren verschillende knelpunten voor gemeenten, UWV, de private partijen en de individuele cliënten.953 Het kabinet verwacht dat door de inzet van het kabinet, zoals neergelegd in de notitie, hierin verandering zal komen.954 In deze notitie schetst het kabinet de voorwaarden voor een goed functionerende reïntegratiemarkt. Om voldoende concurrentie te creëren en de markt transparant te maken zet het kabinet in op goede aanbestedingsprocedures, waardoor de benodigde informatie voor opdrachtgevers en opdrachtnemers beschikbaar komt en reïntegratiebedrijven onder gelijke voorwaarden kunnen meedingen naar opdrachten. Daarnaast zet het kabinet in op het beschikbaar maken van (onafhankelijke) informatie voor opdrachtgevers over het aanbod, inclusief de kwaliteit. En ten derde moeten reïntegratiebedrijven goed geïnformeerd zijn over de vraag, inclusief de achtergrondkenmerken van de te reïntegreren groep.951
De eerste twee trendrapportages geven een beeld van de ontwikkeling van de markt. In de derde trendrapportage955 is de werking van de reïntegratiemarkt voor het eerst getoetst aan de hand van de ijkpunten die daarvoor in de Wet SUWI zijn geformuleerd. De vierde trendrapportage956, tevens eindrapport, is niet alleen bedoeld als beschrijving van de voortgang van de vorming van een private markt voor reïntegratie, maar ook als een evaluatie van wat bereikt is.
De ontwikkeling van de private markt voor reïntegratiediensten wordt tussentijds ook gekenmerkt door een aantal beleidswijzigingen en daarmee gepaard gaande wetswijzigingen. Zo is in 2002 de Wet verbetering poortwachter in werking getreden (tegelijk met de wet SUWI) en is per 2006 de verplichting voor gemeenten om reïntegratie uit te besteden komen te vervallen.
Evaluatie en effecten
Zoals hierboven is aangegeven gaan de eerste twee trendrapportages in op de ontwikkeling en totstandkoming van een private markt voor reïntegratiediensten. De marktvorming kwam tot stand, zo concludeerde Regioplan, maar wel met de nodige «mitsen en maren». Voor het vaststellen van de uiteindelijke effecten zijn het derde en het laatste trendrapport van belang. In de derde trendrapportage wordt de werking van de reïntegratiemarkt getoetst aan de ijkpunten zoals opgenomen in de wet SUWI. Uit deze rapportage kwam naar voren dat «zich op het punt van toetredingsdrempels en het aantal aanbieders per marktsegment geen problemen voordeden die de werking van de reïntegratiemarkt belemmerden en dat in het UWV-segment de ontwikkeling van marktwerking een eind op de goede weg was. Echter, in het gemeentesegment was weliswaar voortgang geboekt, maar was een goede marktwerking nog ver weg.»957 Met andere woorden: voor UWV is er inmiddels sprake van een markt voor reïntegratie, voor de gemeenten nog niet.
De eindevaluatie van de introductie van marktwerking bij de reïntegratie van niet-werkenden is neergelegd in het laatste trendrapport. In deze evaluatie is, naast de beoordeling van de stand van zaken ten aanzien van de geformuleerde ijkpunten, expliciet gekeken naar de vraag in hoeverre de invoering van de private reïntegratiemarkt heeft bijgedragen aan een meer effectieve (en efficiënte) toeleiding van mensen met een uitkering naar werk dan in de oude situatie het geval was. Daartoe is gebruik gemaakt van een aantal afzonderlijke effectiviteitonderzoeken.958 Regioplan constateert dat algemene studies naar de betekenis van marktwerking voor de effectiviteit van reïntegratiedienstverlening beperkt zijn. Zij hebben vier rapporten aangetroffen die informatie opleveren over (aspecten van) de werking van de markt voor reïntegratiediensten.959 Regioplan concludeert dat er eigenlijk nog heel weinig bekend is over de netto-effectiviteit van de reïntegratiedienstverlening: «we beschikken over een beperkt aantal metingen, die bovendien niet eenduidig zijn», en «voorlopig kunnen we alleen vaststellen dat er een ontwikkeling is in de richting van meer marktwerking, maar dat het effect daarvan op de oorspronkelijke daaraan verbonden doelstellingen nog nauwelijks vastgesteld kan worden.»960
Regioplan constateert dat aan de aanbodkant van de markt in grote lijnen is voldaan aan de voorwaarden voor marktwerking. Er zijn voldoende spelers en er zijn geen spelers die de markt naar hun hand kunnen zetten, bedrijven zijn over het algemeen levensvatbaar, er vindt voldoende uit- en toetreding plaats en er is sprake van zelfregulering enzovoorts. Als er problemen zijn bevinden die zich vooral aan de vraagkant; gemeenten zijn door het ontbreken van vergelijkbare informatie over de kwaliteit en prestaties van reïntegratiebedrijven nauwelijks in staat om reïntegratiediensten in te kopen op basis van een goede afweging van prijs-kwaliteit verhoudingen. Op basis van de beschikbare informatie kan Regioplan niet beoordelen of de huidige wijze van werkloosheidsbestrijding (via inzet van private dienstverleners) nu beter werkt dan de oude situatie met een publieke arbeidsvoorziening. «Geconstateerd kan worden dat reïntegratie effectief is of kan zijn. Maar is de inzet van een private markt daarbij effectief? Doen private reïntegratiebedrijven het beter dan de oude publieke partijen? Wij kunnen op deze vragen geen helder antwoord geven omdat wij niet over de relevante informatie beschikken.»961
Regioplan constateert in de eindevaluatie ook dat de politiek de marktwerking beperkt. De markt is vrijgelaten, maar blijft wel nadrukkelijk te maken houden met de overheid. Enerzijds heeft de overheid de markt vrijgegeven, anderzijds is zij, via UWV en gemeenten, de belangrijkste (aan)besteder, en heeft zij haar eigen politieke en beleidsdoelen. Ook het feit dat de verplichting van uitbesteding van reïntegratiediensten voor gemeenten per 1 januari 2006 is opgeheven betekent dat een deel van de reïntegratiebehoefte niet meer door de markt wordt vervuld. «Daarmee wordt in feite teruggekeerd naar de Pre SUWI situatie. Dit is in feite een vorm van marktsluiting.»962 In een interview met een deskundige op dit terrein komt naar voren dat gemeenten in hun rol als opdrachtgever vooral moeite hadden met de verplichte uitbesteding aan de markt. Na evaluatie hiervan is deze verplichte uitbesteding ingetrokken.963
Ten aanzien van de toegankelijkheid wordt geconcludeerd dat sinds de komst van de Wet werk en bijstand (Wwb) de toegankelijkheid van reïntegratie voor moeilijk bemiddelbare cliënten in gemeenten lijkt te zijn afgenomen. Gemeenten worden geprikkeld om snel zoveel mogelijk uitstroom te realiseren. Door de toename van het aantal activiteiten dat gemeenten zelf gaan uitvoeren, kan deze ontwikkeling geremd worden, aangezien veel van deze activiteiten juist gericht zijn op moeilijke groepen. Bij UWV lijkt er juist een toename te zijn van de toegankelijkheid van reïntegratie. Dat is te danken aan de komst van een aantal specifiek ingevoerde instrumenten en protocollen.964 De keuzevrijheid is voor cliënten van het UWV aanzienlijk vergroot, voor cliënten van gemeenten zijn er ontwikkelingen waardoor de keuzevrijheid wordt belemmerd. De onderzoekers doelen hierbij op de ontwikkeling dat sinds de invoering van de Wwb de nadruk meer ligt op de snelste weg naar werk.965
De klantgerichtheid wordt in de eindevaluatie afgemeten aan de ijkpunten «toegankelijkheid» en «keuzevrijheid». Voor cliënten van het UWV worden beide ijkpunten positief beoordeeld, voor gemeenten is dit in mindere mate het geval. De onderzoekers constateren verder dat uit diverse cliënttevredenheidsonderzoeken blijkt dat cliënten de afgelopen jaren iets tevredener zijn geworden. Cliënten met een IRO-traject (Individuele Reïntegratie Overeenkomst) zijn zeer tevreden.966 Het is opvallend dat in het rapport geen aandacht wordt besteed aan het reïntegratiebedrijf Kliq, het overheidsbedrijf dat in de markt is gezet.
Terugkoppeling resultaten onderzoek
Staatssecretaris Van Hoof biedt de evaluatie van de reïntegratiemarkt op 24 oktober 2006 aan de leden van de Tweede Kamer aan. Hij zegt in de begeleidende brief dat de reïntegratiemarkt in grote lijnen voldoende werkt: «De concurrentie is groot en er zijn nauwelijks toetredingsdrempels. De aanbestedingsprocedure van het UWV is in de loop van de tijd geprofessionaliseerd en dit geldt eveneens voor veel gemeenten. De administratieve lasten rondom de aanbesteding zijn verminderd en de contracten hebben langere looptijden. De keuzemogelijkheden voor de cliënten van het UWV zijn met de introductie van de IRO toegenomen. UWV en gemeenten besteden meer aandacht aan de reïntegratie van moeilijk plaatsbare groepen.»967
Beleidsuitdagingen liggen er vooral op het terrein van een verdere verbetering van het opdrachtgeverschap, aldus de staatssecretaris, om meer maatwerk te contracteren en beter op resultaten te kunnen sturen. Daarnaast constateert de staatssecretaris dat de cliënttevredenheid de laatste jaren is toegenomen. Dit is met name een gevolg van de introductie van het instrument «Individuele Reïntegratie Overeenkomst» (IRO), maar heeft ook betrekking op de reguliere (reïntegratie)contracten. Verder constateert de staatssecretaris dat de beschikbare kennis over de effectiviteit van de reïntegratiemarkt beperkt is, en dat de effectiviteit van het instrument marktwerking nog niet vast te stellen is.968
Er wordt in de Tweede Kamer niet over de eindevaluatie gesproken.
De ontwikkelingen op de markt voor reïntegratiedienstverlening zijn, zoals door het kabinet was beloofd, intensief geëvalueerd. Er zijn vier studies verschenen: de eerste in 2000, en de laatste in 2006. Uit deze studies komt naar voren dat de markt voor reïntegratie in deze periode behoorlijk volwassen is geworden. Aan de aanbodkant wordt voldaan aan de voorwaarden voor marktwerking, de problemen bevinden zich vooral aan de vraagkant van de markt. Met name gemeenten kunnen door het ontbreken van vergelijkbare informatie geen goede afwegingen maken om hun reïntegratiediensten in te kopen. Er zijn geen conclusies te trekken of de private markt nu effectiever en efficiënter is dan in de tijd van de publieke bemiddeling, daarvoor ontbreken de gegevens. Het kabinet had overigens ook niet verwacht dat hier duidelijke uitspraken over gedaan zouden kunnen worden. Voor cliënten van UWV lijkt de toegankelijkheid van de markt, ook voor de moeilijk bemiddelbare groepen, in de loop der tijd te zijn toegenomen, voor cliënten van gemeenten is dat in iets mindere mate het geval. Opvallend is dat in de eindevaluatie over de ontwikkelingen op de markt niets gezegd wordt over het reïntegratiebedrijf Kliq, het overheidsbedrijf dat op de markt gezet is en het niet heeft gered. Verder is het opvallend dat de evaluatie van de marktwerking voor reïntegratie niet besproken is in het parlement; noch in de Tweede Kamer, noch in de Eerste Kamer is hierover gesproken.
In deze paragraaf kijken we naar de rol van het parlement in de besluitvorming rondom de verzelfstandiging/privatisering van de reïntegratiedienstverlening. Het parlement vervult meerdere rollen: mede-wetgever, controleur en volksvertegenwoordiger. In de praktijk overlappen deze rollen regelmatig. Daarbij zijn er kleine verschillen tussen de taken van de Tweede en Eerste Kamer.
De Tweede Kamer als mede-wetgever
De Tweede Kamer heeft in het wetgevingstraject van de Wet verzelfstandiging reïntegratiediensten Arbeidsvoorzieningsorganisatie haar wetgevende taak aanvankelijk passief, maar gaandeweg steeds meer actief ingevuld. In de eerste fase, dat wil zeggen voordat het wetsvoorstel is ingediend, heeft de Kamer een min of meer afwachtende houding aangenomen. In deze fase was de Tweede Kamer hoofdzakelijk bezig met het wetgevingstraject rondom SUWI (Structuur Uitvoering Werk en Inkomen), en speelde de verzelfstandiging van de reïntegratiediensten meer een rol op de achtergrond. Gaandeweg krijgt dit wetgevingstraject een zelfstandige behandeling. Dit is zichtbaar in hoe de Kamer er op reageert, getuige de volgende ontwikkelingen.
Op het moment dat het wetsvoorstel naar de Tweede Kamer wordt gestuurd (december 2000) vindt er eveneens een begrotingsbehandeling plaats van het ministerie van Sociale Zaken en Werkgelegenheid. Tijdens dit debat over de begroting blijkt dat de Tweede Kamer het niet eens is met het voorgestelde overgangsregime voor Kliq. Dit overgangsregime houdt in dat het deel van het budget (het zogenaamde prestatiebudget), dat bestemd is voor reïntegratiediensten vanuit de gemeenten en UWV, de eerste jaren verplicht uitbesteed wordt aan Kliq, het verzelfstandigde bedrijf Reïntegratie Arbeidsvoorziening. De regeringspartij VVD en de oppositiepartijen CDA en D66 vinden dit in strijd met de afspraken die in de SUWI-debatten zijn gemaakt over gelijke concurrentiepositie. Zij dienen een motie in (motie-Wilders c.s.) en verzoeken de regering af te zien van deze verplichte uitbesteding (zie ook paragraaf 4.3). Deze motie is dus al ingediend voordat er gesproken wordt over het wetsvoorstel Verzelfstandiging Reïntegratiediensten Arbeidsvoorzieningsorganisatie. De minister verzoekt de motie aan te houden totdat er meer bekend is over het ondernemingsplan van Kliq, maar dat gebeurt niet.
Kort daarna dient de Tweede Kamer, op verzoek van de vaste commissie voor Sociale Zaken en Werkgelegenheid, een verzoek in bij het Presidium van de Tweede Kamer om een extern onderzoek uit te zetten naar de startpositie en levensvatbaarheid van Kliq, het extern te verzelfstandigen Reïntegratiebedrijf. Dit onderzoek wordt uitbesteed aan KPMG. De resultaten van het onderzoek worden in september 2001 bekendgemaakt (zie hiervoor ook paragraaf 4.3).
In februari 2001 wordt in commissieverband voor het eerst gesproken over het wetsvoorstel. Ook al acht de Tweede Kamer het wetsvoorstel voldoende voorbereid, er volgen kritische vragen over de plannen van het kabinet het Reïntegratiebedrijf Arbeidsvoorziening extern te verzelfstandigen. Vooral het ontbreken van cijfers over de omzetgarantie, invoeringskosten en eventuele investeringsimpulsen baart de Tweede Kamer zorgen. Vrijwel alle partijen stellen hier vragen over en de VVD, als regeringspartij, gaat hierin ver door te stellen dat zij moeilijk kunnen instemmen met dit wetsvoorstel terwijl zo veel zaken nog niet uitgewerkt zijn. De VVD refereert als enige partij in dit verband aan het feit dat de Kamer «voornemens is een analyse (contra-expertise) te laten uitvoeren van de financieel-comptabele aspecten van de totstandkoming van NV Kliq.»833 Tijdens dit commissieoverleg refereren verschillende partijen aan de ingediende motie-Wilders c.s. tijdens het begrotingsdebat en welke gevolgen dit heeft voor het wetsvoorstel. Zij willen daar meer duidelijkheid over van het kabinet. De Tweede Kamer vraagt dus om meer (financiële) informatie en die krijgt de Tweede Kamer ook. Een maand later stuurt minister Vermeend, samen met minister Zalm van Financiën, een brief aan de Tweede Kamer met daarin nadere informatie over een aantal financiële thema's.969 Tien dagen na deze brief volgen een nota naar aanleiding van het verslag en een nota van wijziging. De minister doet in de nota van wijziging wel een voorstel voor een aanpassing in de afbouw van de prestatiebijdrage (overgangsregime), maar nog niet geheel volgens de wensen van de Kamer. Hij stelt voor de prestatiebijdrage nu in twee jaar tijd af te bouwen, in plaats van de eerder voorgestelde periode van vier jaar.
In juni 2001 is de plenaire behandeling van de wet SUWI970. Tijdens dit debat gaan de verschillende politieke partijen ook in op de plannen ten aanzien van de reïntegratiedienstverlening. Het blijkt dat de minister in de Invoeringswet van de SUWI heeft opgenomen dat gemeenten en UWV hun reïntegratiediensten verplicht moeten inkopen bij Kliq. Dat stuit op groot verzet vanuit de Tweede Kamer, die dit tot uiting brengt in het indienen van een amendement. Het amendement wordt ingediend door de VVD, de PvdA, het CDA en D66, en wordt het amendement Van Lente c.s. genoemd. Dit amendement is een logisch vervolg op de eerder door de Tweede Kamer aangenomen motie-Wilders c.s. Opvallend is dat de PvdA wel als indiener van het amendement betrokken is, terwijl dat bij de motie nog niet het geval was. Verder is het opvallend dat beide regeringspartijen betrokken zijn bij de indiening van dit amendement. Bij stemming over het amendement zijn alleen de SP en GroenLinks tegen.971 Ook is er onvrede over de volgorde van voorstellen. Met name de woordvoerder van de VVD stelt dat als dit artikel niet in de invoeringswet was opgenomen, de Kamer nu niet «met de gebakken peren had gezeten en hadden we dit amendement niet hoeven in te dienen.»893 De minister erkent dat ook: «Het kabinet heeft zichzelf in moeilijkheden gebracht door dat onderdeel in deze invoeringswet op te nemen. Ik trek mij dat aan. Daar heeft u gelijk in.»893 Al met al kan gesteld worden dat de Tweede Kamer in dit debat een actieve rol speelt als mede-wetgever en een wetswijziging realiseert als het gaat om de verplichte winkelnering bij Kliq.
Ook in de periode na dit debat stelt de Tweede Kamer zich blijvend kritisch op. Nadat het door haar gevraagde onderzoek naar de levensvatbaarheid van Kliq is opgeleverd sturen de ministers van SZW en Financiën gezamenlijk een brief naar de Tweede Kamer over de strategie en organisatie van Kliq, en een geactualiseerde openingsbalans. De Tweede Kamer stelt ook over deze brief en de nota naar aanleiding van het verslag enkele kritische vragen. De belangrijkste betreffen die van de openingsbalans. Het betreft nog steeds een indicatieve openingsbalans. Verschillende partijen vragen wanneer de definitieve openingsbalans kan worden verwacht. De VVD stelt: «De Kamer heeft met andere woorden geen notie of de bedragen die met de verzelfstandiging van Kliq gemoeid zijn wel hard vaststaan. Het zal de regering duidelijk zijn dat het de Kamer onmogelijk is om zonder nadere voorziening in te stemmen met een en ander. De leden van de VVD-fractie verzoeken dringend om een zodanige inrichting van dit wetsvoorstel dat de Kamer weliswaar akkoord kan gaan met verzelfstandiging, maar onder nadrukkelijk voorbehoud ten aanzien van de totale financiële kosten.»900 Ook worden er vragen gesteld over het «schoon opleveren» van Kliq. Groen Links vraagt zich af of «de facto er geen sprake is van open-eind-financiering aangezien het principe «schoon opleveren» inhoudt dat allerlei nakomende kosten door het Rijk gedragen moeten worden, zoals transformatie-, pensioen-, en afvloeiingskosten.»972 Het CDA vraagt om zo snel mogelijk duidelijkheid voor Kliq, «met name voor het personeel.»973 Het CDA stelt verder nogmaals dat zij kunnen instemmen met de privatisering van de reïntegratiedienstverlening, mits dit niet ten koste gaat van de zwakkeren op de arbeidsmarkt. Ook GroenLinks benadrukt dat zij niet, voordat duidelijk is dat er sprake is van een goede infrastructuur – ook voor bemiddeling van de kwetsbare groepen – akkoord kunnen gaan met een verkoop van de aandelen van de Staat.974
De minister reageert snel op de gestelde vragen. Met betrekking tot de openingsbalans zegt de minister dat de definitieve openingsbalans pas na de datum van verzelfstandiging van Kliq kan worden opgesteld, zodat het kabinet pas achteraf verantwoording zal afleggen over de definitieve openingsbalans. «De geactualiseerde openingsbalans biedt evenwel naar het oordeel van het kabinet voldoende inzicht in de financiële startpositie van Kliq om daar een gefundeerd oordeel over te kunnen geven.»904
De opstelling van de Tweede Kamer in dit wetgevingsproces als mede-wetgever is dus een actieve geweest. Na een aanvankelijk passieve, en afwachtende houding, heeft de Tweede Kamer om een extern onafhankelijk onderzoek gevraagd en heeft zij bij amendement een belangrijke wijziging aangebracht in de wijze waarop Kliq op de markt wordt gezet. Ook in de laatste fase van de wetsbehandeling is de Tweede Kamer kritisch, en is men niet gerust over de prognose voor Kliq. Ook in het plenaire debat van dit wetsvoorstel komt deze zorg terug. De minister deelt deze zorg en geeft toe dat er risico's zitten aan het op de markt zetten van Kliq: «Het heeft geen zin om mooi weer te spelen. De reïntegratiemarkt is nog in beweging en de situatie is nog niet uitgekristalliseerd. Het is ook een beetje koffiedik kijken. Wij geven het bedrijf nu echter wel een startpositie die het in ieder geval mogelijk een faire kans geeft op de reïntegratiemarkt. Garanties kan ik echter absoluut niet geven. Kliq zal het uiteindelijk zelf moeten doen.»910
Toch zijn alle zorgen en het ontbreken van relevante financiële gegevens voor de Tweede Kamer geen reden het wetsvoorstel niet aan te nemen. Uit een interview met één van de betrokkenen van destijds blijkt dat de Tweede Kamer inderdaad sterke twijfels had over de afloop van deze externe verzelfstandiging, maar een weg terug was niet meer mogelijk en ook niet gewenst; met Arbeidsvoorziening waren genoeg problemen geweest, daar wilde men niet meer naar terug. Op 22 november 2001 wordt het wetsvoorstel doorgestuurd naar de Eerste Kamer voor behandeling.
De Eerste Kamer als mede-wetgever
De Eerste Kamer heeft als mede-wetgever vooral een rol gespeeld in het kader van de behandeling van het SUWI-dossier (met daarin ook het dossier omtrent de verzelfstandiging van de reïntegratiediensten). Al tijdens de begrotingsbehandeling in 1999 wordt er gesproken over de voorstellen van het kabinet inzake de Structuur Uitvoering Werk en Inkomen. De leden van de Eerste Kamer beseffen terdege dat een dergelijke bespreking prematuur is, omdat er nog geen sprake is van een voorliggend wetsvoorstel. Maar de begrotingsbehandeling wordt vaker gebruikt om vrijblijvend opmerkingen te maken over nota's of voorstellen van het kabinet, alhoewel dat volgens de woordvoerdster van D66 «vaak op niets uitloopt.»975 De woordvoerder van de PvdA motiveert de opmerkingen als volgt: «De Eerste Kamer bespreekt inderdaad in het algemeen geen kabinetsnota's, maar er wordt nu een mega-operatie voorbereid die wellicht leidt tot megawetgeving, waartegen de Eerste Kamer straks slechts ja of nee kan zeggen. Het is daarom zaak, onze twijfels en bedenkingen nu al aan het kabinet kenbaar te maken.»976
Voor de woordvoerders van de PvdA, het CDA, de VVD en D66) is deze begrotingsbehandeling ook hun laatste debat in de Eerste Kamer. Zij wenden, met uitzondering van de VVD977, deze gelegenheid aan om uitgebreid terug te blikken en hun mening te ventileren over de voorstellen voor de nieuwe structuur uitvoering werk en inkomen. De meeste partijen zijn kritisch, waarbij vooral opvalt dat ook regeringspartij PvdA bijzonder kritisch is. De meest bekritiseerde elementen zijn de knip in de uitvoering (publiek-privaat), en het over elkaar heen buitelen van wetswijzigingen in de afgelopen jaren zonder af te wachten wat de effecten daarvan zijn. In het bijzonder wordt aandacht gevraagd voor de positie van de moeilijk plaatsbare werkzoekenden (vooral door het CDA, de PvdA en de fracties van het GPV, de SGP en de RPF).
Een jaar later, in mei 2000, is er wederom een beleidsdebat in de Eerste Kamer over de begroting van het ministerie van Sociale Zaken en Werkgelegenheid. Het kabinet heeft dan inmiddels een nader kabinetsstandpunt (tweede SUWI-nota) uitgebracht en ook is dit standpunt al plenair behandeld in de Tweede Kamer978. In het beleidsdebat in de Eerste Kamer wordt duidelijk dat de meeste partijen kunnen instemmen met de gewijzigde koers van het kabinet. Met uitzondering van het CDA, die niet onverdeeld gelukkig is met de uitkomsten van het SUWI-debat in de Tweede Kamer. Ook spreekt het CDA (en RPF/GPV) haar zorgen uit over de positie van de kansarmen: «Tevens blijft het private reïntegratiebedrijf ons zorgen baren wat de positie van de kansarmen betreft. Dat is de minister al langer bekend.»837 Het CDA stelt wel, nu de beslissing is gevallen, «de verdere voortgang kritisch opbouwend te blijven volgen, dat wil zeggen uitgaande van de aanvaarde beleidslijn.»837 De woordvoerders van de overige fracties stellen onder andere vragen over de vrijheid voor ondernemingen hun eigen reïntegratiebedrijf te kiezen (de VVD), de positie van de cliënt (GroenLinks, de PvdA), en de gevolgen van opeenvolgende reorganisaties voor de uitvoering (RPF/GPV, D66). In dit beleidsdebat gaat de staatssecretaris in op de gewijzigde koers van het kabinet. Hij zegt hierover het volgende: «Kort daarna – na het beleidsdebat in de Eerste Kamer – kwamen de uitvoeringsorganisaties met hun kritiek op onze oorspronkelijke voorstellen. Die bleek in grote lijnen overeen te komen met de kritiek die in deze Kamer was verwoord. Minister Vermeend en ik hebben elkaar vervolgens diep in de ogen gekeken en besloten dat het roer om moest.»979
Hieruit kan worden opgemaakt dat de Eerste Kamer al in een vroeg stadium invloed heeft uitgeoefend als mede-wetgever.
Een volgende opvallende stap van de Eerste Kamer is het sturen van een brief aan de minister en staatssecretarissen van Sociale Zaken en Werkgelegenheid over de rol, plaats en betrokkenheid van de Eerste Kamer bij de beleids- en wetgevingsprocessen, en specifiek over de voorbereidingen met betrekking tot het traject Structuur Uitvoering Werk en Inkomen.980 Deze brief is in februari 2001 verstuurd, en is op 20 maart 2001 van een schriftelijk antwoord voorzien.981 In de brief geeft de Eerste Kamer aan dat een traditionele begrotingsbehandeling, dat wil zeggen een plenair begrotingsdebat, het karakter zou krijgen van een «herhaling van zetten», en dat dit debat dit jaar dan ook niet dient plaats te vinden. De reden die zij hiervoor geeft is dat commissie en regering al vele malen van gedachten hebben kunnen wisselen en «tegelijkertijd bevindt de voorbereiding van veel nieuwe wetgeving zich in een zodanig stadium, dat enigerlei behandeling door de Eerste Kamer op dit moment een aantasting van het primaat van de Tweede Kamer zou betekenen».980
«Binnen de commissie [de vaste commissie voor Sociale Zaken en Werkgelegenheid van de Eerste Kamer; red.] bestaat een breed gevoel van onvrede over haar rol, plaats en betrokkenheid bij het beleids- en wetgevingsproces.»980 Die onvrede heeft volgens de commissie van de Eerste Kamer een aantal oorzaken:
• niet zelden wordt er al met de voornemens aangevangen voordat de Eerste Kamer het wetsvoorstel heeft aanvaard;
• de commissie krijgt vaak voorstellen die onderdeel uitmaken van een meeromvattend en samenhangend pakket wetsvoorstellen waardoor de commissie niet of nauwelijks bij machte is de onderlinge samenhang en consistentie te beoordelen;
• de beleidsvorming vindt meer en meer plaats in een interactief proces tussen ministerie en diverse maatschappelijke instellingen waardoor de commissie haar beïnvloedingsmogelijkheden ziet afnemen; en
• de informatievoorziening is niet optimaal omdat in toenemende mate tal van brieven, notities en missives die de regering in het kader van het wetgevingsproces aan de Tweede Kamer zendt, niet als zogenaamde witte stukken worden gedrukt en ook niet in afschrift aan de Eerste Kamer worden gezonden980.
In dezelfde brief gaat de vaste commissie van de Eerste Kamer ook specifiek in op het SUWI-dossier. Zij vraagt om meer informatie aangaande de diverse ontwikkelingen in dit dossier: «De haar ter beschikking staande informatie, o.a. in de memorie van toelichting op begrotingshoofdstuk XV is zo summier en gedateerd dat de commissie volstrekt onvoldoende inzicht heeft in de voortgang van dit complexe wetgevingsproces.»982
Na de schriftelijke beantwoording door de minister heeft de vaste commissie voor Sociale Zaken en Werkgelegenheid van de Eerste Kamer een mondeling overleg met de minister en staatssecretaris. Dit mondeling overleg vindt plaats op 15 mei 2001, net voor de plenaire behandeling van het wetsvoorstel in de Tweede Kamer. Tijdens dit overleg stellen het CDA, de PvdA en de VVD vragen over het proces van de wetgeving. Vooral het CDA is kritisch en maakt zich zorgen over de onomkeerbaarheid van het proces: «De CDA-fractie heeft ernstige twijfels of er nog sprake kan zijn van omkeerbare processen wanneer de Eerste Kamer dat nodig acht.»983 Het CDA wijst erop dat het onmogelijk is dat «én de Structuurwet én de Invoeringswet in samenhang met de Wet verbetering poortwachter en de kaderwet ZBO nog door beide Kamers in een zo korte periode kunnen worden afgehandeld dat invoering van deze ingrijpende en verstrekkende wetgeving op verantwoorde wijze per 1 januari 2002 mogelijk is».984 Het CDA beroept zich ook op bezwaren van de Raad van State, en stelt vragen over de organisatie van het toezicht. De PvdA vraagt of de bewindslieden bereid zijn om «ter voorkoming van reparatietoezeggingen of het moeten slikken om politieke redenen van sommige ondeugdelijke onderdelen, de onderscheiden uitvoeringsartikelen zodanig te redigeren dat de invoering van een of meerdere artikelen vertraagd kan worden tot het probleem adequaat is opgelost?»985
De VVD-fractie van de Eerste Kamer gaat, evenals de partijgenoten in de Tweede Kamer, in op de risico’s van de gedwongen winkelnering bij Kliq, en de grote benodigde financiële bijdragen. De VVD stelt echter ook haar eindoordeel te geven op het moment dat de wetsvoorstellen worden voorgelegd. Daarbij gaat het de VVD-fractie vooral om de scheiding tussen publiek en privaat, en wacht men op een reeds toegezegde notitie inzake dit onderwerp.986
De minister en staatssecretaris gaan in hun beantwoording op deze vragen in.
De minister wijst, gegeven de staatsrechtelijke verhoudingen, op het bijzondere karakter van dit overleg: «waarin hij en de staatssecretaris wel enigszins spitsroeden lopen, omdat de parlementaire behandeling in de Tweede Kamer nog volop aan de gang is. Het is dan ook niet mogelijk, op inhoudelijke opmerkingen in te gaan.»987 De minister zegt toe bereid te zijn om te kijken of het wenselijk is een aantal artikelen niet exact per 1 januari 2002 in werking te doen treden. Hij wijst wel op het belang van die datum. Er is haast geboden, onder meer omdat het een complexe operatie betreft en er personele belangen in het geding zijn: «Bij onrust in een organisatie vertrekken in het algemeen de «goede» krachten het eerst.»987 De staatssecretaris wijst in dit verband nog eens naar de invloed van de Eerste Kamer op dit wetgevingsproces. Hij zegt hierover: «hij [de staatssecretaris; red.] wijst erop dat het niet vaak voorkomt dat een van de kernpunten van een regeerakkoord wordt herschreven. Drie factoren hebben daarbij een rol gespeeld: zijn eigen fundamentele twijfels over de levensvatbaarheid van de hybride structuur, de klacht van de uitvoeringsinstellingen over de onwerkbare constructie en de eerste begrotingsbehandeling in de Eerste Kamer waaruit bleek dat de plannen geen grote kans van slagen hadden.»988 De staatssecretaris zegt toe nog terug te komen op de toezichtfunctie en ook de toegezegde notitie tijdig naar de Eerste en Tweede Kamer te sturen.
De rol van mede-wetgever is door de Eerste Kamer dus vooral ingevuld door kritisch te kijken naar het beleids- en wetgevingsproces en daar eisen aan te stellen. De wetsvoorstellen aangaande SUWI worden zonder stemming in de Eerste Kamer aangenomen, maar het CDA en de SP laten aantekenen zich niet met het wetsvoorstel te kunnen verenigen.989 Opvallend is dat de SP afwezig is bij het debat in de Eerste Kamer.
De Wet verzelfstandiging reïntegratiediensten Arbeidsvoorzieningsorganisatie wordt uiteindelijk zonder stemming aangenomen door de Eerste Kamer. Dit heeft deels te maken met het feit dat de SP afwezig is. De heer Hofstede (CDA) zegt hierover het volgende:
«Ik heb begrepen dat in de Tweede Kamer alleen de SP heeft tegengestemd. Nu vanavond in deze Kamer de SP-fractie ontbreekt, kan de Eerste Kamer het wetsvoorstel met algemene stemmen aannemen».990
Het aannemen van het wetsvoorstel betekent niet dat de Eerste Kamer geen vragen heeft gesteld over de Wet verzelfstandiging reïntegratiediensten Arbeidsvoorzieningsorganisatie. Met name het CDA stelt in commissieverband in de voorbereiding van de behandeling van het wetsvoorstel vragen van principiële aard: «Waarom heeft de regering ervoor gekozen om de meest kwetsbare groepen op de arbeidsmarkt op enige termijn geheel afhankelijk te maken van de vrije markt», en «wat voegt een overheids-NV toe aan een markt waarop nu al enkele honderden, veelal private bedrijven opereren.»912 Ook in het plenaire debat over dit wetsvoorstel worden door het CDA en de PvdA nog vragen gesteld. Beide partijen hebben gemengde gevoelens over de markt. Opvallend in dit debat is dat de PvdA fractie het niet eens is met wat de fractiegenoten in de Tweede Kamer hebben voorgesteld, namelijk dat de minister van Financiën de eerstverantwoordelijke wordt. De minister geeft aan dat er nog wel een zekere mate van beleidsverantwoordelijkheid blijft bij de minister van SZW.991 Het CDA en de PvdA zijn van mening dat de minister de vragen naar tevredenheid heeft beantwoord en het wetsvoorstel wordt zonder stemming aangenomen.992
Tweede Kamer als controleur: SUWI als groot project aangemerkt
Aanvankelijk verloopt de controlerende rol van de Tweede Kamer wat betreft de privatisering van de reïntegratie geheel via het traject van de SUWI-wetgeving. Tijdens het debat over de eerste SUWI-nota (juni 1999) zegt minister De Vries toe dat inzake de privatisering van de reïntegratiepoot van Arbeidsvoorziening de Kamer met grote regelmaat op de hoogte te stellen: «Er komt op een gegeven moment ook een evaluatie van het proces.»815 In het begeleidend schrijven bij het nadere kabinetsstandpunt over de toekomstige structuur werk en inkomen (tweede SUWI nota, januari 2000) geeft de minister aan dat het «gewenst is dat tussen bewindslieden en Kamer heldere afspraken worden gemaakt over de wijze waarop de Kamer over de voortgang van het proces wordt geïnformeerd.»844 In het eerste debat over de SUWI-nota is door de VVD in de tweede termijn al opgemerkt dat er «binnen de vaste Kamercommissie op zijn minst eens over zou moeten worden gepraat of het geheel niet in aanmerking komt voor de kwalificatie groot project.»814 Het kabinet stelt voor om te streven naar «een periodieke rapportage op hoofdpunten die de Kamer gelegenheid geeft het proces nauwgezet te volgen en daarover door de bewindslieden verantwoording af te laten leggen.»844 Daarnaast zegt de minister toe de Tweede Kamer ook tussentijds te informeren, indien nodig.
In het debat met de Tweede Kamer over het nadere kabinetsstandpunt (tweede SUWI-nota, maart 2000) wordt met name door de regeringspartijen PvdA en VVD de controlerende functie uitgeoefend. De PvdA merkt op «samen met de Kamer de vinger nauw aan de pols te houden»,993 en de VVD zegt hierover al «eerder gesteld te hebben dat de aanwijzing van het SUWI-project als groot project voor de hand ligt.»994 Vervolgens vraagt de vaste commissie voor Sociale Zaken en Werkgelegenheid in mei 2000 aan de voorzitter van de Tweede Kamer om SUWI aan te wijzen als groot project995. Conform de procedureregeling grote projecten heeft de vaste commissie het advies van de commissie voor de Rijksuitgaven ingewonnen. Dit advies is positief. In de brief worden de redenen genoemd waarom SUWI als groot project aangemerkt dient te worden.996 De vaste commissie stelt de Kamer tevens voor om haar te belasten met de uitvoering van de grote projectenregeling. Na aanvaarding zal zo spoedig mogelijk in overleg met de bewindslieden een informatie- en communicatieprotocol vastgesteld worden. De vaste commissie noemt de onderwerpen waaromtrent zij in ieder geval periodiek geïnformeerd wenst te worden. Eén van de onderwerpen luidt: «de privatisering van de reïntegratie en de ontvlechting van de arbeidsvoorzieningsorganisatie, daarbij betrokken de rol van gemeenten in het kader van reïntegratie en sociale activering.»845
In de Tweede Kamer wordt op 23 mei 2000 de brief behandeld en wordt conform het voorstel besloten en wordt SUWI als groot project aangemerkt.997
Eerste fase: interne ontvlechting Arbeidsvoorziening
In de eerste fase van dit dossier, de interne ontvlechting bij Arbeidsvoorziening, is de Tweede Kamer aanvankelijk afwachtend. Zoals hierboven beschreven gaat de aandacht in deze fase vooral uit naar het SUWI-wetgevingstraject, en wat minder naar de privatisering van de reïntegratiedienstverlening. Oppositiepartij CDA is in deze fase wel actief en vervult in dat opzicht ook de functie van controleur van de Tweede Kamer door bij de minister te vragen naar de stand van zaken ten aanzien van de ontvlechting bij Arbeidsvoorziening. De minister geeft in maart 2000 een schriftelijke beantwoording van deze stand van zaken en doet daarin ook toezeggingen omtrent de informatievoorziening aan de Tweede Kamer. Zoals hierboven beschreven wordt in mei 2000 SUWI als groot project aangemerkt. Dit houdt in dat het kabinet de Kamer periodiek moet informeren over onderwerpen die zijn aangewezen door de Tweede Kamer. Eén van die onderwerpen is de privatisering van de reïntegratie en de ontvlechting van de arbeidsvoorzieningsorganisatie.845 De Tweede Kamer houdt deze voortgang vervolgens redelijk scherp in de gaten. Ten aanzien van de ontwikkeling bij Arbeidsvoorziening stelt een aantal partijen bijvoorbeeld vragen over het uitblijven van de kwartaalrapportages aangaande de ontwikkelingen bij Arbeidsvoorziening.998 Ook wordt in deze fase door de VVD gevraagd naar onderzoeken waar een jaar geleden al om is gevraagd. Gesteld kan worden dat hier de controlerende functie wordt uitgeoefend, maar feitelijk komt de VVD ook pas een jaar later weer terug op zijn verzoek. Te zien is dat in de tweede helft van 2000 de informatievoorziening vanuit het kabinet toeneemt en de Tweede Kamer daar meer en meer boven op zit. Toezeggingen van de minister aangaande onderzoeken worden nauwgezet gevolgd en ook een compleet overzicht van welke onderzoeken wanneer afgerond kunnen zijn levert de minister aan op verzoek van de Tweede Kamer.999
Tweede fase: externe verzelfstandiging Reïntegratiebedrijf Arbeidsvoorziening
Gaandeweg het traject naar privatisering van de reïntegratiediensten oefent de Tweede Kamer steeds meer zijn controlerende functie uit. Zeker ten tijde van de tweede fase (2001), het wetgevingstraject naar externe verzelfstandiging van Kliq, is de Tweede Kamer actief betrokken. Zij vraagt herhaaldelijk om financiële informatie omtrent de externe verzelfstandiging van Kliq. De minister kan deze informatie pas laat en vaak niet volledig geven, omdat de cijfers van Arbeidsvoorziening niet of pas in een laat stadium beschikbaar zijn. De Tweede Kamer vraagt dan ook zelf om een onderzoek naar de levensvatbaarheid en startpositie van Kliq. Van de resultaten van dit onderzoek maakt de minister overigens gretig gebruik. «Het is voor een minister niet altijd leuk als de Kamer met een eigen onderzoek komt, maar in dit geval moet ik eerlijk zeggen dat ik het, achteraf gezien, buitengewoon heb toegejuicht, ook vanwege de kwaliteit van het onderzoek en de wijze waarop dit een rol heeft gespeeld bij een belangwekkende verzelfstandigingsoperatie als deze.»908
De Tweede Kamer, die op eigen verzoek het onderzoek begin januari 2001 heeft uitgezet en uitbesteed aan KPMG, is echter weinig actief als het gaat om de bewaking van de voortgang van dit onderzoek. Terwijl in de overleggen en debatten met de minister er steeds gesproken wordt over de onvolledige financiële informatie, wordt pas op 6 september 2001 door de woordvoerster van de VVD gevraagd naar de stand van zaken ten aanzien van het onderzoek dat door KPMG wordt uitgevoerd.1000 Een paar weken later (19 september) wordt de vaste commissie voor Sociale Zaken en Werkgelegenheid van de Tweede Kamer in een besloten zitting geïnformeerd over de resultaten van het onderzoek. Het rapport wordt niet officieel aangeboden aan de Tweede Kamer en is dan ook lastig terug te vinden in het dossier. Gezien het feit dat de resultaten van het onderzoek in de debatten daarna wel worden aangehaald door minister en Tweede Kamerleden is dit opmerkelijk te noemen.
De Tweede Kamer is hier voor de tweede keer vertrouwelijk geïnformeerd. De eerste keer betrof de onderzoeken die op verzoek van het kabinet zijn uitgevoerd naar de startpositie en levensvatbaarheid van Kliq (maart 2001). Al met al heeft de actieve opstelling van de Tweede Kamer in deze fase er toe geleid dat tot twee keer toe een nota van wijziging is uitgebracht. De eerste in maart 2001 en de tweede in oktober 2001.1001
Derde fase
Ten aanzien van de derde fase, de privatisering van Kliq waarbij de aandelen van de staat worden verkocht aan derden, geeft de minister in 2001 aan de Kamer vooraf schriftelijk te informeren over dit belangrijke beslismoment.905 Dit moment heeft uiteindelijk nooit plaatsgevonden omdat het niet tot een verkoop van de aandelen is gekomen van het bedrijf Kliq. Kliq is vanuit faillissement overgenomen door Agens. In de periode na de verzelfstandiging van Kliq is de Tweede Kamer dan ook vooral reactief als het gaat om het controleren van de regering. Deels is dit ook logisch, aangezien Kliq nu zelfstandig op de markt opereert en de controlefunctie in die zin ook minder behelst dan gedurende het wetgevingsproces. Echter, gezien het einde van het wetgevingstraject, waarin er nog veel vragen waren over de openingsbalans van Kliq en de minister verwachtte binnen twee of drie maanden meer zicht te hebben op de openingsbalans van Kliq en de eindbalans van Arbeidsvoorziening, is het opvallend dat de Tweede Kamer geen gevolg heeft gegeven aan haar controlerende functie door hier niet nader naar te informeren. De minister heeft aangegeven achteraf verantwoording af te leggen over de in de loop van 2002 vastgestelde definitieve openingsbalans Kliq en de Kamer daarover te informeren via de voortgangsrapportages groot project SUWI905. Deze toezegging komt de minister ook na.
De Kamer wordt na de verzelfstandiging van Kliq per 1 januari 2002 voor het eerst in mei 2002 geïnformeerd over de ontwikkelingen bij Kliq. Formeel is dat feitelijk niet nodig omdat er nog geen sprake is van de verkoop van aandelen. In mei 2002 informeert minister Vermeend de Kamer over de intentieovereenkomst die de NV Kliq gesloten heeft met Solvus NV, een Belgische beursgenoteerde onderneming, met betrekking tot een strategische samenwerking. «Hoewel deze strategische transactie niet een verkoop van de aandelen van de Staat in de NV Kliq betreft en deze brief dus niet kan worden gezien als een schriftelijke mededeling ex. Artikel 29 van de Comptabiliteitswet, acht ik het van belang u over de hoofdlijnen van de transactie te informeren vanwege de materiële gevolgen voor NV Kliq.»920
De Kamer stelt hierover schriftelijke vragen en deze worden beantwoord door de minister op 1 juli 2002. In september 2002 volgt dan nieuwe informatie (van minister Hoogervorst van Financiën) over het feit dat beide partijen nu finale afspraken hebben gemaakt met betrekking tot de toekomstige strategische samenwerking. Solvus koopt overigens, in tegenstelling tot wat eerder de intentie was, nog geen aandelen van Kliq, met name vanwege de onzekerheid over de toekomstige ontwikkeling op de reïntegratiemarkt.922 In dezelfde brief van september 2002 volgt ook de informatie over en de vaststelling van de openingsbalans van Kliq. De Tweede Kamer, bij monde van de vaste commissie voor Sociale Zaken en Werkgelegenheid en de vaste commissie voor Financiën, voeren vervolgens een overleg met minister De Geus (september 2002) over de informatie in deze brief. In dit overleg stellen diverse politieke partijen een aantal kritische vragen. Er wordt bijvoorbeeld gevraagd naar waarom Kliq in zo'n rap tempo terrein verliest en wie er nu verantwoordelijk is voor Kliq en de verzelfstandiging (zie hierboven).931 In oktober 2002 en in juni 2003 worden bij monde van de heer Algra van het CDA Kamervragen gesteld over Kliq en door de heer De Ruiter van de SP over de mogelijk dreigende ontslagen bij Kliq (ook in juni 2003). De Tweede Kamer wordt in deze fase voor de derde keer vertrouwelijk geïnformeerd. Er is sprake van een vertrouwelijk verslag van het overleg met de vaste commissie voor Financiën, zo blijkt in januari 2005 als de minister de Tweede Kamer informeert over de surseance van betaling die voor Kliq is aangevraagd.
De Eerste Kamer als controleur
In de startfase van het SUWI-traject wordt er in de Eerste Kamer door de woordvoerder van de PvdA-fractie gevraagd naar de uitvoering van een motie, die ten tijde van de behandeling van de Organisatiewet sociale verzekeringen (Osv) is ingediend (1997). Het betreft hier de motie-Jaarsma c.s., waarin gevraagd wordt om een tijdige evaluatie op een aantal met name genoemde punten. De woordvoerder van de PvdA: «Die evaluatie dient beschikbaar te zijn voordat de hoofdlijnen van een geheel andere uitvoeringsstructuur geschetst worden. Vandaag hebben wij gelezen dat de evaluatie er spoedig zal komen, maar ik vind dat zij er had moeten liggen voordat het kabinet een nieuw standpunt bepaalde».1002 Ook de woordvoerders van het CDA en het GPV/SGP/RPF wijzen op het bestaan van deze motie.1003 Verder wordt er door de leden van de Eerste Kamer soms gerefereerd aan extern onderzoek.1004 In dit opzicht wordt dus gebruik gemaakt van kennis die elders is opgedaan.
Een jaar later is er weer een beleidsdebat over de begroting van het ministerie van Sociale Zaken en Werkgelegenheid. Ook daarin wordt gesproken over de plannen met betrekking tot SUWI. In mindere mate komt de privatisering van de reïntegratiedienstverlening aan bod. In dit debat is niet veel aandacht voor de controlerende functie van de Eerste Kamer. Het debat wordt vooral aangewend om de standpunten van de diverse partijen duidelijk te maken. De woordvoerder van de PvdA stelt wel de vraag hoe de minister rekenschap denkt af te leggen aan het parlement over de voortgang, ook in termen van prestaties, en van de versmelting van de uitvoeringsinstellingen in het UWV.1005
Behoudens de rol die de Eerste Kamer als mede-wetgever heeft en haar kritische houding dienaangaande, heeft zij in het wetgevingstraject «Verzelfstandiging reïntegratietaken Arbeidsvoorziening» pas na toezending van het wetsvoorstel vragen gesteld aan de minister. Overigens is het opvallend gezien de kritische houding die de Eerste Kamer aanneemt ten aanzien van het SUWI-wetgevingsproces dat de Eerste Kamer daarna tussentijds geen vragen meer stelt. Kennelijk is de reactie van de minister en de informatie die hij nu ook stuurt aan de Eerste Kamer toereikend.
Bijzonder in deze casus is dat ten tijde van de totstandkoming van het kabinetsstandpunt (1999), nog voordat er met het parlement over is gesproken, twee rondes hoorzittingen hebben plaatsgevonden met een scala aan belanghebbende partijen, deskundigen en maatschappelijke organisaties. De tweede ronde hoorzittingen is gehouden met de leden van de vaste commissie voor Sociale Zaken en Werkgelegenheid. Pas na de hoorzittingen is er plenair vergaderd over het eerste kabinetsstandpunt. In het vervolg van deze casus komt de betrokkenheid van belangengroepen niet meer zo expliciet aan bod.
De positie van de cliënt komt vooral in de beginfase regelmatig aan bod in het debat aangaande de privatisering van de reïntegratie en in het kader van de nieuwe Structuur Uitvoering Werk en Inkomen. Diverse partijen in de Tweede Kamer – met name de PvdA, de VVD, GroenLinks en D661006 – bepleiten al tijdens het debat over het eerste kabinetsstandpunt Structuur Uitvoering Werk en Inkomen dat het van belang is de cliëntenparticipatie goed te regelen en dat er een discussie moet komen over het recht op reïntegratie1007. Op een voorstel voor een eventuele kaderwet cliëntenparticipatie reageert de minister dat dit niet geregeld moet worden in een kaderwet, daarvoor zijn er teveel verschillen en dan moeten er steeds uitzonderingen worden geformuleerd. Wel zegt hij toe dat dit in het kader van de SUWI-wetgeving geregeld moet worden1008. Ten aanzien van het recht op reïntegratie zegt de minister dat daar pas over gesproken kan worden als je ook 100% zeker weet dat je het waar kunt maken. Minister De Vries: «Iedereen krijgt een aanbod, dan wordt gekeken of dat kan worden geconsolideerd en waar worden gemaakt, dan dat er meteen een subjectief recht van wordt gemaakt. Ik vind echter wel dat het daar naartoe moet.»1009
Nadat D66 en de PvdA nogmaals vragen naar de cliëntenparticipatie zegt de minister toe om eens oriënterend met collega's te spreken over een kaderwet cliëntenparticipatie, het betreft hier namelijk een overstijgend onderwerp.1010 Het is niet duidelijk of dit debat ook daadwerkelijk heeft plaatsgevonden. Wel is duidelijk dat in het kader van de SUWI-wetgeving de cliëntenparticipatie geregeld wordt. Er wordt een landelijke cliëntenraad ingesteld; overigens wordt dit geregeld bij amendement tijdens de behandeling van de SUWI-wetgeving in de Tweede Kamer, op initiatief van GroenLinks1011.
In het wetgevingstraject aangaande de verzelfstandiging van de reïntegratiedienstverlening wordt niet zozeer aandacht besteed aan de positie van de cliënt of de betrokkenheid van belangengroepen, maar wordt wel steeds gerefereerd aan de positie van de kwetsbare groepen op de arbeidsmarkt. De Tweede Kamer en – in iets mindere mate – de Eerste Kamer maken zich daar herhaaldelijk zorgen over. Zij vragen zich af of deze groepen niet ondersneeuwen op de private markt van reïntegratie. Vanuit de regering wordt er herhaaldelijk op gewezen dat de gemeenten en UWV verantwoordelijk blijven voor deze groepen op de arbeidsmarkt, en dat alleen de uitvoering van de reïntegratie geschiedt door private partijen.
Ook de gevolgen voor het personeel van de op te heffen Arbeidsvoorziening komen aan bod in het proces van verzelfstandiging van de reïntegratiedienstverlening.1012 Al voordat het wetsvoorstel naar de Tweede Kamer wordt gestuurd, is hier aandacht voor vanuit de Tweede Kamer. In een algemeen overleg van juni 2000 wordt door de PvdA, GroenLinks en de SGP gevraagd naar de gevolgen voor het personeel.1013 De PvdA vraagt of het personeel een vrije keuze heeft mee te gaan met het reïntegratiedeel of in de basisdienstverlening te blijven. Ook wordt gevraagd of de bonden instemmen met de plannen. De minister reageert hierop door te zeggen «dat de politiek voor een bepaalde opzet kiest met als gevolg dat het personeel in onzekerheid verkeert over het voortbestaan van zijn baan.»850
Nadat het wetsvoorstel naar de Tweede Kamer is gestuurd (december 2000) wordt door de fracties van de PvdA en D66 tijdens het overleg van de vaste commissie met de minister (februari 2001) gevraagd naar de gevolgen voor het personeel. De PvdA vraagt naar de tussenstand met betrekking tot het sociaal plan en de prestaties van het ingestelde Mobiliteitsbureau. De fractie van D66 vraagt naar een toelichting op de brief die de Centrale Ondernemingsraad van Arbeidsvoorziening naar de Tweede Kamer heeft gestuurd (op 8 december 2000), waarin zij zorgen uit over de gevolgen van alle wijzigingen voor de onrust en onzekerheid onder het personeel.1014 De minister beantwoordt deze vragen in de brief van maart 2001. Er blijken 612 medewerkers boventallig te zijn verklaard. Door inspanning van het Mobiliteitsbureau is dit aantal per medio maart 2001 afgenomen tot 413 medewerkers. Daarnaast meldt de minister dat op basis van nieuwe marktverwachtingen Kliq voor 1 juli 2001 nog eens 700 fte zal moeten inleveren.1015 Over de onrust bij Arbeidsvoorziening meldt de minister dat het proces van interne verzelfstandiging is geëvalueerd, en dat de resultaten door de Centrale Ondernemingsraad voor kennisgeving zijn aangenomen.1016
Nadat de minister in oktober 2001 de Tweede Kamer informeert over de stand van zaken ten aanzien van het overgangsregime stelt de Tweede Kamer bij monde van regeringspartijen PvdA en VVD vragen over de omvang van het personeelsbestand.1017 Is er nog steeds sprake van een afvloeiing van 700 fte (PvdA) en hebben de nieuwe bestuurders invloed gehad op de omvang en samenstelling van het personeelsbestand. De minister antwoordt dat de afvloeiing van 700 fte reeds in september 2001 heeft plaatsgevonden en dat het nieuwe bestuur geen invloed heeft gehad, omdat het personeel van Arbeidsvoorziening reeds per 1 oktober 2000 aan de verschillende bedrijfsonderdelen is toegedeeld.1018
Tijdens de plenaire behandeling van het wetsvoorstel (november 2001) in de Tweede Kamer stellen vooral de regeringspartijen PvdA en VVD dat het tijd wordt dat de verzelfstandiging een feit wordt, vooral ook omdat het personeel lange tijd in onzekerheid heeft verkeerd. De woordvoerder van de PvdA verwoordt dit als volgt: «Voor het personeel van de organisatie is het een moeilijke en heel harde tijd geweest. Langdurige onduidelijkheid, onzekerheid en het afvloeien van een groot aantal banen heeft van veel mensen veel gevraagd.»1019
Het CDA wijst in dit verband op de reorganisatie bij de uitvoeringsinstellingen en de ombouw naar het UWV, dat zorgt voor vertraging in de aanbestedingsprocedures van reïntegratietrajecten. Het CDA spreekt de zorg uit dat hierdoor de reïntegratieactiviteiten stilliggen, «ondanks de belofte van de minister dat de verkoop tijdens de verbouwing in het kader van SUWI gewoon doorgaat. Dat is niet het geval».917 Dit is een drama voor de mensen die aan de slag willen, maar ook voor het reïntegratiebedrijf, aldus de woordvoerder van het CDA. In de Eerste Kamer wordt niet ingegaan op de gevolgen voor het personeel.
Ook na de verzelfstandiging komt nog een aantal keer de positie van het personeel ter sprake. Veelal betreft het hier de omvang van het personeelsbestand, die als gevolg van een verslechter(en)de positie van Kliq op de reïntegratiemarkt en de bezuinigingen door de overheid verminderd moet worden. Bij de informatie van de minister over het faillissement van Kliq wordt eveneens ingegaan op de gevolgen voor het personeel: voor de circa 500 medewerkers van Kliq is ontslag aangevraagd. Van hen krijgen 280 medewerkers een baan aangeboden bij Agens, het reïntegratiebedrijf dat Kliq vanuit faillissement koopt.1020 In de Tweede Kamer worden hier geen vragen meer over gesteld.
In de beginfase van privatisering van de reïntegratiedienstverlening ging de meeste aandacht uit naar de SUWI-wetgeving. De voorstellen dienaangaande zijn door de Tweede Kamer, maar ook door de Eerste Kamer stevig bekritiseerd. De Eerste Kamer heeft hier invloed uitgeoefend als mede-wetgever door tijdens de begrotingsbehandeling zeer kritisch te zijn over de eerste SUWI-nota, hetgeen voor het kabinet één van de redenen was de plannen te herzien. Naarmate het wetgevingsproces vorderde kwam er vanuit de Tweede Kamer steeds meer aandacht voor de privatisering van de reïntegratiedienstverlening. De Tweede Kamer heeft hier als mede-wetgever een belangrijke rol gespeeld door per amendement een wetswijziging te realiseren inzake het overgangsregime voor Kliq. Met dit amendement heeft ze getornd aan een belangrijke bouwsteen voor het op de markt zetten van Kliq.
De Tweede Kamer heeft haar controlerende functie, na een aarzelend begin, actief ingevuld. Ten eerste door de SUWI-operatie tot groot project te benoemen, en daarmee het kabinet te verplichten tot een periode verantwoording van het proces en ontwikkelingen, en ten tweede door een onafhankelijk extern onderzoek te laten uitvoeren naar de levensvatbaarheid en startpositie van Kliq. Wel valt op dat de Tweede Kamer de voortgang van dit onderzoek niet nauwgezet volgt. De Tweede Kamer is tot drie keer toe vertrouwelijk geïnformeerd in dit dossier. Daarmee is zeker voldaan aan de informatieplicht van het kabinet, maar er was niet altijd gemakkelijk toegang tot de informatie. De actieve opstelling van de Tweede Kamer heeft er toe geleid dat het wetsvoorstel twee keer is gewijzigd, voordat het plenair in behandeling is genomen.
Als volksvertegenwoordiger komt het parlement vooral op voor de positie van de cliënt en wordt op initiatief van GroenLinks (ook per amendement) een landelijke cliëntenraad ingesteld in het kader van de SUWI-wetgeving. Daarnaast wordt herhaaldelijk aandacht gevraagd voor de positie van de kwetsbare groepen op de arbeidsmarkt (vooral door het CDA) en de gevolgen voor het personeel van het op te heffen Reïntegratiebedrijf Arbeidsvoorziening.
Dit hoofdstuk behandelt het besluit om te komen tot een onafhankelijk netbeheer in de energiesector, een besluit dat nauw gekoppeld is aan de liberalisering van de energiemarkt en privatisering van energiebedrijven.
De opbouw van dit hoofdstuk volgt de thematische indeling zoals beschreven in de methodologische verantwoording in hoofdstuk 1. Na een inleiding (paragraaf 5.1) en korte schets van het verloop van het besluitvormingstraject (paragraaf 5.2) wordt achtereenvolgens ingegaan op de motieven voor het besluit (paragraaf 5.3), aspecten ten aanzien van sturing en verantwoording (paragraaf 5.4), voorziene en eventueel bereikte effecten voor de burger (paragraaf 5.5) en de rol van het parlement in de besluitvorming (paragraaf 5.6).
De energiesector is de afgelopen twintig jaar ingrijpend veranderd. Begin jaren ’90 waren energiebedrijven volledig in het bezit van decentrale overheden en hadden afnemers niet of nauwelijks keuzevrijheid van welk energiebedrijf ze energie kochten. Anno 2012 hebben alle afnemers (zowel groot- als kleinverbruikers) de mogelijkheid om te kiezen tussen energieleveranciers. Ook is een significant deel van de sector geprivatiseerd en zijn verschillende energiebedrijven overgenomen door buitenlandse spelers, al is het eigendom en beheer van energienetwerken nog altijd publiek.
Wijzigingen in het Nederlandse energiebeleid hebben een belangrijke rol gespeeld bij deze transformatie. Typerend voor het beleid dat vanaf de jaren negentig werd gevoerd, is de grotere nadruk die werd gelegd op het bevorderen van marktwerking in meerdere sectoren.1022 Het liberaliseren van de energiesector om zo marktwerking te bevorderen – dat zijn neerslag kreeg in de Elektriciteitswet (1998) en de Gaswet (2000) – werd deels gestimuleerd door Europese regelgeving die inzette op het liberaliseren en integreren van de Europese energiemarkt, maar vond ook voor een belangrijk deel zijn oorsprong in gewijzigde ideeën bij Nederlandse beleidsmakers over de gewenste rolverdeling tussen markt en overheid.1023 De vormgeving en het tempo van het liberaliseren van de Nederlandse energiesector gingen dan ook vaak verder dan Europese regels voorschreven.1024
Met het liberaliseren en internationaliseren van de energiesector kwam ook het privatiseringsvraagstuk op; nu energiebedrijven de concurrentie aan moesten gaan met andere bedrijven om de gunst van de klant, was het voor publieke aandeelhouders (gemeenten en provincies) niet langer vanzelfsprekend dat er voor hen nog een rol was als eigenaar van de bedrijven. Ook de directies van de energiebedrijven spraken zich uit voor privatisering, omdat dit hen een betere uitgangspositie zou bieden in de context van de liberalisering en internationalisering van de sector.1025
Deze ontwikkelingen zijn zeker niet onopgemerkt gebleven door het Nederlandse parlement. Vanaf medio jaren ’90 zijn vele discussies gevoerd over de wenselijkheid en vormgeving van de liberalisering en privatisering van de energiesector. Op het gebied van privatisering was met name een discussiepunt in hoeverre het netbeheer over mocht gaan in private handen. Omdat bij de energienetten sprake is van een natuurlijk monopolie (het is inefficiënt om meerdere netwerken naast elkaar aan te leggen) bestond de vrees dat private spelers misbruik zouden maken van deze monopoliepositie. Deze vrees werd versterkt door het gegeven dat Nederlandse energiebedrijven veelal geïntegreerde bedrijven waren die zowel netbeheer als productie, handel en/of levering verzorgden. Privatisering van deze bedrijven zou daarmee ook privatisering van het netbeheer betekenen. Over de onwenselijkheid van een dergelijke uitkomst zijn in de Tweede Kamer vele debatten gevoerd.
In dit casusonderzoek wordt specifiek gekeken naar de parlementaire discussies tijdens het wetgevingstraject «Wet Onafhankelijk Netbeheer» (2005–2006). Hoewel deze wet in principe niet als doel had om regels te formuleren op het gebied van privatisering, was een belangrijk doel van deze wet om de energiesector zodanig te herordenen dat bij privatisering van regionale energiebedrijven geen sprake kon zijn van privatisering van geïntegreerde bedrijven.
De Wet Onafhankelijk Netbeheer verplichtte energiebedrijven tot het ontvlechten van het netbeheer (monopolie) en de commerciële delen (handel, productie en/of levering). Op het moment van de discussie over het wetsvoorstel gold een privatiseringsverbod voor het netbeheer maar niet voor de commerciële delen. Maar omdat energiebedrijven veelal geïntegreerde bedrijven waren, was er de facto sprake van een privatiseringsverbod. Door de splitsing zou dit obstakel voor privatisering van de commerciële delen worden weggenomen en zou een afzonderlijke discussie kunnen worden gevoerd over de wenselijkheid van (gedeeltelijke) privatisering van netbeheerders. Het parlement was overigens verdeeld wat betreft het «privatiseringselement» van deze wet; sommige fracties zagen de Wet Onafhankelijk Netbeheer als een «privatiseringswet», omdat in hun ogen de afgesplitste commerciële bedrijven hapklare overnamebrokken zouden vormen voor grote buitenlandse bedrijven. Andere fracties zagen de wet eerder als een «anti-privatiseringswet», omdat volgens hen de wet zou voorkomen dat de gehele energiesector (inclusief het netbeheer) zou worden geprivatiseerd (zie paragraaf 5.2).
De energiesector bestaat feitelijk uit twee hoofdmarkten: de gas- en elektriciteitsmarkt. De gasmarkt wordt in dit onderzoek niet meegenomen. De elektriciteitsmarkt bestaat uit een aantal schakels:
• productie (het opwekken van elektriciteit)
• handel (op groothandelsmarkten)
• transport en distributie (over hoog- en laagspanningsnetten)
• levering (de verkoop van elektriciteit aan de consument).1026
Doorgaans worden de productie, handel en levering van energie geclassificeerd als de «commerciële onderdelen» van de energiesector. Transport en distributie van elektriciteit over de hoog- en laagspanningsnetten (de verantwoordelijkheid van netbeheerders) worden de «monopolieonderdelen» genoemd, omdat bij elektriciteitsnetten sprake is van een natuurlijk monopolie. De precieze scheidslijn tussen hoog- en laagspanningsnetten is niet geheel eenduidig, maar grofweg kan gesteld worden dat die bij 110 kilovolt ligt.
Tot eind jaren ’90 was er nog een zekere scheiding tussen bedrijven die zich richtten op de productie, handel en transport en bedrijven die zich richtten op distributie en levering. In de Nederlandse energiesector waren er vier grote energieproducenten (allen direct of indirect in handen van decentrale overheden) die waren verenigd in de Samenwerkende Elektriciteitsproducenten (SEP). Hoogspanningsnetten waren grotendeels in bezit en onder beheer van deze bedrijven. Daarnaast waren er regionale energiebedrijven die zich richtten op de distributie en levering van gas- en elektriciteit aan kleinverbruikers. Vanaf eind jaren ’80 was sprake geweest van een grote fusiegolf en schaalvergroting waardoor er van de 134 leveranciers in 1987 nog maar 36 actief waren in 1995.
Vanaf eind jaren ’90, na de introductie van de Elektriciteitswet en de Gaswet, vond een verdergaande fusiegolf op het gebied van regionale energieleveranciers plaats. Hierbij was ook sprake van verticale integratie, waarbij energieleveranciers ook productiecapaciteit gingen verwerven. Hoewel er nieuwe toetreders op de markt voor energiedistributie kwamen, was de markt sterk geconcentreerd, waarbij Nuon, Essent, Eneco en Delta elk een zeer groot deel van de markt in handen hadden. Aan de productiekant werden drie van de vier grote energiebedrijven verkocht aan buitenlandse investeerders, waarvan één later werd gekocht door Nuon (zie paragraaf 5.2).
De Nederlandse elektriciteitssector was ten tijde van de discussie over de Wet Onafhankelijk Netbeheer (halverwege de jaren 2000) sterk geconcentreerd:
• Aan de productiekant nemen twee buitenlandse productiebedrijven (Elektrabel en E.On) en een tweetal verticaal geïntegreerde Nederlandse energiebedrijven (Essent en Nuon) het grootste deel van de productie voor hun rekening. De rest van de energie komt uit import en door decentrale opwekking.
• De transportnetten van 220 en 380 kV worden volledig beheerd door TenneT BV, een 100% staatsdeelneming. De transportnetten van 110 en 150 kV worden grotendeels beheerd door Essent en Nuon, met een bescheidener rol voor Delta en Eneco.1027
• Eneco, Essent en Nuon nemen het grootste deel van de distributie van elektriciteit voor hun rekening.
• De leveringsmarkt wordt gedomineerd door Eneco, Essent en Nuon, met daarnaast nog een aantal lokale en landelijke aanbieders, waarvan Delta de belangrijkste is.1028
Met de Elektriciteitswet (1998) werd invulling gegeven aan het voornemen om de elektriciteitssector te liberaliseren om zo marktwerking te stimuleren. Marktwerking bevorderen impliceert het stimuleren van concurrentie tussen marktpartijen om de gunst van de afnemer. Marktwerkingsbeleid kan zich allereerst richten op de aanbodzijde. Hierbij kan het gaan om het introduceren van concurrentie op de markt, door middel van het slechten van barrières voor nieuwe toetreders tot de markt (liberalisering) in combinatie met versterkt mededingingstoezicht. In de elektriciteitssector werd de productiemarkt in 1998 vrijgegeven; de leveringskant werd stapsgewijs vrijgegeven (zie paragraaf 5.2). Dit hangt samen met beleid gericht op de vraagkant, door consumenten vrijheid te geven te kiezen tussen verschillende leveranciers om zo de «tucht van de markt» uit te kunnen oefenen.
Met de introductie van de Elektriciteitswet werd ook geregeld dat de commerciële delen van energiebedrijven juridisch ontvlochten moesten worden van het beheer van de transport- en distributienetten. Er zijn verschillende vormen van ontvlechting, oplopend in hoe ingrijpend de ontvlechting is voor de structuur van de bedrijven:
• Boekhoudkundige ontvlechting: de netbeheer mag in dezelfde juridische entiteit zitten als commerciële onderdelen, maar dient een eigen boekhouding te hebben;
• Juridische ontvlechting: het netbeheer dient in een aparte vennootschap te zijn ondergebracht met een eigen boekhouding, bestuur en raad van commissarissen, maar mag nog wel onderdeel zijn van een holding waarin ook commerciële energieonderdelen zitten. Er kan hierbij onderscheid worden gemaakt tussen juridische ontvlechting met een «magere netbeheerder» en met een «vette netbeheerder»:
– De «magere netbeheerder» beschikt niet over het economisch eigendom van het net (zie kader 6.1 hieronder) en besteedt veel taken uit aan de andere delen van de holding;
– De «vette netbeheerder» beschikt wel over het economisch eigendom van het net en is voldoende toegerust om zelfstandig taken gerelateerd aan het netbeheer uit te voeren; en
• Eigendomsontvlechting: er dient een «vette netbeheerder» te worden gecreëerd die in een aparte vennootschap wordt ondergebracht met een eigen boekhouding, bestuur en raad van commissarissen. Deze netbeheerder mag geen onderdeel meer vormen van een holding waarin ook commerciële energieonderdelen zitten.
Met de vorming van TenneT BV en het vervolgens opheffen van de SEP was op het gebied van de elektriciteitstransportnetten vanaf 220 kV al vanaf begin jaren 2000 sprake van eigendomsontvlechting. Op het gebied van de distributienetten en de transportnetten tot 220 kV was sprake van een juridische ontvlechting, waarbij het netbeheer in een aparte vennootschappelijke entiteit binnen een holding was ondergebracht. De Wet Onafhankelijk Netbeheer (2005–2006) had als doel om het beheer van de transportnetten vanaf 110 kV onder te brengen bij TenneT BV en om het beheer van de distributienetten op eigendomsniveau te ontvlechten van de commerciële delen. Hierbij zouden de netbeheerders ook over het economisch eigendom van het net dienen te beschikken om zo hun financiële zelfstandigheid te vergroten (zie kader 6.1).
Kader 5.1. Economisch en juridisch eigendom
Wat betreft het eigendom van de netten kan een onderscheid worden gemaakt tussen het juridische en economische eigendom van de netten. De juridische eigenaar van het net kan het recht op de gebruikswaarde van dit net overdragen aan een andere partij (overdracht van economisch eigendom). Bij het economisch eigendom gaat het dus om het economisch vruchtgebruik van het net. Dit betekent dat het net op de balans staat van het bedrijf en het bedrijf de financiële risico’s van het exploiteren van het net draagt. De juridische eigenaar behoudt echter residuele rechten, zoals bijvoorbeeld het recht op verkoop van het net.
Bij privatisering gaat het om de verkoop van publiek eigendom aan private partijen. In de energiesector werden zoals gezegd vlak na het vrijgeven van de productiekant drie van de vier grote productiebedrijven verkocht aan buitenlandse energiebedrijven. Aan de distributiekant is een jarenlang debat gevoerd over de wenselijkheid van privatisering van geïntegreerde distributie- en leveringsbedrijven. In 1999 en 2002 werden twee gasdistributiebedrijven (Haarlemmermeergas en Obragas) geprivatiseerd; andere verzoeken tot privatisering werden, op dringend verzoek van het parlement, afgewezen. Pas na de introductie van de Wet Onafhankelijk Netbeheer is er sprake van een verdergaande privatisering. Voorbeelden zijn NUON, Essent en NRE, die allen het netbeheer afstootten en daarna werden overgenomen door buitenlandse spelers (respectievelijk het Zweedse Vattenval, het Duitse RWE en het Duitse E.on).1029
Liberalisering, ontvlechting en privatisering in de energiesector zijn nauw met elkaar verweven. Om toetreding van nieuwe bedrijven tot het net en eerlijke concurrentie tussen nieuwkomers en gevestigde bedrijven te garanderen, is een zekere mate van ontvlechting wenselijk. Bij liberalisering van een sector kan daarnaast privatisering voor de hand liggen; bedrijven krijgen een hoger risicoprofiel doordat ze bloot staan aan concurrentie en dit kan voor publieke aandeelhouders een reden zijn om zich terug te trekken als eigenaar. Ook ontvlechting en privatisering hangen samen, met name als het gaat om het veiligstellen van de monopolieonderdelen in de energiesector tegen «misbruik» van private spelers. Door het netbeheer in een bepaalde mate af te scheiden van de commerciële onderdelen, kan voorkomen worden dat er bij privatisering een privaat monopolie ontstaat.
Deze casus betreft de parlementaire beraadslagingen tijdens het wetgevingstraject «Wet Onafhankelijk Netbeheer» (2005–2006). Zoals hiervoor al is opgemerkt ging het bij deze wet niet specifiek om bedrijven te privatiseren of regels te stellen op het gebied van privatisering: het ging primair om het economisch ontvlechten van het regionale netbeheer en de «commerciële onderdelen» van de energiebedrijven. Desalniettemin was één van de doelen van deze wet om de energiesector zodanig te herstructureren dat privatisering van energiebedrijven mogelijk zou worden, zonder dat sprake zou zijn van de privatisering van «geïntegreerde bedrijven». Daarnaast is tijdens dit wetgevingstraject veel gediscussieerd over de mate waarin privatisering van de energiesector wenselijk zou zijn en op welke manier dit zou moeten gebeuren. Bovendien zijn er in deze periode wel degelijk regels afgesproken welke energiebedrijven of -netwerken wel en niet geprivatiseerd zouden mogen worden en in welke mate dit mocht gebeuren. Het is derhalve gerechtvaardigd om dit wetgevingstraject te bestuderen om een goed beeld te krijgen van het functioneren van het parlement bij besluitvorming op het gebied van privatisering van energiebedrijven.
Om het wetgevingstraject wat meer in context te kunnen plaatsen, is ook een deel van het voortraject van de Wet Onafhankelijk Netbeheer bestudeerd, toegespitst op de discussie over privatisering en ontvlechting in de energiesector (met een focus op de elektriciteitspoot), voordat de Wet Onafhankelijk Netbeheer verscheen. Ook is gekeken naar het traject na aanname van de wet, om een beeld te krijgen hoe het parlement deze thema’s vervolgens heeft geadresseerd. Deze voorgeschiedenis en de periode na het wetgevingstraject worden kort uiteengezet in paragraaf 5.2, en waar relevant zal er ook in de rest van dit hoofdstuk naar worden verwezen.
De discussie over het privatiseren van energiebedrijven en de mate van ontvlechting van netbeheer en commerciële activiteiten dient in het licht te worden bezien van de liberalisering en internationalisering van de energiesector. De basis voor het plan van het liberaliseren van de energiesector werd gelegd in de Derde Energienota (januari 1996), waarmee ook werd geanticipeerd op Europese beleidsontwikkelingen. Deze nota hanteerde de filosofie «markt waar mogelijk, overheid waar nodig» en zette in op een marktstructuur met vrijheid van productie, handel en levering, en een voor nieuwe toetreders toegankelijk net.
Eind 1996 wordt de EU-richtlijn voor de elektriciteitsmarkt gepubliceerd, waarin dit streven naar een liberalisering en integratie van de energiemarkten wordt bevestigd. De richtlijn vereist het vrijgeven van de productiesector dan wel het combineren van een systeem van centrale planning van productie met een openbare aanbesteding van nieuwe centrales. Afnemers zouden stapsgewijs vrij gemaakt moeten worden, zodat in het jaar 2007 ongeveer 33% van de markt keuzevrijheid zou hebben.*
In september 1997 wordt het voorstel voor een nieuwe Elektriciteitswet bij de Tweede Kamer ingediend, waarmee deze richtlijn wordt geïmplementeerd en zelfs verder wordt gegaan dan Europese vereisten.1030 Het doel van de wet is om afnemers en aanbieders meer keuzevrijheid te geven en de netten toegankelijk te maken voor nieuwe toetreders. Op dit net zal onafhankelijk toezicht worden uitgeoefend door een nieuw op te richten toezichthouder (dit wordt de Dienst toezicht en uitvoering energie; DTe) om misbruik van het netmonopolie te voorkomen. De productiesector wordt geheel vrijgegeven. De afnemersmarkt zal in drie stappen worden vrijgemaakt (tot die tijd waren afnemers «gebonden klanten» en hadden dus geen keuzevrijheid): eerst de grootverbruikers, dan het middensegment, dan de kleinverbruikers. Hoewel de precieze data waarop dit zal gebeuren uiteindelijk een aantal keer zijn gewijzigd, is de markt voor grootverbruikers op 1 augustus 1998 vrijgemaakt, het middensegment volgde op 1 januari 2002 en de kleinverbruikers op 1 juli 2004. Daarmee hebben huishoudens vandaag de dag vrije keuze van energieleveranciers.
In de loop van de discussie zullen diverse besluiten figureren. Tabel 5.1 geeft hiervan een verkort overzicht.
|
Besluit |
Tijdsperiode |
|---|---|
|
Derde Energienota |
Januari 1996 |
|
EU-richtlijn liberalisering energiemarkt per 2007 |
Eind 1996 |
|
Motie-Jorritsma c.s. vraagt om beleidsvisie privatisering |
Februari 1997 |
|
Wetsvoorstel Elektriciteitswet naar Tweede Kamer |
September 1997 |
|
Oprichting TenneT BV (51% aandelen van overheid) |
1998 |
|
Markt voor grootverbruikers vrijgegeven |
Augustus 1998 |
|
Inwerkingtreding Elektriciteitswet |
Augustus 1998 |
|
Motie-Crone c.s. vraagt om criteria privatisering |
Maart 1999 |
|
Beleidsvisie privatisering |
Juni 1999 |
|
Motie-Crone vraagt om uitstel van privatiseringen |
December 1999 |
|
Aandelen TenneT BV voor 100% in overheidseigendom |
2001 |
|
Motie-Crone c.s. vraagt om beleidsregels |
April 2001 |
|
Beleidsregels voor het beoordelen van privatiseringen |
Juli 2001 |
|
Vrijgeven van de markt voor middensegmentverbruikers |
Januari 2002 |
|
Interpellatie-Crone vraagt om privatiseringsverbod |
Begin 2002 |
|
Instelling privatiseringsverbod tot 2004, later 2005 |
September 2002 |
|
I&I-wet van kracht |
Juli 2004 |
|
Vrijgeven van de markt voor kleinverbruikers |
Juli 2004 |
|
Wetsvoorstel WON naar de Tweede Kamer |
September 2005 |
|
Tweede Kamer neemt de WON aan |
April 2006 |
|
Eerste Kamer neemt de WON aan; motie-Doek/Sylvester |
November 2006 |
|
Minister wil de WON in werking laten treden |
Juni 2007 |
|
Inwerkingtreding van de WON |
Juli 2008 |
|
Splitsing van Nuon en Essent |
2009 |
|
Privatiseringsverbod op netten |
2010 |
|
Rechtszaken tussen energiebedrijven en overheid |
2009-heden |
Ontvlechting
In de memorie van toelichting van de Elektriciteitswet wordt gesteld dat voor het adequaat vormgeven van marktwerking, de onafhankelijkheid van de netbeheerders van cruciaal belang is.1031 Dit geldt zowel voor de distributienetten als de transportnetten.
Een belangrijk deel van de transportnetten (in bezit van de SEP, die weer in handen is van de vier grote producenten) zal eerst juridisch worden afgesplitst van de productiebedrijven. Met het mislukken van de fusie tussen de vier grote energiebedrijven wordt de SEP opgeheven en komen de transportnetten vanaf 220 kV onder beheer (en voor een groot deel in eigendom) van TenneT BV, waar de Staat eerst 51% in verwerft en in 2001 100% eigenaar van wordt. Op dat moment is sprake van economische ontvlechting van dit deel van de transportnetten. Dit hangt samen met het voornemen om de productiesector te liberaliseren; voortaan zal deze vrij toegankelijk moeten worden voor nieuwe toetreders. Om vrije toegankelijkheid van het net te garanderen, dient het beheer van de transportnetten in grote mate onafhankelijk te zijn van de producenten van energie.1032
Ook worden maatregelen getroffen om onafhankelijkheid van het regionale netbeheer te waarborgen. De voorzieningen die worden voorgesteld om dit te verzekeren vallen uiteen in twee categorieën: organisatie en werkwijze van de netbeheerder.
Wat betreft organisatie wordt een juridische ontvlechting voorgesteld van de netbeheerder en het energiebedrijf dat eigenaar is van het net. Hiermee gaat de wet verder dan de EU-richtlijnen voorschrijven, daar die alleen boekhoudkundige ontvlechting vereisen. Dit impliceert de oprichting van een afzonderlijk vennootschap met een eigen raad van commissarissen, waarvan de meerderheid van de leden onafhankelijk moet zijn van de eigenaars van het net. Concreet betekent dit dat waar voorheen netbeheer en commerciële delen in één vennootschap georganiseerd zijn, dit nu gescheiden dient te worden. Dit kan bijvoorbeeld door de oprichting van een holding met daarin zowel de commerciële delen als de netbeheerder. In de memorie van toelichting van de Elektriciteitswet wordt het als volgt geformuleerd: «Er wordt dus geen onteigening of daarmee vergelijkbare ingreep in de eigendomsverhoudingen tussen de netbeheerder en zijn eigenaren verplicht gesteld. Wel beogen de voorzieningen een zodanig hoge muur op te trekken tussen de marktpartijen en het netbeheer dat de netbeheerder in zijn dagelijks opereren geheel onafhankelijk is. De toezichthouder heeft tot taak dit te toetsen.»1033
Wat betreft de werkwijze wordt gesteld dat netbeheerders exclusieve taken krijgen, dat zij zich ook niet mogen inlaten met commerciële activiteiten die niet strikt verbonden zijn met hun beheerstaak en dat het hen verboden is om productie- of distributiebedrijven op een bepaalde manier te bevoordelen.
Privatisering
In de Derde Energienota (januari 1996) wordt nog nauwelijks aandacht besteed aan het privatiseringsvraagstuk. Hierin wordt wel gesteld dat het kabinet zich niet principieel uitspreekt over de wenselijkheid van privatisering en dat dit primair de zaak is van de aandeelhouders (gemeenten en provincies). Desalniettemin wordt beargumenteerd dat volgtijdelijkheid («eerst liberaliseren, dan privatiseren») de voorkeur verdient.1034
Eind 1996 gaat minister Wijers (Paars I) in een brief uitgebreider in op het privatiseringsvraagstuk.1035 Hij stelt dat zolang het liberaliseringsproces nog onvoldoende gestalte heeft gekregen, het risico bestaat dat door privatisering een privaat monopolie ontstaat. Dit is ongewenst, zeker als ook de toezichthouder op de monopolieactiviteiten (i.e. netbeheer en levering aan klanten die nog geen keuzevrijheid hebben) zich nog onvoldoende heeft kunnen manifesteren.1036 De minister stelt dat hij de desbetreffende aandeelhouders (de decentrale overheden) zal vragen hem te volgen in de visie dat «liberalisering vooraf moet gaan aan eventuele privatisering, en dat privatisering van concurrerende activiteiten meer in de rede ligt dan van monopolietaken zoals het netwerk».1037 Hij geeft aan dat hij indien nodig van juridische middelen gebruik kan maken om deze volgtijdelijkheid te effectueren. Daarnaast stelt hij dat er in de nieuwe Elektriciteitswet voorzieningen zullen worden opgenomen waardoor voor eigendomsoverdracht van netwerken en van de levering aan gebonden klanten zijn instemming vereist is.1037
De Tweede Kamer lijkt met deze uitleg echter niet geheel tevreden te zijn, want in een notaoverleg (februari 1997) dienen de leden Jorritsma (D66), Crone (PvdA) en Remkes (VVD) een motie in met het verzoek aan het kabinet om op korte termijn «een meer integrale visie te ontwikkelen inzake privatisering in relatie tot het liberaliseringsproces en daarover aan de Kamer te rapporteren».1038 Deze motie wordt aangenomen. In het debat waar deze motie wordt voorgesteld, reageert de minister als volgt: «Ik beschouw deze motie als een ondersteuning van het beleid. In deze heldere motie wordt gevraagd om een integrale visie te ontwikkelen. Ik meen dat ik al geprobeerd heb om zo'n visie te geven, al wil ik niet beweren dat die integraal was. Ik wil die visie evenwel graag verder ontwikkelen. In deze motie lees ik ook de steun van de Kamer om in de tussentijd vast te houden aan mijn lijn van eerst liberalisering en pas dan privatisering.»1039
In de memorie van toelichting van de Elektriciteitswet wordt het privatiseringsvraagstuk wederom expliciet gekoppeld aan het liberaliseringsvraagstuk: «Een te plotselinge privatisering [zou] kunnen leiden tot een chaotische concurrentie op de zich liberaliserende markt, waarvan sommige bedrijven de dupe worden, wat uiteindelijk ten koste kan gaan van de kleinverbruikers. Ten slotte moet voorkomen worden dat in deze overgangsperiode de publieke monopolies die nutsbedrijven hadden, worden omgewisseld in private monopolies.»1040
De minister stelt dat dit vereist dat het ministerie goed op de hoogte dient te worden gehouden van de vervreemding van aandelen in netwerkbedrijven en de bevoegdheid moet hebben om, indien nodig, in te grijpen om ongewenste eigendomsverhoudingen tegen te gaan. In het wetsvoorstel wordt dit vastgelegd in artikel 66, waarmee de minister tot 31 december 2001 de mogelijkheid heeft om niet in te stemmen met eventuele vervreemding van aandelen in netbeheerders of vergunninghouders naar buiten de kring van huidige aandeelhouders (i.e. het afstoten aan private partijen).1041 Op verzoek van de Tweede Kamer wordt dit instemmingsvereiste verlengd tot 31 december 2002 en uitgebreid naar productiebedrijven, waarmee dus de privatisering van elk type energiebedrijf aan ministeriële goedkeuring onderhevig is.1042
Het valt hierbij op dat er wordt voorgesteld dat eventuele vervreemding van aandelen zal worden getoetst door het ministerie, maar dat onduidelijk blijft op basis van welke criteria deze toetsing zal plaatsvinden. De integrale beleidsvisie op privatisering (zoals verzocht door Jorritsma c.s. in februari 1997) laat nog steeds op zich wachten. Het is duidelijk dat de minister liever geen privatisering van monopoliefuncties (netbeheerders en bedrijven die leverden aan gebonden klanten) wil tot er sprake was van vergevorderde liberalisering. De minister stelt evenwel dat gelet op de korte periode waarin het privatiseringsmoratorium zou gelden «...de vraag is of dat nou van zodanige strategische betekenis is en of dat zo lastig is dat wij daar allerlei complexe dingen voor moeten creëren.»1043
En zo bestaat er bij het in werking treden van de Elektriciteitswet (1 augustus 1998) weinig duidelijkheid over de criteria aan de hand waarvan de minister een privatisering zal toetsen. De minister geeft in een debat met de Eerste Kamer wel aan dat minderheidsprivatisering geen groot probleem vormt. Een bescheiden privatisering van netbeheerders of vergunninghouders van bijvoorbeeld een derde zal tot 2000 geen probleem moeten vormen. Daarna zal, tot 2002, zeker niet verder mogen worden gegaan dan 49%.1044
Vanaf het jaar 1999 wordt privatisering in toenemende mate onderwerp van politiek debat. Reden hiervoor is dat in vrij korte tijd drie van de vier grote productiebedrijven worden verkocht aan buitenlandse energiebedrijven (EZH werd in augustus van 1999 overgenomen door het Duitse E.on; UNA in september door het Amerikaanse Reliant; en EPON in november door het Belgische Electrabel).1045 Daarnaast zijn er steeds meer aandeelhouders van distributiebedrijven die hun bezittingen willen verkopen.1046 Ook de directies van diverse energiebedrijven geven aan dat privatisering een goed middel zou zijn om de bedrijven te versterken en de sector te internationaliseren. In 1999 wordt plotseling bekend dat het gasbedrijf Haarlemmermeergas is verkocht aan het Duitse Westfälische Gasversorgung (WGV). Hoewel de Gaswet vergelijkbare bepalingen bevat als de Elektriciteitswet op het gebied van privatisering, is deze nog niet in werking getreden en kan privatisering juridisch niet meer worden tegengehouden.
De nieuwe minister van Economische Zaken, Jorritsma (Paars II), lijkt echter positiever te staan ten opzichte van privatisering terwijl het liberaliseringsproces nog niet is voltooid dan haar voorganger. Het parlement staat hier kritisch tegenover en lijkt nogal verrast door deze positieve houding.1047 Het gevolg is een reeks vrij stevige confrontaties tussen de minister en het parlement over de criteria die gehanteerd worden bij het toestaan van privatisering van energiebedrijven.
In maart 1999 presenteren Crone (PvdA), Voûte-Droste (VVD) en Van Walsem (D66) een motie met het verzoek aan het kabinet om ruim voor de zomer van 1999 een notitie op te stellen met daarin de toetsingscriteria voor een eventuele (gedeeltelijke) privatisering van de netbedrijven en vergunninghouders.1048 In juni 1999 presenteert minister Jorritsma deze notitie waarin de criteria om privatiseringen te beoordelen worden uiteengezet. De minister stelt dat de deelname van private partijen in energiebedrijven past binnen het liberaliseringsproces. De dynamiek op de markten die zich manifesteert, alsmede het feit dat andere Europese landen hun markten sneller openen dan de Europese richtlijn voorschrijft, opent nieuwe mogelijkheden voor privatisering, aldus de minister. Volgens de minister biedt nieuw aandeelhouderschap de Nederlandse bedrijven de mogelijkheid om hun financiële positie te versterken. Daarnaast kan de komst van nieuwe aandeelhouders bijdragen aan efficiëntie in de bedrijfsvoering en aan het verwerven van commerciële kennis en ervaring.1049 Kortom, privatisering is in principe een wenselijke ontwikkeling, aldus de minister. Over mogelijke nadelen of risico's van privatisering wordt niet gesproken.
De criteria die de minister hanteert bij een eventuele vervreemding van aandelen zijn de volgende: wat betreft regionale netbedrijven zal tot 2000 in beginsel alleen toestemming voor een vervreemding van 33% worden gegeven, en tot 2002 ten hoogste 49%. Indien nodig biedt de wet de mogelijkheid om de eis van ministeriële goedkeuring te verlengen tot eind 2006. In het geval dat de netbeheerder georganiseerd is als structuurvennootschap, zal zelfs een meerderheidsprivatisering mogelijk zijn. De Kamer moet wel op de hoogte worden gesteld van een dergelijk besluit. Bij privatisering van elektriciteitsbedrijven die vergunninghouder zijn om gebonden klanten te bedienen zal alleen toestemming worden verleend indien het netwerk onafhankelijk is gepositioneerd en als de toezichthouder (DTe) in staat is om adequaat toezicht te houden. Verder zijn dezelfde regels van toepassing wat betreft de percentages waarin aandelen vervreemd mogen worden als bij netbedrijven (maximaal 33% tot 2000; 49% tot 2002).1050 Deze criteria komen grotendeels overeen met wat haar voorganger minister Wijers in een debat met de Eerste Kamer had aangegeven.1051 Privatisering van de productiebedrijven is in principe toegestaan, mits de last van de bakstenen gedragen kan worden door het overnemende bedrijf (zie eerdere voetnoot).
De Tweede Kamer lijkt wat verrast en geschrokken door de positieve manier waarop de minister spreekt over privatisering. De coalitiepartijen lijken zich te kunnen vinden in het beleid ten aanzien van de productiebedrijven. De focus wordt echter gelegd op de monopolieonderdelen van de energiesector: netbeheerders en vergunninghouders. Op dat gebied is men minder enthousiast over het privatiseringsbeleid van de minister. Crone (PvdA) pleit voor een terughoudende opstelling bij het toestaan van (gedeeltelijke) privatisering van deze bedrijven en om de evaluatie van de uitwerking van de juridische scheiding tussen netbeheerders en -eigenaars af te wachten (i.e. twee jaar) alvorens privatisering toe te staan. Voûte-Droste (VVD) pleit voor een versterking van de positie van de toezichthouder (DTe) voordat privatisering van monopolieonderdelen kan worden goedgekeurd. CDA-woordvoerder Van den Akker deelt deze mening. Ook Van Walsem (D66) sluit zich aan bij het pleidooi om te wachten met het toestaan van privatisering van deze bedrijven. Kortom, men wil eerst goed toezicht op, en afdoende onafhankelijkheid van de netbeheerders, alvorens privatisering in de rede ligt.1052
De minister, in haar reactie, lijkt echter deze terughoudendheid niet te onderschrijven.1052 Dit, en het feit dat Haarlemmermeergas eind 1999 aangaf te worden overgenomen het Duitse WGV, is reden voor Crone (PvdA) om een motie in te dienen in december 1999 (die wordt aangenomen) om de regering te verzoeken om alle gemeenten en provincies af te raden om tot privatisering over te gaan zolang nadere wet- en regelgeving nog niet is afgerond.1053 Daarnaast wordt in 2001 met de inwerkingtreding van de Overgangswet elektriciteitsproductiesector (OEPS-wet) de bepaling geschrapt dat slechts tot een bepaalde datum instemming van de minister vereist is bij aandelenvervreemding van een netbeheerder.1054 Door een aangenomen amendement van Crone en Witteveen zal bij vervreemding van aandelen in de netbeheerder altijd de instemming van de minister vereist zijn.1055
De Kamer en de minister lijken het niet eens te worden over de criteria die worden gehanteerd bij het beoordelen van de privatisering van geïntegreerde energiebedrijven. Ondertussen zijn er binnen- en buitenlandse ontwikkelingen die het privatiseringsvraagstuk hoog op de politieke agenda plaatsen. Steeds meer regionale geïntegreerde energiebedrijven geven aan dat zij een beursgang willen maken of willen worden overgenomen door buitenlandse bedrijven; Remu en NRE sluiten in 2000 een akkoord met het Spaanse Endesa, ook Intergas en Obragas zijn op zoek naar een koper en Essent wil een beursgang maken. Daarnaast zijn energiebedrijven zelf bezig met het investeren in bepaalde binnen- en buitenlandse projecten waarover het parlement bezorgd is of het niet mogelijkerwijs te risicovolle investeringen zijn en of deze risico's op het netbeheer worden afgewenteld. Bovendien zijn er ontwikkelingen in het buitenland die aanleiding zijn voor het parlement om privatisering van energiebedrijven kritisch te beschouwen. Met name de grote stroomstoringen in Californië in 2000 en 2001, die door sommigen worden toegeschreven aan het feit dat private energiebedrijven bewust tekorten hebben gecreëerd om zo de energieprijs op te drijven.1056
Het parlement maakt zich zorgen dat bij een (gedeeltelijke) privatisering van een geïntegreerd bedrijf het netbeheer (een monopolie) onder invloed kan komen te staan van private partijen en dat een privaat monopolie wordt gecreëerd. Deze zorgen worden vergroot doordat er toenemende mate twijfel bestaat over de onafhankelijkheid en zelfstandigheid van de netbeheerder door de manier waarop de energiebedrijven vormgeven aan juridische ontvlechting. In plaats van een onafhankelijke en zelfstandige netbeheerder is in veel gevallen sprake van een «magere netbeheerder»; een netbeheerder die niet beschikt over het economisch eigendom van het net en die een groot deel van de taken uitbesteedt aan andere takken van het geïntegreerde energiebedrijf.
In april 2001 wordt een gedetailleerde motie gepresenteerd door Crone (PvdA), Voûte-Droste (VVD) en Van Walsum (D66) met het verzoek tot nadere wetgeving op het gebied van het afscheiden van het netbeheer.1057 Hierin wordt gepleit voor een netbeheerder die de bedrijfsmiddelen (gebouwen, netten enz.) op de eigen balans heeft en voldoende personeel. Daarnaast zou het juridisch eigendom van de netwerken in een aparte vennootschap moeten worden ondergebracht en in overheidshanden blijven. Tevens wordt verzocht om conceptbeleidsregels op te stellen over de mate waarin energiebedrijven geprivatiseerd mogen worden en welke private partijen in aanmerking komen voor aankoop van de aandelen. Deze motie wordt ondersteund door de coalitiepartijen alsmede door de ChistenUnie en de SGP.
In juli 2001 presenteert de minister beleidsregels ten aanzien van voorwaarden voor instemming met privatisering van geïntegreerde energiebedrijven. Het gaat hierbij tot 2004 om ten hoogste 49% van de aandelen en het juridisch eigendom van het net moet blijven berusten bij de overheid. Daarnaast wordt een verdergaande onafhankelijkheid geëist van de netbeheerder met als doel een «vette netbeheerder» te creëren: die over het economisch eigendom van het net beschikt (zie kader 6.1), over voldoende financiële middelen en die informatie over het netbeheer niet mag delen met de commerciële delen. Deze beleidsregels worden in juli in de Staatscourant gepubliceerd. Het is de bedoeling dat deze regels met een wetgevingstraject dat in 2002 van start zal gaan, worden geïmplementeerd.1058
Begin 2002 wordt de wet gepresenteerd die de beleidsregels uit juli 2001 zal moeten implementeren.1059 Zo ver komt het echter niet. De Tweede Kamer heeft nogal wat opmerkingen over de wet en verzoekt de minister om wijzigingen door te voeren.1060 Vlak daarna wordt echter bekend dat de minister toestemming heeft gegeven voor de gedeeltelijke privatisering van een geïntegreerd energiebedrijf (Obragas) op basis van de beleidsregels uit 2001. De Kamer voelt zich gepasseerd en Kamerlid Crone interpelleert; in een motie verzoekt hij de regering geen verdere toestemming te geven aan de privatisering van geïntegreerde energiebedrijven en om op basis van een eventuele herziening van de regels de privatisering van Obragas in de toekomst wellicht terug te draaien.1061 De minister geeft aan dat er nader advies zal worden gevraagd aan de Raad van State wat betreft de uitvoerbaarheid van de motie en overleg met het Interprovinciaal Overleg (IPO) en de Vereniging Nederlandse Gemeenten (VNG) zal worden gevoerd. Ze stelt dat het juridisch lastig zou zijn om de toestemming van de privatisering van Obragas terug te draaien, waar de Raad van State haar gelijk in geeft. De beleidsregels, hoewel nog niet bij wet vastgelegd, blijken al wel rechtsgeldig.
Vanwege de privatisering van Obragas en het feit dat verschillende andere bedrijven een verzoek indienen bij de minister om te privatiseren, terwijl de Tweede Kamer nog niet akkoord is met de regels, verzoekt het overgrote deel van het parlement om het intrekken van de wet en de beleidsregels.1062 Hoewel minister Jorritsma weigert de motie uit te voeren, geeft de nieuwe minister Heinsbroek (Balkenende I) in september 2002 aan de privatisering van netwerkbedrijven te zullen verbieden tot 1 januari 2004.1063 Ook de beleidsregels en de wet worden ingetrokken. Zijn opvolger minister Brinkhorst (Balkenende II) bevestigt dit privatiseringsmoratorium van netwerkbedrijven in juni 2003 en verlengt het zelfs naar 1 januari 2005.1064 In 2004 wordt deze beperking in tijd helemaal geschrapt en wordt afgesproken dat de minister zijn instemming zal onthouden aan een (gedeeltelijke) privatisering van netbeheer. Omdat veel energiebedrijven geïntegreerde bedrijven zijn, is hiermee dus de facto sprake van een privatiseringsverbod. Bij ministeriële regeling en in overleg met het parlement zal een datum worden afgesproken tot wanneer dit privatiseringsverbod geldt.1065
Nu de wet is ingetrokken betekent dit ook dat de eisen van de wet op het gebied van een verdergaande juridische ontvlechting (i.e. het creëren van een «vette netbeheerder») komen te vervallen. Dit wordt weer opgepakt met de zogenaamde Interventie en Implementatie wet (I&I wet). Daarin wordt, naast het implementeren van de tweede Europese richtlijn voor elektriciteit en gas, ook vastgelegd dat de onafhankelijkheid van de netbeheerder ten opzichte van de commerciële delen van het bedrijf moet worden verbeterd. Deze wet (die op 1 juli 2004 van kracht werd) vereist onder andere de overdracht van economisch eigendom van het net aan de netbeheerder, om zo een einde te maken aan de situatie waarin de energiebedrijven invulling geven aan juridische ontvlechting door een «magere netbeheerder» te creëren.
Daarmee is de discussie over privatisering en onafhankelijk netbeheer echter nog niet opgelost. Minister Brinkhorst presenteert met het oog op deze problematiek in maart 2004 het plan om tot eigendomsontvlechting over te gaan van netwerkbeheerders en energiebedrijven.1066 Velen zien dit plan als de uitvoering van de motie-Crone c.s. uit 2001, waarin wordt gepleit voor het afschermen van de netten in geval van privatisering van het energiebedrijf. Tot die tijd is zoals gezegd sprake van juridische ontvlechting, wat inhoudt dat de netbeheerder in een aparte vennootschap is ondergebracht maar wel deel kan uitmaken van een holding waarin ook commerciële energieactiviteiten worden ondernomen. Het splitsingsplan beoogt dit onmogelijk te maken. De minister noemt het doorbreken van de privatiseringsimpasse een belangrijke reden om deze splitsing door te voeren. Door het netbeheer volledig af te scheiden van de commerciële delen, komt het netbeheer niet in gevaar bij een privatisering van de energiebedrijven (zie paragraaf 5.3 voor een uitgebreide beschrijving van de doelen en motieven van deze wet).
De Tweede Kamer reageert in meerderheid positief op het plan van de minister en stemt daarmee in om een wetsontwerp te maken. Verschillende fracties geven aan verheugd te zijn dat na een jarenlange discussie en zoekproces naar de adequate marktstructuur om marktwerking, ontvlechting en privatisering vorm te geven, met het splitsingsvoorstel een duidelijk kader wordt geboden. Wel verzoekt de Kamer de minister om in overleg te blijven met de energiebedrijven om te bezien of er ook alternatieven voor eigendomsontvlechting bestaan.
De vier grote geïntegreerde energiedistributiebedrijven (Nuon, Essent, Eneco en Delta) protesteren fel tegen het splitsingsplan. Zij vinden dit plan veel te ver gaan en vrezen voor de positie van hun bedrijven op de (Europese) markt als zij niet langer over het net kunnen beschikken. Ook vanuit de vakbonden komt veel protest, omdat gevreesd wordt dat splitsing en privatisering veel banen in de energiesector gaan kosten.
Het ministerie van Economische Zaken zit vanaf eind 2004 met de energiebedrijven en DTe om tafel om te kijken of er een alternatief bestaat voor eigendomsontvlechting. Hoewel er in maart 2005 een alternatief plan op tafel ligt (waarbij een verdergaande juridische ontvlechting wordt bewerkstelligd) wordt dit door de minister, na overleg met de woordvoerders van de PvdA, het CDA en de VVD, geblokkeerd omdat het nog steeds de mogelijkheid open laat van een privatisering van geïntegreerde bedrijven en een beïnvloeding van het netbeheer door de commerciële onderdelen van de bedrijven.1067
In maart 2005 gaat de ministerraad akkoord met het wetsvoorstel Wet Onafhankelijk Netbeheer waarmee eigendomsontvlechting zal worden geregeld. In september 2005 wordt het wetsvoorstel, nadat het aan de Raad van State is voorgelegd, naar de Tweede Kamer gestuurd. De wet bevat drie belangrijke onderdelen.
Ten eerste het groepsverbod (het «splitsingsonderdeel» van de wet), dat regelt dat netbeheerders niet tot dezelfde vennootschappelijke groep mochten behoren als die waarin ook productie-, leverings- en/of handelsbedrijven zitten.
Ten tweede de creatie van een «vette netbeheerder». Dit houdt in dat de netbeheerder werkzaamheden ter uitvoering van zijn wettelijke taken in eigen beheer dient te verrichten en dat er beperkingen zijn wat betreft de mate waarin werkzaamheden mogen worden uitbesteed. Tevens stelt de minister voor om de overdracht van het economisch eigendom van het net aan de netbeheerder (zoals vastgelegd in de I&I wet) gelijktijdig met dit wetsvoorstel te laten ingaan, om zo een dubbele herstructurering van energiebedrijven te voorkomen.
Ten derde wordt bepaald dat het beheer van de transportnetten van 110 kV en hoger moet worden overgedragen aan TenneT BV. Tot die tijd beheerde TenneT BV alleen de transportnetten van 220 kV en hoger.
Het parlement besteedt veel aandacht aan het privatiseringsvraagstuk. Sommige fracties zien de wet als een waarborg tegen een te vergaande privatisering van de energiesector, omdat met de splitsing kan worden verzekerd dat het netbeheer niet wordt geprivatiseerd en overgenomen door buitenlandse spelers. Daarnaast is het een waarborg tegen de situatie dat Nederlandse geïntegreerde energiebedrijven buitenlandse, risicovolle activiteiten aangaan die mogelijk ten koste gaan van de focus op goed netbeheer. Andere fracties vrezen dat de splitsing juist zal leiden tot een «uitverkoop» van de energiesector aan buitenlandse bedrijven die niet gesplitst hoeven te worden.
Er wordt wederom veel gediscussieerd over de criteria voor het beoordelen van de wenselijkheid van een privatisering. De minister wil deze criteria liever vastleggen nadat het wetgevingstraject was afgerond. De Tweede Kamer dringt echter aan op bepaalde garanties tijdens het wetgevingstraject. Zo wordt door een amendement van Hessels c.s. vastgelegd dat de netten zelf (de fysieke infrastructuur) niet mogen worden geprivatiseerd.1068 Wat betreft de vervreemding van aandelen in de netbeheerder moet er een ministeriële regeling komen kort na afronding van het wetgevingstraject.1068 Deze ministeriële regeling (2007) legt vast dat het netbeheer (voorlopig) niet mag worden geprivatiseerd.
De wet wordt in april 2006 in grote meerderheid – met 129 stemmen voor – aangenomen door de Tweede Kamer. Alleen de SP, ChristenUnie, de SGP en de LPF stemmen tegen.1069 De Eerste Kamer, met name de fracties van het CDA en de PvdA, toont zich echter minder enthousiast over de wet. Hoewel in november 2006 de wet in grote meerderheid wordt aangenomen door de Eerste Kamer (alleen de SP stemt tegen), wordt via de motie-Doek/Sylvester c.s. afgedwongen dat de inwerkingtreding van de regels met betrekking tot gedwongen splitsing (het groepsverbod) met onbepaalde tijd wordt uitgesteld.1070 Dit onderdeel van de wet kan pas in werking treden als de regering hier concreet aanleiding toe ziet (bijvoorbeeld doordat de integriteit van het net in het geding komt) en pas nadat hierover is overlegd met beide Kamers. Minister Wijn (Balkenende-III) omarmt de motie. Dat betekent dat geïntegreerde bedrijven voorlopig niet gedwongen worden om te splitsen. Wel wordt de overdracht van economisch eigendom van het net naar de netbeheerder per 1 juli 2008 gerealiseerd en moeten uiterlijk 1 januari 2008 het netbeheer van de netten van 110 kV en hoger aan TenneT BV zijn overgedragen.
De nieuwe minister van Economische Zaken Van der Hoeven (Balkenende-IV) geeft in juni 2007 aan aanleiding te zien om het splitsingsonderdeel (het groepsverbod) van de wet per 1 augustus 2007 toch in werking te laten treden.1071 De minister noemt het plan van Delta om het Belgische afvalverwerkingsbedrijf Indaver over te nemen en de voorgenomen fusie- en internationaliseringsplannen van Nuon en Essent als aanleiding om het groepsverbod op korte termijn in werking te laten treden. De Tweede Kamer staat grotendeels positief tegenover het plan van de minister, maar de Eerste Kamer is niet volledig overtuigd. Op aandringen van de Eerste Kamer wordt uiteindelijk besloten om de inwerkingtreding van dit onderdeel van de wet te vertragen ten opzichte van het oorspronkelijke plan van de minister; dit zou nu op 1 juli 2008 plaatsvinden.1072 Conform de regelingen in de wet – feitelijke splitsing van bedrijven dient tweeënhalf jaar na inwerkingtreding van de wet te zijn voltooid – zou de splitsing van energiebedrijven op 1 januari 2011 gerealiseerd moeten zijn.
Nuon en Essent gaan vervolgens over tot splitsing en worden (na een mislukte fusiepoging) in 2009 overgenomen door respectievelijk Vattenfal en RWE. De voormalige netbeheerders van deze bedrijven gaan verder als respectievelijk Liander NV (onderdeel van netwerkbedrijf Alliander NV) en Enexis BV (onderdeel van Enexis Holding NV). Eneco en Delta (de andere grote bedrijven) splitsen niet en spannen eind 2007 samen met Essent een proces aan tegen de Staat met het argument dat de wet in strijd is met het Europese recht (omdat inbreuk wordt gemaakt op het vrije verkeer van kapitaal). Nadat de energiebedrijven door de Haagse rechtbank in 2009 in het ongelijk zijn gesteld, krijgen zij in 2010 in hoger beroep gelijk van het Gerechtshof in Den Haag. Hierop is de Staat in cassatie gegaan bij de Hoge Raad. De Hoge Raad stelde een oordeel echter uit, waardoor de wet anno 2012 nog steeds niet volledig in werking is getreden. Eneco en Delta zijn derhalve nog steeds geïntegreerde bedrijven in handen van lagere overheden.
Omdat in de eerste rechtszaak ook een oordeel is geveld over de reikwijdte en betekenis van het privatiseringsverbod (namelijk dat dit privatisering nog steeds mogelijk maakt door een Algemene Maatregel van Bestuur), worden in 2010 regels in de wet opgenomen die het privatiseren van de netten en van de netbeheerders verbieden. Zo wordt na een jarenlange discussie uiteindelijk toch nog een privatiseringsverbod van netten en netbeheer wettelijk vastgelegd. Eneco en Delta mogen dan ook niet geprivatiseerd worden zolang het netbeheer niet afgesplitst is.
Met de liberalisering van de energiemarkten worden de vraagstukken op het gebied van privatisering en ontvlechting acuut. Bij de start van deze marktwerkingsoperatie lijkt de dynamiek en complexiteit die liberalisering met zich mee zou brengen enigszins onderschat.1073 Zowel het parlement als het ministerie lijken verrast door het enthousiasme van energiebedrijven voor privatisering en internationalisering en de manier waarop die bedrijven juridische ontvlechting vorm geven. Jarenlang worden stevige discussies gevoerd over de mate waarin netbeheerders moeten worden ontvlochten van commerciële energieactiviteiten en in welke mate privatisering zou mogen worden toegestaan. Privatisering, ontvlechting en liberalisering zijn dus in zeer grote mate samenhangende kwesties, en er is sprake van een jarenlang politiek leer- en zoekproces hoe deze vervlechting van vraagstukken goed kon worden vormgegeven. Deze samenhang blijkt ook uit de motivering voor de Wet Onafhankelijk Netbeheer; door een verregaande ontvlechting zal marktwerking worden gestimuleerd, onafhankelijk netbeheer gegarandeerd en de privatiseringsimpasse worden doorbroken.
Bij het debat over motieven en doelen van de Wet Onafhankelijk Netbeheer in het parlement valt op dat de minister zeer veel doelen formuleert die met het wetsvoorstel bereikt zouden worden. Deze doelen kunnen worden gegroepeerd in drie kerndoelen, die in zekere mate met elkaar samenhangen: (1) het garanderen van eerlijke en betere marktwerking; (2) het beschermen van het netbeheer tegen onwenselijke commerciële invloeden; en (3) het doorbreken van de privatiseringsimpasse.
Wat betreft het eerste doel werd door de minister gesteld dat geïntegreerde bedrijven concurrentievoordelen hebben ten opzichte van bedrijven zonder net en dat splitsing dus marktwerking stimuleert. Ten tweede wordt gesteld dat in geïntegreerde bedrijven het netbeheer kan lijden onder de commerciële activiteiten, iets dat door middel van splitsing kan worden voorkomen.1074 Ten derde wordt door splitsing voorkomen dat geïntegreerde bedrijven worden geprivatiseerd (en daarmee private monopolies ontstaan op het gebied van het netbeheer), en biedt dit wetsvoorstel dus een uitweg uit de privatiseringsimpasse.
Het valt op dat de minister vóór en in het begin van het wetgevingstraject het splitsingsvoorstel primair onderbouwt door te wijzen op het belang van marktwerking en het doorbreken van de privatiseringsimpasse. Verschillende Tweede Kamerfracties (met name D66 en de VVD) steunen hem in die argumentatie. De fracties van GroenLinks en de PvdA zijn ook voorstander van het wetsvoorstel, maar leggen de nadruk vooral op het beschermen van het netbeheer tegen onwenselijke commerciële invloeden, wat volgens die fracties met dit wetsvoorstel adequaat wordt geborgd. Vanuit het CDA, de SP, de ChristenUnie, de SGP en de LPF komt kritiek op de onderbouwing van de minister dat het wetsvoorstel marktwerking zou stimuleren en dat de privatiseringsimpasse doorbroken diende te worden. Desalniettemin raakt uiteindelijk ook het CDA overtuigd dat de wet zal bijdragen aan het behalen van de genoemde doelen, en wordt de wet aangenomen door een grote meerderheid van 129 Kamerleden. Daar ging een uitgebreide discussie van de verschillende dimensies en risico's van de wet aan vooraf.
De Eerste Kamer raakt uiteindelijk echter niet (geheel) overtuigd door deze motivering van de minister. Verschillende fracties in de Eerste Kamer (met name het CDA en de PvdA) blijven tot in het plenaire slotdebat benadrukken dat de minister niet goed had onderbouwd waarom deze wet op dat moment nodig was voor de doelstellingen van marktwerking en het doorbreken van de privatiseringsimpasse. De minister reageert hierop door meer nadruk te gaan leggen op de doelstelling van het beschermen van het netbeheer tegen commerciële invloeden, maar slaagt er niet in de Eerste Kamer te overtuigen. Hoewel de Eerste Kamer in overgrote meerderheid (71 Kamerleden) voor de wet stemt, wordt de inwerkingtreding van het splitsingsonderdeel als gevolg van de motie-Doek/Sylvester voor onbepaalde tijd uitgesteld.
In de brief van minister Brinkhorst waarin het splitsingsplan wordt gepresenteerd (maart 2004) wordt de volgende aanleiding genoemd: er is twijfel of de onafhankelijkheid van netbeheerders ten opzichte van de commerciële onderdelen van energiebedrijven wel afdoende is geborgd. Dit impliceert volgens de minister een aantal problemen; ten eerste kan een geïntegreerd energiebedrijf oneigenlijke concurrentievoordelen hebben ten opzichte van bedrijven zonder netten. Ten tweede wordt goed toezicht om oneigenlijke concurrentie tegen te gaan bemoeilijkt door de geïntegreerde bedrijfsstructuur. Als belangrijkste doel van de splitsing wordt beter toezicht door DTe op de bedrijven genoemd. In een geïntegreerd bedrijf kan een toezichthouder namelijk moeilijker achterhalen of er sprake is van onwenselijke financiële transacties of informatie-uitwisseling tussen de verschillende onderdelen van het bedrijf, volgens de minister. Bij gesplitste bedrijven bestaat deze problematiek niet of nauwelijks. Kortom, de minister noemt dit wetsvoorstel een sleutel tot het stimuleren van marktwerking.
De Tweede Kamer reageert in een overleg in mei 2004 positief op het plan van de minister.1075 Veel fracties geven aan verheugd te zijn dat na jarenlange discussie over liberalisering, ontvlechting en privatisering er een heldere maatregel wordt bepleit die op alle drie de fronten positief kan uitpakken. Volgens Crone (PvdA) is het een belangrijk debat dat «drie jaar te laat plaatsvindt», daarbij verwijzend naar zijn motie uit 2001.1076 Volgens Vendrik (GroenLinks) komt het voorstel «veertien jaar te laat (...). De keuze voor deze vorm van marktordening hoort immers de hoeksteen van de marktarchitectuur te zijn. Het had zelfs al lang geregeld moeten zijn».1077 Ook de VVD geeft aan blij te zijn dat er met deze maatregel «een duidelijke keuze wordt gemaakt».1078 De jarenlange discussie over de vormgeving van liberalisering, privatisering en ontvlechting lijkt deze fracties te hebben overtuigd dat een andere marktordening wenselijk is en dat splitsing een stap in de goede richting is.
De VVD, de PvdA en GroenLinks zijn, zoals gezegd, uitgesproken voorstanders, terwijl het CDA, de SP en D66 zich voorzichtig positief uiten. Voor de VVD en D66 is het tegengaan van oneerlijke concurrentie de belangrijkste reden voor dit voorstel. GroenLinks en de PvdA leggen meer de nadruk op het beschermen van het netbeheer tegen commerciële activiteiten.1079 Zo uit Crone (PvdA) kritiek op het gedrag van de geïntegreerde bedrijven en stelt dat de kwaliteit van het netbeheer hieronder te lijden had: «[Het] risico [is] groot (...) dat de commerciële eigenaar de opbrengsten uit het net wil gebruiken voor commerciële activiteiten. Dat gaat uiteindelijk ten koste van de kwaliteit en betrouwbaarheid van de netten. (...) Nog maar drie jaar geleden was het algemene beeld: wij [de energiebedrijven] kiezen voor «multi-utility», dat wil zeggen niet alleen energie, maar alles. (...) Zij zijn daarvan teruggekomen en zij hebben het nu over energie als kernactiviteit. (...) Die dwaalwegen konden wel bewandeld worden omdat de ruif waaruit kon worden gegeten, onbeperkt was. Ik bedoel daarmee de opbrengst van het netbedrijf.»1080
Daarnaast wordt door de Kamer gesteld dat dit voorstel belangrijke consequenties zal hebben voor het privatiseringsbeleid (omdat commerciële en monopolie-activiteiten zouden worden gesplitst), al willen niet alle fracties (het CDA en de VVD) vooruitlopen op de vraag wat dit beleid dan precies zou moeten behelzen. De PvdA en GroenLinks willen voorkomen dat netbeheerders volledig in private handen vallen, terwijl de SP liever helemaal geen privatisering ziet.
In zijn reactie noemt minister Brinkhorst zeven argumenten voor de splitsing:
(1) consumenten hebben baat bij gezonde concurrentie;
(2) het netwerk moet voor alle marktpartijen onder gelijke voorwaarden toegankelijk zijn;
(3) onafhankelijk netbeheer is de beste waarborg tegen machtsmisbruik;
(4) geïntegreerde bedrijven hebben niet per se belang bij vrije markttoegang en een hoge netwerkkwaliteit;
(5) bezit van het netwerk levert financieringsvoordelen op voor geïntegreerde bedrijven (door kruissubsidies);
(6) de toezichthouder heeft moeite om oneigenlijke concurrentievoordelen te achterhalen; en
(7) investeringen in de kwaliteit van het netwerk moeten onafhankelijke zijn van de commerciële belangen van de rest van het bedrijf.1081 Als deze argumenten vertaald worden naar de drie kernmotieven zoals in de inleiding genoemd, wordt het stimuleren van eerlijke marktwerking wederom door de minister als hoofdmotief aangedragen.
In oktober 2004 presenteert de minister het plan van aanpak voor een wetswijziging van de elektriciteits- en gaswet.1082 De minister stelt dat het belang van de afnemer voorop staat in zijn energiebeleid, en dat de afnemer er belang bij heeft dat energie tegen concurrerende prijzen beschikbaar is en er sprake is van betrouwbare energievoorziening. Het overkoepelende doel is dus om marktwerking te verbeteren. In de brief worden drie motieven genoemd voor de wetswijziging: splitsing is nodig (1) om tot eerlijke concurrentie te komen; (2) voor het verbeteren van de mogelijkheden voor goed en scherp toezicht; en (3) om het privatiseren van commerciële energieactiviteiten en herkapitalisatie van de netbeheerder mogelijk te maken.
De Tweede Kamer reageert wederom overwegend positief op het voorstel. De VVD en de PvdA tonen zich opnieuw uitgesproken voorstanders van het plan, hoewel de VVD en ook het CDA en de ChristenUnie pleiten voor het openhouden van andere opties dan volledige splitsing om de beoogde doelen te bereiken. Hoewel niet wordt ingegaan op de vraag welke opties dit dan zijn, wordt de minister verzocht om in gesprek met aandeelhouders en de bedrijven te gaan om te bezien welke andere wegen te bewandelen zijn. GroenLinks en de PvdA leggen wederom de nadruk op het garanderen van onafhankelijk netbeheer, hierbij gesteund door de SP. Deze partij stelde altijd tegen privatisering en liberalisering te zijn geweest, maar mocht dat realiteit worden, dan zou splitsing gesteund worden om het netbeheer te beschermen.1083 De VVD legt de nadruk op het stimuleren van eerlijke marktwerking, hetgeen met dit wetsvoorstel zou worden bereikt.
Overigens gaan alle partijen (behalve de ChristenUnie) in hun reactie voornamelijk in op de consequenties voor het privatiseringsbeleid. Het CDA en de SP pleiten voor volledig overheidsbezit van de netbeheerder, ook GroenLinks waarschuwt voor privaat aandeelhouderschap, terwijl de PvdA en de VVD zich niet helemaal eenduidig uitspreken wat zij precies voor ogen hebben op het gebied van privatisering van netbeheerders. Zij spreken over het in stand houden van overheidscontrole op de netten, zonder duidelijk te maken of dit ook (volledig) aandeelhouderschap impliceert. Zo zegt De Krom (VVD): «Levering en productie mogen geheel worden geprivatiseerd. De overheid moet voorlopig invloed op de netten houden.»1084 Crone (PvdA) vindt het «belangrijk dat de onafhankelijkheid van de netten en de overheidscontrole op de netten in stand worden gehouden.»1084
Door de ChristenUnie en GroenLinks wordt daarnaast aandacht gevraagd voor de Europese dimensie van de regelgeving. Zij waarschuwen voor oneerlijke concurrentie tussen binnenlandse en buitenlandse energiebedrijven, omdat de economische splitsing verder gaat dan EU-regels voorschrijven.1085
De minister verdedigt het splitsingsvoorstel verwijzend naar het doel om marktwerking te stimuleren. Daarnaast stelt hij dat het voorstel duidelijkheid zou verschaffen aan de aandeelhouders, en dat (na splitsing) de privatisering van het commerciële deel voor de hand ligt. Over privatisering van het netbeheer spreekt hij zich niet uit. De Kamer vraagt hier niet verder op door.1086
In de memorie van toelichting van de Wet Onafhankelijk Netbeheer stelt de minister dat «dit wetsvoorstel [zorgt] voor een volstrekt onafhankelijk netbeheer waardoor de marktwerking verbetert en de consument op daadwerkelijke kosten gebaseerde nettarieven en eerlijke marktprijzen betaalt».1087 Naast het belang van het stimuleren van marktwerking en het doorbreken van de privatiseringsimpasse, wordt door de minister een motief genoemd dat niet veel aandacht heeft gekregen in de eerdere brieven: de internationalisering van de energiemarkt. Door deze internationalisering zullen Nederlandse energiebedrijven op den duur deel gaan uitmaken van internationale ondernemingen, waardoor onafhankelijk netbeheer des te belangrijker zou zijn: «dit raakt immers het meest direct de publieke belangen die met de energievoorziening in Nederland gemoeid zijn».1087 De minister presenteert de toekomstige inlijving van Nederlandse energiebedrijven dus als een gegeven, waarvoor goede randvoorwaarden gecreëerd dienen te worden. Met dit laatste punt wordt dus eigenlijk gesteld dat het netbeheer beschermd dient te worden tegen buitenlandse commerciële invloeden.
De minister motiveert het wetsvoorstel wederom grotendeels door te verwijzen naar problemen die geïntegreerde bedrijven vormen voor het garanderen van eerlijke marktwerking. Het valt op dat de minister niet veel voorbeelden geeft. Hij stelt dat er prikkels aanwezig zijn binnen geïntegreerde bedrijven die de onafhankelijkheid van het netbeheer kunnen aantasten en marktwerking kunnen belemmeren en dat het voor DTe zeer moeilijk is om dergelijke afhankelijkheid aan te tonen, maar noemt nauwelijks concrete voorbeelden van daadwerkelijk geconstateerde problemen op dit gebied.1088
Op het gebied van privatisering stelt de minister dat liberalisering zorgt voor een verhoogd risicoprofiel van de energiebedrijven (omdat ze moeten concurreren in een vrijgemaakte markt) en dat het daarom belangrijk is om publieke aandeelhouders de mogelijkheid te geven om de aandelen van de commerciële delen van het bedrijf af te stoten.1087 De minister stelt ook dat hij direct na aanvaarding van het wetsvoorstel door het parlement met een ministeriële regeling zal komen die vervreemding van een minderheid van de aandelen in netbeheerders mogelijk maakt, mits dit niet vervreemding aan leveranciers, handelaren of producenten betreft, om de onafhankelijkheid van het netbeheer te waarborgen.1089
De Kamer is nog steeds grotendeels positief over de overkoepelende doelen (het stimuleren van marktwerking, het zorgen voor onafhankelijk netbeheer en het doorbreken van de privatiseringsimpasse), maar sommige fracties vragen naar de noodzaak en proportionaliteit van het wetsvoorstel.1090 Het CDA, de LPF en de ChristenUnie plaatsen namelijk vraagtekens bij de redenering van de minister dat onafhankelijkheid van de netbeheerder niet goed geborgd zou zijn met huidige wetgeving en dat daarmee goede marktwerking niet gegarandeerd is: zijn die niet onafhankelijke gedragingen nu realiteit of alleen vermoedens? Aangezien de minister stelt dat DTe, door de geïntegreerde structuur van energiebedrijven, moeite heeft met het constateren van onwenselijke praktijken, vragen deze fracties in hoeverre dan vast te stellen is dat die praktijken daadwerkelijk plaatsvinden. Is de eerdere wetswijziging (de I&I wet (2004); die overigens nog niet volledig in werking was getreden) waarmee meer onafhankelijkheid van de netbeheerder wordt beoogd niet adequaat genoeg? Daarnaast uiten deze fracties de zorg dat, aangezien in de EU geen vergelijkbare regelgeving wordt ingevoerd, Nederlandse energiebedrijven een verzwakte internationale concurrentiepositie krijgen. De PvdA, de VVD en D66 tonen zich positief over de hoofdlijnen van het wetsvoorstel. De SP en GroenLinks zijn niet vertegenwoordigd in dit debat op 10 november 2005.
De vier grote geïntegreerde energiebedrijven (Nuon, Essent, Eneco, Delta) zijn nog immer zeer kritisch over de wet. In een ingezonden brief aan NRC Handelsblad stellen de CEO's van deze bedrijven dat het splitsen van energiebedrijven juist afdoet aan regeringsdoelstellingen, bijvoorbeeld op het gebied van duurzaamheid en het centraal stellen van de klant, omdat splitsing «dramatische gevolgen voor onze ondernemingen [kan] hebben».1091 Ook het Landelijk Medezeggenschapsplatform Energiedistributiebedrijven (LME) is zeer kritisch. LME-voorzitter De Jong noemt de argumenten die Brinkhorst noemde voor de splitsing een «keten van leugens». LME stelt dat consumenten in de huidige situatie helemaal niet benadeeld worden, dat de privatiseringsimpasse niet doorbroken hoeft te worden en dat er juist minder in plaats van meer concurrentie komt door de splitsing.1092
Motieven minister voor doorbreken privatiseringsimpasse
Het valt op dat het thema «privatisering» gaandeweg het wetgevingstraject een steeds grotere rol gaat spelen. De minister beoogde om met dit wetsvoorstel de privatiseringsimpasse te doorbreken. Veel energiebedrijven waren namelijk geïntegreerde bedrijven (met zowel commerciële als netwerk onderdelen) en er gold een privatiseringsmoratorium op netbeheerders. De facto was er dus een privatiseringsverbod, hoewel over een eventuele einddatum van dit verbod onduidelijkheid bestond. De minister gaf aan dat door liberalisering van de markt de energiebedrijven een groter risicoprofiel zouden krijgen en dat daarom de huidige aandeelhouders (gemeenten en provincies) de mogelijkheid zouden moeten krijgen om hun commerciële activiteiten af te stoten en de netbeheerders deels af te stoten. Hoewel dit dus ook bereikt zou kunnen worden door vrijwillige splitsing, is dit volgens de minister in de praktijk onhaalbaar: de aandeelhouders kunnen alleen bij unanieme steun splitsing doorvoeren (wat moeilijk was vanwege versplinterd aandeelhouderschap) en het management van veel energiebedrijven is fel tegenstander van splitsing.
Volgens de minister is privatisering niet alleen in het voordeel van de aandeelhouders maar ook goed voor de bedrijven zelf. Private aandeelhouders hebben volgens hem over het algemeen grotere expertise op het gebied van infrastructuurbeheer en efficiënte bedrijfsvoering.1093 Een gedeeltelijke privatisering van netbeheerders zal dus kunnen bijdragen aan een verbetering van de efficiency van het netbeheer en de kwaliteit van de netten. Ook wordt verwacht dat private aandeelhouders een positief effect hebben op het handelen van publieke aandeelhouders: «De komst van private aandeelhouders zal er ook toe leiden dat bestaande publieke aandeelhouders meer dan nu het geval is hun rol als aandeelhouder dienen te expliciteren en mogelijk gedwongen worden hun verantwoordelijkheid als publieke aandeelhouder verder in te vullen dan nu het geval is.»1094
Daarnaast is er nog een andere belangrijke reden voor de minister om de privatiseringsimpasse te doorbreken: de problematiek van de Cross Border Lease (CBL) contracten, die meer in het algemeen een grote rol speelt tijdens de discussie over de Wet Onafhankelijk Netbeheer (zie kader 6.2).
Kader 5.2: Cross Border Lease problematiek
De CBL contracten zijn tussen 1999 en 2002 afgesloten tussen Amerikaanse investeerders en Nederlandse energiebedrijven. In feite worden met deze contracten energienetten en productiecentrales aan Amerikaanse investeerders verkocht (met een terugkoopoptie na een bepaalde tijd) en vervolgens geleased door Nederlandse energiebedrijven voor een kortere looptijd (rond de 25 jaar). Dit levert Amerikaanse investeerders belastingvoordelen op, die weer deels worden teruggesluisd naar Nederlandse energiebedrijven. Door verandering in Amerikaanse wetgeving in 2004 wordt de aantrekkelijkheid van deze CBL-contracten voor Amerikaanse investeerders minimaal en de vrees bestaat dat deze investeerders van de contracten af zouden willen. Bij de splitsingsdiscussie wordt dit acuut: de overdracht van het economische eigendom van de netten naar netbeheerder (zoals geregeld met een onderdeel van de I&I wet; een onderdeel dat overigens gelijktijdig met de Wet onafhankelijk netbeer in werking zou treden) in combinatie met het afsplitsen van de netbeheerder zal bij leaseconstructies waarbij zowel productiecentrales als netwerken gemoeid zijn tot een mogelijke claim leiden van Amerikaanse investeerders. Het zou namelijk kunnen gaan om een «transfer of all or substantially all assets». Dit zou door Amerikaanse investeerders gezien kunnen worden als een contractbreuk, waardoor er grote claims (sommigen spraken van miljarden) zouden kunnen komen. Deze problematiek zou vooral bij Essent en NUON kunnen spelen, omdat deze bedrijven voor zowel productiecentrales als netten CBL-contracten hebben afgesloten.
Het privatiseringsverbod zou op termijn inbreuk kunnen maken op de rechten van Amerikaanse investeerders die deze CBL-contracten waren aangegaan met Nederlandse energiebedrijven. Deze investeerders hebben namelijk contractueel het recht om in bepaalde situaties (bij het voortijdig beëindigen van het contract) hun rechten op het economisch eigendom te kunnen uitoefenen en een eigen netbeheerder aan te stellen; feitelijk impliceert dit dat op termijn een volledig private netbeheerder zou moeten kunnen worden aangesteld. Bij een privatiseringsverbod zou dit niet mogelijk zijn – en derhalve kunnen leiden tot grote claims aan het adres van de energiebedrijven – waardoor dit op termijn wellicht zeer schadelijke financiële gevolgen zou kunnen hebben. De CBL-problematiek is dus een belangrijke reden voor de minister om de privatiseringsimpasse te doorbreken. Daarom wil hij dus ook niet de mogelijkheid van volledige privatisering van de netbeheerder uitsluiten.1095
De Tweede Kamer over privatisering
De Kamer besteedt tijdens dit wetgevingstraject zeer veel aandacht aan het privatiseringsvraagstuk. Alle partijen willen de huidige onduidelijkheid opheffen, maar verschillen van mening over de wenselijkheid van daadwerkelijke privatisering. De privatisering van de commerciële delen van de energiebedrijven (levering, handel en productie) wordt over het algemeen niet zeer problematisch gevonden. Een aantal fracties vreest dat door splitsing de Nederlandse energiebedrijven hapklare overnamebrokken worden voor buitenlandse energiebedrijven. De minister (en de VVD-fractie) vindt deze zorg echter ongefundeerd; er zijn op dat moment al buitenlandse spelers actief op de energiemarkt (E.on en Electrabel) en er is niets mis met meer buitenlandse spelers op de markt: «Liever een goedkoop buitenlands commercieel bedrijf, dan een duur Nederlands bedrijf», aldus minister Brinkhorst.1096
Op het gebied van netbeheer zijn de partijen verdeeld. Het CDA, de SP, de SGP en GroenLinks willen zekerstellen dat netbeheerders voor 100% in overheidshanden blijven. Volgens GroenLinks is dit de beste waarborg voor leveringszekerheid, adequaat onderhoud en gelijke toegang voor alle aanbieders op het net.1097 Daarnaast speelt ook hier de zorg dat buitenlandse spelers belangen verwerven in Nederlandse netten. D66 noemt het voorkómen van een buitenlandse overname van de netbeheerder zelfs «de belangrijkste reden van de splitsing».1098 De PvdA vindt dat onder bepaalde voorwaarden een minderheidsprivatisering tot de mogelijkheden behoort, maar ziet het liefst dat in dat geval Nederlandse pensioenfondsen investeren.1099 De VVD staat positiever ten opzichte van privatisering van de netbeheerder, al wordt geen expliciete stellingname gekozen of ook een meerderheidsprivatisering aan de orde kon zijn. Deze partij wil het debat over de ministeriële regeling afwachten. De VVD benadrukt de positieve aspecten van privaat ondernemerschap en stelt dat het vrijgemaakte geld door (gedeeltelijke) privatisering door gemeenten en provincies kan worden ingezet voor andere doeleinden.1100
Ook voor de Tweede Kamer is de CBL-problematiek van invloed op de privatiseringsdiscussie. De vaste commissie voor Economische Zaken organiseert een hoorzitting met experts om te inventariseren wat de financiële consequenties kunnen zijn van verplichte splitsing en een eventuele privatisering (of een privatiseringsverbod) van netbeheerders.1101 De experts zijn over het algemeen bezorgd over het wetsvoorstel omdat splitsing tot grote claims zou kunnen leiden. Een spreker (Crans; De Brauw Blackstone Westbroek) stelt dat «het grootste gevaar schuilt in het privatiseringsverbod voor het netwerkbedrijf. Als dat blijft, hebben wij het over een gigantische schade.»1102 Dit argument wordt in een debat met de minister door diverse fracties herhaald, bijvoorbeeld door Crone (PvdA): «Als wij in de wet opnemen dat men nooit mag privatiseren, kunnen de Amerikanen wel zeggen dat zij nooit kunnen executeren als er een default is. Dat is een principieel probleem.»1103 Voor GroenLinks is het zelfs reden om zich flexibeler op te stellen op het gebied van het voorkomen dat netbeheerders in de toekomst (deels) konden worden geprivatiseerd: «Wij kunnen wel willen dat elke vorm van privatisering uitgesloten moet worden, maar als wij daarmee een Amerikaanse investeerder op de kast jagen en hem vervolgens een succesvolle claim bezorgen, draai[en] wij onszelf een poot uit. (...) Ik wil daar niet voor weglopen door te roepen «Geen privatisering» en vervolgens «Minister, los die miljardenclaim maar op.»1104 Met andere woorden, de mogelijkheid dat er in de toekomst mogelijk grote financiële schade zou kunnen ontstaan door een privatiseringsverbod speelt een belangrijke rol in de beoordeling van de Kamer of privatisering van de netbeheerder tot de mogelijkheden moet behoren.
De druk die vanuit de Tweede Kamer (maar ook zeker van energiebedrijven) op de minister wordt uitgeoefend om de CBL-problematiek zo veel mogelijk af te dekken, vertaalt zich in concrete maatregelen. De minister besluit om zogenaamd overgangsrecht vast te leggen waarmee getracht wordt de risico's op financiële claims bij splitsing en privatisering (of het verbod daarop) zo veel mogelijk te mitigeren.1105 Dit komt er onder andere op neer dat de Amerikaanse investeerders het recht moeten behouden om in het geval van een contractbreuk of het aflopen van het contract een eigen (eventueel private) netbeheerder aan te stellen.
Eindfase van debat in de Tweede Kamer
Gaandeweg het debat zet de minister de urgentie van wetgeving steeds steviger aan. In het begin van het traject (2004) zette de minister nog niet zo sterk in op de problemen die bestonden op de markt. In de loop van het traject beargumenteert de minister met steeds meer kracht dat de Nederlandse energiemarkt niet goed werkte: «De markt is vrij maar ik constateer (...) dat zij niet goed werkt. Er zijn hoge prijzen voor de grootverbruikers, wij hebben administratieve problemen voor de kleinverbruikers, wij hebben een oneerlijke concurrentie voor nieuwkomers, wij hebben slapend kapitaal voor machteloze aandeelhouders en wij hebben inefficiency tegen hoge salarissen bij de gevestigde orde.»1106
Daarbij stelt hij dat dit redenen zijn om de wet aan te nemen: «Wat mij betreft betekent verplicht splitsen de markt openbreken, aandeelhouders de ruimte geven, netten veiligstellen en de markt openen, waardoor van Nederland een efficiencyeiland wordt gemaakt.» 1106 Ook geeft de minister aan dat haast moeten worden gemaakt met het aannemen van de wet, omdat volgens hem vanaf 1 januari 2007 de overheid geen instrumenten meer in handen heeft om de privatisering van geïntegreerde bedrijven te voorkomen, omdat dan het privatiseringsmoratorium voor netbeheerders afloopt.1107
Hoewel in het eerste debat na de presentatie van de wet er vanuit met name de fracties van het CDA, de LPF en de ChristenUnie nog veel kritische vragen worden gesteld over de bewijsvoering van de minister dat eerlijke marktwerking op dat moment niet is gegarandeerd, neemt de kritiek hierop gaandeweg af. De uit de VVD, de PvdA, GroenLinks en D66 bestaande meerderheid is verklaard voorstander van de wet en zet in hun bijdragen uiteen op welke manier de wet de verschillende kerndoelen behartigt. Gaandeweg verplaatst de discussie zich dan ook naar het in kaart brengen van wenselijke en onwenselijke aspecten van het wetsvoorstel en wordt veel aandacht besteed aan het zoeken naar instrumenten om bepaalde ongewenste effecten van de wet te mitigeren (zie ook verderop).
De Tweede Kamer gaat zich in de eindfase van het debat wel steeds meer zorgen maken over een te vergaande privatisering van de energiesector. Nu wordt niet meer alleen gewaarschuwd voor het privatiseren van netbeheerders en de netwerken, maar wordt ook een beroep op de minister gedaan om bij de aandeelhouders aan te dringen niet (te snel) over te gaan op privatisering van de commerciële delen (dit wordt in het volgende paragraaf uitvoeriger besproken). De reden voor deze toenemende zorgen lijkt te liggen in berichtgeving over een verregaande internationale consolidatieslag in de Europese energiemarkt. In een ingezonden brief aan de Volkskrant stellen Crone (PvdA) en Vendrik (GroenLinks) dat er «een veldslag [was] uitgebroken tussen energiereuzen uit Duitsland en Frankrijk die de halve reuzen uit België en Spanje willen opkopen.» Ook andere partijen maken zich ongerust over buitenlandse overnames, waarbij alleen VVD en D66 zich niet veel zorgen lijken te maken over de privatisering van de commerciële delen.
Deze zorgen over privatisering zijn reden voor Crone (PvdA) en Hessels (CDA) om nog een besloten hoorzitting te houden met aandeelhouders van de energiebedrijven, om te bezien hoe zij in de toekomst hun rol als aandeelhouder gaan invullen. Hoewel er geen verslag is van deze hoorzitting, is uit de parlementaire discussie daarna op te maken dat de meeste fracties concluderen dat er geen eenduidige conclusie getrokken kan worden wat betreft de toekomstige rol van de publieke aandeelhouders. Hoewel Hessels (CDA) stelt dat «aandeelhouders hebben in grote meerderheid tijdens een onlangs gehouden hoorzitting in dit huis gezegd de eerste jaren te zullen afzien van verkoop van hun aandelen», vindt bijvoorbeeld Vendrik (GroenLinks) dat daar niet veel waarde aan moet worden gehecht: «Het kan zijn dat de lagere overheden als aandeelhouders over een paar jaar tot een ander oordeel komen. Een paar jaar geleden waren zij voor volledige privatisering».1108 Ook De Krom (VVD) is kritisch over de conclusie van Hessels: «Ik heb ook een aantal aandeelhouders horen zeggen dat het uiteindelijk afhangt van wat het parlement beslist over de splitsingswet. U [Hessels; red.] doet het nu dus voorkomen alsof dé aandeelhouders er zo tegen aankijken, maar zo heb ik het niet verstaan».1108 Slob (CU) waarschuwt Hessels dat met de Provinciale Staten-verkiezingen in het vooruitzicht niet te veel vertrouwd moet worden op de uitspraken van de huidige aandeelhouders.
Aangezien deze wet mede als doel heeft om de privatiseringsimpasse te doorbreken, is deze verschuiving van de Tweede Kamer naar een grotere ongerustheid over privatisering opvallend te noemen. De minister is niet blij met deze verschuiving. Hij vindt dat voorkomen moest worden dat deze wet een antiprivatiseringswet wordt en attendeert de Kamer erop dat deze wet mede als doel heeft om nu eindelijk een uitweg te vinden uit de privatiseringsproblematiek.1109
Nadat het wetsvoorstel in grote meerderheid door de Tweede Kamer is aangenomen, buigt de Eerste Kamer zich over het voorstel. Door de fracties worden veel vragen gesteld over de doelen die deze wet beoogt te bewerkstelligen; en de bewijsvoering dat deze wet nodig is.
Wat betreft de doelen wordt om meer duidelijkheid gevraagd wat deze wet probeert te bereiken. Er is nogal wat discussie welk doel nu precies doorslaggevend is voor deze wet. Zo stelt GroenLinks dat deze wet in beginsel beoogt om te voorkomen dat de gehele energiemarkt geprivatiseerd zou worden. Volgens SGP/ChistenUnie is het doel om de Nederlandse netten veilig te stellen, gelet op de verregaande internationalisering van de energiemarkt. Volgens D66 is de kern van het wetsvoorstel juist het bevorderen van transparantie en onafhankelijkheid van de netbeheerder. Het CDA merkt op dat de wet ook beoogt om aandeelhouders in de gelegenheid te stellen om aandelen in risicodragende activiteiten af te stoten. Gelet op deze onzekerheid wordt de regering verzocht om nog eens helder uiteen te zetten welke doelen deze wet beoogt te bereiken.1110
Wat betreft de bewijsvoering dat deze wet nodig is, worden allereerst vragen gesteld over de bewijsvoering dat door de geïntegreerde structuur van bedrijven marktwerking in het geding komt. Met name het CDA en de PvdA tonen zich kritisch. Volgens het CDA voert de bewijsvoering niet veel verder dan vermoedens en aanwijzingen van afhankelijk gedrag van de netbeheerder en de aangedragen voorbeelden worden mager genoemd».1111 De PvdA vraagt meer informatie over de vermeende problemen op het gebied van afhankelijkheid van de netbeheerder: «Kan de regering (...) met alle feiten op tafel komen?»1112
Ten tweede worden vragen gesteld over de bewijsvoering dat deze wet echt noodzakelijk is om de beoogde doelen te bereiken. Volgens de CDA-fractie had de in 2004 tot stand gekomen I&I-wetgeving het toezichts- en handhavingsinstrumentarium aangescherpt en de onafhankelijkheid van de netbeheerder vergroot, hetgeen volgens de fractie vragen oproept naar de noodzaak van deze nieuwe wet.1111 De PvdA- en D66-fracties vragen waarom de onafhankelijkheid van de netbeheerder niet kan worden gewaarborgd met huidige wetgeving, bijvoorbeeld door de bevoegdheden van de toezichthouder te vergroten, om zo eerlijke marktwerking te garanderen.1113 Daarnaast wordt gevraagd wat er in de energiemarkt nou zo ontzettend mis zou gaan als deze wet niet zou worden aangenomen.
Ook worden vragen gesteld of deze wet niet juist afbreuk zal doen aan de beoogde doelen, met name op het gebied van het stimuleren van eerlijke concurrentie op de Nederlandse markt. Gelet op het oligopolistische karakter van de Europese energiemarkt, is de kans aanzienlijk dat Nederlandse afgesplitste bedrijven worden overgenomen door grote buitenlandse geïntegreerde bedrijven. Is er dan nog wel sprake van een «level playing field» in Nederland, zo vroegen bijvoorbeeld de leden van de PvdA-fractie? Welke garantie is er immers dat deze bedrijven zich niet schuldig maken aan kruissubsidiëring?1114
Ten slotte inventariseren het CDA en de PvdA in hoeverre haast moet worden gemaakt met het aannemen van de wet, omdat het privatiseringsmoratorium op netbeheerders op 1 januari 2007 afloopt. Sylvester (PvdA) formuleert het als volgt: «31 december 2006 is het volgens de regering uur U, zo blijkt uit diverse handelingen van de Tweede Kamer. Vanaf 1 januari 2007 zouden de bedrijven integraal geprivatiseerd kunnen worden (...). Kan de regering meedelen waar in de wet- en regelgeving een einddatum staat aangegeven in het kader van het privatiseringsverbod?».1115 Daarbij wordt ook gevraagd waarom niet simpelweg gekozen kan worden om dit verbod te verlengen.
Reactie minister
De nieuwe minister Wijn (kabinet Balkenende-III) reageert door zes doelen van de wet op te sommen:
(1) het borgen van onafhankelijk netbeheer;
(2) het veiligstellen van vitale infrastructuren;
(3) aandeelhouders de mogelijkheid bieden risicodragende aandelen te vervreemden
(4) Nederlandse bedrijven de mogelijkheid te geven te internationaliseren zonder dat de netten hierdoor in het geding komen
(5) een einde maken aan de stroom van wet- en regelgeving als gevolg van de intransparante bedrijfsstructuur; en
(6) toezichtmogelijkheden verbeteren. Met het bereiken van deze doelen zal uiteindelijk de afnemer voordeel hebben, volgens de minister. Die heeft belang bij een goed werkende markt omdat die leidt tot voldoende beschikbaarheid van energie tegen een zo laag mogelijke prijs.1116
In reactie op de vragen over de onderbouwing van de noodzaak van deze wet om onafhankelijk netbeheer te verzekeren, stelt de minister dat «zorgen omtrent de onafhankelijkheid van de netbeheerder één van de redenen is van dit wetsvoorstel.»1116 Daarna stelt de minister dat het voor de toezichthouder van geïntegreerde bedrijven juist erg moeilijk is om misstanden te ontdekken: «Concurrentieverstorende gedragingen binnen één geïntegreerd concern zijn de praktijk zeer moeilijk te constateren.»1116 Desalniettemin worden wederom de geconstateerde problemen door DTe van mogelijk afhankelijk netbeheer aangedragen: «De DTe heeft in het verleden meerdere malen sterke vermoedens gehad dat er sprake is geweest van concurrentieverstorende gedragingen. Onder andere komen deze vermoedens voort uit de audits die de DTe jaarlijks houdt naar de onafhankelijkheid van de netbeheerder en klachten van nieuwe toetreders op de elektriciteits- en gasmarkt.»1116 De minister tekent aan dat het niet waarschijnlijk is dat met aanvullende regels niet-onafhankelijke gedragingen geconstateerd kunnen worden en dat bovendien additionele regelgeving «gepaard gaat met een aanzienlijke stijging van handhavings- en nalevingslasten zonder dat duidelijk is of deze regels leiden tot het gewenste resultaat.»1117 Kortom, net als zijn voorganger Brinkhorst stelt minister Wijn het wetsvoorstel primair als een marktwerkingsoperatie voor.
Ook ten aanzien van de eventueel nadelige effecten van deze wet voor eerlijke concurrentie op de Nederlandse markt (doordat geïntegreerde buitenlandse bedrijven op de Nederlandse markt kunnen komen) merkt de minister op dat «na splitsing in ieder geval voorkomen wordt dat de Nederlandse netten als onderpand dienen voor buitenlandse investeringen».1116 Het valt hierbij op dat het feit dat het wetsvoorstel meerdere doelstellingen heeft de minister de mogelijkheid geeft om bij kritiek op de effecten van de wet op een bepaalde doelstelling te verwijzen naar het feit dat het wetsvoorstel ook andere doelstellingen beoogt te bereiken.
Wat betreft de vragen over het mogelijkerwijs aflopen van het privatiseringsverbod op 1 januari 2007, stelt minister Wijn dat dit niet het geval is. Hij stelt dat zijn voorganger Brinkhorst in dit opzicht verkeerd begrepen is: «Hij ging er hierbij van uit dat op dat tijdstip het wetsvoorstel tot wet zou zijn verheven en in werking getreden. In die situatie zou er geen wettelijke belemmering meer zijn tot privatisering van de commerciële delen»1118. Deze uitleg van de positie van zijn voorganger is echter aantoonbaar incorrect, daar minister Brinkhorst letterlijk tegen Slob (CU) had gezegd: «Na 1 januari hebt u geen instrumenten in handen om de verkoop van geïntegreerde Nederlandse bedrijven te voorkomen.»1107
De fracties in de Eerste Kamer storen zich echter niet aan deze uitleg en zijn tevreden dat 1 januari 2007 geen harde deadline vormt. De fracties zijn echter niet tevreden met de uitleg van de minister wat betreft de noodzaak van de wet. In een reactie (waarin alleen het CDA, GroenLinks, de PvdA en de SP vragen stellen) wordt wederom getwijfeld aan de noodzaak van de wet met name voor het doel van eerlijke marktwerking. De PvdA stelt dat voor het tegengaan van ongeoorloofde kruissubsidiëring dit wetsvoorstel overbodig is, omdat de I&I-wet de DTe al voldoende instrumenten geeft voor effectief toezicht.1119 Ook voor andere doelen (het veiligstellen van de netten en het vergroten van betrouwbaarheid van de netten) is deze wet niet nodig, aldus de PvdA.1120 De PvdA-fractie geeft verder aan dat tijdens het I&I-wettraject de minister heeft aangegeven dat de I&I-wet kruissubsidiëring in de toekomst zou voorkomen. GroenLinks stelt de bewijsvoering voor het bestaan van kruissubsidiëring niet overtuigend te vinden.1121
De minister herhaalt vervolgens de doelen die deze wet zou realiseren en benadrukte dat «[s]tructureel onafhankelijk (publiek) netbeheer via volledige afscheiding van de netwerken (...) het enige middel [is] dat gelijktijdig alle doelen effectief realiseert.»1122 Bestaande wetgeving, ook de I&I-wet, is niet afdoende voor het waarborgen van onafhankelijk netbeheer. Hoewel minister Wijn erkent dat zijn voorganger (Brinkhorst) tijdens het I&I-wetgevingstraject had gesteld dat kruissubsidiëring met die wet zou worden voorkomen, was volgens minister Wijn deze conclusie te stellig.1123 Wat betreft de kwestie dat buitenlandse geïntegreerde bedrijven in de toekomst een oneerlijk concurrentievoordeel zouden hebben, stelt de minister dat «dit niet ten koste [zou gaan] van de Nederlandse consument. Het gaat er om dat de kwaliteit en onafhankelijkheid van Nederlandse netten in ieder geval worden veiliggesteld.»1124 Wederom verwijst de minister bij kritiek op de effecten van de wet op een bepaalde doelstelling naar een andere doelstelling van de wet, om op die manier de kritiek te relativeren.
Plenaire afronding
Na deze schriftelijke rondes wordt in het plenaire debat veel aandacht besteed aan veranderde omstandigheden die volgens bepaalde fracties deze wet in een ander daglicht zetten. Zo wordt door de PvdA aangestipt dat energiebedrijven en hun aandeelhouders hebben aangegeven voorlopig af te willen zien van privatisering. Bovendien heeft de minister reeds aangegeven dat ook na 1 januari 2007 er een privatiseringsverbod op netten (en dus op geïntegreerde bedrijven) geldt, dus de urgentie voor de wet is verdwenen. Kortom, voor de PvdA is het doorbreken van de privatiseringsimpasse niet langer een adequaat doel. De PvdA-fractie in de Eerste Kamer komt hiermee tot een andere conclusie dan de Tweede Kamer. In de Tweede Kamer werd, zoals gezegd, door veel fracties twijfel geuit over de waarde die gehecht moest worden aan de uitlatingen van publieke aandeelhouders dat zij op korte termijn niet over zouden gaan op verkoop. Sylvester (PvdA) concludeert in de Eerste Kamer echter dat de «angst voor privatisering», die volgens haar aanleiding was voor deze wet, is weggenomen.1125
Daarnaast wordt door diverse fracties aandacht gevraagd voor internationale ontwikkelingen; men constateert dat energievraagstukken steeds meer gepolitiseerd raken, waarbij EU-landen actief bezig zijn om hun energiesector te beschermen en hun nationale kampioenen te steunen. Waarom zou Nederland dan zo'n verregaande stap nemen als andere EU-landen juist bezig waren om meer invloed te krijgen op de sector en bezig waren nationale kampioenen te creëren?, zo vragen de PvdA, het CDA, de SP, GroenLinks, de SGP en ChristenUnie. Daarnaast wordt gevraagd waarom Nederland zo ver zou gaan, als geen enkel ander land in de EU aanstalten maakt om ook een dergelijke stap te nemen en er geen Europese richtlijn met deze strekking op korte termijn te verwachten is – hoewel D66 en de VVD geen probleem zien in het vooroplopen in de EU. Veel fracties vragen derhalve of deze veranderde omstandigheden niet grote vraagtekens plaatsen bij de wenselijkheid van deze wet.
Daarnaast wordt nog steeds getwijfeld aan de noodzaak van deze wet op het gebied van het stimuleren van marktwerking. Met name de CDA-fractie vindt de motivering voor deze wet wat betreft concurrentieverstorende gedragingen van marktpartijen niet sterk. Hierbij wordt de aandacht gevestigd op het bijna-akkoord dat begin 2005 in overleg met de sector tot stand is gekomen als mogelijk alternatief voor dit wetsvoorstel.
Er dient evenwel te worden aangetekend dat niet alle fracties twijfelen aan de wenselijkheid van de wet voor het behalen van de doelstellingen. D66 en de VVD uiten zich herhaalde malen positief. Zo stelt Schouw (D66) dat splitsing bijdraagt aan marktwerking, voorkomt dat geïntegreerde bedrijven worden geprivatiseerd en Nederlandse bedrijven de mogelijkheid geeft om te internationaliseren. Volgens Ketting (VVD) is splitsing de meest doelmatige oplossing om de publieke belangen te borgen omdat het (onder andere) bijdraagt aan marktwerking, de privatiseringsimpasse doorbreekt, decentrale opwekking1126 stimuleert, het netbeheer onafhankelijk maakt van commerciële invloeden en de netwerken in het publieke domein houdt.1127
Hoewel de minister in zijn slotreactie wederom uiteenlopende doelen van de wet opsomt, zet hij voornamelijk in op het belang van deze wet voor de bescherming van het net. Allereerst constateert de minister dat er een wens is «naar minder of geen marktwerking omdat op deze wijze de risico's voor het net worden teruggebracht.»1128 Daartoe wordt het netbeheer afgesplitst van de commerciële delen. Hij benadrukt dat het gaat om marktwerking ten koste van het net: de splitsing zou echter wel concurrentie creëren in het voordeel van de consument. Ten tweede zet de minister sterk in op het feit dat de internationale activiteiten van Nederlandse energiebedrijven ten koste kunnen gaan van de netten: «De internationale ambities van de bedrijven en de daaraan verbonden risico's voor de netwerken blijven mijn grootste zorg.»1128
De minister lijkt hiermee het debat te willen verplaatsen van de kwesties van privatisering en marktwerking (kruissubsidiëring en concurrentieverstoring) naar het beschermen van de Nederlandse netten tegen de internationalisering van de energiesector. Veel fracties in de Eerste Kamer betwisten namelijk dat het voorliggende wetsvoorstel noodzakelijk en proportioneel is voor het adresseren van de problemen op het gebied van de eerstgenoemde kwesties en betwisten zelfs de bewijsvoering dat die problemen een realiteit zijn. Zorgen over de mogelijk negatieve gevolgen van een verregaande internationalisering van de energiesector worden echter door diverse fracties uitgedragen, hetgeen door de minister wordt aangegrepen om de nadruk op het andere kernmotief voor de wet te leggen (het beschermen van het netbeheer tegen (buitenlandse) commerciële invloeden).
Het CDA en de PvdA vragen in een reactie wederom waarom (lichte aanpassing van) huidige wetgeving niet volstaat om de doelen te bereiken en of het aangedragen bewijs voor misstanden op het gebied van oneerlijke marktwerking wel zo overtuigend is.1129 De PvdA vindt splitsing op dat moment niet noodzakelijk, D66 stelt dat er erg veel onzekerheden zijn en het CDA vraagt zich af of de wet noodzakelijk en proportioneel is. Uiteindelijk tonen alle fracties zich niet (geheel) overtuigd dat splitsing op dat moment noodzakelijk is. Dit blijkt ook uit de steun voor de motie-Doek/Sylvester (CDA/PvdA) die een uitstel van de implementatie van het splitsingsonderdeel van de wet impliceert.1130 Deze motie wordt door alle fracties (behalve de SP) ondertekend en met algemene stemmen aangenomen.
Opvallend is dat deze motie door Doek wordt gepresenteerd onder verwijzing naar de problemen die energiebedrijven hadden met deze wet: «In het hele proces van de afgelopen tweeënhalf jaar hebben de energiemaatschappijen getracht de minister en de Eerste en Tweede Kamer ervan te overtuigen dat deze wet niet nodig is. Zij kunnen zich niet vinden in een aantal veronderstelde omstandigheden waarvan deze wet uitgaat. Dit heeft ertoe geleid dat er een motie is opgesteld die ik u nu aanbied.»1131 Met de motie wordt de regering opgeroepen «om een besluit tot effectuering van een splitsing niet te nemen dan nadat duidelijk is dat de Europese Unie zal overgaan tot het vaststellen van een dergelijke richtlijn en ten aanzien van zware risico's met betrekking tot de cross-borderleasecontracten is voorzien, tenzij het publiek en onafhankelijk netbeheer in gevaar komen».1132 Het laatste gedeelte van deze zin impliceert dat er in geval van nieuw bewijsmateriaal dat er in de sector activiteiten plaatsvinden die mogelijk kwalijk kunnen zijn voor onafhankelijk netbeheer, de splitsingseisen – na overleg met het parlement – alsnog kunnen worden afgedwongen. Dergelijke activiteiten kunnen zijn: «het verrichten van buitenlandse activiteiten en/of van het aangaan van grensoverschrijdende allianties, dan wel bij verstoring van evenwichtige marktverhoudingen en niet-transparante non-discriminatoire financiële verhoudingen of bij het ontbreken van gelijke toegang tot de netten».1133
Dit betekent dat het deel van de wet waarmee verplichte eigendomssplitsing werd afgedwongen voor onbepaalde tijd wordt uitgesteld. De Eerste Kamer presenteert deze motie dan ook als stok achter de deur. In de woorden van Doek (CDA): «Wij hopen hiermee disciplinering af te dwingen in de sector.»1132 Ketting (VVD) benadrukt dat de geïntegreerde bedrijven de doelstellingen van de wet serieus dienden te nemen, omdat anders het splitsingsonderdeel alsnog in werking zal treden: «Mocht (...) blijken (...) dat aan één of meerdere doelstellingen van de wet niet wordt voldaan, (...) verwacht mijn fractie dat de minister terstond zal handelen en aan beide Kamers een voorstel zal presenteren om de splitsingsartikelen alsnog in werking te stellen.»1134
Het is opvallend dat de minister vrij positief reageert op de motie: «De motie sluit precies aan bij het doel van deze wetgeving. Het ging niet zozeer om de instrumentering maar om het doel. (...) Ik kan deze motie omarmen, omdat wij van mening zijn dat het prima is als het zonder gedwongen splitsing kan.»1135 Zijn voorganger heeft namelijk beweerd dat het beschermen van netbeheer tegen commerciële invloeden, het stimuleren van marktwerking en het doorbreken van de privatiseringsimpasse alleen te waarborgen is door middel van eigendomssplitsing. Bovendien heeft minister Wijn zelf eerder aangegeven dat eigendomssplitsing het enige middel is dat gelijktijdig alle doelen effectief realiseert. 1122 Daarnaast besteedt de minister geen aandacht aan de vraag op welke manier in de toekomst moet worden vastgesteld dat het publiek en onafhankelijk netbeheer in gevaar zouden komen. Gedurende het hele wettraject is immers benadrukt dat de toezichthouder DTe veel moeite heeft om bij geïntegreerde bedrijven ongewenst gedrag vast te stellen.
Ook de minister presenteert de motie als stok achter de deur en een waarschuwing aan de sector: zorg ervoor dat het onafhankelijk netbeheer niet in gevaar komt, dat je transparant bent, dat er geen discriminatie is, dat er evenwichtige marktverhoudingen zijn, dat er gelijke toegang is tot de netten. «Eigenlijk staat hier dat elke klager een potentieel gevaar is», aldus de minister.1135
De Eerste Kamer komt uiteindelijk tot een andere afweging dan de Tweede Kamer. Hoewel een aantal fracties in de Tweede Kamer wel degelijk vraagtekens had geplaatst bij bepaalde argumenten van de minister – dat eerlijke marktwerking nu niet gegarandeerd kon worden en dat splitsing de enige oplossing was – zetten verschillende fracties die positief stonden ten opzichte van de wet herhaalde malen uiteen waarom de wet zou kunnen bijdragen aan de drie kerndoelen zoals genoemd in de inleiding.1136 Verschillende fracties verwezen naar de ervaringen die waren opgedaan in de discussie over privatisering, ontvlechting en liberalisering in de jaren daarvoor en ook naar ontwikkelingen in de energiesector die het wetsvoorstel (in hun ogen) noodzakelijk maakten. De aandacht verschoof daarom geleidelijk van een focus op doelen naar een focus op het zoeken naar middelen om ongewenste effecten van splitsing en (de mogelijk daaruit volgende) privatisering van energiebedrijven te voorkomen. De Eerste Kamer, met name de fracties van het CDA en de PvdA, blijft echter tot in het plenaire slotdebat benadrukken dat de minister niet goed heeft onderbouwd waarom deze wet op dat moment nodig was, daarmee vooral de aandacht vestigend op het argument van de minister dat de huidige marktstructuur geen goede garantie bood om eerlijke en goede marktwerking te bewerkstelligen.
Er valt tijdens het wetgevingstraject dus een verschuiving te constateren van de motieven voor de wet waarop de minister de nadruk legde. Daar waar tijdens het debat met de Tweede Kamer de minister nog sterk benadrukte dat de wet vooral als doelstelling had om eerlijke marktwerking te bevorderen en de privatiseringsimpasse te doorbreken, werd tijdens het debat met de Eerste Kamer vooral benadrukt dat het netbeheer moest worden beschermd tegen de risico's van internationale activiteiten van Nederlandse energiebedrijven en tegen overnames van buitenlandse bedrijven. Daarmee verdwijnen ook gaandeweg het traject de positieve geluiden van de minister over het feit dat de wet een (gedeeltelijke) privatisering van gesplitste energiebedrijven mogelijk zou maken.
Het feit dat de minister vele doelstellingen toeschrijft aan de wet (die in dit hoofdstuk zijn gegroepeerd in drie kerndoelen) zorgt enerzijds voor onduidelijkheid bij het parlement maar bleek anderzijds nuttig voor de minister om kritiek op het wetsvoorstel te relativeren. Dit wordt met name duidelijk in het debat in de Eerste Kamer. Vele fracties vragen om verduidelijking wat nu precies de doelstellingen waren van de wet en waarom (lichte aanpassing van) huidige regelgeving niet volstaat. Met name het aangevoerde bewijs van de minister dat eerlijke marktwerking in de huidige constellatie niet was gegarandeerd en dat de Wet Onafhankelijk Netbeheer marktwerking zou bevorderen, wordt in de Eerste Kamer stevig bekritiseerd. Herhaalde malen verwijst de minister echter bij kritiek naar het feit dat het wetsvoorstel positief zou zijn voor andere doelstellingen. Hierdoor wordt het debat in de Eerste Kamer in feite een herhaling van zetten, zowel door de fracties als de minister.
Tijdens het wetgevingstraject Wet Onafhankelijk Netbeheer is door het parlement en de minister veel aandacht besteed aan de toekomstige mogelijkheden om de bedrijven in de energiesector te sturen en te controleren. De minister presenteert de wetswijziging zelfs als een uitermate geschikt middel om de sturing en controle van deze bedrijven te verbeteren, al ziet hij daarbij een bescheiden rol voor de rijksoverheid. Het parlement lijkt in eerste instantie mee te gaan met deze redenering, maar gaat zich gaandeweg steeds meer zorgen maken over het verlies van controle van de (nationale) overheid, als gevolg van verregaande privatisering van de energiesector.
Ook wordt veel aandacht besteed aan de (toekomstige) borging van publieke belangen. Ook hier stelt de minister dat het wetsvoorstel bijdraagt aan het behartigen van publieke belangen, met name de leveringszekerheid en de efficiëntie. Publieke belangen worden volgens de minister met name goed behartigd door middel van de structurele maatregelen die in dit wetsvoorstel zijn vastgelegd. Het parlement legt echter een grotere nadruk op het belang van publiek aandeelhouderschap en een meer sturende functie van de overheid om publieke belangen te behartigen.
De debatten over publieke belangen en over sturing en controle zijn sterk verweven. Kortweg kan gesteld worden dat in beide debatten de minister de juiste voorwaarden wil stellen aan het marktwerkingsproces (door middel van onafhankelijk netbeheer en goed [mededingings]toezicht), omdat hiermee sturing, controle en de behartiging van publieke belangen het best tot hun recht zouden komen. De minister lijkt weinig vertrouwen te hebben in een meer interveniërende rol van de overheid om publieke belangen te behartigen, bijvoorbeeld door middel van actief aandeelhouderschap of een regiefunctie van de overheid bij de toekomstige vormgeving van de sector. Het parlement lijkt echter een meer interveniërende koers voor te staan, en meer vertrouwen te hebben in publiek aandeelhouderschap om deze belangen te behartigen.1137
Gebrek aan sturing en controle als motief voor de wet
Zoals eerder is uiteengezet, is het feit dat de sturing en controle van energiebedrijven te wensen overlaat een belangrijk motief voor dit wetsvoorstel. Zo merkt de minister op dat de publieke aandeelhouders door de huidige structuur van energiebedrijven nauwelijks invloed kunnen uitoefenen op de netbeheerder en dat commerciële overwegingen van het bestuur van het energiebedrijf een negatieve invloed kunnen hebben op het adequaat uitoefenen van het netbeheer. De afsplitsing van de netbeheerder zou tegelijkertijd de mogelijkheden van sturing door de (publieke) aandeelhouders versterken en de invloed van commerciële overwegingen van het energiebedrijf op het regionale netbeheer verzwakken.
Ook de Tweede Kamer is van mening dat de huidige zeggenschapsstructuur in de sector te wensen overlaat. Daarbij lijkt er veel onvrede te bestaan over het gedrag van de energiebedrijven en de gebrekkige controle door de publieke aandeelhouders. PvdA-Kamerlid Crone uit bijvoorbeeld kritiek op de sector door te stellen dat «veel geld verbrand [was], zowel in het buitenland als in het binnenland, aan commerciële activiteiten.»1138 Ook wordt tijdens het wetgevingstraject veelvuldig opgemerkt dat de bedrijven met het afsluiten van CBL-contracten zeer grote risico’s hebben genomen, waarbij de private belangen van de bedrijven prevaleren boven de publieke belangen. Er wordt ook kritiek geuit op de sturende functie van aandeelhouders die moeilijk het gedrag van de energiebedrijven kunnen beïnvloeden. De VVD vraagt bijvoorbeeld: «Waarom wordt er geïnvesteerd in het buitenland, als er in Nederland nog wel iets is te verbeteren aan de administratie bij de bedrijven zelf? Hebben de aandeelhouders de bedrijven al hierop aangesproken?»1139
Daarbij wordt verschillend aangekeken tegen de functie van aandeelhouderschap. Enerzijds is er een focus op de beschermende functie van overheidsaandeelhouderschap. Dit impliceert dat een meerderheidsdeelname van de overheid het netbeheer beschermt tegen een overname van een buitenlands energiebedrijf en dat overheidsdeelname kan garanderen dat in geval van wanbeheer een nieuwe netbeheerder wordt aangesteld zonder dat dit allerlei ingewikkelde procedures met zich mee brengt. Anderzijds is er een focus op de sturende functie van overheidsaandeelhouderschap; omdat publieke aandeelhouders (in tegenstelling tot private aandeelhouders) geacht worden niet enkel commerciële belangen na te streven maar ook publieke belangen te borgen, kan overheidsdeelname zorgen dat de netbeheerder handelt in overeenstemming met publieke belangen. Terwijl Tweede Kamerleden vaak beide functies van overheidsaandeelhouderschap noemen, is de minister van mening dat de sturende functie van aandeelhouders beperkt is en dat die voornamelijk een beschermende functie heeft.
Zowel de minister als de Tweede Kamer lijken te verwachten dat het splitsingsvoorstel bijdraagt aan een verbetering van sturing en controle. Er wordt wel nagedacht hoe voorkomen kan worden dat in geval van privatisering via simultaan aandeelhouderschap in zowel netbeheerder als energiebedrijf niet alsnog de netbeheerder op een oneigenlijke manier beïnvloed kan worden. Daarom is de minister in oktober 2004 voornemens om «een verbod op het tegelijkertijd direct of indirect (via een holding) houden van aandelen in een netbeheerder enerzijds en in een leverings-, handels- of productiebedrijf anderzijds» in de wet vast te leggen.1140 Dit verbod zou overigens niet gelden voor publieke aandeelhouders, omdat dit zou betekenen dat zij verplicht waren om na splitsing in ieder geval van één van de resterende onderdelen alle aandelen te vervreemden. Dit verbod is echter bij het indienen van het wetsvoorstel, in de zomer van 2005, afgezwakt naar een «groepsverbod». Dit betekent dat de netbeheerder en het productie-, handels- en/of leveringsbedrijf niet tot dezelfde groep mochten behoren, maar dat er geen sprake is van een verbod op simultaan (indirect) aandeelhouderschap van een deel van de aandelen in beide type bedrijven. Volgens de minister is deze versoepeling nodig omdat het eerdere voorgestelde verbod niet proportioneel is en bovendien moeilijk te handhaven.1141
Wat betreft controle stelt de minister dat de nationale toezichthouder, DTe, zeer moeilijk kan controleren of er sprake is van oneigenlijke praktijken binnen geïntegreerde energiebedrijven. Volgens de minister is het voor geïntegreerde bedrijven mogelijk om door middel van kruissubsidiëring oneigenlijke concurrentievoordelen te hebben ten opzichte van bedrijven zonder netwerk, maar is het voor de toezichthouder moeilijk om dit in de praktijk te constateren. De afsplitsing van de netbeheerder zou niet alleen deze inherente prikkels wegnemen, maar stelt de toezichthouder beter in staat om te controleren of het gedrag van de verschillende typen energiebedrijven in overeenstemming is met de wet. 1142 Volgens de minister is het «onmiskenbaar dat de toezichthouder een heldere en scherpere positie heeft als deze twee zaken uit elkaar worden gehouden.»1143
Daarnaast stelt de minister maatregelen voor om de netbeheerder zodanig toe te rusten dat die zelfstandig en onafhankelijk zijn taken kan uitvoeren. In de memorie van toelichting wordt gesteld dat de netbeheerder in geïntegreerde bedrijven vaak feitelijk niet meer is dan een «papieren vennootschap», waarbij door de netbeheerder een groot deel van de werkzaamheden wordt uitbesteed aan andere delen van het energiebedrijf.1144 Deze magere netbeheerder zou moeten worden omgevormd in een vette netbeheerder.
Met de I&I-wet is al geregeld dat de netbeheerder zou moeten beschikken over het economische eigendom van het net en dat deze eis samen met het voorliggende wetsvoorstel in werking zou treden. Dit vergroot de economische slagkracht van het bedrijf en daarmee ook diens zelfstandigheid. Met de Wet Onafhankelijk Netbeheer krijgt de netbeheerder ook de volledige verantwoordelijkheid voor de wettelijk vastgelegde taken die horen bij het beheren van het net. Verantwoordelijkheid impliceert echter niet dat de netbeheerder ook zelf alle werkzaamheden ter hand dient te nemen. Voor een aantal taken zou de netbeheerder de fysieke werkzaamheden mogen uitbesteden aan derden.1145 Het is in het wetsvoorstel daarnaast mogelijk dat de netbeheerder onderdeel uitmaakt van een bedrijf dat ook andere activiteiten ontplooit, zolang dit maar niet productie, levering of handel van energie is. Een stand-alone netbeheerder is volgens de minister niet reëel.1146
De netbeheerder na splitsing
De Tweede Kamer besteedt gedurende het gehele traject veel aandacht aan de sturing van de netbeheerder, en dan specifiek hoe die zich verhoudt tot eventuele (gedeeltelijke) privatisering. De PvdA-fractie geeft reeds in oktober 2004 aan dat het splitsingsvoorstel beoogt om zeker te stellen dat de netwerkbedrijven in meerderheid in publieke handen blijven. Volgens Crone (PvdA) moet een natuurlijk monopolie niet volledig geprivatiseerd worden, omdat dit een heel pakket aan regels vergt om deze vervolgens aan te sturen.1147 Ook alle andere fracties benadrukken het belang van overheidsinvloed op en aandeelhouderschap van de netbeheerder, al zijn niet alle fracties overtuigd dat de overheid 100% aandeelhouder moet zijn. De PvdA, het CDA, D66 en de VVD vinden dat een minderheidsprivatisering van de netbeheerder tot de mogelijkheden moet blijven behoren, terwijl de SP, GroenLinks, de SGP en de ChristenUnie pleiten voor volledig overheidsaandeelhouderschap.
Daarnaast worden door met name de CDA-fractie vragen gesteld over het zogenaamde groepsverbod. Nu het verbod op gelijktijdig aandeelhouderschap is afgezwakt wordt gevraagd of er alsnog sprake kan zijn van oneigenlijke beïnvloeding van de netbeheerder, dit keer door de aandeelhouders van de bedrijven. Zo wordt gevraagd of het mogelijk is dat bepaalde aandeelhouders (bijvoorbeeld een buitenlands energiebedrijf) een significant deel van de aandelen in beide type bedrijven kunnen verwerven, waardoor van echte splitsing de facto geen sprake zou zijn.1148
De Tweede Kamer besteedt ook aandacht aan het feit dat de netbeheerder nog onderdeel zou mogen uitmaken van een commercieel concern. Het CDA, de VVD, de PvdA, de SGP, GroenLinks en D66 vragen waarom dit toch nog in de toekomst mogelijk zou zijn, aangezien dit mogelijkerwijs de onafhankelijkheid van de netbeheerder zou kunnen compromitteren.1149 De vraag is of hiermee niet de oude afhankelijkheid wordt ingeruild voor een nieuwe afhankelijkheid. Daarnaast zijn er vragen over de mate waarin de netbeheerder zijn taken kan gaan uitbesteden. De vrees bestaat of er zo niet alsnog de facto een magere netbeheerder wordt gecreëerd die te veel afhankelijk is van derden, of (te) veel activiteiten aan commerciële energiebedrijven uitbesteedt.
Ook vragen verschillende fracties, met name het CDA en de LPF, waarom er niet voor gekozen is om de DTe te versterken om beter toezicht te kunnen houden, als alternatief voor de meer ingrijpende maatregel van verplichte splitsing. Het CDA vraagt waarom de regering van mening is dat niet kon worden volstaan met het verbeteren van maatregelen en toezicht om marktpartijen te sturen en controleren.1150 De LPF fractie is van mening dat de problemen die DTe ondervindt bij het toezicht houden op geïntegreerde bedrijven meer zegt over de gebrekkige competenties van de toezichthouder dan over de structuur van de bedrijven.1151
In reactie op de discussie over de eventuele gedeeltelijke privatisering van de netbeheerder na splitsing benadrukt de minister de positieve elementen van de invloed van private aandeelhouders voor de sturing van netbeheerders: «De regering wil huidige publieke aandeelhouders de ruimte bieden om na splitsing een minderheid van aandelen in de netbeheerder te vervreemden. Hierdoor kunnen professionele investeerders een minderheidsbelang in het netbeheer nemen. De kennis en ervaring van deze investeerders kan bijdragen aan een verdere verbetering van de efficiëntie en kwaliteit van de netten».1152 De minister toont dus meer vertrouwen in wet- en regelgeving dan in het overheidsaandeelhouderschap om het gedrag van de netbeheerder te beïnvloeden. «Een minderheidsprivatisering zal geen nadelige gevolgen hebben voor het netbeheer en de daarmee gemoeide publieke belangen. Deze zijn na splitsing adequaat geborgd door middel van wet- en regelgeving en het toezicht daarop. Een meerderheidsbelang blijft in publieke handen. De private minderheidsaandeelhouder kan wel een belangrijke rol spelen bij de verdere professionalisering van het aandeelhouderschap.»1153 De minister lijkt derhalve het continueren van overheidsaandeelhouderschap in de netbeheerder met name op te vatten als beschermingsconstructie, niet als een adequate sturingsvorm.
Het feit dat de minister weinig nut ziet in publiek aandeelhouderschap blijkt ook uit het feit dat hij meerderheidsprivatisering of zelfs volledige privatisering geen slecht plan lijkt te vinden. De minister geeft namelijk aan af te zien van een dergelijk pleidooi met een uitleg die niet bepaald principiële bezwaren tegen volledige privatisering bevat: «Het kabinet heeft gekozen voor minderheidsprivatisering omdat zij de publieke aandeelhouders in de gelegenheid wil stellen hun aandelenkapitaal zoveel mogelijk te verzilveren en er tegelijkertijd van uitgaat dat volledige privatisering niet conform de wens van de Tweede Kamer is.»1154
Wat betreft het afzwakken van het verbod op gelijktijdig aandeelhouderschap in netbeheerder en de commerciële delen van het bedrijf bevestigt de minister dat het eerder voorgenomen verbod op gelijktijdig aandeelhouderschap niet uit te voeren was. Het zou daarmee in de toekomst mogelijk zijn dat investeerders aandelen in zowel netbeheerders (indien [gedeeltelijke] privatisering zou worden toegestaan) als commerciële bedrijven kunnen verwerven. De minister merkt op dat de simultane private belangen in de bedrijven echter doorgaans aan beide zijden kleiner dan 50% mogelijk dienen te blijven, zonder het groepsverbod te schenden.1155 Bovendien geldt het verbod op aandeelhouderschap van een commercieel bedrijf in een netbeheerder, en vice versa, aldus de minister.1156
In reactie op de vragen waarom een netbeheerder wel onderdeel mag blijven van een commercieel concern stelt de minister dat hoe dan ook geborgd is dat de netbeheerder niet beïnvloed kan worden door energiebedrijven. De minister stelt dat een «stand-alone» netbeheerder niet wenselijk is.1157 Desalniettemin worden in twee nota’s van wijzigingen verdergaande eisen vastgelegd waaraan het netwerkbedrijf moet voldoen. Zo worden regels voorgesteld die beter waarborgen dat de financiële positie van de netbeheerder op orde is en dat de NMa hier toezicht op kan houden. Daarnaast worden regels vastgesteld om te waarborgen dat de activiteiten van de andere delen van het netwerkbedrijf niet ten koste gaan van het netbeheer. Zo mag het bredere netwerkbedrijf alleen activiteiten verrichten die niet strijdig zijn met het netbeheer, dus enkel activiteiten gerelateerd aan infrastructuur.
Wat betreft het versterken van de toezichthouder als alternatief voor het splitsingsplan reageert de minister afwijzend.1158 De minister stelt dat het inherent is aan de geïntegreerde structuur van energiebedrijven dat toezichtmogelijkheden belemmerd worden.1159 Daarnaast zou het waarborgen van onafhankelijkheid van de netbeheerder bij een ongesplitst bedrijf, naast een versterking van de toezichthouder, een stroom aan wet- en regelgeving vergen, zonder dat duidelijk is of onafhankelijkheid daadwerkelijk gewaarborgd wordt. De minister stelt dat het splitsingsvoorstel juist beoogt om door middel van een structuurmaatregel een einde te maken aan de stroom aan wet- en regelgeving.1160
Verbreding van debat: de toekomst van netbeheerder én commerciële bedrijven
Hoewel de PvdA-fractie in een overleg in november 2005 vragen had gesteld over de gevolgen van het splitsingsvoorstel voor de productiecapaciteit in Nederland, wordt pas vanaf februari 2006 veel aandacht besteed in de Tweede Kamer aan de gevolgen van de splitsing voor de commerciële kant van de energiesector. Daarbij kan bij verschillende fracties een wens tot een meer interveniërende of regievoerende rol van de rijksoverheid bij de toekomstige vormgeving van de energiesector worden geconstateerd. Daarnaast wordt veelvuldig de wens uitgesproken om de huidige publieke aandeelhouders meer mogelijkheden te geven om de bedrijven aan te sturen.
Allereerst wordt door de fracties van de ChristenUnie, D66, GroenLinks en het CDA gevraagd wat het effect van splitsing zou zijn voor investeringen in (duurzame) productiecapaciteit. 1161 Het CDA uit de vrees dat de energiebedrijven zonder net financieel minder slagkracht hebben en daardoor minder zullen investeren in productiecapaciteit. 1162 Deze fractie is ongerust dat de huidige plannen van de geïntegreerde bedrijven op het gebied van investeringen in productiecapaciteit op losse schroeven komen te staan als deze bedrijven gesplitst worden. De PvdA vindt dit geen goede reden om tegen het wetsvoorstel te zijn en stelt dat het «vreemd [is] als wij de netten gebruiken om centrales in Nederland te financieren. Dan hol je de financiële kracht van het net uit».1162
Centraal in de discussie staat echter de vrees van verschillende fracties voor overnames van de commerciële delen door grote buitenlandse bedrijven en het daarmee gepaard gaande verlies van publieke sturing van investeringen in productiecapaciteit. Zoals eerder al was aangestipt is de fusiegolf in de Europese energiemarkt een belangrijke aanleiding voor de geuite zorgen van verschillende fracties. De PvdA-fractie geeft aan liever geen grootschalige privatisering van productiedelen te zien, zodat «wij niet de boel uit handen geven en dat wij ook in de productie invloed houden, zodat wij mede bepalen wat er in dit land wordt gebouwd».1163 De PvdA-fractie tekent aan dat een privatiseringsverbod voor de commerciële delen wenselijk noch haalbaar was, mede omdat er nu al een tweetal private (buitenlandse) productiebedrijven op de markt actief zijn. Naast de PvdA zijn ook vanuit de fracties van de SP, GroenLinks, het CDA, de ChristenUnie en de LPF vragen te horen over de mogelijke verkoop van grote delen van de Nederlandse energiesector aan buitenlandse bedrijven.1164
De minister wordt door het CDA en de PvdA opgeroepen om met de publieke aandeelhouders in overleg te treden om te inventariseren in welke mate zij voornemens zijn om na splitsing aandelen in productiebedrijven van de hand te doen. Daarnaast wordt de minister door GroenLinks en de PvdA opgeroepen om de regie te nemen om de bedrijven te stimuleren in de toekomst afdoende te blijven investeren in (duurzame) productiecapaciteit en om de mogelijkheden te onderzoeken van allianties tussen productiebedrijven (bijvoorbeeld NUON en Essent) om gezamenlijke investeringen te doen.1165
Naast de vrees van verlies van sturing van de bedrijven, speelt ook de vrees dat Nederland op deze manier minder slagkracht zou hebben op het internationale toneel. «Energie betekent namelijk altijd macht», aldus Slob van de ChistenUnie.1166 Daarnaast wordt de mogelijke verkoop van de commerciële delen ter discussie gesteld vanwege de mogelijkheid dat deze delen door zeer grote buitenlandse, geïntegreerde energiebedrijven worden overgenomen. Veel fracties vinden dit een zeer bedenkelijke uitkomst van het wetsvoorstel; het is Nederlandse bedrijven verboden om als geïntegreerd bedrijf op de markt actief te zijn, terwijl vervolgens de afgesplitste delen wel onderdeel kunnen worden van een internationaal geïntegreerd concern.1167
Daarnaast wordt ook aandacht gevraagd voor de mogelijkheid om na de implementatie van de wet het regionale netwerkbeheer te herstructureren. De PvdA en GroenLinks vragen of het mogelijk is voor de minister om een regierol te voeren bij een herstructureringsproces om door middel van fusies en reorganisaties te komen tot een meer efficiënt georganiseerde sector.1168 GroenLinks wil zelfs zo ver gaan om het regionale netbeheer te nationaliseren en te komen tot een Rijkswaterstaat (of TenneT 2) model.1169
De VVD uit kritiek op deze pleidooien voor een regierol van de rijksoverheid bij het herstructureren van de sector, het beïnvloeden van het gedrag van de energiebedrijven en de waarde die andere fracties hechtten aan publiek aandeelhouderschap. Zo is de VVD kritisch over het voorstel van de PvdA om als rijksoverheid de investeringsbeslissingen van bedrijven te beïnvloeden. Daar gaan het parlement en het ministerie niet over, zo is het oordeel. Ook stelt de VVD fractie de focus van andere fracties op publiek aandeelhouderschap ter discussie, zowel van de commerciële delen als van het netbeheer: «De vraag is wat wij met het publieke eigendom moeten doen. Af en toe moet ik constateren dat men geobsedeerd is door het publieke eigendom zonder dat wordt nagegaan wat het precies oplevert. (...) Als ten aanzien van de netten private professionele aandeelhouders aan de overheidsaandeelhouders worden toegevoegd, wordt de positie van de aandeelhouders als geheel veel sterker. Dat is goed voor een efficiënte bedrijfsvoering.»1170
De minister voelt, net als de VVD-fractie, niets voor de voorgestelde regiefunctie van de rijksoverheid om de sector te herstructureren. Wat hem betreft is de taak voor de rijksoverheid om adequate voorwaarden te scheppen om goede marktwerking tot stand te brengen, waarbij het mededingingstoezicht van groot belang is: «Ik ben voor een heldere marktstructuur en voor een sterke structuur waarin de publieke belangen worden geborgd, maar ik ben er niet voor om als een soort regisseur het stuur over te nemen van de aandeelhouders van verschillende overheidsbedrijven.»1171
De minister ziet dan ook niets in het plan om netbeheerders te nationaliseren om zo het netbeheer te herstructureren. Hoewel de minister het wenselijk acht dat er een herstructurering van de sector zou plaatsvinden tot bijvoorbeeld drie á vier netbeheerders (zonder herstructurering komen er ongeveer twaalf netbeheerders), was dit voor hem geen noodzaak. Bovendien benadrukt de minister het belang van het bestaan van verschillende netbeheerders, zodat via benchmarking de prestaties van de bedrijven kunnen worden vergeleken om zo minder presterende bedrijven te prikkelen om hun prestaties te verbeteren.1172
In reactie op de vrees van verschillende fracties dat splitsing ten koste zou kunnen gaan van investeringen in de productiecapaciteit, stelt de minister dat productiecapaciteit niet afhankelijk zou moeten zijn van het bezit van netten: «Geïntegreerde bedrijven hebben er geen baat bij om te investeren in de netten als dit vooral in het voordeel is van hun concurrent. Het gaat er mij juist om dat er voldoende en tijdig wordt geïnvesteerd in de netten, onafhankelijk van de producenten, handelaars en leveranciers die van de netten gebruik willen maken.»1173
De minister, hierbij gesteund door de VVD-fractie, stelt niets te kunnen doen aan de toekomstige privatisering van de commerciële delen van de energiebedrijven. De minister merkt allereerst op dat de privatisering van de commerciële delen op dat moment al mogelijk is, mits voorafgegaan door een vrijwillige afsplitsing van het netbeheer en mits het economische en juridische eigendom van het net niet wordt meegeprivatiseerd. Daarnaast vindt hij het de verantwoordelijkheid van de aandeelhouders om te bepalen of zij al dan niet overgaan tot de verkoop van de commerciële delen.1174 De minister stelt dat gelet op de internationale consolidatieslag, het onvermijdelijk is dat Nederlandse energiebedrijven op termijn opgaan in internationale concerns.1175 De minister benadrukt verder dat overheidsaandeelhouderschap geen garantie is voor investering in productiecapaciteit.1176 Goede marktwerking en een aantrekkelijk investeringsklimaat zijn volgens de minister de cruciale voorwaarden voor voldoende investeringen.1177 Dit impliceert ook dat het voor investeringen in productiecapaciteit niet uitmaakt of het bedrijf Nederlandse aandeelhouders heeft of onderdeel is van een buitenlands concern: «Er is geen reden om aan te nemen dat indien Nederlandse energiebedrijven worden overgenomen door buitenlandse partijen, dit negatieve gevolgen zal hebben voor de leveringszekerheid. In een vrije markt worden investeringen niet bij voorkeur gedaan in een thuisland, maar daar waar deze het meeste rendement opleveren.»1178
Invloed van publieke aandeelhouders vergroten
De parlementariërs hebben ook aandacht voor de sturingsmogelijkheden van de publieke aandeelhouders. Er is zowel aandacht voor gebrek aan expertise van de huidige aandeelhouders als voor de gebrekkige mogelijkheden om invloed uit te oefenen op de bedrijven vanwege de zeggenschapsstructuur. Wederom vindt de minister dat hierbij geen sturende functie voor de rijksoverheid nodig is.
Vanuit de Tweede Kamer wordt kritiek geuit op het kennisniveau van de aandeelhouders ten opzichte van de bestuurders van energiebedrijven. Zo stelt GroenLinks dat aandeelhouders geen zelfstandig perspectief formuleren op het ondernemingsbeleid ten opzichte van het bestuur: «Als de energiebaronnen pleiten voor privatisering, pleiten de aandeelhouders voor privatisering; als energiebaronnen pleiten tegen splitsing, pleiten de aandeelhouders grotendeels tegen splitsing».1179
Met name de PvdA roept de minister op om actief de aandeelhouders van de benodigde kennis te voorzien om hen meer inzicht te geven in de bevoegdheden die zij hadden bij het aansturen van de energiebedrijven.1174 De minister gaat echter lange tijd niet in op de wenselijkheid van een dergelijke maatregel (dit komt pas terug in de discussie met de Eerste Kamer, zie hieronder).1174
Daarnaast vragen verschillende fracties, met name de PvdA, op welke manier de aandeelhouders meer macht naar zich toe kunnen trekken. Crone stelt bijvoorbeeld dat «de aandeelhouders geen bal te vertellen [hebben]. De aandeelhouders zijn in de huidige statuten namelijk helemaal buiten spel gezet. De holding mag namelijk alles zelf beslissen».1179 De PvdA vraagt of het in de toekomst mogelijk zou zijn om het verzwakte structuurregime (dat aandeelhouders meer invloed gaf) bij energiebedrijven in te voeren die niet meer voor 100% maar wel in meerderheid in overheidsbezit waren.1180 Crone (PvdA) roept aandeelhouders op om de macht naar zich toe te trekken ten opzichte van het bestuur, zodat zij op hoofdlijnen van het ondernemingsbeleid kunnen sturen.1181
De minister geeft aan dat het wenselijk zou zijn als de aandeelhouders meer macht naar zich toe zouden trekken. Met de wijziging in 2004 van het structuurregime door de invoering van de Code Tabaksblat is het al mogelijk geworden om bij het bepalen van de statuten meer macht aan de aandeelhouder te geven; het afdwingen van sterkere sturingsmogelijkheden is derhalve een zaak van de aandeelhouders.1182 Dat zij deze mogelijkheid (nog) niet hebben gebruikt, is aan henzelf toe te schrijven, aldus de minister.1183 De invoering van het verzwakte structuurregime bij gedeeltelijk geprivatiseerde energiebedrijven acht hij niet wenselijk.1184
Plenaire afsluitende debatten in de Tweede Kamer
Tijdens de slotdebatten blijkt duidelijk dat een groot deel van de Tweede Kamer het wenselijk vindt dat de rijksoverheid een regiefunctie neemt bij de toekomstige herstructurering van de sector en dat voorkomen moet worden dat er een uitverkoop van de Nederlandse energiesector zou plaatsvinden. De PvdA pleit voor actief overleg van de nationale overheid met de aandeelhouders om te bezien of na splitsing de commerciële delen niet grotendeels worden geprivatiseerd. De PvdA en het CDA roepen in een motie de minister op om in overleg te treden met de aandeelhouders teneinde overheidsaandeelhouderschap in de commerciële energiebedrijven na splitsing te continueren.1185 Daarnaast wordt de minister via een motie door de PvdA en de VVD opgeroepen om in gesprek te treden met aandeelhouders en directies om te bezien of in geval van een internationale fusie aansluiting kan worden gezocht bij partijen die een tegenwicht kunnen bieden aan de dominerende Europese spelers.1186 Deze twee moties worden aangenomen. De SP en de PvdA roepen in een motie de minister zelfs op om te onderzoeken of de rijksoverheid (een deel van de) aandelen kan overnemen van de lagere overheden, wellicht indirect via de Bank Nederlandse Gemeenten, maar deze motie wordt niet aangenomen door gebrek aan steun van de coalitiepartijen.1187 Daarnaast is GroenLinks nog steeds pleitbezorger voor het nationaliseren van de distributienetten om te komen tot een soort TenneT 2.1188 Tenslotte roepen de VVD en GroenLinks de minister in een (aangenomen) motie op om te onderzoeken of de bevoegdheden van de mededingtoezichthouders op Europees en nationaal niveau adequaat zijn om te voorkomen dat er in de toekomst onwenselijke concentraties ontstaan op de energiemarkten.
De minister vindt de angst voor privatisering van de commerciële delen onterecht. Hij stelt dat voorkomen moet worden dat de Wet Onafhankelijk Netbeheer een antiprivatiseringswet wordt, immers een van de oorspronkelijke redenen voor deze wet was juist om de privatiseringsimpasse te doorbreken.1109 Het overnemen van aandelen in de commerciële delen door de staat is niet wenselijk. Dat staat haaks op het deelnemingenbeleid van de overheid, wat inhoudt dat geen aandelen verworven moeten worden in commerciële, risicodragende activiteiten.1189 De minister ziet daarom niets in het voorstel om het netbeheer te nationaliseren. Hij stelt dat het de verantwoordelijkheid van de netwerkbedrijven zelf is om te komen tot een efficiënte herstructurering van het netbeheer. Daarnaast herhaalt hij de wenselijkheid van het naast elkaar bestaan van verschillende netbeheerders, omdat dit benchmarking mogelijk maakt.1109
Wel stelt de minister dat, om de motie van het CDA en de PvdA en die van de VVD en de PvdA in te vullen, het mogelijk is om met aandeelhouders in gesprek te gaan om te bezien welke toekomstige rol de aandeelhouders voor zichzelf zien in de energiesector.1190 Uit de brief waarin gerapporteerd wordt over deze gesprekken blijkt echter dat aandeelhouders en bestuursvoorzitters verschillend tegen privatisering aankijken. Hoewel het merendeel van de aandeelhouders heeft aangegeven op korte termijn (maximaal 4 à 5 jaar) aandeelhouder te willen blijven, kunnen zij niet uitsluiten dat binnen die termijn hun aandelen alsnog zouden worden verkocht. Wel geven de aandeelhouders aan dat bij eventuele verkoop ze niet zonder meer zullen kiezen voor de hoogst biedende partij maar ook publieke belangen zullen meewegen. De minister geeft met de gesprekken invulling aan de moties, door de aandeelhouders te attenderen op hun verantwoordelijkheden: «De betreffende gemeenten en provincies zijn zich bewust van hun bijzondere positie als publieke aandeelhouder. Zij begrijpen de zorgen van de Tweede Kamer omtrent de Europese marktverhoudingen en voorzieningszekerheid. Alhoewel er geen sprake is van een uniform beeld, heeft het merendeel van de aandeelhouders aangegeven niet zonder meer de aandelen in de commerciële delen op korte termijn te willen vervreemden. Hierdoor is er geen aanleiding te verwachten dat de Nederlandse productiecapaciteit op korte termijn verkocht zal worden.»1191
Het debat in de Eerste Kamer op het gebied van sturing en controle staat, net als de debatten in de Tweede Kamer, in het teken van de vrees voor het verlies van overheidsinvloed bij een omvangrijke privatisering van de sector. Echter, daar waar de meerderheid van de Tweede Kamer hierover vragen stelt met het uitgangspunt dat splitsing in de toekomst een realiteit zou zijn, worden in de Eerste Kamer deze vragen gesteld om de wenselijkheid van het gehele wetsvoorstel te toetsen.
Vrijwel alle fracties zien een verregaande privatisering van de commerciële bedrijven na splitsing als problematisch. Het CDA, de PvdA, GroenLinks en de SP uiten zorgen over deze mogelijke ontwikkeling. Met name het feit dat het waarschijnlijk zou gaan om overnames door buitenlandse spelers, zorgt voor bezorgdheid. Zo vraagt de SP of Nederland zo niet te afhankelijk wordt van «ondernemingen die geen specifieke verantwoordelijkheid voor het publieke belang voelen en zich slechts door winstverwachtingen zullen laten leiden.»1192 De PvdA vraagt in hoeverre de minister de mogelijke toekomstige overname van Nederlandse productiebedrijven zorgelijk vindt. GroenLinks vraagt of dergelijke overnames de «toekomstige invloed van de Nederlandse overheid op de energievoorziening in eigen land [verkleint].»1193 En het CDA stelt vragen over de mogelijke invloed van de overheid om de uitlevering van Nederlandse bedrijven aan het buitenland te voorkomen.1194
Hoewel er bij de schriftelijke vragen nog aandacht wordt gevraagd door D66 en de PvdA voor de toekomst van de netbeheerder, speelt deze kwestie slechts een marginale rol in het debat. Er worden, net als in de Tweede Kamer, vragen gesteld over de risico’s van het onderbrengen van een netbeheerder in een commercieel vennootschap. Wat daarnaast opvalt is dat er unanimiteit bestaat over de onwenselijkheid van een gedeeltelijke privatisering van het netbeheer. Zelfs het CDA, de PvdA en D66, die in de Tweede Kamer nog hadden gesteld dat een minderheidsprivatisering aanvaardbaar kon zijn, tonen zich voorstander van 100% overheidsaandeelhouderschap.1195 Ook de VVD benadrukt dat borging van publieke belangen die met het netbeheer gemoeid zijn het beste kan gebeuren via overheidsaandeelhouderschap.1196 De GroenLinks-fractie vraagt daarentegen (net als in de Tweede Kamer) of het mogelijk is om het regionale netbeheer te nationaliseren.1197 Daarnaast worden vragen gesteld naar aanleiding van een brief van de minister van Financiën, waarin de suggestie wordt gewekt dat TenneT BV in de toekomst (deels) geprivatiseerd gaat worden. Veel fracties benadrukken dat zij dit zeer onwenselijk zouden vinden.1198
Tot slot worden wederom vragen gesteld over de mogelijkheid om een versterking van het overheidstoezicht als alternatief voor het splitsingsplan.1199 Ook worden er, net als in de Tweede Kamer, vragen gesteld of het Nederlandse en Europese mededingingstoezicht wel sterk genoeg is om in de toekomst adequate marktwerking te garanderen en te voorkomen dat er een te grote marktmacht van buitenlandse bedrijven ontstaat.1200
De reactie van minister Wijn op deze vragen is grotendeels in overeenstemming met zijn voorganger Brinkhorst. Ook hij ziet geen reden om de mogelijk toekomstige privatisering van de commerciële kant van de energiesector te blokkeren. Wel zwijgt hij over de mogelijke voordelen van privaat aandeelhouderschap, bijvoorbeeld in de netbeheerder. In plaats daarvan benadrukt hij juist de voordelen van publiek aandeelhouderschap in het netbeheer: «Publiek aandeelhouderschap kan in dit verband bijdragen aan een goed beheer van de energienetwerken. Publieke aandeelhouders laten zich immers niet alleen leiden door commerciële overwegingen, maar zullen ook oog hebben voor de publieke belangen die spelen rondom de energievoorziening. Daarnaast versterkt publiek eigendom in geval van wanbeheer de mogelijkheden om snel in te grijpen».1117
De minister stelt hiermee dat publiek aandeelhouderschap gewenst is voor zowel bescherming als sturing, terwijl zijn voorganger überhaupt weinig vertrouwen toonde in de sturende functie van publiek aandeelhouderschap. Wel stelt hij, naar aanleiding van vragen van Sylvester (PvdA), de oprichting van een shareholders academy voor – iets waar Crone (PvdA) in de Tweede Kamer discussies al om vroeg.1174 Het ministerie van Economische Zaken zal een expertisecentrum oprichten om aandeelhouders meer inzicht te kunnen geven in hun bevoegdheden als aandeelhouder.1201
Net als zijn voorganger hanteert de minister voornamelijk het perspectief waarin de nadruk werd gelegd op het scheppen van adequate voorwaarden om sturing en controle te regelen. Zo stelt hij dat, hoewel publieke aandeelhouders publieke belangen kunnen laten meewegen bij het invullen van hun aandeelhouderschap, publieke belangen hoofdzakelijk worden behartigd via de weg van wet- en regelgeving.1202 Volgens hem is de taak van de overheid om zorg te dragen van goede marktordening, waarbinnen marktpartijen opereren.1203 Hij wijst dan ook de optie af dat versterkt toezicht op de energiebedrijven een alternatief kan zijn voor het splitsingsonderdeel van de wet, omdat dit niet de juiste marktstructuur zou opleveren waarin goed toezicht kan worden uitgeoefend. Ook acht hij het bestaande mededingingsinstrumentarium geschikt om toekomstige adequate mededinging te garanderen.1204
Tijdens het wetgevingstraject wordt ook aandacht besteed aan het vraagstuk van publieke belangen. Deze discussie is echter nogal complex, mede omdat het begrip «publiek belang» niet eenduidig wordt gehanteerd. Vanwege deze complexiteit zal de discussie hieronder gestructureerd worden aan de hand van een gangbaar onderscheid tussen verschillende publieke belangen.1205 Er kan op basis van wetenschappelijke literatuur en beleidsdocumenten grofweg een vierdeling worden gemaakt van de publieke belangen die in de energiesector behartigd dienen te worden: (1) efficiëntie; (2) toegankelijkheid; (3) betrouwbaarheid; en (4) milieuvriendelijk en duurzaam (zie kader 5.3 voor een nadere duiding van deze begrippen).1206 Hoewel men in de discussie dus niet altijd specifiek deze termen hanteerde wanneer men sprak over publieke belangen, kan de discussie wel als zodanig worden geordend.1207
Kader 5.3. Publieke belangen in de energiesector
Bij het publieke belang van efficiëntie (1) gaat het doorgaans om het produceren van een product of dienst tegen zo laag mogelijke kosten (productieve efficiëntie). Ook kan het gaan om dynamische efficiëntie: de introductie van nieuwe productiemiddelen (innovatie). Bij toegankelijkheid (2) gaat het om het belang dat iedereen in principe de mogelijkheid heeft gebruik te maken van een product. Aspecten van dit publieke belang zijn bijvoorbeeld de betaalbaarheid van het product en het aan- en afsluitbeleid van de bedrijven. Betrouwbaarheid (3) bevat doorgaans twee componenten: (3a) leveringszekerheid; en (3b) voorzieningszekerheid. Leveringszekerheid (3a) is de beschikbaarheid van energie op de korte termijn, waarbij het dus onder andere gaat om het voorkomen van stroomstoringen en het voorhanden zijn van voldoende productiecapaciteit om in de energiebehoefte te voorzien. Voorzieningszekerheid (3b) is de beschikbaarheid van energie op de lange termijn, waarbij het gaat om voldoende investeringen in productiecapaciteit en de toegang tot afdoende energiebronnen om aan de energievraag te voldoen. Bij het belang van milieuvriendelijk en duurzaam (4) gaat het erom dat energie op een manier wordt opgewekt en verbruikt die niet ten koste gaat van het milieu en dat het huidige verbruik van energiebronnen niet ten koste gaat van de mogelijkheid voor toekomstige generaties om van deze energiebronnen gebruik te maken.
Deze publieke belangen kunnen zowel in elkaars verlengde liggen als strijdig zijn met elkaar. Efficiëntie kan bijvoorbeeld toegankelijkheid bevorderen als energie goedkoper en dus beter betaalbaar wordt. Deze publieke belangen kunnen echter ook conflicteren als bijvoorbeeld bedrijven een strenger afsluitbeleid voeren om kosten te minimaliseren.
In de memorie van toelichting wordt gesteld dat het wetsvoorstel zou bijdragen aan het behartigen van de publieke belangen van efficiëntie (1), toegankelijkheid (2) en leveringszekerheid (3a). Daarbij wordt gesteld dat het niets zou afdoen aan de voorzieningszekerheid (3b) en de transitie naar een schone en duurzame energievoorziening (4). Net als bij het sturingsvraagstuk hanteert de minister een voorwaardenscheppend perspectief; het splitsen van energiebedrijven zal de marktwerking bevorderen en draagt derhalve bij aan het publieke belang van efficiëntie.1208 Het structureel onafhankelijk maken van het netbeheer ten opzichte van commerciële activiteiten draagt bij aan een verbetering van het onderhoud van het net en derhalve aan de leveringszekerheid, aldus de minister. Ook de overdracht van het beheer van de hoogspanningskabels 110 kV-150kV aan TenneT BV zou bijdragen aan de leveringszekerheid.1209
Hoewel de Tweede Kamer aanvankelijk lijkt mee te gaan in de redenering van de minister dat dit wetsvoorstel bijdraagt aan de publieke belangen van efficiëntie en leveringszekerheid, worden gaandeweg het traject zorgen geuit over de mogelijke gevolgen van een significante privatisering van de energiesector (die mogelijk zou volgen op splitsing) voor de efficiëntie, toegankelijkheid en de voorzieningszekerheid. Op het gebied van efficiëntie vraagt men of er wel genoeg marktwerking is als grote buitenlandse energiebedrijven Nederlandse energiebedrijven opkopen. Wat betreft toegankelijkheid wordt vooral gewaarschuwd voor de mogelijk hoge kosten die gepaard kunnen gaan met de invoering van de wet en is er aandacht voor het afsluitbeleid van de energiebedrijven. Daarnaast vragen diverse fracties zich af of er in de toekomst wel voldoende zal worden geïnvesteerd in productiecapaciteit en of de Nederlandse energiesector internationaal niet dusdanig zal verzwakken dat de inkoop van energiebronnen in gevaar kan komen. Bovendien vraagt met name GroenLinks of Nederland met deze wet niet de verkeerde prioriteit kiest in het energiebeleid, namelijk een gebrekkige focus op het belang van een energietransitie naar schone en duurzame energiebronnen. Net als in de discussie over «sturing en controle» wenst de Tweede Kamer een meer interveniërende rol van de overheid, zowel van de publieke aandeelhouders als van de rijksoverheid om de publieke belangen te behartigen.
Door deze kritiek gaat de minister steeds meer de positieve elementen van de wet benadrukken voor de verschillende publieke belangen. Bijvoorbeeld dat de investeringen in productiecapaciteit niet onder druk komen te staan door deze wet en juist beter geborgd worden, vanwege een verbetering van de marktwerking. Ook stelt de minister gaandeweg dat dit wetsvoorstel bijdraagt aan een transitie naar een duurzame energievoorziening: «Wij zetten vandaag een belangrijke stap op weg naar een duurzame energievoorziening in Nederland.»1210 De manier waarop dit wetsvoorstel zal bijdragen aan een duurzame energievoorziening wordt evenwel niet geëxpliciteerd. Kortom, de minister beargumenteert gaandeweg dat dit wetsvoorstel zal bijdragen aan het behartigen van alle genoemde publieke belangen. De minister is echter nog steeds geen voorstander van een meer sturende of interveniërende rol van de overheid bij het behartigen van publieke belangen; de voorgestelde structuurmaatregelen zijn adequaat om publieke belangen te behartigen. Er worden wel maatregelen genomen om het publieke belang van de toegankelijkheid te borgen.
Efficiëntie en betaalbaarheid
De minister stelt dus dat het wetsvoorstel zal bijdragen aan een verbetering van de marktwerking en derhalve aan het publieke belang van efficiëntie. Volgens hem zal splitsing leiden tot eerlijkere concurrentie op het net en heeft dit «een economisch efficiëntere energievoorziening in Nederland tot gevolg».1208 Naast grotere concurrentie kan ook splitsing zelf bijdragen aan een optimalisatie van bedrijfsprocessen bij de afgesplitste bedrijven en derhalve ook op bedrijfsniveau efficiëntie bevorderen.1208 Ten slotte draagt de verwachte toekomstige (gedeeltelijke) privatisering van de energiebedrijven bij aan dit publieke belang, omdat private aandeelhouders meer gefocust zouden zijn op het optimaliseren van bedrijfsprocessen.
De Tweede Kamer lijkt in het begin van het wetstraject redelijk overtuigd dat splitsing kan bijdragen aan verbetering van de marktwerking en derhalve het publieke belang van efficiëntie. Gaandeweg het traject worden echter vragen gesteld over de verhouding tussen kosten en baten, en of de mogelijk hoge kosten wellicht de baten teniet zouden doen. Op het gebied van zowel kosten als baten bestaat namelijk een grote mate van onduidelijkheid. Wat betreft de kosten is met name onzeker hoe hoog de CBL-kosten kunnen zijn. Ook over de baten wordt nogal wat discussie gevoerd. Het CPB heeft in een studie in 2005 aangegeven dat de baten van het wetsvoorstel betrekkelijk gering zullen zijn. Omdat de minister blijft benadrukken dat het wetsvoorstel zeer hoge baten zou hebben, verzoekt het parlement de minister om een heldere analyse te presenteren om de kosten en baten van het wetsvoorstel tegenover elkaar te zetten.1100 De minister geeft gehoor aan deze oproep en verzoekt een externe commissie (de commissie-Kist, ook wel de «Validatiecommissie» genoemd) om hierop in te gaan.1211 Die commissie vraagt het CPB om een actualisatie te maken van de kostenbaten-analyse.1212
Hoewel het CPB aangeeft dat het «onmogelijk [is] om een nauwkeurige inschatting te geven van de omvang van de welvaartseffecten», stelt het CPB dat het netto-welvaartseffect mogelijk 1,5 miljard euro kan zijn.1213 Mits splitsing gepaard gaat met een grotere rol van decentrale opwekking, zou dit resulteren in een privatisering van commerciële activiteiten en een gedeeltelijke herkapitalisatie van het netwerkbedrijf.1214 De mogelijke kosten van afwikkeling of herstructurering van CBL-contracten worden hierbij niet meegenomen, omdat de omvang van deze kostenpost niet goed in te schatten was.1214
Een groot deel van de Tweede Kamer lijkt tevreden met deze conclusie en de onderbouwing daarvan, maar diverse fracties beginnen zich toch meer zorgen te maken om de mogelijke gevolgen van privatisering van de commerciële activiteiten voor de marktwerking in Nederland. Zoals eerder is uiteengezet, vreesde men dat de overname van de Nederlandse energiebedrijven voor een afname van concurrentie zou zorgen en daarmee een negatief effect zou hebben op het publieke belang van een efficiënte energievoorziening. In het afsluitende plenaire debat wordt de minister door de VVD en GroenLinks met een (aangenomen) motie opgeroepen om te inventariseren of het instrumentarium van de NMa en de Europese Commissie toereikend is om te voorkomen dat er in de toekomst onwenselijke concentraties ontstaan op de Nederlandse en Europese markt.1215 Indien uit deze inventarisatie zou blijken dat dit instrumentarium niet adequaat is, wordt de minister verzocht om voorstellen te doen om de bevoegdheden en instrumenten van deze toezichthouders uit te breiden.1215 Ook wordt de minister verzocht om met de aandeelhouders in gesprek te gaan om te inventariseren in hoeverre die voornemens waren om na splitsing de commerciële activiteiten te verkopen (zie hierboven).
Toegankelijkheid
Het publieke belang van toegankelijkheid omvat ten minste de betaalbaarheid van energie en het afsluitbeleid van de energiebedrijven.1216 Omdat in paragraaf 5.5 uitgebreid wordt ingegaan op de parlementaire discussie over de effecten van de wet op de consument op het gebied van kosten en afsluitbeleid, zal hier slechts zeer kort worden ingegaan op de discussie over dit publieke belang.
De minister benadrukt dat dit wetsvoorstel eerlijke concurrentie zal bevorderen en daarmee uiteindelijk de consument ten goede komt, omdat dit leidt tot «echte concurrentie en eerlijke prijsvorming voor levering en transparantere en meer kostengeoriënteerde nettarieven».1217 De minister geeft aan dat de consument mogelijk wordt geconfronteerd met een eenmalige prijsverhoging als gevolg van doorberekening van de reorganisatiekosten, maar hij acht de kans hierop beperkt; bij een prijsverhoging zou het energiebedrijf zichzelf uit de markt prijzen.1218 Hij acht het waarschijnlijker dat de kosten zich vertalen naar lagere winsten en dividenduitkeringen.1219 De minister gaat niet in op het afsluitbeleid van de energiebedrijven.
De fracties in de Tweede Kamer stellen nogal wat vragen over de effecten van de wet op de prijs voor energie. Verschillende fracties zijn niet gerust op de verwachting van de minister dat consumenten waarschijnlijk niet met prijsstijgingen worden geconfronteerd. Daarom wordt de minister verzocht om maatregelen te treffen om de kosten van de wet niet ten laste te laten komen van de consument om zo de betaalbaarheid van energie te garanderen. Verschillende fracties vragen bovendien aandacht voor het afsluitbeleid van energiebedrijven. De minister wordt verzocht om regelingen te treffen om energiebedrijven een preventief beleid te laten voeren om zo afsluitingen te voorkomen. Bovendien wordt gepleit voor een afsluitbeleid in de winter waarbij energiebedrijven in principe niet afsluiten, tenzij evident sprake was van apert misbruik door de afnemer. De Tweede Kamer besteedt derhalve veel aandacht aan het publieke belang van toegankelijkheid van energie.
Op deze punten komt de minister de Tweede Kamer tegemoet. Hij stelt maatregelen voor om te zorgen dat energiebedrijven de kosten van de wet niet doorberekenen. Ook accepteert hij de verzoeken om een ander afsluitbeleid te stimuleren bij energiebedrijven.
Betrouwbaarheid
De minister stelt dat dit wetsvoorstel goed zou zijn voor de leveringszekerheid (publiek belang 3a). Hoewel volgens de minister de leveringszekerheid al adequaat geborgd was met de I&I-wet, zal met name de overdracht van het beheer van de netten van 110 en 150 kV aan TenneT BV bijdragen aan het vergroten van de leveringszekerheid: «de centralisatie van het beheer van de transportnetten [verkleint] de kans op grootschalige stroomstoringen».1100 Daarnaast zou kwaliteitsregulering van het netbeheer kunnen worden verbeterd vanwege «de toegenomen onafhankelijkheid, zelfstandigheid en transparantie van de beheerders van de distributienetten».1159 Wat betreft voorzieningszekerheid (3b) – energiezekerheid op de lange termijn – stelt de minister dat er «geen directe relatie [is] tussen dit wetsvoorstel en de beleidsambities op het gebied van voorzieningszekerheid».1220
Hoewel de Tweede Kamer nauwelijks vraagtekens plaatst bij het perspectief van de minister op de leveringszekerheid, wordt wel gevraagd of dit wetsvoorstel niet zou afdoen aan de voorzieningszekerheid en of daarmee dit publieke belang niet onder druk zou komen. Men maakt zich met name zorgen om investeringen in productiecapaciteit. De ChristenUnie, D66, GroenLinks en het CDA spreken de vrees uit dat de energiebedrijven zonder net minder investeren in productiecapaciteit.1100 Centraal in de discussie staat de vrees van de PvdA, de SP, GroenLinks, het CDA de ChristenUnie en de LPF dat na splitsing de commerciële delen door grote buitenlandse bedrijven zouden worden overgenomen die een minder groot belang hebben om te investeren in Nederlandse productiecapaciteit.1100 Deze fracties hebben meer vertrouwen in publiek aandeelhouderschap om voorzieningszekerheid te borgen, hoewel de VVD hier kritiek op heeft. In de motie waarin het CDA en de PvdA de minister oproepen met de aandeelhouders te gaan praten over privatisering, stellen zij dan ook «dat het publieke belang van voorzieningszekerheid een rol voor de overheid in de aansturing van energiebedrijven rechtvaardigt.»1221
De minister antwoordt echter herhaaldelijk dat voorzieningszekerheid niet wordt geborgd door publiek aandeelhouderschap maar door «een goedwerkende markt en een goed investeringsklimaat.»1176 Hoewel eerst werd gesteld dat dit wetsvoorstel weinig te maken had met voorzieningszekerheid, wordt nu het volgende door de minister benadrukt: «producenten moeten voldoende [productie]capaciteit behouden. Dat gebeurt als de markt goed werkt en het investeringsklimaat goed is. Dat proberen wij verder te verbeteren met dit wetsvoorstel.»1177 Ook zou een «stabiel politiek klimaat met een vaste en vasthoudende koers» goed zijn voor de voorzieningszekerheid, omdat het zou bijdragen aan een aantrekkelijk investeringsklimaat.1222 Kortom, de minister reageert afwijzend op de kritiek dat dit wetsvoorstel slecht zou zijn voor de voorzieningszekerheid, en benadrukt juist dat het wetsvoorstel bijdraagt aan dit publieke belang.
Milieuvriendelijk en duurzaam
Net als bij het belang van voorzieningszekerheid, stelt de minister eerst dat dit wetsvoorstel geen relatie heeft met het Nederlandse beleid op het gebied van een transitie naar een schone en duurzame energievoorziening (4).1220 Er wordt echter wel terzijde opgemerkt dat dit wetsvoorstel zou bijdragen aan «de mogelijkheden voor decentrale – overwegend duurzame of innovatieve – elektriciteitsopwekking, aangezien deze opwekking meestal is aangesloten op distributienetten en de onafhankelijkheid en zelfstandigheid van die netten wordt versterkt waardoor mogelijke toetredingsdrempels voor investeerders in decentrale opwekking worden weggenomen.»1220 Een mogelijk effect van de wet is dus een belangrijkere rol van decentrale elektriciteitsopwekking, wat een bijdrage kon betekenen aan dit publieke belang.
Met name GroenLinks toont zich kritisch over het ontbreken van een duurzaamheidsaspect van deze wet. Deze partij is van mening dat het energiebeleid de verkeerde prioriteit legt door te focussen op privatisering en liberalisering van de sector. 1223 De PvdA, het CDA, D66 en de ChristenUnie maken zich ook zorgen om het duurzaamheidsaspect, en vragen de minister in hoeverre splitsing van energiebedrijven en de eventuele privatisering daarvan de investeringen in duurzame energieproductie in Nederland in gevaar zou kunnen brengen.1224 GroenLinks roept de minister herhaalde malen (en uiteindelijk in een motie) op om «het initiatief te nemen voor het opstarten van een Nationale Energie Conventie om de noodzakelijke transitie naar een duurzame energievoorziening met alle partijen uitgebreid te bespreken en de rol die de verschillende partijen hebben goed te definiëren».1225 Deze motie wordt aangenomen. De Kamerleden Hessels (CDA), De Krom (VVD) en Crone (PvdA) roepen de minister in een aangenomen motie op om in overleg te treden met de glastuinbouwsector om te zien hoe decentraal opgewekte elektriciteit optimaal kan worden teruggeleverd aan het net.1226
In zijn reactie ontkent de minister allereerst dat gesplitste bedrijven minder in duurzame energie zullen investeren: «De ontwikkeling van duurzame energie wordt bepaald door diverse factoren, zoals de strategie van de bedrijven, de werking van de markt en de regulering en stimulering door de overheid. Er is met andere woorden geen directe relatie tussen splitsing en privatisering van productiebedrijven en de ontwikkeling van duurzame energie. Het is in ieder geval niet juist te veronderstellen dat private bedrijven zonder netten per definitie minder investeren in duurzame energie.»1227 De minister reageert echter positief op het verzoek van GroenLinks om te komen tot een nationale energiedialoog – een groep van circa 15 mensen uit wetenschap, bedrijfsleven en overheid – om te bezien hoe de transitie naar duurzaamheid kan worden ingezet. Deze groep wordt verzocht «in brede zin inhoud te geven aan de nationale energiedialoog. Daarbij worden alle vormen van energie getoetst op hun houdbaarheid en op hun bijdrage aan de transitie op een duurzame energiehuishouding».1228 Dit resulteerde in het RegieOrgaan Energietransitie, een orgaan dat zich richtte op het bevorderen van de transitie naar duurzame energie en uiteindelijk in 2011 weer werd opgeheven.1229 Wat betreft het verzoek om de teruglevering van decentraal opgewekte energie door de glastuinbouw te bevorderen wordt door het ministerie overlegd met de betrokken tuinders en netbeheerders en is afgesproken om tuinders versneld aan te sluiten op het net.1230
Zoals in paragraaf 5.3 is uiteengezet stellen de fracties uit de Eerste Kamer vooral vrij fundamentele vragen over de noodzaak en proportionaliteit van de wet. De manier waarop de wet publieke belangen behartigt of met welke instrumenten publieke belangen geborgd zouden moeten worden na implementatie van de wet spelen daarom een kleinere rol in het debat.
Minister Wijn zet net als zijn voorganger uiteen dat de wet primair beoogt om de publieke belangen die bij de netten in het geding zijn te behartigen. Hierbij noemt hij het belang van het stimuleren van concurrentie (voor efficiëntie en betaalbaarheid) en het verbeteren van de leveringszekerheid. Wat opvalt is dat de minister expliciet spreekt over «de borging van essentiële publieke belangen als leveringszekerheid en kwaliteit van de netten door het onder publieke controle houden van de netwerken.»1231 Zijn voorganger had nog niet zo'n nadruk gelegd op het belang van publieke controle van de netwerken voor dit publieke belang en had juist aangestipt dat private aandeelhouders zouden kunnen bijdragen aan dit belang. Zoals al eerder vermeld, gaat de nieuwe minister niet in op de voordelen van privaat aandeelhouderschap bij netbeheerders.
De fracties in de Eerste Kamer delen de wens van het onder publieke controle houden van de netwerken. Er worden echter wel vraagtekens geplaatst bij de mate waarin dit wetsvoorstel zou bijdragen aan de marktwerking en daarmee aan het bevorderen van efficiëntie. Net als in de Tweede Kamer worden door de PvdA vragen gesteld of door splitsing de energiebedrijven niet zullen worden overgenomen door buitenlandse reuzen, wat de concurrentie niet ten goede zal komen.1120 Daarnaast worden enkele vragen gesteld over het behartigen van het publieke belang van een duurzame energievoorziening. Zo vraagt GroenLinks of een verdere privatisering van de sector hieraan zou bijdragen, of daar juist afbreuk aan zou doen: «De vraag is welke structuur [de transitie naar duurzame energie; red.] het snelst bevordert. Is dat een sterk geliberaliseerde markt, met veel nieuwe en geprivatiseerde partijen? Of is dat een energiesector die vanwege het grote publieke belang van de energievoorziening sterk publiek georiënteerd is en zich publiek laat aansturen? Dat laatste zou betekenen dat er juist door publieke aandeelhouders inhoud gegeven moet worden aan publiek en actief aandeelhouderschap om de transitie naar duurzaamheid in een hogere versnelling te brengen. Wordt die mogelijkheid door het voorliggende splitsingsvoorstel juist niet afgesneden?».1121
In zijn reactie legt de minister steeds meer nadruk op de stelling dat publieke belangen worden behartigd met deze wet. Hij zegt zelfs liever te spreken van het «wetsvoorstel waarborging publieke belangen bij de elektriciteitsnetten» in plaats van de meer gangbare afkorting splitsingswet.1232 Hij stelt dat de publieke belangen van efficiëntie, toegankelijkheid, betrouwbaarheid (leverings- en voorzieningszekerheid) en duurzaamheid bevorderd worden door de wet. 1233 Naast een herhaling van de argumenten waarom concurrentie en leveringszekerheid worden geborgd, beargumenteert hij dat dit wetsvoorstel bijdraagt aan de productiecapaciteit: «Deze investeringen [in productiecapaciteit] komen derhalve tot stand in een goed functionerende markt en een aantrekkelijk investeringsklimaat. Dit wetsvoorstel realiseert dit.»1234 Ook zou het wetsvoorstel de randvoorwaarden creëren voor een duurzame energievoorziening, door het stimuleren van decentrale productie en door het stimuleren van de uitrol van de slimme meter. 1235
Wat opvalt is dat minister Wijn nogal wisselend spreekt over de effecten van meer concurrentie op de prijs van energie (en dus de betaalbaarheid). Bij het verdedigen van de wet had hij eerder gesteld dat bij het niet splitsen van bedrijven «de afnemer (...) niet de lagere prijzen [zal] kunnen krijgen die een verbeterde marktwerking met zich meebrengt.»1236 Nu stelt de minister dat «concurrentie op de energiemarkt niet noodzakelijk hoeft te leiden tot een verlaging van prijzen in reële termen, maar veeleer tot zo laag mogelijke prijzen.»1237 De gevolgen van meer concurrentie op de energieprijs worden dus niet geheel eenduidig gepresenteerd door de minister.
Hoewel D66 en de VVD de minister in de plenaire slotdebatten steunen in de argumentatie dat dit wetsvoorstel zou bijdragen aan het bevorderen van in ieder geval leveringszekerheid en efficiëntie, stellen diverse fracties in de Eerste Kamer kritische vragen over het effect van de wet op de borging of behartiging van publieke belangen. Wederom worden door GroenLinks en de PvdA de mogelijk negatieve effecten van buitenlandse overnames voor concurrentie aangestipt.1238 De PvdA benadrukt het belang van het in overheidshanden houden van productiebedrijven voor de productiecapaciteit, en verzoekt de minister afspraken te maken met publieke aandeelhouders en de bedrijven om productiecapaciteit bij te bouwen.1239
De SP benadrukt dat de privatisering van energiebedrijven ten koste kan gaan van milieu en klimaat, omdat private partijen zich «niet laten leiden door verwachtingen met betrekking tot het rendement voor het milieu, het klimaat, de omgeving, de burger en het algemeen belang.»1240 Ook de PvdA, GroenLinks, D66 en de VVD stellen vragen over de relatie van dit wetvoorstel tot duurzaamheid. D66 en de VVD lijken echter optimistisch te zijn over deze relatie. GroenLinks is evenwel kritisch; de fractie stelt niet overtuigd te zijn dat de splitsing van energiebedrijven de beste uitgangspositie geeft om een versnelde verduurzaming op gang te brengen.1241 De PvdA vindt ook dat verduurzaming een blijvende invloed vereiste van de overheid op de energiesector.1239
Minister Wijn herhaalt dat de wet duurzaamheid bevordert door decentrale productie te stimuleren. Hierin wordt hij bijgevallen door de VVD-fractie.1242 GroenLinks stelt echter dat een versnelling van de verduurzaming publieke aansturing van de netten en productie vereist, en dat in ieder geval bij de laatstgenoemde de publieke sturing zal verminderen. De minister reageert door te stellen dat de huidige situatie in ieder geval niet in versnelling van een transitie heeft geresulteerd, dus waarom zou de bestendiging van de huidige situatie dat wel doen?1243 De Eerste Kamer gaat hier verder niet op in.
Wat betreft het verzoek van de PvdA aan de minister om een regierol te nemen bij het bevorderen dat productiecapaciteit wordt bijgebouwd en dat productiebedrijven in overheidshanden dienen te blijven, reageert de minister afwijzend. Hij stelt dat een groot deel van de productie al in handen is van buitenlandse bedrijven en dat bovendien TenneT BV heeft geconcludeerd dat er tot en met 2013 voldoende productievermogen zou zijn om aan de vraag te voldoen.1244
Zoals hierboven uiteengezet gaat het parlement zich gaandeweg steeds meer zorgen maken over het verlies van controle van de (nationale) overheid, vanwege de mogelijkheid van verregaande privatisering van de energiesector. Het parlement staat een meer interveniërende koers voor, met een regierol voor de rijksoverheid en de bestendiging van overheidsaandeelhouderschap om sturing en controle te waarborgen. Dit resulteert in een aantal moties om de minister te verzoeken met aandeelhouders in gesprek te gaan en te bezien of het mededingingsinstrumentarium afdoende is om goed toezicht te kunnen houden op bedrijven. De ministers (Brinkhorst en Wijn) lijken echter met succes hun meer voorwaardenscheppende koers te verdedigen, waarbij structuurmaatregelen om de sector te herordenen afdoende zijn om adequate sturing en controle van energiebedrijven te garanderen.
Ook op het gebied van publieke belangen wordt de nadruk gelegd op publiek aandeelhouderschap en een meer sturende functie van de rijksoverheid om publieke belangen te behartigen, terwijl de ministers wederom een voorwaardenscheppend perspectief hanteren. Wat betreft wetswijzigingen zorgt het parlement ervoor dat op het gebied van toegankelijkheid voldoende waarborgen bestaan, door regelingen af te dwingen op het gebied van kostendoorberekeningen en afsluitbeleid. Op het gebied van de andere publieke belangen worden geen wetswijzigingen afgedwongen, maar wordt de minister met moties opgeroepen om te inventariseren hoe de publieke belangen van efficiëntie, betrouwbaarheid en duurzaamheid adequaat kunnen worden behartigd binnen de nieuwe marktstructuur.
Tijdens het wetgevingstraject is op diverse momenten verwezen naar eerdere ervaringen met privatiserings- en ontvlechtingsbeleid, zowel in andere sectoren als in andere landen. Over het algemeen kan geconstateerd worden dat deze ervaringen een vrij ambigue rol speelden in het debat. Zo verwijst de minister diverse keren naar de positieve ervaringen van splitsing in andere landen, maar wordt na kritische vragen van het parlement over deze ervaringen vaak ook gesteld dat deze landen moeilijk te vergelijken zijn met Nederland en dat daarom niet een-op-een vergelijkingen kunnen worden gemaakt. Ook wat betreft beleidservaringen in andere (netwerk)sectoren wordt de ene keer door de minister gesteld dat een zekere mate van splitsing van infrastructuur en commerciële activiteiten wenselijk was en een andere keer dat sectoren zich toch moeilijk laten vergelijken en de borging van publieke belangen in iedere sector op een andere manier dienen plaats te vinden. Ervaringen met beleid elders en in andere sectoren spelen ook geen eenduidige rol in het parlementaire debat. Sommige fracties halen ervaringen in andere landen en sectoren vooral aan om niet over te gaan tot splitsing, andere fracties juist om wel te splitsen.
Tijdens het wetgevingstraject was er veel aandacht voor de effecten van het wetsvoorstel voor de burger, maar werd de burger vrijwel uitsluitend geconceptualiseerd als consument. Daarbij werd door het parlement sterk aangedrongen op maatregelen om te voorkomen dat de consument direct of indirect zou opdraaien voor de kosten die het wetsvoorstel met zich meebracht. Er was daarnaast aandacht voor de effecten op werknemers in de energiesector, maar dit leidde uiteindelijk niet tot maatregelen om eventuele negatieve effecten van de wet voor deze groep mensen te verzachten.
Verwijzing naar ontvlechting en privatisering in andere landen
Wat betreft de aandacht voor relevante beleidservaringen in andere landen met betrekking tot het wetsvoorstel was een probleem dat vrijwel geen enkel ander land (behalve Nieuw-Zeeland) was overgegaan op verplichte splitsing van regionale energiebedrijven. Het was dus moeilijk om te putten uit ervaringen in andere landen.
Desalniettemin verwijst de minister diverse keren naar de positieve ervaringen die andere landen hadden gehad met (al dan niet gedwongen) splitsing van energiebedrijven. Zo verwijst hij naar de effecten van vrijwillige splitsing bij een aantal bedrijven in het Verenigd Koninkrijk, een splitsing die was doorgevoerd wegens de hoge reguleringseisen en toezichtlasten voor geïntegreerde bedrijven: «Inmiddels zijn de gesplitste Britse gasbedrijven in staat om veel klantgerichter en efficiënter te werken. In het Verenigd Koninkrijk is dit volgens deskundigen de verklaring voor de waardestijging na de splitsing. Er blijkt dus vooral sprake te zijn van een negatieve synergie [tussen het netbeheer en commerciële activiteiten]. De Nederlandse bedrijven verkeren in een sterk vergelijkbare situatie.»1245
Het CDA vraagt naar aanleiding van de vergelijking met het Verenigd Koninkrijk of het niet ook mogelijk is om in Nederland dergelijke gedragsregulering te implementeren opdat bedrijven eventueel vrijwillig zouden gaan splitsen.1246 De minister stelt vervolgens dat «[e]en een-op-een vergelijking met het Verenigd Koninkrijk (...) in dit verband niet op [gaat]. Er zijn ten minste twee relevante verschillen met de situatie in het Verenigd Koninkrijk, namelijk de vrijwillige splitsing die bij enkele grote energiebedrijven in het Verenigd Koninkrijk is doorgevoerd en het typisch Nederlandse privatiseringsdilemma dat het Verenigd Koninkrijk niet heeft en dat mede een aanleiding is voor dit wetsvoorstel.»1160
Iets vergelijkbaars doet zich voor bij de vergelijking met Nieuw-Zeeland, het enige land dat was overgegaan op verplichte splitsing. Minister Brinkhorst stelt dat «[i]n Nieuw-Zeeland, een land dat ons na is, hoewel het ver weg is, (...) een gedwongen splitsing [is] ingevoerd die heeft geleid tot meer concurrentie, meer transparantie en scherpere tarieven.»1247 Tijdens het debat in de Eerste Kamer wordt door de leden van het CDA geconstateerd dat «de huidige regering van Nieuw-Zeeland overweegt de gedwongen splitsing ongedaan te maken, daar geen van de beoogde doelen is bereikt».1248 In reactie daarop stelde minister Wijn dat de vergelijking met Nieuw-Zeeland toch enigszins mank gaat: «Ten eerste maakt Nieuw Zeeland geen onderdeel uit van een geïntegreerde internationale markt. Daar is dus minder dreiging van buitenlandse toetreders op zoek naar synergievoordelen. Deze beperkte mate van marktwerking verklaart deels de uiteindelijke prijsstijgingen na verloop van tijd. Daarnaast zijn prijsontwikkelingen en kosten afhankelijk van een groot aantal externe factoren en zeggen zij bovendien niets over het totale welvaartseffect. Een vergelijking met de Nederlandse situatie op bedrijfsniveau gaat om deze reden 10 jaar na dato mank. Wel wordt geconstateerd dat unbundling in Nieuw Zeeland destijds de kleinverbruikersmarkt een positieve impuls heeft gegeven en dat als gevolg van splitsing de groothandelsprijs initieel sterk is gedaald. Overigens waren de bedrijven in Nieuw Zeeland binnen één jaar gesplitst, binnen de wettelijke termijn en zonder buitenproportionele transactiekosten.»1249
Kortom, de vergelijking met beleidservaringen in andere landen heeft een nogal ambigue rol; de minister benadrukt bij positieve ervaringen de overeenkomsten van Nederland met het andere land, maar bij vragen over negatieve ervaringen in die landen benadrukt hij juist de verschillen. De Tweede Kamerleden wijzen de minister echter niet op deze ambigue functie van de verwijzingen naar ervaringen elders.
De Tweede Kamer vraagt in het begin van het wetgevingstraject veelvuldig of andere landen ook van plan zouden zijn om verplichte splitsing af te dwingen. Het CDA vraagt bijvoorbeeld herhaalde malen of de minister verwacht dat andere landen het Nederlandse voorbeeld zullen volgen.1250 Er wordt ook gevraagd hoe het toch komt dat men in Nederland deze stap wil zetten terwijl andere landen zich er niet aan lijken te willen wagen: «Immers, dezelfde argumenten om tot volledige splitsing over te gaan zouden ook moeten gelden binnen andere Europese landen», aldus de VVD.1251
De minister antwoordt dat er in Europa minder draagvlak is voor eigendomssplitsing dan hij had gehoopt, hoewel volgens hem de commissarissen Piebalgs en Kroes van de Europese Commissie wel voorstanders zijn van een dergelijke maatregel.1252 De minister benadrukt enerzijds de unieke situatie waar Nederland zich in bevindt, met name verwijzend naar het privatiseringsdilemma, en anderzijds dat het hem te doen is om de Nederlandse consument waarbij het minder belangrijk was wat andere Europese landen doen: «Ik verdedig hier niet dat wij een prachtig Europees ideaal hebben waar wij in moeten passen of waarop wij moeten vooruitlopen. Nee, het gaat om de keiharde vraag hoe de Nederlandse belangen het best kunnen worden veiliggesteld, met name wat de netwerkcompositie betreft.»1253 Het parlement (met name de Eerste Kamer) besteedt vervolgens vooral aandacht aan de vraag of vooroplopen in de EU wellicht Nederlandse belangen zou kunnen schaden (vergelijk paragraaf 5.2).
Verwijzing naar ontvlechting en privatisering in andere sectoren
Naast verwijzingen naar ervaringen in andere landen wordt ook herhaalde malen verwezen naar beleidservaringen met privatisering en ontvlechting in andere sectoren. Er wordt in de Tweede Kamer met name door GroenLinks en de SP verwezen naar in hun ogen negatieve ervaringen met (het gebrek aan) ontvlechting van het monopolie en de commerciële activiteiten die in de energiesector voorkomen moesten worden. De SP noemt de problemen bij de spoorwegen die volgens de fractie mede te danken waren aan de organisatorische scheiding van vervoer (NS) en spoorbeheer (ProRail): «Je ziet bij de NS dat de splitsing tot coördinatieproblemen leidt. Er is duidelijk gebleken dat splitsing de punctualiteit van de dienstregeling niet ten goede komt. Heeft de minister dan niets geleerd van de splitsing van netten in deze andere grote sectoren?»1254
De SP grijpt dit voorbeeld aan om tegen de splitsing te pleiten. GroenLinks pleit echter vóór het wetsvoorstel, verwijzend naar negatieve ervaringen in de telecomsector. Daar was KPN met net en al geprivatiseerd en moest de overheid in 2001 veel geld investeren toen KPN failliet dreigde te gaan: «Telecomgigant KPN weet op dit terrein ook van wanten. Hij draaide zelfs in november 2001 zijn hand er niet voor om het dreigende faillissement van het hele concern, inclusief het vaste netwerk, af te wentelen op de Nederlandse belastingbetaler. Dat is voor mijn fractie een heel belangrijke gebeurtenis geweest. Aan een natuurlijk monopolie, waar niemand buiten kan, is namelijk zo leuk dat het een fantastisch onderpand is voor een avontuurtje buiten de deur. Wordt het een slippertje, dan eet de overheid uit je hand. Bij KPN kostte het ons belastingbetalers 5 miljard gulden, want anders ging de tent failliet. (...) Wij mogen als overheid – daar spreek ik dan maar even voor – nooit toelaten dat het netbeheer overvleugeld wordt door commerciële activiteiten, niet in het dagelijkse beheer, maar ook niet op het moment dat het fout gaat.»1255
Kortom, er worden geen eenduidige conclusies getrokken uit de ervaringen in andere sectoren. Desalniettemin lijkt het «bijna-faillissement» van KPN voor diverse voorstanders van de wet een belangrijke motivering te zijn geweest voor het splitsingsvoorstel. Ook Blok (VVD) en Crone (PvdA) verwijzen ernaar, net als minister Brinkhorst zelf, waarbij wordt gesteld dat de commerciële activiteiten van KPN te grote risico's hadden opgeleverd voor het net en dat dit in de energiesector moest worden voorkomen.1256
Daarnaast verwijzen diverse fracties naar de Nederlandse strategie in Europa op verschillende dossiers om de redenering van de minister te testen dat het niet uitmaakt om op het gebied van de energiesector voorop te lopen. Zo stelt het CDA: «Kan de regering aangeven waarom dit vooroplopen blijkbaar wel tot voordelen voor de elektriciteitsmarkt leidt en gezien de terughoudende Europese benadering ten aanzien van de gasmarkt blijkbaar niet voor de Nederlandse gasafnemer geldt? Kan de regering aangeven waarom er voor de kabel en telecommunicatiemarkt ook niet vooropgelopen wordt in Europa en waarom er bij de postmarkt zelfs helemaal achteraan gelopen wordt in Europa als het gaat om het implementeren van Europese regels?»1257 Ook de SGP stelt een vergelijkbare vraag, waarbij men verwijst naar de terughoudende positie van Nederland wat betreft het implementeren van Europese regels op het gebied van de postsector om te vragen waarom men in de energiesector niet iets voorzichtiger is.1258
Verschillende fracties tonen zich ook geïnteresseerd in de mate waarin de redenering van de minister op het gebied van de energiesector ook toepasbaar was op andere sectoren. Zo stelt de PvdA de redenering van de minister (wat betreft de noodzaak van splitsing tussen monopolie en commerciële activiteiten) te onderschrijven en vraagt: «Kan de regering deze analyse ook toepassen op andere netwerksectoren, zoals het spoor, de luchthavens, de waterbedrijven, de kabelbedrijven, het betalingsverkeer, de post en de telecommunicatiesector? En wat zou het resultaat van een dergelijke analyse zijn?»1259 De fractie van D66 (mede sprekend namens OSF) in de Eerste Kamer vraagt ook aan de minister of het kabinet «voornemens [is] met wetsvoorstellen te komen om andere bedrijven/instituties/organisaties te «splitsen» waardoor de publieke belangen beter zijn gewaarborgd? En welke zijn dat?»1194
Naar aanleiding van deze verwijzingen naar ervaringen in andere (netwerk)sectoren is de kernboodschap van minister Brinkhorst dat het behartigen van publieke belangen in iedere sector – hoewel er vaak overeenkomsten zijn met andere sectoren – op een specifieke manier moet gebeuren en dat één-op-éénvergelijkingen van sectoren niet zonder meer opgaan: «In veel gevallen is de onafhankelijkheid van de netwerken een belangrijk middel om tot deze borging van publieke belangen te komen. Dit geldt in het bijzonder als het netwerk een natuurlijk monopolie is. Naast dit algemene uitgangspunt moet bij de uitwerking van het ordeningsbeleid ook worden gekeken naar de specifieke kenmerken en historie van de verschillende sectoren, de relevante Europese regelgeving voor deze sectoren en de in het verleden genomen. (...) Samenvattend: bij alle netwerksectoren dienen de publieke belangen adequaat geborgd te worden, de wijze waarop dit gebeurt kan per sector verschillend zijn.»1260 In reactie op de vragen van D66 en OSF of er plannen waren splitsing in andere sectoren door te voeren stelt minister Wijn dat: «Niet alle netwerksectoren zijn gelijk waardoor een wettelijke splitsing tussen de infrastructuur en de dienstverlening via die infrastructuur niet overal een probaat middel is om de publieke belangen optimaal te borgen. (...) Er zijn vooralsnog geen nieuwe plannen om bedrijven te «splitsen.»1261 Daarnaast stelde de minister dat in diverse sectoren (zoals de luchtvaart en het spoor) reeds sprake was van een zekere scheiding tussen netwerk en commerciële activiteiten en dat verdere toepassing van de redenering met betrekking tot de energiesectoren op die sectoren dus geen relevantie had.
Eenzelfde redenering wat betreft uniciteit van de sector op het gebied van de middelen om publieke belangen te behartigen wordt gehanteerd in reactie op de vragen waarom Nederland in Europa niet altijd voorop loopt: «Meer in het algemeen ben ik van mening dat de gewenste liberaliseringsnelheid per deelmarkt kan verschillen. Een verschil in snelheid, bijvoorbeeld ten opzichte van andere EU-lidstaten, zal ik kiezen als de publieke belangen op die deelmarkt daartoe aanleiding geven. Voor elektriciteit en gas bijvoorbeeld lopen de publieke belangen niet altijd gelijk.»1262
Er wordt door de ministers derhalve afhoudend gereageerd op de vergelijking door parlementsleden van de energiesector met andere (netwerk)sectoren; de behartiging van publieke belangen vergt een unieke aanpak voor iedere sector.
Er is in de Tweede Kamer veel gedebatteerd over de mogelijke effecten voor de burger. Daarbij wordt de burger primair gepresenteerd als consument. Er is vooral aandacht voor de effecten in de vorm van de hoogte van de energierekening, met name voor de positie van de minder kapitaalkrachtige consument en hoe deze beschermd kon worden tegen afsluiting in geval van financiële problemen. Bij deze discussies gaat het dus eigenlijk om het borgen van het publieke belang van toegankelijkheid. Ook is er aandacht voor de positie van de burger als werknemer, maar dit speelde een veel kleinere rol in het debat.
Effecten voor de consument
Bij aanvang van het wetgevingstraject lijkt de Tweede Kamer grotendeels mee te gaan met de redenering van de minister dat de splitsing van netbeheer en commerciële activiteiten goed is voor de marktwerking en voor een verbetering van toezicht, en daarmee gunstig zou uitpakken voor de consument.1263 Veel fracties spreken zich positief uit over de effecten van de splitsing; om eerlijke marktwerking te garanderen en (in geval van privatisering) het netmonopolie (en daarmee de afnemer) te beschermen tegen misbruik door private partijen is splitsing een goede stap.1264 Tijdens het wetgevingstraject beginnen steeds meer fracties zorgen uit te spreken over de mogelijk omvangrijke kosten die gepaard kunnen gaan met het uitvoeren van de wet en de vrees dat dit ten laste komt van de consument via een hogere energierekening. Het CDA en de VVD vragen bijvoorbeeld hoe voorkomen kon worden dat de reorganisatiekosten worden doorberekend naar de klant.1265
In de memorie van toelichting geeft de minister aan dat het niet uit te sluiten valt dat de afnemer wordt geconfronteerd met een prijsverhoging als gevolg van doorberekening van de reorganisatiekosten.1218 De minister acht de kans hierop echter beperkt: omdat afnemers de keuze hebben om te wisselen van energieleverancier, zal bij een prijsverhoging het energiebedrijf zichzelf uit de markt prijzen.1266 Hij acht het waarschijnlijker dat de kosten zich zouden vertalen naar lagere winsten en dividenduitkeringen.1219
In het debat stelt de minister nadrukkelijk dat dit wetsvoorstel in het belang is van de consument, omdat er sprake is van verbeterde marktwerking en de consument wordt beschermd tegen misbruik van de monopoliepositie van de netbeheerder. Hij geeft aan dat hij geen regels zal opstellen om een doorberekening van kosten naar de consument te voorkomen: «Het is aan de energiebedrijven om hierover te beslissen. Een waarschijnlijk scenario is dat de energiebedrijven de kosten niet zullen doorberekenen aan de consumenten vanwege het reële risico dat ze lopen op het verliezen van marktaandeel aan concurrenten.»1267
De Tweede Kamer is hiermee echter niet gerustgesteld en de fracties van het CDA, de SP, GroenLinks, D66, de ChristenUnie en de SGP vragen de minister hoe voorkomen kan worden dat kosten worden doorberekend. Zeker gelet op de CBL-contracten is de vrees dat het zou kunnen gaan om zeer grote bedragen. Het CDA, de LPF en de ChristenUnie stellen dat de Nederlandse burger sowieso zal opdraaien voor de kosten, omdat ze via gemeenten en provincies aandeelhouder zijn van deze bedrijven. In zijn reactie zet de minister een eerste stap om de Kamer tegemoet te komen: «Als ik zeg dat de consument niet mag opdraaien voor tijdelijke reorganisatiekosten, is dat een uitspraak waar u mij aan kunt houden.»1268 In een eerste nota van wijziging wordt vastgelegd dat de eerste drie jaar na inwerkingtreding van de wet, reorganisatiekosten niet mogen worden doorberekend.1269 CBL-kosten mogen helemaal nooit worden doorberekend. De NMa zal hierop toezien en bedrijven boetes geven indien kosten toch doorberekend werden.1269 Structurele kosten mogen wel doorberekend worden, maar op een zodanige manier dat «de kosten van transport en levering (...) over het geheel zo laag mogelijk blijven.»1269
Tijdens de afsluitende plenaire debatten tonen veel fracties zich echter nog steeds niet gerust dat consumenten niet opdraaien voor de kosten die gepaard gaan met het wetsvoorstel. Ook de Validatiecommissie had gesteld dat aanvullende regelgeving nodig was om te voorkomen dat kosten afgewenteld zouden worden op de consument.1270 De regeling zoals voorgesteld door de minister laat de mogelijkheid open dat de structurele kosten wel kunnen worden doorberekend. Het CDA en de PvdA vinden dit onwenselijk en stellen daarom een amendement voor om dit te voorkomen.1271 Het amendement hoeft echter niet in stemming te komen omdat de minister reeds in het debat aangeeft dat het doorberekeningsverbod zou gelden voor alle kosten die voortvloeien uit de wet.1272 Bovendien zou dit verbod gelden voor vijf jaar, in plaats van de eerder voorgestelde drie jaar, dit vanwege een eerder verzoek van het CDA.1273 Dit wordt vastgelegd in de derde nota van wijziging.1274
De minister is op het gebied van de kosten dus zeer meegaand met de Tweede Kamer; daar waar hij eerst zei dat het de verantwoordelijkheid van de energiebedrijven is waar de kosten zouden worden opgevangen, worden uiteindelijk regels opgesteld om te voorkomen dat de consument de kosten van de wet zou voelen via de energieprijs. De Tweede Kamer lijkt hiermee tevreden te zijn, temeer omdat zorgen omtrent de mogelijke CBL-claims in een eerder stadium zijn verminderd vanwege de overgangsregelingen die door de minister zijn voorgesteld. Bovendien wordt door veel fracties op basis van het geactualiseerde CPB-onderzoek geconcludeerd dat de welvaartseffecten van splitsing aanzienlijk kunnen zijn.1275
Afsluitbeleid
Daarnaast is er met name vanuit de fracties van het CDA, de SP en GroenLinks aandacht voor de consument die wegens financiële problemen niet kan voldoen aan betalingsverplichtingen. Ook de PvdA en D66 roepen de minister op om aandacht te besteden aan deze problematiek. Dit betreft dus de toekomstige relatie tussen de netbeheerder/leverancier en de afnemer, en het publieke belang van toegankelijkheid. De aanleiding hiervoor lijkt te liggen in het feit dat na het volledig vrijgeven van de markt voor kleinverbruikers (1 juli 2004) energiebedrijven een strikter afsluitingsbeleid zijn gaan voeren, wat ertoe had geleid dat het aantal afsluitingen sterk was gestegen.1276
De genoemde fracties wilden met name de verantwoordelijkheid van de energiebedrijven om afsluiting te voorkomen stimuleren. Het CDA diende een amendement in om de verplichtingen van de netbeheerder/leverancier ten opzichte van de consument beter te regelen.1277 Het ging de fracties er met name om te voorkomen dat de consument de dupe zou worden van problemen bij energiebedrijven om tijdig rekeningen te versturen, en ineens een zeer hoge rekening zouden krijgen. Het amendement legde vast dat een vordering tot betaling van een rekening twee jaar na opeisbaarheid van de rekening zou vervallen. Daarnaast dient de SP een amendement in om een gedragscode op te stellen op het gebied van afsluitbeleid van energiebedrijven.1278
In een eerste nota van wijziging legt de minister nadere regels vast met betrekking tot afsluitbeleid. Hierin wordt allereerst geregeld dat bestaande inspanningsverplichtingen van netbeheerders en leveranciers om afsluiting te voorkomen verruimd worden. Afsluiting zou zo veel mogelijk moeten worden voorkomen, met name in de winterperiode. Daarnaast wordt opgenomen dat in een ministeriële regeling regels kunnen worden gesteld met betrekking tot preventieve maatregelen om afsluiting te voorkomen. Een voorbeeld daarvan kon het overleg van het energiebedrijf met de sociale dienst zijn. 1279 Deze regels komen dus tegemoet aan het amendement van de SP, maar het amendement van het CDA wordt niet overgenomen, volgens de minister omdat het laten vervallen van vorderingen na twee jaar «zal leiden tot een kat-en-muisspelletje tussen incassobureaus en deurwaarders. Immers, de afnemer heeft er belang bij de termijn op te rekken zodat hij van zijn schuld afkomt.»1100
De fracties van het CDA, de SP, de PvdA, GroenLinks en D66 vinden deze wijzigingen echter te vrijblijvend. Het CDA dient daarom, samen met de PvdA en de SP, een gewijzigd amendement in als vervanging voor het eerdere amendement van het CDA.1280 Met dit amendement wordt vastgelegd dat regels moeten worden opgesteld over de door netbeheerders gehanteerde betalingsvoorwaarden, met als doel te stimuleren dat netbeheerders tijdig rekeningen zullen vereffenen om zo te voorkomen dat de consument ineens met zeer hoge kosten wordt geconfronteerd. GroenLinks dient een amendement in om in de wet vast te leggen dat er regels zullen worden gesteld met betrekking tot preventieve maatregelen om afsluiting te voorkomen, in plaats van dat deze kunnen worden gesteld (zoals in de nota van wijziging stond). Deze ministeriële regeling zou moeten zorgen dat in beginsel afsluiting tussen 1 oktober en 1 april niet is toegestaan, tenzij sprake was van apert misbruik van de consument.1281 Ten slotte dient GroenLinks, samen met D66, een amendement in om energiebedrijven te stimuleren met de sociale dienst in overleg te treden in geval van betalingsproblemen. 1282 Op deze manier worden energiebedrijven gestimuleerd snel eigen verantwoordelijkheid te nemen om afsluiting te voorkomen. Al deze amendementen worden aangenomen.
Nog voor de stemming geeft de minister aan zich te kunnen vinden in deze amendementen en zegt toe in mei 2006 de Tweede Kamer te informeren over de invulling van de ministeriële regeling voor preventief afsluitingsbeleid. Deze brief verschijnt in september 2006; daarin wordt gesteld dat «de wet de mogelijkheid [zal] bieden om regels te stellen over preventieve maatregelen om afsluiting zoveel mogelijk te voorkomen».1283 De ministeriële regeling houdt in dat de energiebedrijven eerder in contact kunnen treden met bijvoorbeeld de sociale dienst. Daarnaast komt er een verbod op het afsluiten in de winterperiode (van 1 oktober tot 1 april), tenzij sprake is van fraude of gebrek aan medewerking van de afnemer om de schuldproblematiek op te lossen. 1283 De betreffende ministeriële regeling verschijnt vervolgens in november 2006. Volgens een evaluatieonderzoek van het ministerie in Economische Zaken in 2008 was een gevolg van deze regels op het gebied van afsluitbeleid dat het aantal afsluitingen sinds 2006 is gedaald.1284
De effecten op werkgelegenheid
In de memorie van toelichting besteedt de minister slechts zeer beperkt aandacht aan de gevolgen van de wet voor de werknemers van energiebedrijven. Volgens de minister zullen op korte termijn als gevolg van de splitsing geen noemenswaardige werkgelegenheidseffecten waarneembaar zijn.1285 Die zullen zich pas op langere termijn voordoen, wanneer bedrijven als gevolg van transparantie, marktwerking en nieuwe aandeelhouders gedwongen worden om efficiënter te opereren. Volgens de minister zijn werkgelegenheidseffecten op de langere termijn derhalve geen direct gevolg van het wetsvoorstel.1285
Een aantal fracties in de Tweede Kamer toont zich echter ongerust over de gevolgen voor werkgelegenheid. De werknemersorganisaties van de vier grote energiebedrijven hebben zich uitgesproken tegen splitsing en organiseren demonstraties in Den Haag. Volgens het CDA blijkt uit onderzoek dat splitsing leidt tot extra werkgelegenheidsverlies in de energiesector.1286 Het CDA verzoekt de minister te onderzoeken hoe voorkomen kan worden dat werkgelegenheidsverlies, ook indirecte werkgelegenheid, zal optreden.1287 Ook de SP, GroenLinks, de ChristenUnie en de SGP tonen zich ongerust over de werkgelegenheidseffecten.1288 De ChistenUnie koppelt het werkgelegenheidsvraagstuk niet zozeer aan verhoogde efficiëntie als gevolg van de wet, maar eerder aan het verlies van banen aan het buitenland die het gevolg kan zijn van een significante privatisering van de energiesector.1289
De minister is echter niet overtuigd van deze argumenten en blijft bij het standpunt dat splitsing zelf geen banen zal kosten. Splitsing kan wel het effect hebben dat bedrijven efficiënter gaan opereren en dat derhalve op termijn banen verloren gaan. De minister stelt echter dat dit verlies aan werkgelegenheid winst betekent voor de consument.1247 De PvdA en de VVD scharen zich achter de minister. Volgens de PvdA wordt de energiesector al jarenlang gekenmerkt door herstructurering en vermindering van werkgelegenheid; splitsing zou geen doorslaggevende reden zijn van banenverlies.1290 Volgens de VVD is de winst van dit wetsvoorstel juist dat de energiesector efficiënter zal worden: «dezelfde output met minder mensen».1268 GroenLinks lijkt echter niet overtuigd en verzoekt de minister om het CPB in te laten gaan op werkgelegenheidseffecten.1290 De minister gaat hiermee akkoord.
Het CPB-rapport concludeert dat werkgelegenheidsverlies, voor zover dat zou optreden als gevolg van een verhoging van efficiëntie in de sector, kan worden gezien als een positief effect van de wet. De Kamerleden lijken na deze conclusie minder aandacht te besteden aan het werkgelegenheidsvraagstuk. De SP is nog wel steeds kritisch als het gaat om de gevolgen van privatisering voor werkgelegenheid. De PvdA stelt dat door deze wet de netwerken in Nederlandse handen zouden blijven, en dat daarmee werkgelegenheid zou worden behouden. Zonder deze wet zouden geïntegreerde bedrijven worden overgenomen door buitenlandse partijen, wat helemaal funest zou zijn voor werkgelegenheid in Nederland.1291 GroenLinks roept de aandeelhouders op om bij herstructurering van de energiebedrijven maatschappelijk verantwoord ondernemerschap te tonen, in het belang van de werknemers.1292 Deze partij verzoekt ook de minister om bij overleg met de aandeelhouders en de bedrijven, het aspect van werkgelegenheid expliciet op de agenda te zetten. De minister zegt dit toe.1293 Uit de brief waarin de minister het parlement informeerde over de resultaten van de gesprekken met de aandeelhouders blijkt dat aandeelhouders voornemens waren bij een eventuele verkoop rekening te houden met bijvoorbeeld het behoud van werkgelegenheid in de regio.1294
Ook in de Eerste Kamer wordt met name gekeken naar de burger in diens rol als consument. Ook hier gaat het over de mogelijk negatieve gevolgen van de wet voor de hoogte van de energierekening. Hierbij is de primaire zorg echter niet de doorberekening van de kosten, zoals in de Tweede Kamer, maar de mogelijk negatieve effecten voor marktwerking van mogelijke overnames van de Nederlandse energiebedrijven door buitenlandse spelers, als gevolg van splitsing.
De positie van de werknemers speelt, in tegenstelling tot het debat in de Tweede Kamer, geen noemenswaardige rol in het debat. Wel wordt door minister Wijn beargumenteerd dat het niet aannemen van de wet slecht zou zijn voor de werkgelegenheid, hetgeen anders is dan het perspectief van zijn voorganger. Volgens Wijn zouden werknemers, als er niet werd gesplitst, «worden geconfronteerd met werkgevers die gericht zijn op behouden wat ze hebben en niet op modernisering van hun bedrijven, wat er uiteindelijk toe zal leiden dat de werkgelegenheid en hun banen op de tocht komen te staan».1236 De fracties in de Eerste Kamer gaan echter verder niet in op de mogelijke werkgelegenheidseffecten en dus ook niet op dit andere perspectief van de minister ten opzichte van zijn voorganger.
De effecten voor de consument
In de eerste ronde van schriftelijke vragen informeren diverse fracties welke gevolgen de eventuele doorberekening van kosten heeft voor de consument en of de burger als aandeelhouder geen schade zou kunnen ondervinden.1295 De Eerste Kamer wordt echter door de minister gerustgesteld door de regelingen die zijn opgenomen in de wet om dit te voorkomen.1296
Diverse fracties zijn vervolgens vooral geïnteresseerd in de vraag of de wet niet juist afbreuk doet aan marktwerking als Nederlandse bedrijven worden overgenomen door grote buitenlandse spelers. De PvdA, de SP, GroenLinks, de SGP en de ChistenUnie stellen dat het Europese proces van concentratie en consolidatie ervoor zou kunnen zorgen dat er straks slechts een aantal grote, buitenlandse spelers op de Nederlandse markt actief is, die kleinere spelers weg kunnen concurreren.1297 Hierdoor zou marktwerking onder druk kunnen komen te staan, en zou dit uiteindelijk ten koste kunnen gaan van de afnemer. D66 en de VVD zijn echter niet overtuigd door deze redenering; volgens hen is de afnemer wel degelijk gebaat bij een splitsing.1298 D66 redeneert dat als de wet niet zou worden aangenomen, straks geïntegreerde bedrijven kunnen worden overgenomen, waardoor het helemaal onzeker is of het belang van afnemers zou worden gediend.1299 De VVD stelt dat het wetsvoorstel de consument zal beschermen tegen misbruik van het netwerkmonopolie en dat buitenlandse partijen niet per se minder goed zouden zijn voor de afnemers dan Nederlandse bedrijven.1300
De minister stelt ook dat dit wetsvoorstel positief zou zijn voor de afnemers. Volgens hem is deze wet juist goed voor marktwerking doordat onafhankelijk netbeheer gelijke toegang tot het net garandeert. Volgens de minister is het toetreden van buitenlandse spelers op de markt helemaal niet slecht voor de concurrentie: door mededingingstoezicht wordt voorkomen dat partijen een te grote marktmacht zouden krijgen, en het is reeds toegestaan voor buitenlandse spelers om de Nederlandse markt te betreden. Bovendien zou de consument worden beschermd tegen misbruik van het bezit van het monopolie (het net).
Verwijzingen naar beleidservaringen in andere landen en andere sectoren hebben een vrij ambigue rol hebben gespeeld in het debat. De minister lijkt bij positieve ervaringen van splitsing in andere landen de vergelijkbaarheid met Nederland te benadrukken, maar benadrukt vervolgens na kritische vragen van het parlement de uniciteit van de Nederlandse energiesector. Bij vergelijkingen met andere (netwerk)sectoren wordt meermaals gesteld dat de borging van publieke belangen in iedere sector op een andere manier dient plaats te vinden. Ook in het parlement spelen ervaringen van elders geen eenduidige rol. Sommige fracties halen ervaringen in andere landen en sectoren aan met als doel te pleiten tegen splitsing, andere fracties juist om te pleiten voor splitsing.
Het parlement besteedt veel aandacht aan de effecten van het wetsvoorstel voor de burger, maar daarbij gaat de aandacht hoofdzakelijk uit naar diens positie als consument. Er wordt met name gekeken naar de gevolgen voor diens portemonnee en de minister wordt (succesvol) verzocht om regelingen te treffen om te voorkomen dat de consument direct of indirect opdraait voor de kosten van het wetsvoorstel. Ook op het gebied van het afsluitbeleid wordt met succes gepleit voor aanvullende regelgeving. Daarnaast is er aandacht voor de effecten op werknemers in de energiesector, maar dit debat (in de Tweede Kamer) leidt niet tot maatregelen om potentieel negatieve effecten van de wet voor deze groep mensen te voorkomen. In de Eerste Kamer speelt het vraagstuk van werkgelegenheid geen rol van betekenis.
Het parlement vervult meerdere functies: medewetgever (paragraaf 5.1), controleur van de regering (paragraaf 5.2) en volksvertegenwoordiger (paragraaf 5.3). In de praktijk zijn deze functies niet helemaal goed van elkaar te scheiden maar hier worden ze apart besproken.
De Tweede Kamer heeft tijdens dit wetgevingstraject gebruik gemaakt van de mogelijkheid om het wetsvoorstel te amenderen. Uiteindelijk zijn zeven amendementen in stemming gebracht, waarvan zes zijn aangenomen.1301 De helft hiervan heeft betrekking op het afsluitbeleid van energiebedrijven.1302 De Kamer toont zich hiermee zeer actief om het publieke belang van toegankelijkheid beter te borgen in wetgeving. Een ander aangenomen amendement heeft betrekking op de taken die netbeheerders zouden mogen uitbesteden, waarmee wordt getracht om de kwaliteit van het netbeheer te waarborgen en daarmee leveringszekerheid te borgen.1303 Daarnaast wordt via een amendement geregeld dat het ministerie regels opstelt voor vereisten aan splitsingsplannen van de energiebedrijven, en deze plannen ook zou mogen inzien.1304 Ten slotte is een amendement aangenomen op het gebied van privatiseringsbeleid (dit amendement wordt hieronder uitgebreider besproken).1305 Het enige amendement dat niet wordt aangenomen betreft het amendement-Vendrik, waarmee getracht wordt te voorkomen dat Nederlands afgesplitste commerciële bedrijven zouden worden overgenomen door geïntegreerde buitenlandse bedrijven. Naast deze amendementen presenteert de minister tijdens het overleg met de Tweede Kamer drie nota's van wijzigingen, mede op basis van vragen van de verschillende fracties.
Uit de amendementen en de nota's van wijzigingen blijkt dat het primaire resultaat van de medewetgevende rol van de Tweede Kamer ligt in het verzekeren dat consumenten niet de dupe worden van het splitsingsvoorstel. Allereerst blijkt dit uit de vasthoudendheid van de Kamer in het verzoeken om regelingen te treffen om te voorkomen dat kosten aan de consument worden doorberekend. De minister is op het gebied van de kosten zeer meegaand met de Tweede Kamer; hoewel hij eerst zegt dat het de verantwoordelijkheid van de energiebedrijven is waar de kosten worden opgevangen, worden uiteindelijk regels opgesteld om te voorkomen dat de consument de kosten van de wet voelt via de energieprijs. Via de drie genoemde amendementen regelt de Tweede Kamer daarnaast dat er maatregelen worden getroffen op het gebied van afsluitbeleid.
Een andere belangrijke bijdrage van de Tweede Kamer als medewetgever ligt op het gebied van het privatiseringsbeleid. Op dit gebied lijkt de Tweede Kamer te hebben geleerd van eerdere ervaringen in dit dossier. Tijdens eerdere discussies slaagde het parlement er vaak niet in om toezeggingen van de minister af te dwingen wat betreft het privatiseringsbeleid in de sector. Bij het in werking treden van de Elektriciteitswet (1 augustus 1998) was er bijvoorbeeld weinig duidelijkheid voor het parlement over de criteria aan de hand waarvan een ministeriële toetsing van een privatisering zou geschieden. Er werd vertrouwd op het motto van minister Wijers dat liberalisering vergevorderd diende te zijn voordat met privatisering zou worden begonnen. Toen zijn opvolger minister Jorritsma veel positiever bleek te staan ten opzichte van privatisering, bleek het allereerst zeer moeilijk om de minister te bewegen om expliciete criteria vast te leggen. Toen deze criteria eenmaal werden vastgelegd en de fracties in het parlement het hier niet geheel mee eens waren, bleek het even zo moeilijk om de minister te bewegen deze criteria aan te passen (zie paragraaf 5.2).
In de discussie over de Wet Onafhankelijk Netbeheer slaagt het parlement er nu in om door middel van het amendement Hessels c.s. zelf vast te leggen wat wel en niet is toegestaan op het gebied van privatisering.1305 Met dit amendement wordt namelijk allereerst vastgelegd dat het privatiseren van de netten zelf (het juridische eigendom) niet wordt toegestaan. In de wet wordt daarmee ook vastgelegd dat de criteria wat betreft de gedeeltelijke privatisering van netbeheerders (economisch eigendom) kort na de wet per ministeriële regeling zullen worden vastgesteld. Hessels (CDA) formuleert het als volgt: «Wij zijn (...) tegen de privatisering van de energienetten (...) Mijn fractie acht dit uitgangspunt dermate belangrijk, dat wij de door de minister aangekondigde ministeriële regeling omtrent de minderheidsprivatisering van energienetwerken niet blanco willen afwachten.»1306
Ook wordt vastgesteld dat bij een toekomstige wijziging van deze regeling een zware voorhangprocedure geldt in plaats van een lichte.1307 Hoewel de minister dit afraadt, stelt Crone: «Dat recht wil de Kamer hebben bij dit zeer cruciale element van wel of niet privatiseren. Misschien komt de opvolger van de minister met een andere ministeriële wijziging en dan moet de Kamer kunnen beslissen of zij, alles wegende, het wel of niet doet. Het is puur om het recht van de Kamer nog eens te beklemtonen. (...) De minister of zijn opvolger moet goed overleg met de Kamer voeren en dan gebruikt de Kamer deze stok achter de deur niet.»1308 De nadruk die hiermee wordt gelegd op overleg met de Kamer laat zien dat de Tweede Kamer graag expliciete criteria wil op het gebied van privatisering, om te voorkomen dat er net als in de periode 1998–2002 veel onduidelijkheid blijft bestaan over het privatiseringsbeleid ten aanzien van regionale energiebedrijven.
In de discussie over het functioneren van het parlement in haar rol van medewetgever dient de rol van de Eerste Kamer expliciet te worden besproken. De motie-Doek/Sylvester impliceert namelijk dat een kernonderdeel van de wet pas in werking treedt als aan bepaalde voorwaarden is voldaan. Er dient evenwel te worden vermeld dat de Eerste Kamer hiermee de minister redelijk onduidelijke criteria meegeeft op basis waarvan in de toekomst geconcludeerd zou kunnen worden dat dit onderdeel in werking zou moeten treden. Het gaat om: «het verrichten van buitenlandse activiteiten en/of van het aangaan van grensoverschrijdende allianties, dan wel bij verstoring van evenwichtige marktverhoudingen en niet-transparante non-discriminatoire financiële verhoudingen of bij het ontbreken van gelijke toegang tot de netten.»1132 Het ontbreken van heldere criteria om vast te stellen op basis waarvan het onderdeel dat verplicht tot eigendomsontvlechting in werking dient te treden leidt in de Tweede Kamer tot vragen. Zo stelt Hessels (CDA) in april 2007: «De precieze grenzen van de motie-Doek/Sylvester c.s. (...) zijn niet helder. Telkens als een energiebedrijf stappen zet die in strijd kunnen zijn met deze motie, wordt de Kamer hiermee geconfronteerd.»1309 Hessels vraagt de minister op schrift te stellen welke objectieve meetbare criteria worden gehanteerd bij de beoordeling van die stappen. Minister Van der Hoeven gaat hier echter niet op in en de Tweede Kamer dringt niet verder aan.
Ook energiebedrijven worden hierdoor geconfronteerd met onzekerheid wat betreft de wel en niet toegelaten activiteiten. Bovendien kunnen energiebedrijven die wel proberen conform de geest van de motie te handelen de dupe worden van het gedrag van energiebedrijven die dit niet doen. Minister Van der Hoeven geeft dit toe, maar stelt echter dat voor bedrijven «splitsing de enige optie lijkt als volledige zekerheid over investeringen of allianties gewenst is».1310 Uiteindelijk wordt de directe aanleiding voor de minister in juni 2007 om het splitsingsonderdeel van de wet in werking te laten treden (de overname van een Belgisch afvalverwerkingsbedrijf Indaver door Delta en de fusie- en internationaliseringplannen van Nuon en Essent) door de energiebedrijven als onterecht afgedaan; zij stellen dat dit al bekend was in 2006 toen de wet nog in behandeling was door de Eerste Kamer.1311
Het parlement heeft met grote zorgvuldigheid de verschillende dimensies en risico's van de wet behandeld. Dit blijkt allereerst uit de tijd die gemoeid was met de behandeling van dit wetsvoorstel en de hoeveelheid debatten en hoorzittingen die in deze periode zijn georganiseerd. De Tweede Kamer spreekt vanaf de zomer 2004 over dit voorstel, en tijdens het wetgevingstraject zijn veel en uitgebreide discussies met de minister over de verschillende aspecten van de wet.
De Tweede Kamer besteedt bijvoorbeeld veel aandacht aan de mogelijk omvangrijke kosten van de wet, mede ingegeven door de kritische geluiden vanuit verschillende hoeken – met name vanuit de energiesector zelf – dat het splitsingsonderdeel tot hoge kosten zou kunnen leiden. De minister wordt herhaalde malen met klem verzocht om informatie te verstrekken over de omvang van de mogelijke kosten (bijvoorbeeld van mogelijke CBL-claims) en om maatregelen te treffen om enerzijds te voorkomen dat de kosten te hoog zouden uitvallen en anderzijds om te voorkomen dat deze kosten terecht zouden komen bij de energieafnemers. Daarbij wordt de minister een aantal malen verzocht om verdergaande maatregelen te treffen en wordt gecontroleerd of gedane toezeggingen zijn nagekomen.
Ook de gevolgen voor de Nederlandse energiesector in de context van Europa worden uitvoerig besproken. Zowel de Eerste als Tweede Kamer gaan in op de consequenties van splitsing en eventuele privatisering in de context van een overnameslag in Europa voor de behartiging van verschillende publieke belangen (met name efficiency en betrouwbaarheid). Met name vanuit de Eerste Kamerwordt aandacht gevraagd voor de Europeesrechtelijke dimensie van de wet en is de minister verzocht een nadere verdediging te geven dat de wet niet in strijd is met het Europese recht.
Het parlement tracht om de gevolgen van de wet zoals uit verschillende onderzoeken naar voren komen mee te wegen in het eindoordeel over de wet. Het verdient vermelding dat er dermate veel onderzoeken en opiniestukken verschijnen (mede geïnitieerd door de energiesector zelf) dat het parlement het overzicht dreigt kwijt te raken, zoals blijkt uit de uitlatingen van verschillende fracties in het Tweede Kamerdebat op 13 april 2006.1312 Zo vraagt bijvoorbeeld het CDA: «Waar moeten wij ons nu in dit miljardendossier op baseren?».1313 Het verzoek aan de minister om een externe commissie in te stellen die de beweringen van de minister toetst aan de hand van de vele onderzoeken (de Validatiecommissie) moet bijdragen aan de informatiepositie van de Kamer. Ook wordt de minister gevraagd om een kosten-batenanalyse uit te laten voeren om zo een beter beeld te krijgen van de mogelijke maatschappelijke welvaartseffecten.
Het valt evenwel op dat de Tweede Kamer vóór het wetgevingstraject geen verzoek doet aan de minister om een uitgebreide effectanalyse van het splitsingsvoorstel of alternatieven daarvan te laten uitvoeren. De Tweede Kamer geeft dus eigenlijk groen licht aan de minister (in 2004) om met een wetsvoorstel te komen zonder dat de Kamer echt goed op de hoogte kan zijn geweest van de diverse mogelijke positieve en negatieve effecten van de wet. Het CPB heeft op eigen initiatief een effectanalyse gedaan van verschillende beleidsopties, maar de resultaten daarvan waren pas in april 2005 bekend, toen de ministerraad al akkoord was gegaan met het wetsvoorstel en het wetsvoorstel al bij de Raad van State lag. Het CPB concludeerde destijds dat de verwachte baten van splitsing zouden tegenvallen, terwijl de mogelijke kosten substantieel konden zijn.
Hoewel het verzoek om een Validatiecommissie aan te stellen positief te waarderen valt, komt dit verzoek pas in februari 2006, in een vrij late fase van het wetgevingstraject. De minister grijpt de bevindingen van de Validatiecommissie en van het geactualiseerde onderzoek van het CPB aan als bewijs dat de wet wenselijk is. Het dient evenwel te worden benadrukt dat zowel de Validatiecommissie als het CPB waarschuwen om al te verregaande conclusies te verbinden aan de bevindingen. Zo stelt het CPB dat in het meest positieve scenario een positief welvaartseffect van € 1 tot € 1,5 miljard te verwachten is, maar dat er ook pessimistischere scenario’s te voorzien zijn. De minister en Kamerleden die voorstander zijn van de wet grijpen deze bevindingen aan als bevestiging van hun verwachtingen wat betreft de positieve effecten van de wet.1100 Opvallend is dat het CDA mede door het onderzoek van de Validatiecommissie overstag gaat en toch voor de wet stemt. Hessels (CDA) stelt dat «de commissie heeft gezegd dat de risico's zeer acceptabel zijn (...) Ik denk dat daarmee het moment gekomen is om een streep te zetten onder de discussie over de risico's van de CBL's».1314 Nog opvallender is dat Hessels in oktober 2006 aangeeft dat hij deze conclusies te gemakkelijk had geaccepteerd, en noemt dit zelfs zijn «grootste blunder».1315
Wat ook opvalt is dat hoewel een aantal fracties in de Tweede Kamer de minister eind 2004 verzoekt om met de energiebedrijven te zoeken naar een alternatief, de Kamer niet heeft gevraagd om betrokken te worden bij een eventueel akkoord tussen deze partijen noch het resultaat ervan te vernemen. Hoewel minister Brinkhorst tijdens deze onderhandelingen overlegt met de vertegenwoordigers van de PvdA, het CDA en de VVD over het mogelijke alternatief, is dit alternatief nooit aan de gehele Kamer voorgelegd. Pas tijdens het wetgevingstraject, toen het alternatief al was geweigerd door de minister, komen hier vragen over van Hessels (CDA) en De Krom (VVD), die overigens in een eerder stadium dit alternatief zelf (samen met Crone [PvdA]) met de minister hadden besproken.1090 Het ligt in de lijn der verwachtingen dat na een verzoek om alternatieven te verkennen, de Kamer ook verzoekt om dit alternatief te bekijken en er eventueel over te vergaderen.
Ten slotte kan iets worden gezegd over de verschillende manieren waarop de Eerste en Tweede Kamer invulling geven aan hun controlerende functie, met name op het gebied van de onderbouwing van het wetsvoorstel. Zoals in paragraaf 5.3 naar voren kwam, had de belangrijkste onderbouwing van de minister in het begin van het wetgevingstraject primair betrekking op het garanderen en stimuleren van eerlijke marktwerking. Hoewel bepaalde fracties in de Tweede Kamer vraagtekens plaatsen bij deze onderbouwing, is uiteindelijk voor een groot deel van de Tweede Kamer de onderbouwing op het gebied van marktwerking niet problematisch. Verschillende fracties die positief staan ten opzichte van de wet zetten in aanvulling op de minister uiteen op welke manier de wet aan de andere doelstellingen bijdraagt. Op het gebied van de motivering voor de wet handelt de Tweede Kamer dus herhaalde malen als medewetgever of zelfs medebestuurder.
Zoals in paragraaf 5.3 uitgebreid is besproken, heeft de Eerste Kamer veel kritiek op de onderbouwing van de noodzaak van de wet. Veel fracties vragen om verduidelijking op dit gebied en waarom (lichte aanpassing van) huidige regelgeving niet zou volstaan. Met name het aangevoerde bewijs van de minister dat eerlijke marktwerking in de huidige constellatie niet is gegarandeerd, wordt stevig bekritiseerd. De minister verwijst bij kritiek op de effecten van de wet op een bepaalde doelstelling echter herhaalde malen naar het feit dat het wetsvoorstel evenwel positief zou zijn voor andere doelstellingen. Hierdoor wordt het debat in de Eerste Kamer in feite een herhaling van zetten door de fracties en de minister. De onderbouwing van de minister dat de wet goed zou zijn voor marktwerking is voor de Eerste Kamer een controversieel punt waar herhaalde malen naar wordt teruggegrepen, terwijl deze onderbouwing uiteindelijk een minder zwaarwegend punt is voor de Tweede Kamer.
Overigens is uit interviews met diverse direct betrokkenen af te leiden dat de primaire doelen van de wet voornamelijk betrekking hebben op het beschermen van netbeheer tegen internationale activiteiten van Nederlandse geïntegreerde bedrijven en tegen overnames van buitenlandse spelers, alsmede het doorbreken van de privatiseringsimpasse. Zo stelt Brinkhorst in november 2006: «Mijn doel was om de sector te internationaliseren en de netten in overheidshanden te houden».1316 Crone zei: «Waar het altijd om ging is dat we onze netten vrijwaren van commerciële risico's».1316 Lankhorst (hoge ambtenaar van het ministerie van Economische Zaken) formuleert het doel als volgt: «Splitsing bood enerzijds een uitstapmogelijkheid aan de aandeelhouders en anderzijds de garantie dat de overheid enige zeggenschap zou houden over de energievoorziening. Het was de enige aanvaardbare oplossing voor die ingewikkelde puzzel.»1317
Het stimuleren van marktwerking wordt na afloop van het wetgevingstraject door betrokkenen niet gepresenteerd als een hoofddoel, terwijl minister Brinkhorst het wetsvoorstel wel als zodanig had gemotiveerd in de Tweede Kamer. Daar waar de Tweede Kamer het marktwerkingsmotief aanvult met andere argumenten en overwegingen, blijft de Eerste Kamer kritisch over de onderbouwing van de positieve relatie tussen dit wetsvoorstel en het stimuleren van marktwerking.
De Wet Onafhankelijk Netbeheer is een zeer controversieel dossier, waar met name vanuit de grote vier geïntegreerde bedrijven (Nuon, Essent, Eneco en Delta) veel protest tegen is geweest en een stevige lobby tegen is gevoerd.1318 Het onderwerp lijkt vooral te leven bij de energiebedrijven, de werknemers en de politiek; onder het Nederlandse volk is er minder aandacht , wellicht mede vanwege het technische gehalte van het onderwerp (splitsing energiebedrijven). Volgens een NIPO-enquête zou een meerderheid van de Nederlandse bevolking tegen de wet zijn geweest, maar volgens een commentator waren de vragen voor de enquête (bedacht door de energiebedrijven, de opdrachtgevers voor de peiling) zeer suggestief, nog afgezien van de vraag welke waarde parlementsleden überhaupt moeten hechten aan een opiniepeiling.1319 Het parlement had derhalve (zoals bij zoveel dossiers) geen gemakkelijke taak om maatschappelijke en deelbelangen tegen elkaar af te wegen om tot een finaal oordeel te komen.
Verschillende belangenorganisaties hebben in deze context hun mening geventileerd over de wenselijkheid van de wet. Prominente voorstanders waren MKB Nederland, de Consumentenbond, de Land- en Tuinbouw Organisatie (LTO) en de belangenorganisatie van industriële grootverbruikers (Vereniging voor Energie, Milieu en Water; VEMW). Ook (buitenlandse) energieleveranciers die (in Nederland) geen netten in bezit en beheer hadden zijn voorstander (zoals E.on en Electrabel).1320 Zoals reeds gezegd zijn de vier grote geïntegreerde bedrijven (Nuon, Essent, Eneco en Delta) groot tegenstander. Daarnaast uitten de vakbonden reserveringen, waarbij met name het Landelijk Medezeggenschapsplatform Energiebedrijven (LME) tegen de wet is uit vrees voor verlies van sectorale werkgelegenheid. Ook VNO/NCW is tegen. De aandeelhouders (gemeenten en provincies) blijken verdeeld te zijn over de wenselijkheid van de wet.1321
De Tweede Kamer besteedt veel aandacht aan de burger in diens rol van consument. Belangrijk hierbij is dat veel fracties in de Tweede Kamer vinden dat marktwerking moet worden verbeterd opdat de resulterende efficiëntieverbeteringen ten goede komen aan de consument. Het splitsingsvoorstel zou dit bewerkstelligen, zo vond ook MKB Nederland en de Consumentenbond. Het is ook weinig verbazingwekkend dat veel fracties in de Tweede Kamer de studie van het CPB en de Validatiecommissie aangrijpen als bewijs dat dit wetsvoorstel in het voordeel is van de consument. Er is veel aandacht voor de mogelijke kosten van het splitsingsonderdeel en de minister wordt verzocht regels op te stellen om dit te voorkomen.
Ondanks de focus op de effecten voor de consument heeft de Tweede Kamer wel degelijk ook aandacht gehad voor de positie van verschillende andere belanghebbenden. De Tweede Kamer heeft voor en tijdens het wetgevingstraject drie hoorzittingen georganiseerd met experts en betrokkenen uit de sector om de voor- en nadelen van het splitsingsplan te toetsen.1322 Al reeds voor het wetgevingstraject (juni 2005) is een besloten hoorzitting gehouden met betrokkenen, waarbij met name is gesproken over de mogelijke risico’s van de CBL-contracten. In december 2005 is nog een hoorzitting gehouden, over de CBL-problemen en de privatisering van energiebedrijven. Hierbij is gesproken met wetenschappers van verschillende disciplines, advocaten, bestuursvoorzitters en aandeelhouders. Nog vlak voor de plenaire slotdebatten in de Tweede Kamer (in maart 2006) is gesproken met de aandeelhouders van de energiebedrijven om te bezien welke strategie zij voor ogen hadden met de bedrijven. Tijdens deze hoorzittingen kon de Tweede Kamer dus direct informatie inwinnen van experts en betrokkenen over de verschillende dimensies en mogelijke gevolgen van de wet.
De Eerste Kamer lijkt bij het maken van een afweging veel gewicht toe te kennen aan de mogelijk negatieve gevolgen voor de gevestigde Nederlandse geïntegreerde energiebedrijven. Zo stelt het CDA dat naast de belangen van afnemers ook de rechtspositie van de gevestigde bedrijven aandacht verdient.1323 Daarnaast is opvallend dat Doek (CDA) de motie-Doek/Sylvester presenteert onder verwijzing naar het feit dat huidige energiebedrijven lang geprotesteerd hebben tegen de wet. De Eerste en Tweede Kamer koemn dus uiteindelijk tot een verschillend oordeel wat betreft de wenselijkheid van de wet; volgens Doek was zijn oorspronkelijke bedoeling van de motie om het onderdeel van de wet dat verplichtte tot splitsing helemaal nooit in werking te laten treden.1324 De Eerste en Tweede Kamer komen uiteindelijk ook tot een ander antwoord op de vraag of een splitsing van energiebedrijven wenselijk is voor Nederland en of de burger erop vooruit gaat.
Ten slotte kan gesteld worden dat het parlement veel aandacht heeft besteed aan de toekomstige sturingsmogelijkheden van de energiebedrijven na splitsing en privatisering. Beide Kamers maken zich zorgen dat een «uitverkoop» van de energiesector tot minder sturing van de overheid zal leiden (zowel op decentraal als op nationaal niveau). Daarmee wordt indirect ook aandacht besteed aan de positie van het parlement en op welke manier het parlement in de toekomst nog (via de minister) invloed kan uitoefenen op de energiebedrijven. Het parlement lijkt echter nogal tegenstrijdige verwachtingen te hebben wat betreft sturingsmogelijkheden, omdat deze vaak worden gezocht in overheidsaandeelhouderschap. Enerzijds wenst het parlement blijvend overheidsaandeelhouderschap van de energiebedrijven om zo de energiebedrijven te kunnen aansturen. Anderzijds wordt, met name in de Tweede Kamer, herhaalde malen geklaagd dat aandeelhouders te weinig zeggenschap hebben of claimen, te weinig expertise hebben en/of de bedrijven niet genoeg in de richting van het behartigen van publieke belangen sturen. Op welke manier de overheid (en het parlement) in de toekomst via decentraal aandeelhouderschap de energiebedrijven goed kan aansturen blijft daarmee nogal onduidelijk.
In deze paragraaf is betoogd dat het parlement met grote zorgvuldigheid de verschillende dimensies en risico's van de Wet Onafhankelijk Netbeheer heeft behandeld. Er is hierbij gebruik gemaakt van zowel de medewetgevende als controlerende bevoegdheden. Uit de amendementen en de nota's van wijzigingen blijkt dat het primaire resultaat van de medewetgevende rol van de Tweede Kamer ligt in het veiligstellen van het belang van consumenten om niet de dupe te worden van het splitsingsvoorstel. Een andere belangrijke bijdrage als medewetgever is het bij de minister afdwingen van bepaalde garanties op het gebied van het toekomstige privatiseringsbeleid. Opvallend is de belangrijke rol die de Eerste Kamer speelt wat betreft de uitvoering van de wet, aangezien met een motie een cruciaal onderdeel van de wet (het splitsingsonderdeel) voor onbepaalde tijd werd uitgesteld. Hierbij valt het op dat weinig duidelijkheid werd gegeven of gevraagd wat betreft de toekomstige omstandigheden die aanleiding zouden kunnen zijn om dit onderdeel van de wet in werking te laten treden.
Als controlerende macht is er een verschil te zien tussen de focus van de Tweede en Eerste Kamer. Hoewel de minister wel degelijk aan de tand wordt gevoeld wat betreft de onderbouwing van dit wetsvoorstel, vullen veel fracties in de Tweede Kamer de minister aan door uiteen te zetten op welke manier de wet bijdraagt aan het bereiken van de verschillende doelen. De focus verschuift gaandeweg van de doelstellingen naar het in kaart (laten) brengen van de positieve en negatieve gevolgen van de wet. Daartoe zijn ook verschillende hoorzittingen georganiseerd met betrokkenen en experts. De minister wordt hierbij primair gecontroleerd of adequate maatregelen zijn genomen om risico's van de wet te mitigeren en om de kosten van het wetsvoorstel niet bij de consument terecht te laten komen. Verschillende fracties in de Eerste Kamer blijven echter een sterke focus houden op de onderbouwing van de minister wat betreft de noodzakelijkheid en proportionaliteit van de wet. Zij gaan veelvuldig in op de argumentatie dat adequate marktwerking op dat moment niet goed is gegarandeerd en dat de Wet Onafhankelijk Netbeheer marktwerking stimuleert. Bij dergelijke kritiek verwijst de minister echter diverse keren naar het feit dat het wetsvoorstel het netbeheer tegen (buitenlandse) commerciële invloeden beschermt. Het debat in de Eerste Kamer werd daarmee een herhaling van zetten door de fracties en de minister.
Ook geven de Eerste en Tweede Kamer een andere invulling aan hun rol als volksvertegenwoordiger. De Tweede Kamer hecht vooral veel waarde aan de gevolgen voor de Nederlandse consument op het gebied van betrouwbaarheid en toegankelijkheid van energie, terwijl de Eerste Kamer bij het maken van een afweging de mogelijk negatieve gevolgen voor de gevestigde Nederlandse geïntegreerde energiebedrijven een prominente plaats geeft.
De opzet van dit hoofdstuk wijkt enigszins af van de vorige hoofdstukken omdat het hier niet gaat om een besluit tot privatisering of verzelfstandiging in een concreet geval of in een sector. In dit hoofdstuk staan twee parlementaire debatten centraal over verzelfstandiging en privatisering in het algemeen, namelijk over de Kaderwet Zelfstandige Bestuursorganen (ZBO’s) en over het staatsdeelnemingenbeleid (drie nota’s: uit 1996, 2001 en 2007). De beschrijving volgt het debat, chronologisch, en besteedt daar waar mogelijk of relevant aandacht aan de vier thema’s van het parlementaire onderzoek (vergelijk hoofdstuk 1 van het rapport): motieven, sturing en verantwoording, effecten en evaluaties, en de rol van het parlement. Bijzondere aandacht wordt besteed aan de effecten voor de burger en diens relatie met de overheid, voor zover dat in de debatten aan bod komt.
Voordat we het verloop van het debat over de Kaderwet ZBO kunnen beschrijven is het eerst nodig om stil te staan bij de vraag: Wat is een ZBO? Die vraag lijkt simpel, maar schijn bedriegt; er zijn vele definities in omloop, waarvan geen enkele geheel sluitend lijkt te zijn.
Voormalig staatssecretaris van Justitie en staatsrechtgeleerde van D66-huize Scheltema is de geestelijk vader van het begrip zelfstandig bestuursorgaan. Hij muntte het begrip in zijn oratie uit 1974 waarin hij ZBO's omschrijft als «organen die een gedeelte van de bestuurstaak van de centrale overheid uitvoeren, maar dat tot bepaalde hoogte naar eigen inzicht verrichten. De minister is niet bevoegd om precies te vertellen hoe het moet.»1326 Deze definitie blinkt niet uit in duidelijkheid. Het vinden van een preciezere definitie is lastig, omdat ZBO's in zulke grote verscheidenheid voorkomen. ZBO's kunnen een privaatrechtelijke (bijvoorbeeld de Nederlandse Omroep Stichting) of een publiekrechtelijke (bijvoorbeeld het Centraal Bureau voor de Statistiek) rechtspersoon zijn. Ze kunnen als doel hebben om onafhankelijk deskundig advies te geven (bijvoorbeeld het College ter Beoordeling van Geneesmiddelen) of om grote hoeveelheden beschikkingen uit te vaardigen (bijvoorbeeld het Centraal Bureau Rijvaardigheidsbewijzen). Kortom, ze komen in verschillende vormen en voor verschillende doeleinden voor. Dat maakt het lastig om één sluitende definitie te maken waar alle verschillende soorten ZBO's onder vallen.
Vanwege de onduidelijkheid rondom de definiëring van ZBO's, is het ook lastig te berekenen hoeveel er bestaan. Schattingen lopen uiteen, ook in de tijd. De een spreekt van rond de 500 ZBO’s in de jaren ’90,1327 terwijl de ander in 1993 189 ZBO’s (of clusters van ZBO’s) telt.1328 In het ZBO-register staan op het moment van schrijven 118 ZBO’s en clusters van ZBO’s vermeld1329 terwijl in de evaluatie van de Kaderwet ZBO uit 2012 door het ministerie van Binnenlandse Zaken 163 (clusters van) ZBO's worden genoemd.1330
Wat in ieder geval duidelijk is, is dat verzelfstandiging door de vorming van een ZBO gevolgen heeft voor de ministeriële verantwoordelijkheid. Het staatsrechtelijk beginsel van de ministeriële verantwoordelijkheid werkt als volgt. De minister is verantwoordelijk voor zijn eigen handelen en nalaten en dat van de onder hem ressorterende ambtenaren.1331 Verantwoordelijk betekent in deze context dat de Tweede Kamer het de minister kan aanrekenen als een ambtenaar op een bepaalde manier handelt die de Kamer niet zint. Over het algemeen wordt aangenomen dat de verantwoordelijkheid van de minister reikt tot waar de minister bevoegd is. Simpel gezegd: geen verantwoordelijkheid zonder bevoegdheid.1332
Bij verzelfstandiging in de vorm van een ZBO bestaat er geen directe hiërarchische ondergeschiktheid aan de minister. Daardoor vermindert de ministeriële verantwoordelijkheid. Bij de vorming van een ZBO worden beleid en uitvoering van elkaar gescheiden. In de ideaaltypische situatie wordt aan de ene kant het beleid uitgedacht door beleidsambtenaren. Zij formuleren het beleid op papier. Strikt gescheiden daarvan zijn de uitvoerders, die het uitgedachte beleid daadwerkelijk uitvoeren.
Bij een strikte scheiding van beleid en uitvoering geldt de ministeriële verantwoordelijkheid onverkort voor de beleidsambtenaren. Zij formuleren het beleid en geven daarmee uitdrukking aan de politieke overtuigingen van de minister. De ministeriële verantwoordelijkheid geldt in mindere mate voor de uitvoering. Daar heeft de minister enkel een algemene aanwijzingsbevoegdheid, geen specifieke aanwijzingsbevoegdheid. De minister kan dus wel algemene aanwijzingen geven, maar de specifieke uitvoering in individuele gevallen is overgelaten aan bijvoorbeeld ZBO's die relatief zelfstandig handelen.1333 Zoals Scheltema schrijft: «De minister is niet bevoegd om precies te vertellen hoe het moet.» Omdat hij niet bevoegd is, is hij ook niet verantwoordelijk. De (volledige) ministeriële verantwoordelijkheid is dus doorbroken.
Een veelgenoemd motief voor het verzelfstandigen door middel van het oprichten van ZBO's is juist die scheiding van beleid en uitvoering. De minister kan minder worden aangesproken op de details van de uitvoering van zijn beleid.1334
De vorming van een ZBO wordt ook wel externe verzelfstandiging genoemd. Bij interne verzelfstandiging krijgt een dienst wel enige mate van autonomie, maar blijft de ministeriële verantwoordelijkheid onverkort gelden. Interne verzelfstandiging leidt tot het oprichten van zogenoemde agentschappen of baten-lastendiensten. Hiervoor zijn regels in de Comptabiliteitswet opgenomen.1335 Interne verzelfstandiging is geen onderdeel van het parlementaire onderzoek.
Groei aantal ZBO’s leidt tot kritiek
ZBO’s bestaan eigenlijk al veel langer, alleen niet altijd onder die noemer. Als eerste ZBO wordt wel eens de Universiteit van Leiden genoemd, opgericht in 1575.1336 Anno 2012 worden universiteiten niet meer als ZBO gezien, maar als Rechtspersoon met een Wettelijke Taak.1337 Andere voorbeelden van ZBO's met een respectabele leeftijd zijn de Koninklijke Nederlandse Munt (1807), De Nederlandsche Bank (1814) en de Koninklijke Nederlandse Akademie van Wetenschappen (1851).
In de jaren ’80 en begin jaren ’90 neemt het aantal ZBO's een grote vlucht. Dit komt mede door het aantreden het kabinet-Lubbers I in 1982. Lubbers start zes zogenoemde Grote Operaties: heroverweging overheidsuitgaven, reorganisatie van de Rijksdienst, decentralisatie van rijksoverheidstaken, deregulering, min twee-procent-operatie en privatisering.1338 Het doel van de Grote Operaties is een kleinere en efficiëntere overheid. Om dit te bereiken worden veel overheidstaken verzelfstandigd in zelfstandige bestuursorganen.1339 Voorbeelden van nieuw opgerichte ZBO's zijn het cluster Havenbeheerders (opgericht in 1983), het Centraal Fonds voor de Volkshuisvesting (1988), het Stimuleringsfonds voor de Pers (1988) en de Pensioen- en Uitkeringsraad (1990).
Terwijl hun aantal stijgt, neemt de onduidelijkheid over wat ZBO's nu precies zijn toe. In 1988 neemt de Tweede Kamer een motie aan, waarin (onder meer) wordt gevraagd om meer duidelijkheid omtrent het begrip zelfstandig bestuursorgaan.1340 De regering reageert in 1989 met de notitie Functionele Decentralisatie.1341 Deze notitie gaat kort in op de ontstane onduidelijkheid, maar kan nog geen volledige helderheid bieden: «Het begrip zelfstandig bestuursorgaan is in de loop der tijd een verzamelbegrip geworden. Dit komt de helderheid niet ten goede. In de praktijk is de situatie gegroeid waarin organen, die beschikken over regelgevende bevoegdheden en waarbij in het bestuur een overwegende inbreng van belanghebbenden is voorzien, ook aangeduid worden als zelfstandige bestuursorganen.»1342
In de jaren ’90 neemt de kritiek op de ZBO's toe. De kritiek richt zich niet zozeer op het functioneren van de ZBO's an sich, maar meer op de onduidelijkheid en de gebrekkige regeling van de ministeriële verantwoordelijkheid ten aanzien van de ZBO's. Deze kritiek komt onder andere tot uiting in de rapporten van de commissies-Scheltema,1343 Wiegel1344 en Sint1345 en in een rapport van de Algemene Rekenkamer.1346
Hierna worden deze rapporten en de parlementaire beraadslagingen erover besproken. Vervolgens wordt de totstandkoming van de Kaderwet ZBO besproken, van de aanname van de eerste motie-Scheltema-de Nie in 1995,1347 via de indiening van het wetsvoorstel door de regering bij de Tweede Kamer1348 tot de inwerkingtreding op 1 februari 2007.1349 Tabel 6.1 geeft een overzicht van alle beleidsstukken en besluiten die een belangrijke rol hebben gespeeld bij de totstandkoming van de Kaderwet ZBO.
|
Datum |
|
|---|---|
|
Kabinetsnotitie Functionele decentralisatie |
23 februari 1989 |
|
Rapport-Scheltema |
1 juni 1993 |
|
Rapport-Wiegel |
24 juni 1993 |
|
Rapport-Sint |
14 september 1994 |
|
Verslag Algemene Rekenkamer |
30 maart 1995 |
|
Kabinetsnotitie Herstel van het primaat van de politiek bij de aansturing van zelfstandige bestuursorganen |
3 mei 1995 |
|
Eerste motie-Scheltema-de Nie |
29 juni 1995 |
|
Aanwijzingen voor de regelgeving inzake ZBO’s |
5 september 1996 |
|
Tweede motie-Scheltema-de Nie |
29 mei 1997 |
|
Indiening wetsvoorstel Kaderwet ZBO |
27 september 2000 |
|
Aanname wetsvoorstel Kaderwet ZBO in Tweede Kamer |
26 maart 2002 |
|
Rapport-Kohnstamm |
9 juli 2004 |
|
Kabinetsreactie op rapport-Kohnstamm |
26 mei 2005 |
|
Aanname wetsvoorstel Kaderwet ZBO in Eerste Kamer |
31 oktober 2006 |
|
Inwerkingtreding Kaderwet ZBO |
1 februari 2007 |
Rapporten commissie-Wiegel en commissie-Scheltema
In het kader van de «Bijzondere Commissie Vraagpunten»1350 komen in 1993 twee rapporten uit: het rapport van de commissie-Scheltema, getiteld «Steekhoudend ministerschap. Betekenis en toepassing van de ministeriële verantwoordelijkheid»1343 en het rapport van de commissie-Wiegel, getiteld «Naar kerndepartementen. Kiezen voor een hoogwaardige en flexibele rijksdienst».1344 In het rapport-Scheltema staat onder andere dat «het beleid met betrekking tot de instelling van zelfstandige bestuursorganen verbrokkeld en weinig consistent is.»1351 Mede daarom luidt de laatste aanbeveling uit het rapport: «De hoofdregels voor de inrichting en controle van zelfstandige bestuursorganen dienen in een kaderwet te worden vastgelegd.»1352 Het rapport-Wiegel bepleit een strikte scheiding tussen beleid en uitvoering. Kerndepartementen, bemand door in totaal 10–15 000 rijksambtenaren,1353 maken het beleid. De uitvoering wordt op afstand geplaatst middels «privatisering, verzelfstandiging en decentralisatie van taken.»1354
Op 3 november 1993 staan beide rapporten geagendeerd voor debat in de Tweede Kamer.1355 Wiebenga voert namens de VVD als eerste het woord. Zijn motief is «om een doelmatiger overheidsbestuur te bewerkstelligen.»1356 Om dat te bereiken, wil hij het liefst overheidsdiensten op afstand plaatsen door ze te privatiseren.1357 Zo stelt hij voor het Centraal Planbureau te privatiseren.1358 Verzelfstandiging in een ZBO is voor hem tweede keus, met als voorwaarde dat het toezicht enkel via de minister loopt. «Dat betekent dat je moet afzien van raden van toezicht, want in dergelijke raden komen weer al die mensen vanuit verschillende hoeken van de samenleving te zitten. Dat is een corporatieve gedachte. Dat moeten wij bij zelfstandige bestuursorganen niet hebben.» Als motief hiervoor zegt Wiebenga dat dergelijke vormen van burgermacht1359 de zaak te ingewikkeld maken en de controlefunctie van het parlement aantasten.
D66-Tweede Kamerfractielid Scheltema-de Nie is voor de «verbetering van de relatie tussen overheid en burger en de relatie tussen kiezer en gekozene» en een «herstel van de legitimiteit van het politieke bestuur.»1360 Of dat door middel van verzelfstandigingen moet gebeuren, vermeldt ze niet. Wel zegt ze voorstander te zijn van scheiding van beleid en uitvoering, onder andere door verzelfstandiging.1361 Verzelfstandigingen zullen er weliswaar toe leiden dat «de ministeriële verantwoordelijkheid en onze controlemogelijkheden minder worden», maar dat is onvermijdelijk.1362 Als oplossing suggereert Scheltema-de Nie: «Die vermindering van ministeriële verantwoordelijkheid en de daarmee samenhangende vermindering van parlementaire controlemogelijkheden zouden naar ons oordeel moeten worden gecompenseerd door andere vormen van toezicht en controle door bijvoorbeeld de Algemene Rekenkamer, de Nationale Ombudsman en door regelmatige evaluaties.»1362
Namens de fractie van GroenLinks spreekt Tweede Kamerlid Willems over de noodzaak de «kloof tussen politiek en burgers enigszins te slechten.»1363 Hiertoe benadrukt hij de taak van non-gouvernementele organisaties als Amnesty International, Greenpeace of de milieubeweging.1364 Voorts onderschrijft hij «van harte de suggestie van de commissie-Wiegel om met kracht de ontwikkeling naar kerndepartementen door te zetten. Dat vereist een scherpere afbakening tussen uitvoerende en beleidsbepalende taken.»1364
Jurgens (PvdA) bespreekt de beïnvloedingsmogelijkheden van de burger ná verzelfstandiging. De ministeriële verantwoordelijkheid over zelfstandige bestuursorganen is weliswaar beperkt, maar wellicht is het mogelijk voor burgers om rechtstreeks via de ombudsman of via een college van toezicht invloed te houden richting ZBO's. «Voor de burgers is misschien een probleem of zij nog voldoende mogelijkheden krijgen tot het inbrengen van klachten over het functioneren van die zelfstandige bestuursorganen.»1365
Leerling (RPF) zegt in zijn algemeenheid voorstander te zijn van de vorming van kerndepartementen. «Maar of dit de relatie tussen kiezer en gekozene echt zal verbeteren, staat zeer te bezien.» Volgens Leerling wordt de vermeende kloof tussen burger en politiek zwaar overdreven, hij «weiger[t] (...) te spreken van een legitimiteits- en kwaliteitscrisis van politiek en bestuur.»1366
Mateman (CDA) ten slotte waarschuwt voor «overwaardering van de rol van de staat. Het CDA gaat uit van het begrip «gespreide verantwoordelijkheid», waarbij wij ruimte laten, ook in onze organisaties, voor burgers die hun verantwoordelijkheid niet alleen als staatsburger beleven, maar ook als lid van een schoolbestuur, van Amnesty International, Greenpeace, de buurtvereniging of de hockeyclub.»1367 Verder stelt Mateman dat «het voorstel voor scheiding tussen kerndepartementen en uitvoerende diensten» hem aanspreekt, maar hij waarschuwt voor de zogenaamde «zelfmanagementparadox. Hoe krijg je nu greep op de organisaties die zich onder het departement bevinden en toch op afstand staan? Daar moeten wij heel goed over nadenken, want volgens ons scharniert hier de gehele operatie omheen.»1368
Samenvattend kan worden gesteld dat de Tweede Kamer over het algemeen voorstander is van verzelfstandigingen. Als motieven worden genoemd het bewerkstelligen van een doelmatiger overheidsbestuur (VVD)1369 of de verbetering van de relatie tussen overheid en burger en herstel van de legitimiteit van het politieke bestuur (D66).1370 De VVD zegt nog liever te willen privatiseren dan te verzelfstandigen en wil dat de beïnvloedingsmogelijkheid van de burger beperkt blijft tot de parlementaire weg.1357
Men kijkt verschillend aan tegen de rol van het parlement. De VVD wil niet dat de burger mogelijkheden krijgt om buiten het parlement om invloed uit te oefenen op de ZBO’s,1357 terwijl D66, de PvdA en het CDA dat juist wel willen.1371
Rapport commissie-Sint, rapport Algemene Rekenkamer, kabinetsreactie
In de aanloop naar het debat over de Kaderwet ZBO zijn nog twee rapporten van belang. Ten eerste het rapport Verantwoord verzelfstandigen van de commissie-Sint, uitgekomen op 14 september 1994.1345 Deze commissie is ingesteld in opdracht van het beraad van de secretarissen-generaal en wordt voorgezeten door Sint, op dat moment directeur Interbestuurlijke Betrekkingen en Informatievoorziening bij het ministerie van Binnenlandse Zaken.
In het rapport heeft de commissie «aandachtspunten opgesteld voor toekomstige verzelfstandigingen, in het bijzonder met betrekking tot de vraag van de ministeriële verantwoordelijkheid, de sturingsrelaties en de sturingsinstrumenten.»1372 Het rapport geeft een stappenplan voor de vraag of je een dienst het beste kunt privatiseren, intern verzelfstandigen of extern verzelfstandigen. Als eerste stap dient bekeken te worden of er een collectief belang is dat bemoeienis van de overheid rechtvaardigt. Zo niet, dan is privatisering geboden. Mocht het wel een taak voor de overheid betreffen, dan moet worden gekeken of de bevoegdheden van de minister dienen te worden overgedragen. Is dat het geval, dan is onderbrenging van de taak in een ZBO de beste optie, omdat in die variant de ministeriële bevoegdheden afnemen. Is er geen reden om ministeriële bevoegdheden over te dragen, dan is interne verzelfstandiging (agentschap) de beste optie.1373
In 1995 brengt de Algemene Rekenkamer haar jaarverslag over 1994 uit.1374 In deel 3 van dit verslag onderzoekt de Rekenkamer «de wijze waarop de ministeriële verantwoordelijkheid voor zelfstandige bestuursorganen is geregeld». Men komt tot de conclusie dat er in 1993 189 ZBO's of clusters van ZBO's bestonden. Hiervan onderzoekt de Algemene Rekenkamer er in totaal 162, waarvan de geschatte totale uitgaven en ontvangsten 160 miljard gulden bedragen. De Rekenkamer constateert: «Voor 81 organen werden in de regeling zelf of in de memorie van toelichting geen argumenten genoemd voor het op afstand plaatsen van de publieke taak (...). Bij 17 organen was er geen wettelijke basis voor de uitvoering van publieke taken en bij 45 organen was de bekostigingswijze niet bij of krachtens een specifieke wet geregeld.» De Rekenkamer concludeert dat «inrichting en vormgeving van de afzonderlijke zelfstandige bestuursorganen dermate verschillend zijn geregeld dat gesproken kan worden van wildgroei.»1375
Het kabinet reageert op het verslag van de Rekenkamer met de notitie «Herstel van het primaat van de politiek bij de aansturing van zelfstandige bestuursorganen».1376 Men steekt de hand in eigen boezem: «Het kabinet erkent dat sprake is geweest van een minder samenhangend verzelfstandigingsbeleid en van een tekortschietende regeling en praktijk van de aansturing van zelfstandige bestuursorganen.»1377 Het kabinet doet meerdere voorstellen om het primaat van de politiek te herstellen. Alle ZBO's worden doorgelicht en er wordt nadrukkelijker gekeken naar de wijze van financiering en de sturingsmogelijkheden van het kabinet.1378 Ook kondigt de regering Aanwijzingen voor de regelgeving inzake zelfstandige bestuursorganen aan.1379 De instellingswetten van ZBO's worden vergeleken met de nieuwe aanwijzingen en waar nodig aangepast.1380 De Aanwijzingen zullen later grotendeels worden opgenomen in de Kaderwet ZBO.
Parlementair debat
Het rapport-Sint, het Verslag van de Algemene Rekenkamer en de reactie van het kabinet daarop, staan op 15 juni 1995 alledrie geagendeerd voor een algemeen overleg van de vaste commissie voor Binnenlandse Zaken en algemene commissie voor de Rijksuitgaven met ministers Dijkstal van Binnenlandse Zaken en Zalm van Financiën.1381 Zeven Kamerleden geven hun inbreng: Kamp (VVD), Assen (CDA), Rehwinkel (PvdA), Scheltema-de Nie (D66), Van den Berg (SGP), Schutte (GPV) en Sipkes (GroenLinks). Hieronder worden de bijdragen besproken.
Kamp (VVD) bijt het spits af. Hij bepleit een voortzetting van de scheiding van beleid en uitvoering. «De ontwikkeling naar kleine kerndepartementen moet krachtig worden doorgezet.» Die kerndepartementen formuleren, onder verantwoordelijkheid van de minister, het beleid. Dat beleid wordt uitgewerkt door op afstand geplaatste diensten. Kamp heeft een voorkeursvolgorde hoe dat moet gebeuren: territoriale decentralisatie en privatisering op een gedeelde eerste plaats, interne verzelfstandiging in een agentschap op de tweede plaats en externe verzelfstandiging in een ZBO op de derde en laatste plaats. Kamp is dus geen warm voorstander van de vorming van ZBO's, dit is pas zijn laatste keuze.1382 Hiermee neemt Kamp dezelfde positie in als zijn partijgenoot Wiebenga, die in 1993 ook pleitte voor privatisering op de eerste plaats en verzelfstandiging op de tweede plaats.1383
Mocht er toch worden overgegaan tot de vorming van een ZBO, dan moet dit van Kamp volgens een vast patroon geschieden. «Een ZBO kan gevormd worden indien het waarborgen van de belangen van derden politiek nog zwaarder weegt dan het grote belang van het onaangetast laten van de ministeriële verantwoordelijkheid en daarmee de mogelijkheid van parlementaire controle.»1382
Assen (CDA) zegt geschrokken en geschokt te zijn van het rapport van de Rekenkamer. «De lijnen van verantwoordelijkheid, toezicht en controle zijn ondoorzichtig, de centrale aansturing heeft ontbroken en het politieke primaat is verloren gegaan.»1384 Zij noemt «herstel van het primaat van de politiek bijzonder belangrijk en verzelfstandiging kan hierbij een rol spelen. (...) Herstel van het primaat van de politiek betekent ook (...) dat het parlement meer mogelijkheden van controle en toezicht moet krijgen. De politieke taak moet een zwaar accent krijgen en de Tweede Kamer moet meer taken en bevoegdheden op dit vlak krijgen.»1385 Ze pleit dus voor een parlement dat zich beter van zijn controlerende functie kwijt.
Rehwinkel (PvdA) juicht de figuur van agentschap toe en vindt «dat daar zoveel mogelijk voor gekozen zou moeten worden.»1386 «In ieder geval zou (...) verkend moeten worden of de vorm van ZBO dient te vervallen. Als die vorm inderdaad zou wegvallen, zou voor het op afstand zetten van taken alleen nog kunnen worden gekozen tussen privatisering (in het geval de conclusie moet zijn dat er geen sprake meer is van een taak voor de overheid) en interne verzelfstandiging in de vorm van een agentschap.»1387
Scheltema-de Nie (D66) noemt de situatie rondom ZBO's een treurig geheel. Ze vindt «de situatie op het vlak van verzelfstandigingen (...) zodanig alarmerend dat op korte termijn een kaderwet dient te worden ingevoerd». Ze dringt er «met klem op aan dat met het in gang zetten van nieuwe verzelfstandigingen wordt gewacht tot de kaderwet tot stand is gekomen.»1388 Verder zegt ze ervan uit te gaan «dat eenieder voorstander is van herstel van het primaat van de politiek bij ZBO's.»1389 Dit gaat beter bij externe verzelfstandigingen in de vorm van ZBO's dan bij interne verzelfstandigingen in de vorm van agentschappen. Bij de vorming van een agentschap blijft de ministeriële verantwoordelijkheid intact, terwijl deze bij ZBO's wordt verzwakt. Maar deze verzwakking van ministeriële verantwoordelijkheid ziet Scheltema-de Nie niet als een probleem. De «alom aanwezige ministeriële verantwoordelijkheid voor alle departementale uithoeken, al dan niet ondergebracht in agentschappen», zou namelijk een fictie zijn. Als deze fictie van volledige ministeriële verantwoordelijkheid gehandhaafd blijft, valt het volgens Scheltema-de Nie «te betwijfelen of het primaat van de politiek daarmee daadwerkelijk wordt versterkt.»1390
Van den Berg (SGP) en Schutte (GPV) uiten allebei hun zorgen over de wildgroei aan ZBO's. Schutte spreekt over een schokkend beeld.1391 Tot slot meent Sipkes (GroenLinks) dat «de Kamer steeds zeer kritisch toekomstige externe verzelfstandigingen en privatiseringen (moet) bezien.» Sipkes is de enige die níet oproept tot een kaderwet.1392
In het debat spreken de leden nauwelijks in expliciete termen over de verhouding burger-rijksoverheid. Verder valt op dat de leden meer spreken over het rapport van de Algemene Rekenkamer dan over het rapport-Sint en dat alle leden, behalve Sipkes (GroenLinks), oproepen tot een kaderwet.1393 Tot slot spreekt men de wens uit dat het parlement sterker betrokken moet zijn bij het verzelfstandigingsbeleid.
De meeste leden laten zich in positieve termen uit over agentschappen, omdat de vorming van ZBO's gevolgen heeft voor de werking van de ministeriële verantwoordelijkheid, terwijl dit bij de vorming van agentschappen niet het geval is. In het kader daarvan zijn de opmerkingen van Scheltema-de Nie (D66) relevant. Zij is, in tegenstelling tot de anderen, minder positief over agentschappen, met het oog op de werking van de ministeriële verantwoordelijkheid. De alom aanwezige ministeriële verantwoordelijkheid bij agentschappen ziet zij als een fictie, en ze betwijfelt of het primaat van de politiek door de volledige werking van de ministeriële verantwoordelijkheid wordt versterkt.1390
Dit duidt op grote onduidelijkheid rondom het begrip primaat van de politiek. De meeste leden roepen op tot een herstel hiervan, in overeenstemming met de kabinetsnotitie.1376 Het kabinet wil dit bewerkstelligen door ZBO's beter te evalueren en nadrukkelijker te kijken naar de wijze van financiering en de sturingsmogelijkheden van het kabinet.1378 Veel leden lijken het begrip «primaat van de politiek» zo op te vatten dat de Tweede Kamer meer controlemogelijkheden krijgt ten opzichte van ZBO's. Een herstel van het primaat van de politiek zou dus de rol van het parlement versterken. Dit is een tegenovergestelde beweging van verzelfstandigen, want bij verzelfstandigingen wordt de minister en daarmee de Tweede Kamer juist meer op afstand gezet.
Maar aan de andere kant lijken leden ook te menen dat verzelfstandiging het primaat van de politiek niet verzwakt, maar juist versterkt. Zo stelt Assen (CDA): «[H]erstel van het primaat van de politiek [is] bijzonder belangrijk en verzelfstandiging kan hierbij een rol spelen.»1385 Ze vermeldt er echter niet bij hoe verzelfstandiging een rol kan spelen bij het herstel van het primaat van de politiek.
Geconcludeerd kan worden dat men verschillende antwoorden kan geven op de vraag wat in de onderhavige gevallen precies met het primaat van de politiek wordt bedoeld.
Zoals hiervoor is gebleken, heerst in de Tweede Kamer in 1995 grote overeenstemming over de noodzaak van een kaderwet. Op 29 juni 1995 dient Scheltema-de Nie (D66) een motie in, waarin ze naar aanleiding van het verslag van de Algemene Rekenkamer oproept tot meer eenvormigheid in het verzelfstandigingsbeleid en vraagt om een kaderwet vóór 1 januari 1997.1347 De regering besluit eerst Aanwijzingen inzake zelfstandige bestuursorganen op te stellen. De Kaderwet laat langer op zich wachten. Dat blijft ook in de media niet onopgemerkt. De journalisten Van Weezel en Josten beschrijven in Vrij Nederland (8 maart 1997) hoe minister van Binnenlandse Zaken Dijkstal en minister van Financiën Zalm (beiden VVD) de kaderwet wel willen, maar worden tegengewerkt door onder anderen minister van Sociale Zaken en Werkgelegenheid Melkert en minister van Onderwijs Ritzen (beiden PvdA). Zij willen de verscheidenheid behouden, mede omdat veel ZBO's juist uit hun ministeries voortkomen.1394 Naar aanleiding van dit artikel vraagt de Tweede Kamer een reactie van de regering.1395 Minister van Binnenlandse Zaken Dijkstal antwoordt: «Met enige verwondering heb ook ik, evenals leden van de Tweede Kamer, kennisgenomen van het artikel in Vrij Nederland van vorige week.» Verder kan hij er niet specifiek op ingaan, want het artikel gaat over een vergadering van de ministerraad en «het verhandelde in de ministerraad is eerst over 30 jaar vatbaar voor publieke bespreking.»1396
De Kamer neemt hier geen genoegen mee. Scheltema-de Nie dient op 29 mei 1997 een tweede motie in, waarin ze constateert dat er «ondanks eerder gedane toezeggingen nog steeds geen Kaderwet zelfstandige bestuursorganen» bestaat. Ze «verzoekt de regering met grote spoed de voorbereiding van een Kaderwet ter hand te nemen» en «uiterlijk 1 januari 1998 een voorstel bij de Kamer in te dienen».1397 De motie wordt mede namens de Kamerleden Kamp (VVD), Rehwinkel (PvdA), Assen (CDA), Van den Berg (SGP) en Schutte (GPV) ingediend en met algemene stemmen aangenomen.1398
Ondanks deze motie duurt het nog een tijd voordat het wetsvoorstel klaar is. Op 27 september 2000 dient de regering pas het wetsvoorstel voor de Kaderwet ZBO in bij de Tweede Kamer.1399
De departementale twisten en de behandeling in het parlement tonen aan dat het verzelfstandigingsbeleid geen louter politieke kwestie is. Terwijl ministers van VVD-huize voorstander zijn van de wet, toont de Tweede Kamerfractie van de VVD zich het meest kritisch. En terwijl de Kamerleden van de PvdA voorstander zijn, verzetten de ministers van PvdA-huize zich ertegen. Deze onenigheid zorgt voor veel oponthoud.
Zoals hierboven vermeld, dient de regering op 27 september 2000 een wetsvoorstel voor een Kaderwet ZBO in bij de Tweede Kamer.1399 In het wetsvoorstel wordt als definitie van een ZBO gegeven: een «bestuursorgaan van de centrale overheid dat bij de wet, krachtens de wet bij algemene maatregel van bestuur of krachtens de wet bij ministeriële regeling met openbaar gezag is bekleed, en dat niet hiërarchisch ondergeschikt is aan een minister».1400 De kaderwet is alleen van toepassing op ZBO's die aan deze definitie voldoen. Verder staat in het wetsvoorstel dat de minister de leden van een ZBO benoemt, schorst en ontslaat1401 en de bezoldiging vaststelt,1402 dat de rechtspositieregels die gelden voor ambtenaren bij ministeries ook van toepassing zijn op personeel in dienst van een ZBO1403 en dat de minister een besluit van een ZBO kan vernietigen.1404 Voorts zijn er bepalingen betreffende het financieel toezicht1405 en evaluatie.1406
De Tweede Kamer bespreekt het wetsvoorstel plenair1407 op 27 februari 20021408 en 12 maart 2002.1409 Dat is dus anderhalf jaar na indiening van het voorstel. Hieronder worden de bijdragen van de leden besproken in de volgorde van het debat.
Als eerste voert het Tweede Kamerlid Belinfante (PvdA)1410 het woord. Zij geeft aan dat het debat over ZBO’s al lange tijd loopt: «In 1987 heeft de Tweede Kamer de regering in de motie-Lauxtermann1411 meer helderheid gevraagd over het functioneren van ZBO’s.»1412 Belinfante is positief gestemd over het wetsvoorstel. Wel stelt ze dat de voorkeur van de PvdA-fractie uitgaat naar «agentschappen boven ZBO's.»1413
Scheltema-de Nie (D66)1414 laakt het gebrek aan interesse in het parlement voor de verzelfstandigde diensten. De verzelfstandiging is voortgekomen uit een «behoefte aan meer effectiviteit en efficiency in het uitoefenen van overheidstaken.» Maar in de gevolgen was de politiek niet geïnteresseerd. «Er werd verzelfstandigd en daarmee was dan vaak de kous af.»1415 Dit leidde tot een onoverzichtelijke situatie met zeer veel verschillende ZBO's. De kaderwet zal daar verandering in brengen, meent Scheltema-de Nie. Haar motief is om middels een kaderwet eenvormigheid te bewerkstelligen in de wildgroei aan ZBO’s die is ontstaan.1416
Ook het CDA is bij monde van Van Wijmen1417 positief over het feit dat er überhaupt een wetsvoorstel is ingediend. Hij heeft slechts op bijzaken commentaar, bijvoorbeeld op de vraag of een algemene aanwijzingsbevoegdheid van een minister ten aanzien van ZBO's ook aangeduid kan worden als algemene beleidsregel.1418 Verder merkt hij op dat het bij de ingediende amendementen «voornamelijk gaat om technische verfijningen.»1418
Van den Berg (SGP)1419 spreekt over de uitgebreide discussies die «in de wetenschap en in de politiek» zijn gevoerd over de kaderwet. «Aan de ene kant zijn er de pluralisten – Van Thiel1420 heeft het in een artikel in Bestuurswetenschappen zo betiteld – die redeneren vanuit de gegeven diversiteit aan ZBO's en het niet mogelijk achten daarin meer eenheid aan te brengen. Aan de andere kant zijn er de uniformisten, die door middel van wetgeving een zekere ordening en harmonie willen aanbrengen in dit veld.» De SGP-fractie kiest voor de kant van de uniformering, aldus Van den Berg.1421
De dissidente stem in het debat komt van Te Veldhuis (VVD).1422 Zijn kritiek op verzelfstandigingen is fundamenteel van aard. Door verzelfstandigingen vermindert de ministeriële verantwoordelijkheid, wat tot gevolg heeft dat het parlement zwakker staat. Immers, de minister is niet, althans minder verantwoordelijk voor het handelen van een verzelfstandigde dienst. Het parlement kan de minister niet aanspreken voor iets waarvoor hij niet verantwoordelijk is. Dat noemt hij het gat in de ministeriële verantwoordelijkheid.1423
In een interruptie van Scheltema-de Nie stelt Te Veldhuis: «Kamerleden zullen vaak met de handen omhoog staan, omdat zij de mogelijkheid om de minister aan te spreken hebben weggegeven.»1424 Hierdoor staat ook de burger meer op afstand, want het parlement wordt geacht die burger te vertegenwoordigen. Te Veldhuis vreest dat «de beïnvloedingsmogelijkheden van burgers op ZBO's meestal minder is dan die op gewone vormen van openbaar bestuur als Rijk, provincie en gemeente. Er bestaan bijvoorbeeld geen gestructureerde zaken als inspraak en overleg, maar ook wijkraden, gebruikersraden, cliëntenraden, hoorzittingen, enzovoorts, die bij het regulier openbaar bestuur normaal zijn, komen daar niet voor. Dus de burger staat met een ZBO op een wat grotere afstand van het openbaar bestuur dan bij regulier openbaar bestuur.»1425 Pogingen om de burger meer bij het bestuur te betrekken mislukken door het verzelfstandigingsbeleid.1426
Overigens benadrukt Te Veldhuis in de tweede termijn van het debat dat de VVD niet principieel tegenstander is van ZBO's. Maar de kwestie van de verzwakte ministeriële verantwoordelijkheid en de controlemogelijkheden van het parlement ziet hij wel als een principieel vraagstuk.1427
Namens de ChristenUnie waarschuwt Van Middelkoop1428 zijn collega's dat de verminderde ministeriële verantwoordelijkheid consequenties heeft voor de positie van het parlement. «De rituele vraag waarmee een serie schriftelijke vragen van een Kamerlid vaak eindigen, luidt: wat gaat u er aan doen? Daarop kan en mag, ja moet de bewindspersoon soms antwoorden: daar ben ik niet verantwoordelijk voor. Dat moeten wij ons goed realiseren.»1429 Verder doet Van Middelkoop een belangwekkende oproep. Hij zegt: «Na de behandeling van dit wetsvoorstel zouden Kamercommissies zich moeten buigen over de vraag of het aanbeveling verdient regelmatig en vooral openhartige contacten te hebben met voor hun werk relevante ZBO's. Zonder dat er een minister in de buurt is, kunnen Kamerleden en ambtenaren dan van gedachten wisselen over de uitvoering van beleid en natuurlijk ook over de relatie van het ZBO met het kerndepartement.»1430 Voor dit voorstel krijgt hij warme steun van D66.1430
Pitstra (GroenLinks)1431 is kritisch over de in zijn ogen te ver doorgeslagen ZBO-isering; de ontwikkeling dat steeds meer overheidstaken worden overgelaten aan ZBO's.1432 In de tweede termijn van het debat constateert Pitstra tevreden dat de macht van de Tweede Kamer is toegenomen. «Ik heb de Handelingen van het Kamerdebat dat in 1991 plaatsvond, er nog eens op nagekeken. Daarbij waren overigens drie dezelfde woordvoerders actief.1433 De tijdgeest was toen geheel anders. De informatieplicht die nu door de regering wordt geregeld, werd toen door minister Dales met klem ontraden. Dat was allemaal betuttelend en dat taste (sic!) de ZBO's aan. Tien jaar later wordt zo'n belangrijke kwestie als de informatieplicht, die toentertijd werd ontraden en ook geen meerderheid in de Kamer kreeg, gewoon door de regering ingebracht.»1434
Tot slot stelt Kant (SP)1435 dat haar fractie zich altijd zeer kritisch heeft opgesteld ten opzichte van verzelfstandigingen.1436
Reactie minister en amendement-Te Veldhuis
De minister van Binnenlandse Zaken en Koninkrijksrelaties De Vries (PvdA)1437 erkent dat ZBO's «een beperkte democratische verantwoording» en «geen eigen parlementaire controle» hebben.1438 Maar hij vraagt zich af of dat erg is. «Moet niet alleen de minister, maar ook de Kamer werkelijk alles weten? Is het niet voldoende dat gewaarborgd is dat informatie boven tafel komt als daartoe aanleiding is en dat die informatie wordt aangekleed met de opvatting van de zijde van de regering, waardoor politieke controle en politiek debat mogelijk wordt?»1439 Hierop wordt niet gereageerd door de Kamerleden.
Voorts heeft de minister opmerkingen die van belang zijn in het kader van de zogenaamde «Oekaze van Kok». Hiermee wordt bedoeld dat ambtenaren niet mogen spreken met Kamerleden zonder uitdrukkelijke toestemming van de voor de ambtenaar verantwoordelijke minister. Minister De Vries zegt hierover: «Het parlement kan ook, als daarvoor aanleiding is, zelf op zoek gaan naar informatie, bijvoorbeeld door het organiseren van hoorzittingen. Ook leden van zelfstandige bestuursorganen kunnen daartoe worden uitgenodigd. (...) De Kamer is zeker gerechtigd om contact te onderhouden met lichamen die publieke taken uitoefenen. Wij hebben meerdere malen met elkaar vastgesteld dat het hier niet gaat om ambtenaren die hiërarchisch onder de minister vallen. Alle bezwaren die vanuit dat perspectief naar voren worden gebracht, gaan niet op.»1439
De Tweede Kamer dient in totaal drie moties en 36 amendementen in naar aanleiding van de Kaderwet ZBO.1440 Twee van de drie moties en 17 van de 36 amendementen worden aangenomen.1441 Eén amendement in het bijzonder is relevant voor het parlementaire onderzoek. Dat is amendement 33 van Te Veldhuis (VVD).1442 Lid twee van dit amendement luidt: «Een zelfstandig bestuursorgaan treft voorzieningen, waardoor personen en instellingen, die met hem in aanraking komen, in de gelegenheid zijn voorstellen tot verbeteringen van werkwijzen en procedures te doen.» De toelichting luidt: «In het tweede lid zit de mogelijkheid om justiabelen [klanten van een ZBO; red.] enige toegang of beïnvloedingsmogelijkheid te verschaffen. Bijvoorbeeld via inspraak, een klachtenregeling, (burger-)participatie, een gebruikersraad, enz. Dit is ook al gebruikelijk bij «normale» lichamen van openbaar bestuur. En is temeer gewenst, nu beïnvloeding of benadering via volksvertegenwoordigers ontbreekt. De concrete uitwerking kan via de instellingswetten plaatsvinden.» Te Veldhuis vreest een beperking van de macht van de burger om invloed uit te oefenen op ZBO's. Middels dit amendement wil hij de burgers een deel van die macht teruggeven. Het amendement wordt aangenomen, met als voorstemmers de SP, GroenLinks, D66, de VVD, de ChristenUnie en de SGP.1443 In de finale Kaderwet ZBO komt de bepaling te staan onder artikel 19 lid 2.
Op 26 maart 2002 wordt de gehele wet inclusief amendementen in stemming gebracht. De Tweede Kamer neemt de wet aan, met als enige tegenstem de VVD. Te Veldhuis stelt in zijn stemverklaring niet tegen ZBO's als zodanig te zijn, maar hij maakt zich zorgen omdat ZBO's «geen eigen democratisch mandaat van de burgers» hebben. «Ook anderszins hebben burgers geen of weinig directe invloed op ZBO's. (...) Per saldo maakt de kaderwet het (...) nog steeds mogelijk dat openbaar bestuur op grote afstand staat van zowel de burgers als de controlerende volksvertegenwoordiging.»1444
Conclusies
Het debat in de Tweede Kamer overziend valt een aantal zaken op. Het debat gaat deels over zaken van technisch-juridische aard. Men vraagt zich bijvoorbeeld af of de term kaderwet wel juist is.1445 Ook wordt uitgebreid stilgestaan bij de voor- en nadelen van het zogenaamde enumeratiestelsel.1446
Verder valt op dat de leden goed geïnformeerd zijn en gedetailleerd over de materie spreken. De bijdrage van de VVD is voor het parlementaire onderzoek het meest relevant; Te Veldhuis (VVD) beredeneert dat verzelfstandiging negatieve consequenties heeft voor de relatie tussen burger en overheid. Volgens Te Veldhuis wordt de rol van het parlement verzwakt door verzelfstandigingen. De vorming van een ZBO gaat immers per definitie gepaard met een vermindering van de ministeriële verantwoordelijkheid. Daardoor heeft het parlement minder controlemogelijkheden. Omdat het parlement de burger vertegenwoordigt, komt de burger op afstand te staan. Met een amendement probeert Te Veldhuis de beïnvloedingsmogelijkheden van de burger deels te herstellen.
Overigens lijkt Te Veldhuis hiermee een andere mening te zijn toegedaan dan zijn fractiegenoot Wiebenga (VVD), die in 1993 bij de bespreking van het rapport-Wiegel en het rapport-Scheltema1355 waarschuwt voor de corporatieve gedachte, waarbij mensen uit verschillende hoeken van de samenleving via raden van toezicht invloed uitoefenen. «Dat moeten wij bij zelfstandige bestuursorganen niet hebben,»1357 zei hij toen.
Pitstra (GroenLinks) constateert dat de rol van het parlement juist sterker is geworden. In 1991 wilde de minister geen informatieplicht voor het ZBO. Maar in het wetsvoorstel staat deze er wel. Dit betekent dat de minister informatie kan opvragen van het ZBO, en de Tweede Kamer op haar beurt deze informatie weer kan vragen van de minister.1447 Ook wordt het jaarverslag van het ZBO doorgestuurd naar beide Kamers der Staten-Generaal.1448
De regering besluit het in de Tweede Kamer aangenomen wetsvoorstel niet direct door te sturen naar de Eerste Kamer. In plaats daarvan houdt de regering het wetsvoorstel aan. Al geruime tijd is er binnen de departementale schoot onenigheid over nut en noodzaak van verzelfstandigingen. Mede naar aanleiding daarvan, en naar aanleiding van het hoofdlijnenakkoord van het kabinet-Balkenende II waarin staat dat de taken, werkwijze en omvang van de zelfstandige bestuursorganen tegen het licht zullen worden gehouden,1449 wordt de werkgroep-Kohnstamm ingesteld. De werkgroep heeft als taak «te onderzoeken of het huidige verzelfstandigingskader aangepast dient te worden, rekening houdend met de voor- en nadelen van eventuele inperking van de ministeriële verantwoordelijkheid.»1450
De redenering in het rapport van Kohnstamm, getiteld Een herkenbare staat: investeren in de overheid, is rechtlijnig van aard. Ten eerste constateert het rapport dat het Nederlandse politieke bestel is gebaseerd op de vertrouwensregel en de leer van de ministeriële verantwoordelijkheid. Vervolgens wordt geconstateerd dat door verzelfstandiging de leer van de ministeriële verantwoordelijkheid wordt uitgehold. Hieruit volgt volgens de werkgroep-Kohnstamm dat verzelfstandiging niet toe te juichen is. De werkgroep vindt dat het primaat van de ministeriële verantwoordelijkheid moet worden hersteld. «De minister kan de meeste zaken heel goed binnen zijn ministeriële verantwoordelijkheid in de eigen organisatie regelen.»1451 Verder roept het rapport op tot de vorming van een nieuw soort publiekrechtelijk rechtspersoon: de zelfstandige overheidsrechtspersoon (zor). Het bestuur van een zor moet rechtstreeks aan het parlement verantwoording afleggen over die zaken van de zor die niet onder de ministeriële verantwoordelijkheid vallen.1452 Op den duur kunnen vrijwel alle ZBO's worden opgeheven.1453 Ook het voorstel voor een kaderwet voor ZBO's, dat is aangenomen in de Tweede Kamer, kan de regering beter intrekken.1454
Opvallend is dat het rapport-Kohnstamm veel rept over de relatie tussen overheid en burgers. Volgens het rapport «heeft de burger minder vertrouwen in de overheid als geheel, verzelfstandigd of niet. Daarnaast zijn er meer en meer discussies over de publieke moraal en de verhouding tussen burger en overheid.»1455 Door verzelfstandigingen is veel onduidelijkheid ontstaan, waar vooral de ministers en het parlement van te lijden hebben.1456 Dat moet anders. Uitvoering van de aanbevelingen uit het rapport verschaft helderheid over de rol van de overheid en leidt daardoor tot «betere relaties tussen overheid en burgers.»1457
Er komt veel maatschappelijke kritiek op het rapport.1458 Ook het kabinet reageert niet zeer positief (al duurt het lang voor die reactie naar buiten komt). Het kabinet stelt in zijn reactie dat het voornemens is de Kaderwet ZBO, ondanks de kritiek, door te sturen naar de Eerste Kamer. Ook kondigt de minister voor Bestuurlijke Vernieuwing en Koninkrijksrelaties Pechtold aan dat hij online een register van zelfstandige bestuursorganen heeft laten vormen.1459
Het rapport-Kohnstamm gaat over ministeriële verantwoordelijkheid, net zoals de eerdere rapporten-Wiegel, -Scheltema en -Sint. Het verschil met die andere rapporten is dat het rapport-Kohnstamm de denktrant rondom ministeriële verantwoordelijkheid het verst doorvoert. De overige rapporten constateren dat overheidsdiensten door verzelfstandigingen op afstand van de minister worden gezet. Dit gaat gepaard met een verzwakking van de ministeriële verantwoordelijkheid. Het rapport-Kohnstamm constateert dit ook, maar weegt dit zwaarder. Deze verzwakking van de ministeriële verantwoordelijkheid leidt volgens Kohnstamm tot veel onduidelijkheid.1455 Daarom moet het worden teruggedraaid. Terwijl bijvoorbeeld het rapport-Wiegel nog opriep tot strikte scheiding van beleid en uitvoering, waarbij verzelfstandigde organisaties verantwoordelijk zijn voor de uitvoering,1354 trekt het rapport-Kohnstamm de conclusie dat de ministeriële verantwoordelijkheid geheel moet zijn en van verzelfstandiging of scheiding van beleid en uitvoering, heel uitzonderlijke gevallen daargelaten, geen sprake kan zijn.
Parlementaire beraadslagingen over rapport-Kohnstamm
Op 16 november 2005 – anderhalf jaar na aanbieding van het rapport- wordt het rapport-Kohnstamm in de Tweede Kamer besproken door de vaste commissie voor Binnenlandse Zaken en Koninkrijksrelaties.1460 Slechts drie leden voeren het woord in dit algemeen overleg: Fierens (PvdA), Nijs (VVD) en Çörüz (CDA). Het lid Fierens (PvdA) «steunt het doorgeleiden van de Kaderwet naar de Eerste Kamer.»1461 Het lid Nijs (VVD) is kritisch. «Het lijkt erop dat vooral de ministeriële verantwoordelijkheid wordt geregeld en dat de dienstverlening aan de burger in de Kaderwet op de tweede plaats komt.»1462 Ze wil dat de minister de Kaderwet intrekt. «Beter ten hele gekeerd, dan ten hele gedwaald.»1463 Het lid Çörüz (CDA) neemt een tussenpositie in. Hij «kan zich volledig vinden in het kabinetssstandpunt over het rapport-Kohnstamm», waarin kortweg staat dat de regering de aanbevelingen uit het rapport niet zal overnemen en de Kaderwet zal doorgeleiden naar de Eerste Kamer. Toch zegt Çörüz tevens dat er «vele haken en ogen aan de Kaderwet» zitten.1463
Opvallend is dat het rapport-Kohnstamm nauwelijks wordt besproken. De leden spreken wel over de kaderwet ZBO – die door de Tweede Kamer al in 2002 is aangenomen.1464
Na dit debat wordt het wetsvoorstel doorverwezen naar de Eerste Kamer. Die bespreekt het op 31 oktober 2006.1465 De relatie burger-overheid komt nauwelijks aan bod in de Eerste Kamer. Wel komt het rapport-Kohnstamm uitgebreid aan bod – in tegenstelling dus tot de Tweede Kamer. Verder is het debat grotendeels een herhaling van wat reeds in de Tweede Kamer is besproken.
Van Thijn (PvdA) vat het langdurige wetgevingsproces rondom de Kaderwet bondig samen: «Dit wetsvoorstel wil de ministeriële verantwoordelijkheid afbakenen en de ZBO's buiten de departementale hiërarchie plaatsen, terwijl de commissie-Kohnstamm het primaat van de politiek integraal wil herstellen.»1466 Platvoet (GroenLinks) spreekt over een miraculeuze U-bocht van de regering.1467 Hiermee bedoelen de leden dat de behandeling van het wetsvoorstel tijdelijk is onderbroken door het verschijnen van het rapport-Kohnstamm. Dit rapport stelt voor om het wetsvoorstel in te trekken, verzelfstandigingen terug te draaien en de diensten weer onder de ministeriële verantwoordelijkheid te plaatsen.1468 De regering besluit, in weerwil van het rapport, toch door te gaan met de indiening van het wetsvoorstel.
Volgens Van Thijn was het hele debat rondom het verzelfstandigingsbeleid een «permanente bron van verwarring». Dit komt door het spanningsveld tussen «enerzijds de behoefte om langs allerlei wegen de ministeriële verantwoordelijkheid, met in het kielzog daarvan de parlementaire controle, op hoofdlijnen in stand te houden, en anderzijds de wenselijkheid om daarbij aan de zelfstandigheid van de bestuursorganen zo min mogelijk afbreuk te doen.» De Kaderwet ZBO zal geen einde maken aan de verwarring, maar is wel «een begin van een sleutel».1469
Namens de VVD, de meest kritische fractie in de Tweede Kamer, spreekt in de senaat het lid Luijten. Hij herhaalt de kritiek van zijn partijgenoot Te Veldhuis in de Tweede Kamer en vreest «dat wij met deze kaderwet een structuur legitimeren waarmee de democratie en de volksvertegenwoordiging, maar ook de burger, toch op enige afstand worden gezet.» «ZBO's zouden eerder uitzondering dan regel moeten zijn», aldus Luijten.1470 Maar omdat de wet mogelijkheden biedt om «het aantal ZBO's in te kaderen en waar mogelijk terug te dringen», telt Luijten zijn zegeningen en stemt alsnog in met het wetsvoorstel.1471
Uiteindelijk wordt het wetsvoorstel zonder stemming aangenomen.1472 Ook de VVD vraagt niet om stemming, terwijl deze partij wel tegen stemde in de Tweede Kamer.1444 Op 1 februari 2007 treedt de Kaderwet ZBO in werking.1349
Artikel 39, tweede lid, van de Kaderwet luidt: «Onze Minister van Binnenlandse Zaken en Koninkrijksrelaties zendt elke vijf jaar na de inwerkingtreding van deze wet aan beide Kamers der Staten-Generaal een verslag over de doeltreffendheid en de effecten van deze wet in de praktijk.» De eerste evaluatie is gedateerd op 11 januari 2012 (herzien op 23 april 2012) en uitgevoerd door het ministerie van Binnenlandse Zaken en Koninkrijksrelaties (BZK). Uit de evaluatie blijkt dat per 1 januari 2012 34 bestaande ZBO's onder de Kaderwet zijn gebracht. Voor 28 ZBO's is wetgeving hiervoor in voorbereiding. Ten aanzien van 37 ZBO's is vastgesteld dat zij niet onder de Kaderwet zullen worden gebracht, omdat zij niet onder de reikwijdte van de Kaderwet vallen, bijvoorbeeld omdat de dienst openbaar gezag ontbeert.1473 Dit bevestigt de diversiteit aan ZBO’s zoals hiervoor besproken.
De evaluatie is besproken in de procedurevergadering van de vaste commissie voor Binnenlandse Zaken en Koninkrijksrelaties op 2 februari 2012. Daar is besloten de evaluatie te agenderen voor een algemeen overleg over het Uitvoeringsprogramma Compacte Rijksdienst. Dit overleg is gehouden op 4 juli 2012 met minister Spies van BZK.
Het debat over het verzelfstandigen van overheidsdiensten en de Kaderwet ZBO heeft een sterk staatsrechtelijke inslag. Het gaat in de kern over de weging van het belang van de ministeriële verantwoordelijkheid. Moet de minister verantwoordelijk zijn voor verzelfstandigde overheidsdiensten? Zo ja, in hoeverre? Zo nee, welke gevolgen heeft dat voor de rol van het parlement? En daarmee voor de burger, die zich vertegenwoordigd ziet in het parlement.
Bij de voor- en tegenstanders van verzelfstandiging in de vorm van ZBO's is dit duidelijk terug te zien. De voorstanders van verzelfstandiging hebben er geen problemen mee dat de ministeriële verantwoordelijkheid verzwakt of noemen dit juist als motief voor de vorming van een ZBO. De tegenstanders vinden ministeriële verantwoordelijkheid van dusdanig zwaar belang, dat zij in het geheel tegen de vorming van ZBO's zijn. Zij menen dat met de vermindering van de ministeriële verantwoordelijkheid, ook de controlemogelijkheden van het parlement verminderen en daarmee de burger buitenspel wordt gezet. De vermindering van de ministeriële verantwoordelijkheid is een reden waarom sommigen liever verzelfstandigen in de vorm van agentschappen, waarbij de ministeriële verantwoordelijkheid intact blijft.
Er is in het debat over verzelfstandigen regelmatig sprake van begripsverwarring of onduidelijkheden. Zo wordt de term «primaat van de politiek» vaak gebezigd, maar lijkt men meerdere opvattingen te hebben over hoe deze term te definiëren.
Verder volgt het debat rondom verzelfstandigen geen scherpe ideologische scheidslijnen; de meningen zijn kriskras over de politieke kleuren verdeeld. Zo verschillen Kamerleden van de VVD en D66, beide liberale partijen, scherp van mening. Ook zijn verschillen te zien in opvattingen tussen ministers en Kamerleden van dezelfde partij.
De roep om een Kaderwet ZBO komt vooral voort uit de Tweede Kamer. Daar wordt tweemaal een motie aangenomen met deze oproep. Het motief om een kaderwet in te stellen is oorspronkelijk vooral om orde te krijgen in de wildgroei aan ZBO's. Later wordt als motief ook vaak genoemd het duidelijk(er) regelen van de ministeriële verantwoordelijkheid.
Het beleid van de Nederlandse regering ten aanzien van staatsdeelnemingen – vennootschappen (NV of BV) waarvan de Staat der Nederlanden aandelen bezit1474 – is vastgelegd in een aantal opeenvolgende notities (1996, 2001, 2007). Het gaat hierbij dus niet om wetgeving, vandaar dat de Eerste Kamer in deze paragraaf geen rol speelt. Alledrie de nota’s zijn geschreven door het ministerie van Financiën dat voor de staat de rol van aandeelhouder vervult en daarom de coördinatie over het staatsdeelnemingenbeleid heeft.1475
Het aantal staatsdeelnemingen is vrij stabiel. Al decennia bezit de staat aandelen in ongeveer veertig vennootschappen, alhoewel het niet telkens om dezelfde ondernemingen gaat.1476 Op basis van de nota's staatsdeelnemingenbeleid uit de jaren 1996, 2001 en 2007 is vast te stellen dat er in de periode 1990 tot 2010 37 staatsdeelnemingen zijn afgestoten, maar dat er in dezelfde periode 31 nieuwe staatsdeelnemingen zijn bijgekomen. Dat komt omdat door verzelfstandigingen en opsplitsingen nieuwe staatsdeelnemingen ontstaan.
De staat kan eigenaar zijn van honderd procent van de aandelen van de vennootschap of slechts een gedeelte ervan. De staat is bijvoorbeeld eigenaar van honderd procent van de aandelen van de naamloze vennootschap Nederlandse Spoorwegen. Van de besloten vennootschap Thales (een technologisch bedrijf op het gebied van defensie) bezit de Nederlandse staat 1 procent van de aandelen. In plaats van de term aandelen wordt ook wel de term risicodragend kapitaal gebruikt.
Een staatsdeelneming is niet hetzelfde als een staatsbedrijf. Bij een staatsbedrijf is de Nederlandse staat eigenaar van het gehele bedrijf en maakt het bedrijf onderdeel uit van de staat, bijvoorbeeld een ministerie. Bij een staatsdeelneming is de staat alleen eigenaar van de aandelen. Een voorbeeld van een (voormalig) staatsbedrijf is het Staatsbedrijf der Posterijen, Telegrafie en Telefonie (PTT). De PTT heet sinds de verzelfstandiging in 1989 Koninklijke PTT Nederland NV (KPN). Het oprichten van een staatsdeelneming kan dus gekwalificeerd worden als vorm van verzelfstandiging. De staat der Nederlanden was tot 2006 eigenaar van (een deel van) de aandelen van de NV KPN.1477 De verkoop van staatsdeelnemingen is te kenmerken als privatisering; dat is uiteindelijk ook met KPN gebeurd. Het staatsdeelnemingenbeleid raakt dus zowel aan privatisering als verzelfstandiging.
De Nederlandse staat kent reeds lange tijd staatsdeelnemingen.1478 Vooral na de Tweede Wereldoorlog worden veel staatsdeelnemingen aangegaan. In de jaren daarna komt hier kritiek op.1479 In 1982 treedt het kabinet-Lubbers I aan, dat in het kader van de zes zogenaamde Grote Operaties start met een privatiseringsagenda.1338
In 1984 neemt de Tweede Kamer een motie aan, ingediend door Van der Kooij (VVD), waarin de Kamer overweegt dat «staatsdeelnemingen waar mogelijk dienen te worden teruggebracht» en de regering wordt verzocht «te onderzoeken welke staatsdeelnemingen in aanmerking komen voor privatisering en de Kamer te berichten op welke wijze de regering deze staatsdeelnemingen met een aanzienlijk percentage denkt terug te brengen».1480 De stemming is verdeeld tussen de partijen aan de linker- en rechterkant van het politieke spectrum. De VVD, het CDA, de SGP, de RPF, het GPV en Groep Janmaat stemmen voor; de PvdA, D66, de PPR (Politieke Partij Radikalen), de CPN (Communistische Partij van Nederland), de PSP (Pacifistisch Socialistische Partij), de Groep Scholten/Dijkman en de EVP (Evangelische Volkspartij) stemmen tegen.1481
Het kabinet reageert op 16 september 1985 met een nota waarin het stelt dat «als algemene beleidslijn aan afstoting van deelnemingen de voorkeur gegeven wordt. Een belangrijke overweging daarvoor is de vrij grote mate van consensus die zich in ons land heeft ontwikkeld over het uitgangspunt dat de overheid in beginsel niet als ondernemer of als belegger in de marktsector dient op te treden.»1482 Deze lijn was ook al voor het verschijnen van deze nota staand beleid. De nota van 1985 zal lange tijd de basis blijven van het Nederlandse staatsdeelnemingenbeleid.
Op verzoek van de Tweede Kamer1483 biedt minister van Financiën Zalm op 24 december 1996 namens het kabinet de nota aan over het staatsdeelnemingenbeleid.1484 In deze nota stelt het kabinet dat het beleid, zoals uiteengezet in de nota van 1985, voortgezet zal worden: «Het beleid is er sinds 1985 op gericht dat bestaande deelnemingen worden afgestoten, tenzij er doorslaggevende redenen bestaan om de deelneming tijdelijk of blijvend te continueren. Doorslaggevende redenen kunnen gelegen zijn in het algemeen belang of een specifiek nationaal economisch belang of andere specifieke belangen, zoals destijds bijvoorbeeld defensie-belangen.»1485 Het kabinet stelt dat «het algemene uitgangspunt, zoals dat destijds geformuleerd is, nog steeds een uitstekende basis voor toekomstig beleid oplevert.»1486
Ondanks het afstotingsbeleid is het aantal staatsdeelnemingen tussen 1985 en 1996 vrij constant gebleven; in 1985 zijn er 40 staatsdeelnemingen, in 1996 41. Achttien deelnemingen zijn in die periode afgestoten, maar er zijn ook nieuwe deelnemingen bijgekomen. Dit is onder andere het gevolg van de verzelfstandiging van onderdelen van de Rijksdienst. De nota stelt: «Als zodanig doet het feit dat er een aantal nieuwe deelnemingen bij is gekomen niets af van het algemene beeld van afstoting door de Staat. Het bevestigt eerder de dynamiek van het privatiseringsproces.»1487
Parlementaire beraadslaging over nota uit 1996
Voorafgaand aan de behandeling van de nota over het staatsdeelnemingenbeleid uit 1996 stelt de vaste commissie voor Financiën van de Tweede Kamer schriftelijke vragen over de nota, die de minister van Financiën op 13 juni 1997 beantwoordt.1488 De meeste vragen gaan niet over het staatsdeelnemingenbeleid of privatiseren in het algemeen, maar veeleer over de stand van zaken bij specifieke organisaties zoals de Gasunie,1489 Roccade1490 of Nozema.1491
Op de schriftelijke vragen volgt een algemeen overleg met de minister, waarin de leden De Haan (CDA), Ybema (D66), De Vries (VVD)1492 en Van der Ploeg (PvdA) mondeling vragen stellen.1493 De Haan (CDA) reageert instemmend op de nota en constateert «een hoge mate van continuïteit in het gevoerde beleid inzake staatsdeelnemingen».1494 Ook Ybema (D66) en De Vries (VVD) reageren instemmend.1495 Van der Ploeg (PvdA) is het meest kritisch. Hij vindt dat «moet worden vermeden dat de consument door privatisering wordt opgezadeld met te hoge kosten of geen toegang meer heeft tot essentiële diensten.»1496
Motie-Van der Vlies
In het debat over de nota van 1996 wordt niet generiek gesproken over privatisering of verzelfstandiging. Maar op andere momenten is dat wel het geval. Op 18 september 1997, tijdens de algemene beschouwingen over de begroting van het jaar 1998, dient Van der Vlies (SGP) de volgende motie in:
«De Kamer, gehoord de beraadslaging,
overwegende, dat processen van verzelfstandiging en privatisering leiden tot wijzigingen in de aard en omvang van de overheidstaak;
voorts overwegende, dat de toepassing van het beginsel van marktwerking ook binnen de overheid, consequenties heeft voor het functioneren van de overheidsorganisatie;
nodigt de regering uit tot een fundamentele bezinning op de aard en begrenzing van de overheidstaak en verzoekt de regering hierover een notitie aan de Kamer voor te leggen,
en gaat over tot de orde van de dag.»1497
De motie krijgt brede steun in de Kamer.1498 De regering reageert per brief op 28 februari 2000.1499 De brief is eigenlijk de reactie op twee adviezen van de Raad voor het openbaar bestuur (Rob) en de Sociaal-Economische Raad (SER) die in het kader van het project Marktwerking, Deregulering en Wetgevingskwaliteit (MDW) zijn uitgebracht.1500 In de rapporten gaan de Rob en de SER in op de rol van de overheid ten opzichte van de markt. Het kabinet stelt dat de beschouwingen uit de rapporten «grote overeenkomsten vertonen» met het beleid van de regering1501 en ziet het «als een ondersteuning van zijn voorgenomen beleid».1502 De regering stelt dat de brief van 28 februari 2000 mede ingaat op de aspecten die zijn genoemd in de motie-Van der Vlies, en dat daarom met deze brief aan de motie is voldaan.1503 Verder wordt in de brief echter niet specifiek op de motie-Van der Vlies ingegaan. De Tweede Kamer komt er vervolgens niet meer op terug.
Conclusie
Gesteld kan worden dat het staatsdeelnemingenbeleid vanaf de jaren ’80 tot aan de nota in 1996 redelijk hetzelfde is gebleven. Het beleid is gericht op verkopen, tenzij er zwaarwegende belangen zijn dat niet te doen. Het motief hiervoor is dat de overheid zich niet actief op de markt zou moeten bezighouden.
Opvallend is een duidelijke politieke scheiding. Partijen als de VVD, D66 en het CDA zijn aanjagers, terwijl de PvdA meer kritische opmerkingen heeft. Maar over het algemeen is er redelijke consensus dat de overheid terughoudend moet zijn met staatsdeelnemingen en deze het beste kan afstoten.
Los van de nota worden af en toe in het parlement gesproken over processen van privatisering en verzelfstandiging in het algemeen. Vaak wordt hier niet diep op in gegaan. Een voorbeeld hiervan is de motie-Van der Vlies (SGP) waar het kabinet summier op reageert.
Op 12 december 2001 presenteert minister van Financiën Zalm een nieuwe nota inzake het staatsdeelnemingenbeleid.1504 De Tweede Kamer had tijdens een debat over commissarissen van overheidswege gevraagd om een algemene notitie over het beheer van staatsdeelnemingen.1505
De hoofdregel blijft dat staatsdeelnemingen worden afgestoten, tenzij er redenen zijn dat niet te doen. «Het Kabinet houdt vast aan de in 1985 en 1996 uitgezette lijn van afstoting. Deze kan als volgt worden gepreciseerd: deelnemingen worden afgestoten indien dit met inachtneming van het publiek belang en de zakelijke belangen van de Staat mogelijk is.»1506 Er wordt geconstateerd dat, ondanks pogingen om zoveel mogelijk af te stoten, het aantal staatsdeelnemingen sinds de nota uit 1985 redelijk stabiel is gebleven. «Het privatiseringsbeleid sinds 1985 (...) heeft dan ook niet een reductie van het aantal staatsdeelnemingen ten gevolge gehad.»1507 De reden hiervoor is dat de staat niet alleen deelnemingen heeft afgestoten, maar ook nieuwe deelnemingen is aangegaan.
In de nota wordt verwezen naar het rapport-Sint.1345 Terwijl dat rapport een duidelijke richtlijn geeft voor het beleid aangaande verzelfstandigingen, bestaat er geen soortgelijk beleid voor staatsdeelnemingen.1508
Voorts stelt de minister voor om voortaan eens in de vijf jaar alle staatsdeelnemingen te evalueren. Dit gaat door middel van een rollend systeem; ieder jaar wordt een ander aantal deelnemingen geëvalueerd. De Tweede Kamer krijgt jaarlijks de evaluatierapporten toegestuurd.1509 De minister stelt: «Met het bovenstaande systeem wordt tegemoetgekomen aan uw wens om intensiever betrokken te worden bij de overwegingen die aan verkoop ten grondslag liggen.»1510 Het beheer van staatsdeelnemingen wordt bovendien geconcentreerd bij het ministerie van Financiën; tot dan lag die rol vaak bij de vakdepartementen.
Parlementaire beraadslaging over nota uit 2001
De nota wordt in beginsel slechts kort behandeld. De commissie voor Financiën van de Tweede Kamer dient 64 schriftelijke vragen in. Minister Zalm beantwoordt deze vragen bij brief van 22 mei 2002.1511 De meeste vragen gaan over zeer specifieke zaken of organisaties en niet over het staatsdeelnemingenbeleid in het algemeen. Er ontstaat niet echt een debat; de minister herhaalt als antwoord wat in de nota staat geschreven.
De nota zou op 27 november 2002 in een algemeen overleg worden besproken met de minister, maar dit gaat niet door vanwege de val van het kabinet-Balkenende I op 16 oktober 2002 en het daaropvolgende controversieel verklaren van de nota.1512 Pas op 1 december 2003 vindt een notaoverleg met minister Zalm plaats.1513 Aan dit overleg nemen slechts drie leden deel: Omtzigt (CDA), Crone (PvdA) en Blok (VVD).
Omtzigt (CDA) is gematigd positief over de nota, maar stelt wel dat het CDA het er niet mee eens is dat «deelnemingen in beginsel tijdelijk zijn, zoals de minister stelt.» Verder noemt Omtzigt het rapport «Verantwoord verzelfstandigen» van de commissie-Sint1514 een goede leidraad bij het beoordelen van het staatsdeelnemingenbeleid.1515 Omtzigt is «ingenomen met het idee van een vijfjaarlijkse evaluatie van iedere staatsdeelneming.»
Blok (VVD) is het op hoofdlijnen eens met de notitie en heeft daarom slechts een korte bijdrage.1516
Crone (PvdA) heeft de meeste inbreng. Hij stelt: «Als in de afgelopen jaren iets ingewikkeld is gebleken, is dat het vinden van een goed evenwicht tussen enerzijds de rol van de markt, eigendom en privatisering en anderzijds de rol van de overheid. Paars is er zelfs op afgerekend dat het dat niet goed zou hebben gedaan.»1517 Toch bekritiseert hij Zalm, die tijdens het debat minister van Financiën van het kabinet-Balkenende II is. «De minister heeft als het ware een zeer digitaal, een zeer zwart-wit standpunt; eigenlijk moet alles worden geprivatiseerd en moet het publieke belang maar op een andere manier worden geregeld».1517 Dat heeft ongewenste gevolgen voor de relatie tussen burgers en de overheid, stelt Crone. «Mijn eigen ervaring is dat het soms mis gaat tussen de burgers en de overheid omdat de overheid taken naar zich toe heeft getrokken of de laatste honderd jaar van de markt heeft gekregen omdat de markt die gewoon niet wil uitvoeren.» De burger verwacht vervolgens dat die taken, die de markt niet wil doen, always on zijn. «Always on betekent dat die diensten het altijd moeten doen. Er moet altijd stroom zijn. Treinen moeten op tijd rijden. Er mogen geen wachtlijsten zijn in de zorg». De overheid kan dit niet garanderen, wat de reden is dat het mis gaat in de relatie burger-overheid.1518 Wel noemt Crone het een groot winstpunt dat de Kamer eens per vijf jaar een evaluatie en een jaarlijks overzicht krijgt.1517
Conclusie
De nota van 2001 zet het beleid, zoals neergelegd in de nota's van 1985 en 1996, voort. De rol van het ministerie van Financiën als aandeelhouder namens de staat wordt sterker. Ook krijgt het parlement een sterkere rol, omdat de evaluatie van staatsdeelnemingen beter wordt geregeld. Het parlementair debat laat op zich wachten door kabinetswisselingen, en blijft uiteindelijk beperkt.
Op 21 november 2006 komt het Jaarverslag Beheer Staatsdeelnemingen uit, waarin voornamelijk financiële gegevens staan uit de jaarverslagen van alle afzonderlijke staatsdeelnemingen.1519 Het Jaarverslag wordt aangeboden door Zalm (VVD), dan nog minister van Financiën. Op 15 maart 2007, als Bos (PvdA) net minister is geworden, bespreken de commissies voor Financiën, Economische Zaken en Verkeer en Waterstaat het Jaarverslag in een algemeen overleg.1520 De Kamerleden zijn erg benieuwd of minister Bos een ander beleid zal voeren dan zijn voorganger.
Crone (PvdA) vraagt om een nieuwe nota van de nieuwe minister. Hij zegt: «In de Nota deelnemingenbeleid Rijksoverheid van december 2001 is de lijn uitgezet dat de overheid alleen aandeelhouder is in bedrijfseconomische zin en dat er zo veel mogelijk wordt geprivatiseerd. Kan dit kabinet dit jaar een nieuwe nota maken waarin de hoofdzaak is dat alleen commerciële activiteiten kunnen worden geprivatiseerd, dat ZBO's niet kunnen worden geprivatiseerd en dat er een tussencategorie is waarin de publiek-private constructie mogelijk is, een sociale vennootschap?»1521
Weekers (VVD) vindt dat de lijn nog altijd moet zijn «dat zo veel mogelijk moet worden geprivatiseerd», zoals in de nota van 2001 tot uiting kwam. Hij vraagt om een evaluatie van die nota.1522
Irrgang (SP) vindt dat «de overheid als aandeelhouder niet alleen moet kijken naar financieel rendement, zoals de afgelopen jaren wel het geval is geweest. De overheid moet als aandeelhouder vooral kijken naar maatschappelijk rendement.» Net zoals de SP, vindt ook Van Dijck (PVV): «De overheid is doorgeschoten met privatisering.»1523
Omtzigt (CDA) vraagt: «Wat is het oordeel van de minister over de Nota deelnemingenbeleid Rijksoverheid uit 2001?» Verder merkt Omtzigt op dat «er maar over een zeer klein aantal deelnemingen verschil van mening bestaat tussen de fracties.» De meeste partijen zijn het erover eens dat een staatsdeelneming zoals De Nederlandsche Bank niet moet worden afgestoten, aldus Omtzigt.1524
Minister Bos antwoordt dat «het beleid inzake staatsdeelnemingen was dat er geprivatiseerd werd als dat mogelijk was. In de komende periode zullen de accenten wat anders liggen, namelijk dat er niet wordt geprivatiseerd tenzij daar dringende redenen voor zijn. (...) Het accent gaat in de komende jaren van afstoten naar beheer.»1525 Hij zegt toe snel een nieuwe nota op te stellen.1526
Naar aanleiding van dit algemeen overleg houdt de Tweede Kamer op 28 maart 2007 een kort plenair debat met minister Bos.1527 Weekers (VVD) stelt daarin dat Bos heeft aangekondigd «dat het beleid rondom privatisering van Staatsdeelnemingen drastisch zal worden gewijzigd. Dat is wel begrijpelijk van een minister van deze signatuur.» Weekers is hier ontevreden over en zegt dat zijn «invalshoek is om te privatiseren waar dat mogelijk is».1528 De overige leden reageren fel op Weekers. Zowel Crone (PvdA) als Omtzigt (CDA) noemen Weekers’ inbreng «slappe hap».1529 Minister Bos herhaalt dat hij, zoals reeds toegezegd, binnenkort met een nieuwe nota over het staatsdeelnemingenbeleid komt.1530
Nota 2007
Op 7 december 2007 biedt minister Bos namens de regering de nieuwe nota Deelnemingenbeleid Rijksoverheid aan aan de Tweede Kamer.1531 Deze nota «treedt in plaats van de Nota Deelnemingenbeleid Rijksoverheid uit 2001 en bevat het beleid zoals dat vanaf heden zal worden toegepast op het beheer van staatsdeelnemingen.»1532 Bos geeft aan «het accent te willen verschuiven van het afstoten van staatsdeelnemingen naar het actief beheren van staatsdeelnemingen.»1533 «Voor de publieke belangen die met deze deelnemingen gemoeid zijn, geldt dat borging daarvan via uitsluitend wet- en regelgeving en toezicht in sommige gevallen als te rigide wordt ervaren.»1534 Daarom streeft Bos naar een «actievere invulling van het aandeelhouderschap door de Staat (...). Tegen deze achtergrond acht het kabinet het wenselijk om binnen de uitoefening van het aandeelhouderschap het publiek belang een duidelijkere plaats te geven.»1535
De staatsdeelnemingenportefeuille is gewijzigd, stelt Bos. Deelnemingen die verkocht konden worden, zoals Groningen Airport Eelde, de BV Weerbureau HWS of de laatste aandelen van KPN, zijn reeds afgestoten. Voor de overige staatsdeelnemingen is daarom een actievere houding van de overheid gewenst. «Voor de publieke belangen die met deze deelnemingen gemoeid zijn, geldt dat borging daarvan via uitsluitend wet- en regelgeving en toezicht in sommige gevallen als te rigide wordt ervaren.» Daarom «acht het kabinet het wenselijk om binnen de uitoefening van het aandeelhouderschap het publiek belang een duidelijkere plaats te geven.»1536
Voorts kondigt de nota aan dat het kabinet de rol van het parlement wil versterken. «Aan de Tweede Kamer is reeds toegezegd om indien het voornemen bestaat om toch tot verkoop van een belang in één van de deelnemingen over te gaan, de Tweede Kamer hierover alsdan vooraf te informeren. De Comptabiliteitswet zal op dit punt nog worden aangepast, aangezien deze momenteel alleen melding achteraf vereist.»1537
Parlementaire beraadslaging over nota uit 2007
Op 16 juni 2008 houdt de commissie voor Financiën in de Tweede Kamer een notaoverleg met minister van Financiën Bos over de nota staatsdeelnemingenbeleid. Naast de nota staan ook een verslag over Holland Casino, een brief over Schiphol en een brief over Connexxion geagendeerd.1538 De bijdragen van de leden gaan grotendeels over die laatste zaken. De relatie tussen burgers en de overheid wordt niet of nauwelijks genoemd in het debat.1539
Haverkamp (CDA) vindt de koerswijziging van minister Bos «vooral een kwestie van semantiek.»1540 Verder spreekt hij over de NS en ProRail, die zouden zijn geprivatiseerd.1541 Hier is sprake van begripsverwarring, aangezien de NS en ProRail zijn verzelfstandigd en niet geprivatiseerd. Overigens wordt Haverkamp hier niet op gecorrigeerd.
Weekers (VVD) constateert dat minister Bos een koerswijziging heeft ingezet. «Was het eerst «privatiseren, tenzij», nu wordt het: «publiek, tenzij».» Weekers betreurt deze «aanmerkelijk linksere koers».1542 Irrgang (SP) daarentegen is verheugd over de koerswijziging en zegt: «Het neoliberalisme is over zijn hoogtepunt heen.»1543 Ook Vos (PvdA) stelt dat de PvdA-fractie «zich zeer goed kan vinden in de nieuwe lijn van het kabinet bij staatsdeelnemingen.»1544Van Dijck (PVV) spreekt van een «accentverschuiving (...). De fractie van de Partij voor de Vrijheid kan zich daarin wel vinden. Ook zij vindt dat de privatisering op sommige punten iets is doorgeschoten.»1545 Koşer Kaya (D66) neemt een tussenpositie in. Ze stelt: «Privatiseren hoeft op zich (...) helemaal niet negatief te zijn. (...) Het is voor D66 daarom niet duidelijk dat de maatschappij het meest gebaat zou zijn bij een «publiek, tenzij-beleid».»1546 Vendrik (GroenLinks) vraagt zich af wat er eigenlijk is veranderd. «[W]at is er nog te privatiseren, na twaalf jaar Zalm? (...) Waar blijkt die koerswijziging uit?»1547 Ook minister Bos zegt in antwoord op de inbreng van de leden dat er van de koerswijziging «soms wat meer gemaakt wordt dan het is.» Hij noemt twee motieven voor zijn beleid. Ten eerste zijn in het verleden al veel staatsdeelnemingen verkocht. De portefeuille van staatsdeelnemingen is daardoor de afgelopen jaren flink gewijzigd.1548 Als tweede motief zegt hij dat het kabinet-Balkenende IV «er wellicht minder dan voorgaande kabinetten van overtuigd is dat het te allen tijde maken van een gang naar de markt allerlei voordelen met zich meebrengt ten opzichte van het behoud van het eigendom in publieke handen.» Dit kabinet staat ideologisch dus minder positief tegenover privatisering dan voorgaande kabinetten, aldus Bos.1549
Conclusie
In 2007 treedt een nieuwe minister van Financiën aan. Al voor het verschijnen van de nota kondigt Bos de koerswijziging aan: niet langer «privatiseren, tenzij», maar «publiek, tenzij». Deze verandering is echter niet zo groot als op het eerste gezicht lijkt; de meeste deelnemingen die voor afstoting in aanmerking kwamen, zijn immers al afgestoten. Voor de overige deelnemingen past een andere houding. In het debat is sprake van klassieke tegenstellingen, vooral tussen de SP en de VVD. De linkse partijen staan sceptisch tegenover privatiseringen en verkoop van staatsdeelnemingen, terwijl de partijen van de rechterkant hier positiever tegenover staan. Geen van de partijen spreekt echter over zaken als vertrouwen van de burger in de overheid of de gevolgen voor de relatie burger-rijksoverheid van het staatsdeelnemingenbeleid.
Epiloog
In 2010 wordt De Jager (CDA) minister van Financiën. Op 10 april 2012 bespreekt de commissie voor Financiën in de Tweede Kamer het jaarverslag staatsdeelnemingen 2010. Er wordt onder andere gesproken over de bonussen van bestuurders van staatsdeelnemingen. Minister De Jager zegt in dit debat toe dat hij het idee om een deel van de NS te privatiseren zal onderzoeken.1550
Het debat over het staatsdeelnemingenbeleid centreert zich rondom periodiek uitgegeven nota's van de minister van Financiën. Deze nota's worden in de Tweede Kamer besproken, de ene keer uitgebreider dan de andere keer. Het debat kenmerkt zich door klassieke tegenstellingen. Liberale partijen en partijen aan de rechterkant van het politieke spectrum steunen over het algemeen de verkoop van staatsdeelnemingen. Sociaal-democratische partijen of partijen aan de linkerkant van het politieke spectrum zijn hier meer kritisch over. Deze meningsverschillen hebben echter weinig effect op het daadwerkelijk gevoerde beleid.
Het beleid kenmerkt zich door een hoge mate van continuïteit. Het aantal staatsdeelnemingen is over de jaren opmerkelijk stabiel gebleven en schommelt tussen de 35 en 41 (zie tabel 6.2). De motieven om deelnemingen van de hand te doen zodra er geen publiek belang meer is, blijven ook grotendeels hetzelfde. In 2007 wordt een koerswijziging aangekondigd van «privatiseren, tenzij» naar «publiek, tenzij», maar in werkelijkheid verandert er weinig aan het beleid. Wel vormt dit de intentie om publieke belangen sterker mee te wegen.
In de loop van de jaren wordt meer nadruk wordt gelegd op borging van publiek belang. Ook neemt de rol van het parlement in belang toe door de jaarlijkse evaluaties van staatsdeelnemingen.
|
Jaar |
Nieuwe staatsdeelnemingen (+45) |
Geheel afgestoten staatsdeelnemingen (-55) |
|---|---|---|
|
1980 |
Nederlandse Scheepsbouw Mij |
|
|
1981 |
NV Aandelenbezit streekvervoer |
Daisy Systems Holland BV Mercon Steelstructures BV Nederlandse Buurtvervoer Mij BV Udec BV Beneluxtunnel NV |
|
1982 |
Nederlandse Waterschapsbank NV Mij voor Industriele Projecten NV |
|
|
1983 |
Akzo Transform BV Van Doornes Transmissie BV Hembrug NV |
|
|
1984 |
Covra BV AVR Bouw Chemie BV |
Nederlandse Scheepsbouw Mij |
|
1985 |
Gero |
|
|
1986 |
Postbank |
|
|
1987 |
Circle Information Systems |
De Vries Robbe |
|
1988 |
Fokker SDU |
|
|
1989 |
KPN Nederlands Omroep Zender Mij Nederlands Meetinstituut Energie Beheer Nederland OV-Studentenkaart |
CIS Stoomvaart Mij ZeelandPostbank Verenigd Streekvervoer Limburg Brabantse Buurtspoorwegen en Autobusdiensten |
|
1990 |
BOM GOM RCC (Roccade) Nederlands Inkoopcentrum NV Rechterland |
Maatschappij Overijsselsche Kanalen |
|
1991 |
OOM ING Alpinvest |
Vredestein II Mij voor Industriele Projecten NMB Postbank II |
|
1992 |
||
|
1993 |
DAF Trucks |
|
|
1994 |
De Nederlandse Munt |
OV Studentenkaart |
|
1995 |
Nederlandse Congres Gebouw Administratie Kantoor aandelen Hoogovens |
|
|
1996 |
RBB |
Fokker Holding DAF Trucks Koninklijke Nederlandse Springstoffen Fabriek DSM III |
|
1997 |
Arbo Management Group |
Alpinvest Holding NV |
|
1998 |
TNT Post Groep NV NV Westerscheldetunnel Twinning Holding NV DLV Adviesgroep |
Kon Hoogovens en Staalfabrieken NV VAM NV |
|
1999 |
MTS Amsterdam NV NOB Holding NV Holland Weerservices BV |
|
|
2000 |
Holland Metrology Haven van Vlissingen NV |
|
|
2001 |
TenneT BV Saranne BV Kenniswijk Eindhoven BV |
Arbo Management Group Weerbureau HWS |
|
2002 |
Railinfratrust BV |
|
|
2003 |
||
|
2004 |
Kliq |
Groningen Airport Eelde NIB Nederlandse Pijpleidingmaatschappij |
|
2005 |
Gasterra/Gasunie Meerstad BV |
PinkRoccade Eurometaal Gasunie DLV Nozema Services BV |
|
2006 |
AVR-Chemie ADC KPN (laatste tranche) TNT (laatste tranche) Saranne BV |
|
|
2007 |
Havenbedrijf Rotterdam |
NOVEC BV SDU NV |
|
2008 |
Fortis Bank Nederland Fortis Corporate Insurance Fortis Verzekeringen Nederland ASR Nederland NV |
|
|
2009 |
Luchtvaartterrein Texel Westerscheldetunnel Fortis Corporate Insurance |
Deze analyse vergelijkt de resultaten van de vijf casusonderzoeken (de NS, energie, post en telefonie, reïntegratie en generieke debatten). Ook neemt ze de resultaten van de aanvullende overzichtsstudies mee; zie bijlagen 3, 4 en 5 voor een overzicht van privatiseringen en verzelfstandigingen in de afgelopen decennia en in de nabije toekomst, en een overzicht van de parlementaire behandeling van de evaluaties van ZBO’s en staatsdeelnemingen. Tenslotte worden de onderzoeksresultaten ook beschouwd in het licht van bestaande (wetenschappelijke) literatuur over de effecten van privatisering en verzelfstandiging.
De opbouw van deze analyse is vergelijkbaar met de opbouw van de casusrapportages (zie hoofdstuk 1 over de methodologische verantwoording van het onderzoek). Er komen vier thema's aan bod, te weten:
1. motieven voor beleid;
2. sturing, verantwoording en borging van publieke belangen;
3. effecten en evaluaties; en
4. de rol van het parlement.
Eerst wordt echter stil gestaan bij de variatie tussen de casus en de voor- en nadelen daarvan voor het doen van onderzoek en het trekken van conclusies.
Selectie van casus
De vier sectorspecifieke casus zijn geselecteerd op basis van variatie, zowel over de tijd heen als tussen sectoren (vgl. methodologische verantwoording van het onderzoek). Ook variëren de vormen van verzelfstandiging en privatisering die aan bod komen:
• Casus PTT: het voormalige overheidsbedrijf is eerst verzelfstandigd tot staatsdeelneming (KPN NV, 100% eigendom van de staat) en na de beursgang zijn in tranches alle aandelen verkocht (privatisering). De postonderneming is afgesplitst en als zelfstandig bedrijf verder gegaan (eerst als TNT en TPG, thans PostNL). De post- en telefoniemarkt zijn inmiddels beiden geheel geliberaliseerd. In deze casus wordt ook de oprichting van OPTA (ZBO, belast met toezicht) besproken;
• Casus NS Reizigersvervoer: de NS is «verzelfstandigd» en heeft de vorm van een staatsdeelneming (NV; 100% eigendom van de Staat), het spoornetwerk wordt beheerd door ProRail (een rechtspersoon met wettelijke taak – RWT – en BV waarvan de aandelen worden beheerd door het ministerie van Infrastructuur en Milieu). De NS was eigenlijk al een zelfstandig bedrijf maar moest voortaan ook financieel zelfstandig functioneren. De NS heeft een langdurige concessie voor het hoofdspoornetwerk;
• Reïntegratie: het onderdeel Reïntegratiedienstverlening van het ZBO Centraal Bureau Arbeidsvoorziening (CBA) werd verzelfstandigd tot Kliq NV (staatsdeelneming, 100% eigendom van de staat), dat daarna geprivatiseerd zou gaan worden. Het bedrijf kon niet overleven in de markt en ging failliet voor de staatsaandelen verkocht konden worden. Het bedrijf is vanuit faillissement verkocht aan een commercieel bedrijf;
• Casus WON (energie): de Wet Onafhankelijk Netbeheer regelt dat de regionale energienetten werden afgesplitst van de energiebedrijven om te voorkomen dat bij privatisering van energiebedrijven de netten in private handen zouden vallen. Daarnaast regelt de wet dat het deel van het hoogspanningsnetwerk dat nog in handen was van de regionale energiebedrijven onder beheer kwam van TenneT BV (een staatsdeelneming, 100% eigendom van de staat).1552 De energiebedrijven waren eigendom van de provinciale en gemeentelijke overheden. Doordat het splitsingsonderdeel van de WON via rechtszaken is betwist, zijn er van de vier grote bedrijven momenteel twee nog steeds geïntegreerde bedrijven en eigendom van lagere overheden, terwijl de andere twee zijn gesplitst. Bij splitsing zijn de netwerken in handen van regionale beheerders (zoals Enexis, eigendom van de lokale overheden) terwijl de energieleveranciers in handen zijn gekomen van andere bedrijven (zoals het buitenlandse RWE). Ook zijn er nieuwe energieleveranciers toegetreden tot de geliberaliseerde markt.
Er zijn dus meerdere vormen van privatisering (reïntegratie, post en telefonie, energiebedrijven op lokaal niveau) en verzelfstandiging (ZBO's als OPTA, en staatsdeelnemingen zoals de NS en ProRail) onderzocht. Hierdoor is een dwarsdoorsnede te maken van privatiseringen en verzelfstandigingen. Daarnaast moet aangetekend worden dat alle casus gekozen zijn omdat ze een grote maatschappelijke impact hebben, dat wil zeggen: veel burgers raken. Kleinere verzelfstandigingen en privatiseringen zijn dus niet betrokken geweest in het onderzoek. De vijfde casus, waarin twee generieke debatten centraal staan, geeft de nodige algemene inzichten weer. Al deze informatie tezamen biedt ons inziens voldoende mogelijkheid om algemeen geldende conclusies te trekken over het debat over privatisering en verzelfstandiging, en over de effecten daarvan voor de relatie tussen burger en overheid.
Definities privatisering en verzelfstandiging
Tijdens het onderzoek is gebleken dat er veel begripsverwarring heerst rondom privatisering en verzelfstandiging. De parlementaire onderzoekscommissie heeft daarom in het hoofdrapport definities opgenomen. Ook in de parlementaire debatten in de diverse casus is soms sprake van begripsverwarring. Zo worden er termen door elkaar gehaald en is er onduidelijkheid over de voor- en nadelen van bepaalde juridische vormen. Bijvoorbeeld, de beursgang van een staatsdeelneming is niet hetzelfde als privatisering; we spreken pas van privatisering wanneer de overheid aandelen van een bedrijf (staatsdeelneming) verkoopt, zoals bij KPN en TPG is gebeurd. Het oprichten van een staatsdeelneming – een bedrijf waarvan de overheid aandelen bezit – wordt gezien als een vorm van verzelfstandiging.1553 Bij de NS, ProRail, TenneT en Kliq is dit bijvoorbeeld het geval. Een privaat bedrijf wordt genationaliseerd wanneer alle aandelen geheel worden opgekocht door de overheid, zoals recent bij een aantal banken is gebeurd als gevolg van de financiële crisis.
Ook de term verzelfstandiging roept veel verwarring op. Zo wordt er in het debat over de NS veel gesproken over de verzelfstandiging van de NS terwijl de NS altijd een zelfstandig bedrijf is geweest, en al sinds 1937 een staatsdeelneming (geen staatsbedrijf zoals de PTT toen dat nog onderdeel uitmaakte van het ministerie van Verkeer en Waterstaat). Er zijn verschillende vormen van externe verzelfstandiging1554 betrokken in het onderzoek van de commissie: het oprichten van een ZBO zoals de OPTA in de post- en telefoniecasus, en het vormen van staatsdeelnemingen zoals TenneT, Kliq, en ProRail. Over de juridische vorm van de laatstgenoemde organisatie is veel gedebatteerd (zie casusrapport NS). De Tweede Kamer wilde graag dat ProRail een ZBO zou worden, maar uiteindelijk is het een staatsdeelneming (BV, niet NV) geworden en tevens rechtspersoon met een wettelijke taak (RWT, zie hoofdrapport voor meer informatie over die vorm van verzelfstandiging).
ZBO’s komen ook aan bod in de vijfde casus, bij het debat over de Kaderwet ZBO. ZBO’s kunnen op twee manieren worden opgericht. Ten eerste, een afdeling of dienst van een ministerie die wordt losgemaakt van de overheidsorganisatie en als zelfstandige rechtspersoon1555 opgericht door een instellingswet. Dit is bijvoorbeeld gebeurd bij het CBA, de arbeidsvoorzieningenorganisatie (zie casus reïntegratie). Ten tweede, een bestaande – vaak privaatrechtelijke – organisatie wordt bij wet aangewezen om een bepaalde bevoegdheid uit te oefenen en daarvoor bekleed met openbaar gezag. Dit proces wordt ook wel verstatelijking genoemd omdat de betreffende organisatie hierdoor als het ware onderdeel wordt van de publieke sector. Een voorbeeld hiervan is het UWV; die organisatie is niet onderzocht door de onderzoekscommissie maar figureert wel in de casus van de reïntegratie.
Overigens zijn niet alle ZBO’s organisaties. Een ZBO is strikt genomen een orgaan. Dat betekent dat er ook commissies, colleges, raden en zelfs individuele personen zijn die een ZBO zijn, bijvoorbeeld het Commissariaat voor de Media en de Commissie Gelijke Behandeling. De administratieve organisatie die het werk voor zo'n orgaan uitvoert, kan een andere juridische vorm hebben (ministerie, batenlastendienst, ZBO, private organisatie).
ZBO's kunnen dus verschillende wettelijke grondslagen hebben; privaatrechtelijk en publiekrechtelijk. De Kaderwet ZBO is ingevoerd om op een aantal onderdelen meer uniformiteit in de inrichting en aansturing van ZBO's te bewerkstelligen. Recentelijk (2012) zijn twee evaluaties gedaan van de toepassing van de Kaderwet ZBO, door het ministerie van Binnenlandse Zaken en Koninkrijksrelaties (BZK) en de Algemene Rekenkamer,1556 waaruit blijkt dat de wet echter nog maar op een beperkt aantal ZBO’s is toegepast. Dit komt terug bij het vergelijken van de resultaten van de casusonderzoeken op het gebied van sturing (zie paragraaf 7.3).
Om de begripsverwarring het hoofd te bieden, worden in de casusonderzoeken zoveel mogelijk de definities uit het hoofdrapport aangehouden. In citaten uit de debatten waar een andere term of betekenis wordt gebruikt dan volgens de in het onderzoek gehanteerde definities, is de originele uitspraak aangehaald met een aantekening van welke term eigenlijk werd bedoeld.
Overzichtsstudies
Er zijn twee aanvullende overzichtsstudies uitgevoerd.
Ten eerste heeft de parlementaire onderzoekscommissie door de regering een lijst laten opstellen van alle privatiseringen en verzelfstandigingen in de afgelopen decennia en van voorgenomen privatiseringen en verzelfstandigingen. Dit bleek om twee redenen niet gemakkelijk. Informatie over oudere privatiseringen en verzelfstandigingen is vaak niet (meer) bekend. Deze kennislacunes zijn opgelost door een conceptlijst te vergelijken met andere, bestaande (maar soms ook incomplete) overzichten van bijvoorbeeld de Algemene Rekenkamer, het ZBO-register, en wetenschappelijk onderzoek. Tijdens het opstellen van de definitieve lijst bleek voorts dat er binnen de rijksdienst soms ook begripsverwarring bestaat over wat er nu precies onder privatisering en verzelfstandiging wordt verstaan. Zo vallen bijvoorbeeld niet alle zelfstandige bestuursorganen (ZBO’s) onder de definitie van de Kaderwet ZBO (zie vijfde casusrapport), en staan die dus niet allemaal in het ZBO-register. De uiteindelijke lijst is opgenomen als bijlage 3 bij dit deelrapport.
Ten tweede, tijdens de casusonderzoeken bleek dat evaluatierapporten niet altijd gemakkelijk beschikbaar waren. Daarom is besloten om daar nader onderzoek naar te laten doen, door de informatiespecialist van het onderzoeksteam. In bijlagen 4 en 5 zijn de resultaten opgenomen; twee overzichten van alle ons bekende evaluaties van ZBO’s en staatsdeelnemingen, inclusief of er aandacht is besteed in het parlement aan deze rapporten.
Variatie in verloop besluitvormingsprocessen
Kijkend naar het verloop van de besluitvorming in de verschillende sectorspecifieke casus, valt op dat er grote verschillen zijn tussen de aanpak, argumenten, voorkeuren, procedures en knelpunten. Het mag logisch lijken dat elke sector, of zelfs elke individuele taak of organisatie, zijn eigen aanpak vereist, maar het laat ook zien dat er weinig coördinatie en consistentie is in het privatiserings- en verzelfstandigingsbeleid. Bovendien wordt er niet of maar zeer beperkt geleerd van eerdere ervaringen of ervaringen van elders (zie ook paragraaf 7.4).
Een voor de hand liggende verklaring zou kunnen zijn dat ministeries er verschillende stijlen van verzelfstandiging en privatisering op na houden, en wellicht ook verschillende stijlen van besluitvorming, bijvoorbeeld een voorkeur voor publiekrechtelijke kaders (wetten) in plaats van contracten.1557 Anderzijds vallen de casus rond de PTT en de NS onder hetzelfde ministerie (toenmalig Verkeer en Waterstaat), en zijn er maar weinig overeenkomsten te vinden in de besluitvorming en het debat voor die twee casus.
De variatie in de besluitvormingsprocedure en het verloop ervan kan op verschillende manieren worden geïnterpreteerd. Ten eerste, er kan sprake zijn van een sector- of marktlogica die bepaalde vereisten stelt aan besluiten tot privatisering of verzelfstandiging van bepaalde taken of diensten. Voor bepaalde goederen is het wellicht makkelijker, bijvoorbeeld vanwege technische aspecten, om een markt te creëren, waardoor privatisering meer voor de hand ligt dan verzelfstandiging.1558 Economische theorieën stellen dat bepaalde goederen niet in een markt tot stand kunnen komen; het gaat dan om zogenoemde collectieve goederen waarvan iedereen gebruik kan maken, zonder dat ze er allemaal voor betalen (denk bijvoorbeeld aan het leger dat iedereen beschermt). Op basis van die premisse zouden bepaalde taken of diensten niet kunnen worden geliberaliseerd of geprivatiseerd. In de onderzochte debatten worden dergelijke termen niet gebruikt, maar er wordt wel gesproken over de onwenselijkheid om natuurlijke monopolies, met name netwerken, in private handen te geven.
Een tweede verklaring voor de grote variatie in besluitvormingsprocedures is de verkokering tussen en binnen ministeries, die maakt dat elke afdeling zijn eigen besluitvormingsprocedure, motieven en overwegingen kiest. Omdat de parlementaire behandeling ook langs sectorale wegen plaatsvindt – in de Kamercommissies en door fractiespecialisten – wordt deze verkokerde aanpak in het parlement voortgezet. Dit wordt zelfs nog versterkt door het verloop in fracties na de verkiezingen; nieuwe woordvoerders doen soms debatten over door een gebrek aan kennis over eerdere debatten. Dit bevordert de consistentie in standpunten en besluiten niet (zie ook paragraaf 7.5 over de rol van het parlement).
In feite geeft de eerste verklaring een positief beeld van de variatie in besluitvorming; er wordt rekening gehouden met specifieke kenmerken van de casus en er wordt maatwerk geleverd. Verkokering (de tweede verklaring) wordt meestal niet positief beschouwd; de variatie staat dan het vermogen tot leren en verbeteren in de weg.
Er is nog een derde mogelijke verklaring en die betreft de tijdsduur van de besluitvorming; in de meeste casus is die erg lang. Tussentijds kunnen zich allerlei veranderingen voordoen, zowel in maatschappelijk, economisch als politiek-ideologisch opzicht, die leiden tot veranderde inzichten en wensen. En er is vaak sprake van wisselende regeringscoalities en zetelverdeling (of zetelbezetting) in het Parlement. Ook dat leidt tot variatie in de beleids- en besluitvorming gedurende het besluitvormingstraject.
De variatie in de beleids- en besluitvorming roept de vraag op of het mogelijk en wenselijk is om op basis van opgedane ervaringen tot een wat meer algemeen afwegings- of besliskader te kunnen komen.1559 Een dergelijk besliskader zou kunnen bijdragen aan meer gecoördineerde en consistente besluitvorming. Deze vraag komt in het hoofdrapport uitgebreid aan de orde. Dit deelrapport maakt alleen een vergelijking tussen de casus op een aantal punten om te bezien wat voor elementen een rol zouden kunnen of moeten spelen in zo’n afwegingskader.
Tabel 7.1 kijkt naar de motieven voor een besluit, het type besluit (wetgeving of anderszins), de publieke belangen die worden geraakt door het besluit, de gekozen vorm van privatisering of verzelfstandiging, en de inrichting van de aansturing (governance) na implementatie van het besluit tot privatisering of verzelfstandiging.
|
Post/Telefonie |
NS |
Reïntegratie |
Energie |
|
|---|---|---|---|---|
|
Ministerie |
V&W |
V&W |
SZW |
EZ |
|
Periode besluit |
1989–1994 |
1995–2005 |
2001–2002 |
2004–2006 |
|
Vorm |
Privatisering |
Verzelfstandiging (staatsdeelneming) |
Verzelfstandiging en beoogde privatisering |
Verzelfstandiging TenneT (staatsdeelneming), ontvlechting en (regionale) privatisering |
|
Type besluit |
Wetgeving, beursgang, verkoop aandelen |
Na privaatrechtelijk contract volgde wetgeving |
Wetgeving, verkoop van bedrijf (failliet) |
Wetgeving maar niet geheel ingevoerd (rechtszaak) |
|
Motieven |
Concurrentiepositie bedrijf |
Financieel onafhankelijk, consumentbelang |
Politiek compromis i.k.v. SUWI |
Onafhankelijk netbeheer |
|
Publiek belang |
Creëren van markt |
Consument-belang, voldoen aan EU-vereisten |
Beschermen zwakke groepen |
Leveringszekerheid, tegengaan buitenlandse overname |
|
Governance |
Universele dienstverleningsconcessies; OPTA (ZBO) als toezichthouder in 1997 |
Concessies voor NS, splitsing NS en ProRail in 2005 |
Marktmechanisme |
TenneT als netbeheerder, Dte (later Nma) houdt toezicht |
De tabel laat vooral veel verschillen zien; er zijn bijvoorbeeld verschillende soorten motieven, publieke belangen en sturingsarrangementen. Daar gaan de volgende paragrafen uitgebreid op in.
Na een korte samenvatting van de belangrijkste motieven1560 in de verschillende casus, wordt ingegaan op een aantal gemeenschappelijke bevindingen.
In de casus van telefonie en post is het belangrijkste motief tweeledig: het bedrijf moest mogelijkheden krijgen om ook echt als bedrijf te functioneren, en de overheid wilde geld verdienen aan de verkoop van aandelen. Parallel daaraan, maar wel een fase later begonnen, loopt op EU-niveau de discussie over de liberalisering van de telefonie- en postmarkten. De nationale discussie is vooral gericht op de telefonie en veel minder op de post, maar omdat het een geïntegreerd bedrijf is, wordt ook de post meeverzelfstandigd en -geprivatiseerd. KPN en PostNL hebben nu dominante posities in de markt, mede door hun monopolistisch verleden en de concessies voor universele dienstverlening die in hun bezit zijn.
In de casus van de NS zijn ook financiële motieven leidend, in elk geval in het begin; de overheid wil dat de NS financieel zelfstandig wordt en wil niet langer opdraaien voor exploitatietekorten. Daarvoor moet de NS ook echt als een bedrijf kunnen functioneren. In tweede instantie worden andere motieven belangrijker, met name het klantbelang van de burger. De Europese discussie over liberalisering loopt vertraging op, waardoor ook de Nederlandse besluitvorming over concurrentie op of om het spoor lange tijd boven de markt hangt. Uiteindelijk wordt gekozen voor concurrentie om het spoor en krijgt de NS voor het hoofdrailnet een langlopende concessie. Over privatisering wordt kort gesproken maar hiervoor is geen steun in het parlement en dus worden hier verder geen concrete plannen voor ontwikkeld. Wel worden de taakorganisaties uitgeplaatst en als een aparte organisatie opgericht (ProRail); het netbeheer en de dienstverlening worden dus gesplitst. Dit besluit lijkt voornamelijk ingegeven te zijn door problemen op het spoor in de dagelijkse uitvoering van de dienstregeling. Er worden weinig fundamentele motieven genoemd; de discussie concentreert zich op allerlei incidenten en praktische aspecten zoals de taakuitvoering en organisatorische vorm van de nieuwe organisatie.
In de reïntegratiecasus lijkt sprake van politieke uitruil; in haar streven om de effectiviteit en efficiëntie van de uitvoering van de sociale zekerheid te verbeteren, wordt besloten om de uitvoeringsinstellingen niet te privatiseren maar te verstatelijken (in een publiekrechtelijk ZBO, het UWV) maar de reïntegratie wel naar de markt te brengen. Het uitkeringsvolume moet worden beheerst en meer mensen moeten weer aan werk worden geholpen. Daartoe wordt een nieuwe structuur bedacht waarin andere (markt)prikkels worden gegeven aan werkgevers en werknemers dan voorheen. De rol van de sociale partners in de besturing van de sector wordt sterk gereduceerd. Het parlement is bezorgd dat alle veranderingen ten koste gaan van de zwakke groepen op de arbeidsmarkt, maar het kabinet stelt dat dat geborgd wordt door de inzet van publieke middelen. Klantbelangen zijn dus een tweede belangrijk motief in de discussie.
De Wet Onafhankelijk Netbeheer (WON) heeft ertoe geleid dat geïntegreerde energiebedrijven vooralsnog niet geprivatiseerd kunnen worden; het netbeheer blijft in overheidshanden. Of dit betekent dat de wet privatisering belemmert of juist mogelijk maakt -want na splitsing is er geen beletsel meer- daarover verschillen de meningen sterk. Dat maakt het lastig om een eenduidig motief aan te wijzen, temeer daar de ministers in het debat wel zeven of acht verschillende motieven noemen. In elk geval speelt de liberalisering van de energiemarkt – ingegeven door de EU-richtlijnen – een zeer belangrijke rol in deze casus; alles is gericht op (eerlijke) marktwerking enerzijds en bescherming van consumenten en nationale belangen anderzijds.
In de generieke debatten (vijfde casus) zijn twee debatten bestudeerd. Ten eerste, de Kaderwet ZBO. Deze is vooral bedoeld om de wildgroei in regelingen en aantallen ZBO’s te verminderen. De door het parlement gewilde uniformiteit wordt echter tegengewerkt door ministeries en het veld. Hierdoor duurt het lang voor de wet tot stand komt en gaat de implementatie ervan moeizaam (blijkens recente evaluaties). Ten tweede het staatsdeelnemingenbeleid. Hiervoor is geen wetgeving ontwikkeld maar wel een aantal beleidsnota’s. Overall lijkt het erop dat zowel het beleid als het aantal staatsdeelnemingen over de tijd heen (1996–2007) niet of nauwelijks wijzigt, maar onder de oppervlakte zijn er wel degelijk veranderingen. De belangrijkste is de wijziging in uitgangspunt: van «bij voorkeur afstoten want de overheid is geen ondernemer» naar «beheren van deelnemingen met het oog op publieke belangen». Er worden regelmatig nieuwe deelnemingen opgericht of oude verkocht, maar een vaste kern van deelnemingen zal altijd in overheidshanden blijven, zoals bijvoorbeeld De Nederlandsche Bank. Het borgen van publieke belangen is sinds 2001 een belangrijk motief in het staatsdeelnemingenbeleid; als er geen publiek belang mee is gediend, is er geen reden om deelnemingen aan te houden.
Financiële, bestuurlijke en juridische motieven zijn dus dominant in de discussie. Politiek-ideologische motieven gaan pas later een rol spelen (zie ook paragraaf 7.2.2 over verschuiving in motieven). Opvallend is dat in de discussies niet de fundamentele vraag of er verzelfstandigd of geprivatiseerd moet worden centraal staat, maar meer de operationele vraag hoe. Dit zien we het sterkst bij de NS en bij KPN. Hierdoor gaan discussies vaak over operationele of technische aspecten, zoals de invulling van specifieke prestatiecriteria: het gewicht van brieven, of de punctualiteitsvereisten voor treinen. In de reïntegratiecasus is er ook weinig weerstand tegen het privatiseringsvoorstel maar wel zorg over de bescherming van zwakke groepen; cliëntenbelangen krijgen daarom veel aandacht. Dit lijkt eerder een principieel dan een technisch punt. De generieke debatten over ZBO’s en staatsdeelnemingen gaan al iets meer over de vraag of er wel verzelfstandigd of geprivatiseerd moet worden, maar hebben vooral aandacht voor de condities of voorwaarden waaronder dat zou moeten gebeuren. Bij ZBO’s schrijft de Kaderwet bijvoorbeeld bepaalde motieven voor, of geeft voorschriften voor de bestuurlijke inrichting en verslaglegging. Voor staatsdeelnemingen geldt dat er een identificeerbaar publiek belang moet zijn dat is gediend met overheidsaandeelhouderschap. De discussie over de WON in de energiesector is waarschijnlijk het meest principieel omdat het gaat over de wenselijkheid en mogelijkheid van privatisering van energiebedrijven en -netwerken. De ambiguïteit van het voorstel – de meervoudige doelen – maakt het echter lastig om te concluderen of het een wet is die privatisering nu juist mogelijk maakt of tegenhoudt.
Aanvankelijk zijn financiële motieven erg belangrijk, bijvoorbeeld bij KPN (geld verdienen aan verkoop aandelen) en de NS (subsidie afschaffen door financiële zelfstandigheid NS), maar in de loop van de tijd worden andere motieven de belangrijkste drijfveren. Die recentere motieven hangen veelal samen met publieke belangen zoals het beschermen van zwakke groepen (reïntegratie) of consumenten (denk bijvoorbeeld aan tariefstelling en afsluitbeleid), zaken als leveringszekerheid en toegankelijkheid van energie, bescherming van Nederlandse netwerken tegen buitenlandse overname, en het tegengaan van misbruik van collectieve middelen (sociale zekerheid).
Financiële motieven verdwijnen dus naar de achtergrond, behalve bij beslissingen over het afstoten of beheren van staatsdeelnemingen. Als aandeelhouder laat het ministerie van Financiën zich leiden door twee overwegingen: de financiële prestaties van een staatsdeelneming en het publieke belang dat gemoeid is met het overheidsaandeelhouderschap in de deelneming. Dit blijkt ook uit de zestien evaluaties die tussen 2003 en 2006 (zie bijlage 5) verschijnen. (zie ook paragraaf 7.3 over sturing)
De introductie van marktwerking of liberalisering is in alle casus een belangrijke motief voor privatisering of verzelfstandiging, al dan niet onder (vermeende) druk van de EU. Nederland loopt zelfs steeds vooruit op EU-richtlijnen over marktwerking en liberalisering (behalve bij de post waar na een aanvankelijke snelle start het besluit tot liberalisering steeds wordt uitgesteld totdat de EU Nederland dwingt tot invoering). Marktwerking, liberalisering, privatisering en verzelfstandiging zijn in de casus nauw met elkaar verweven. De volgorde waarin deze processen plaatsvinden, verschilt echter per casus. De meest aangetroffen volgorde is: eerst verzelfstandigen, dan privatiseren, en dan liberaliseren of marktwerking invoeren. In de casus van de reïntegratie worden deze stappen expliciet in deze volgorde genoemd, onder verwijzing naar KPN. In de praktijk was er bij KPN echter ook wel sprake van enige overlap in de stappen, waarbij verkoop van aandelen en liberalisering elkaar afwisselden. Bij de reïntegratiecasus was de uitgangssituatie ook wat anders; daar bestond al een markt voordat tot verzelfstandiging en privatisering werd overgegaan. In het dossier over de NS wordt er enkele malen over privatisering gesproken – na de «verzelfstandiging» – maar is het uiteindelijk nooit zover gekomen. En qua marktwerking werd gekozen voor concurrentie om in plaats van op het spoor. In de energiesector is daarentegen juist heel bewust ervoor gekozen om eerst te liberaliseren en daarna pas te privatiseren. Al met al is te constateren dat er geen vaste volgorde is toegepast. Elke volgorde lijkt zijn eigen voor- en nadelen te hebben. Belangrijkere constatering is dat er geen algemene visie of plan lijkt te zijn over de volgorde van verzelfstandiging, privatisering, liberalisering of marktwerking. Soms wordt er wel verwezen naar eerdere (meestal negatieve) ervaringen, maar dat gebeurt niet systematisch (vergelijk paragraaf 7.4). De twee bestudeerde generieke debatten, over de Kaderwet ZBO en het staatsdeelnemingenbeleid, bevatten ook geen aanwijzingen over dit soort strategische beslissingen.
Marktwerking wordt gaandeweg een belangrijk motief in de casus. Er wordt veel van verwacht: verbetering van efficiëntie, verbetering van dienstverlening, meer inspraakmogelijkheid voor burgers, enzovoorts. Het is niet duidelijk waarop deze verwachtingen precies zijn gebaseerd, maar ze worden vanaf het begin van de jaren ’80 door nagenoeg alle politieke partijen gedeeld – de SP en GroenLinks zijn het meest kritisch.1561 Pas na 2000, als het niet altijd goed blijkt te gaan met geprivatiseerde of verzelfstandigde onderdelen, wordt het parlement kritischer. Dat blijkt bijvoorbeeld uit de in de casus telefonie en post besproken oproep van het parlement om de OPTA op te richten ter bescherming van de consument. De crisis op het spoor en de financiële problemen voor KPN, begin jaren 2000, leiden tot vragen en discussie in het parlement en tot weerstand tegen plannen van de regering om verder te verzelfstandigen of te privatiseren (zie casushoofdstukken). Bij de NS komt de minister zelf tot herbezinning. In de energiedebatten vragen Kamerleden aanhoudend om criteria voor privatisering van energiebedrijven tussen 1999 en 2002 en nemen geen genoegen meer met afhoudende antwoorden van de minister; er worden moties opgesteld en er vindt een interpellatie plaats. Het parlement gaat uiteindelijk op de rem staan op het gebied van privatiseringen in de energiesector, en wil overtuigende argumenten aangereikt krijgen voor vervolgbeslissingen. De interpellatie van het Tweede Kamerlid Crone (2002) die een privatiseringsstop op geïntegreerde bedrijven inleidt, is daar een voorbeeld van. De Wet Onafhankelijk Netbeheer wordt vervolgens door de minister gepresenteerd als structuurmaatregel om de wensen van het parlement op het gebied van privatisering tegemoet te komen.
Ten aanzien van doelen, motieven en verwachtingen vallen nog twee dingen op.
Ten eerste, er worden meestal meerdere motieven genoemd bij voorstellen tot privatisering of verzelfstandiging. Bij dergelijke grote operaties is dat ook logisch. In het debat kan daardoor echter wel ambiguïteit ontstaan. In de energiecasus hebben we bijvoorbeeld gezien dat de Wet Onafhankelijk Netbeheer (WON) door sommigen als privatiseringswet wordt gezien en door anderen als anti-privatiseringswet. Dat leidt misschien wel tot brede steun, maar dat gebeurt om verschillende redenen en met verschillende verwachtingen. Interessant is overigens dat we in meerdere casus hebben gezien dat steun voor of kritiek tegen voorstellen tot privatisering en verzelfstandiging zich niet altijd automatisch langs de bekende partij-ideologische lijnen afspeelt. In het debat over de Kaderwet ZBO was dat bijvoorbeeld te zien; daar stonden liberale partijen aan beide kanten.
De aanwezigheid van vele doelen of motieven in een voorstel tot privatisering of verzelfstandiging heeft nog een ander effect gehad. In de energiecasus bijvoorbeeld weerden de ministers die de WON verdedigden in het parlement kritiek op het ene motief af door te wijzen op het belang van andere motieven. Dat maakt een wet dus bijna immuun voor kritiek, zonder dat er garanties zijn over welke motieven of doelen in de praktijk zullen prevaleren – of waarop later zal worden geëvalueerd of de privatisering of verzelfstandiging is geslaagd of mislukt.
Een tweede constatering over de bronnen van beleid inzake privatisering en verzelfstandiging is dat het sterk georiënteerd is op de Nederlandse situatie. Er zijn meerdere redenen waarom het parlement aandacht zou moeten besteden aan internationale aspecten in besluiten tot privatisering en verzelfstandiging: de invloed van EU-beleid, de creatie van internationale markten, interesse van buitenlandse partijen in Nederlandse verzelfstandigde of geprivatiseerde bedrijven maar ook andersom de internationale expansiedrift van Nederlandse verzelfstandigde of geprivatiseerde bedrijven. In de casus zien we wel dat EU-beleid een belangrijk motief is voor besluiten tot verzelfstandiging, privatisering en liberalisering. Ook bestaat er angst voor buitenlandse overnames, met name in netwerkgebonden sectoren (zie casus energie, maar ook KPN en NS). Maar het lijkt soms alsof Kamerleden overvallen worden door internationale investeringen door Nederlandse staatsdeelnemingen, zoals in de casus KPN (aanschaf Duits netwerk) en bij de NS.
Na een kort overzicht van de belangrijkste bevindingen ten aanzien van sturing (ook wel governance genoemd), verantwoording en het borgen van publieke belangen, wordt ingegaan op een aantal gemeenschappelijke thema’s.
In de casus over telefonie en post wordt geconstateerd dat het parlement op meerdere momenten aandringt op meer waarborgen voor publieke belangen en meer juridische instrumenten om indien nodig bij te kunnen sturen, dan het kabinet voorstelt. Zo wordt bijvoorbeeld in de Telecomwet en Postwet opgenomen dat de Tweede Kamer akkoord moet gaan met AMvB’s (wat niet gebruikelijk is). Ook worden extra regelingen over tariefstelling en kruissubsidiëring opgenomen en wil de Tweede Kamer (ex ante) geïnformeerd worden over de emissie en verkoop van aandelen. Dat laatste hoeft volgens de Comptabiliteitswet echter niet, en dus doet de minister dat niet. Wel geeft het kabinet gehoor aan een motie tot oprichting van een onafhankelijk toezichthouder: de OPTA. De belangrijkste discussie ten aanzien van sturing in dit dossier gaat over de rol van aandeelhouder. Het kabinet geeft hier een beperktere invulling aan dan het parlement; het parlement wil via het aandeelhouderschap ook invloed kunnen uitoefenen op de strategie van het bedrijf en de borging van publieke belangen. De EU verbiedt echter de constructie met het zogenoemde Gouden Aandeel (waardoor de overheid ook bij een klein aantal aandelen toch een beslissende stem heeft). Uiteindelijk blijken de concessies aan KPN en (thans) PostNL als universele dienstverlener (UD) het belangrijkste sturingsinstrument te zijn, ook nadat alle aandelen zijn verkocht en de markten geheel zijn geliberaliseerd.
Ook in de casus van de NS geeft het parlement, met name de Tweede Kamer, regelmatig aan behoefte te hebben aan meer sturingsinstrumenten dan er voorhanden zijn. Lange tijd komt er geen wetgeving aan te pas om de «verzelfstandiging» vorm te geven en de sturingsrelatie met de NS in te richten; dat gaat allemaal via privaatrechtelijke contracten. De Kamer is niet betrokken bij de onderhandelingen en krijgt pas achteraf het resultaat te horen. De Kamer is daar bijzonder ontevreden over en zet zelf meermaals onderzoeken uit. Ook wordt de Kamer daarna tussentijds een paar maal vertrouwelijk geïnformeerd door de minister. Het gevoel blijft echter overheersen dat het parlement geen grip heeft op de voortgang van de «verzelfstandiging» en daaruit voortvloeiend de aansturing van de NS en de uitplaatsing van de taakorganisaties (ProRail). Dit wordt nog verergerd door de crisis op het spoor, als de prestaties van de NS achteruitgaan (2001). Al met al leidt dit ertoe dat het debat vooral over operationele en instrumentele zaken gaat, met overheersende aandacht voor de bescherming van de reiziger (consument) zoals in de discussie over tariefstijgingen. De Kamer verwordt hierdoor vaker tot medebestuurder, ten koste van haar rol als medewetgever (zie ook paragraaf 7.5). Zo wordt er nauwelijks aandacht besteed aan de samenhang tussen belissingen over de NS en andere dossiers over marktwerking in het openbaar vervoer. Door alle vertraging in het dossier worden contracten en concessies steeds verlengd en duurt het lang totdat de verhoudingen tussen de NS, ProRail en de rijksoverheid formeel (wettelijk) zijn geregeld.
Bij de reïntegratie is veel haast; het tijdspad voor de drie stappen in het privatiseringsproces (interne ontvlechting, externe verzelfstandiging, privatisering) is kort, en er wordt zelfs op aan gedrongen om het nog sneller te doen (door de ingangsdatum te vervroegen). Veel van de praktische implementatie van de verzelfstandiging en privatisering ligt in handen van de arbeidsvoorzieningenorganisatie zelf; de minister stelt dat hij daar geen controle over heeft. De Tweede Kamer heeft gedurende het gehele proces vooral oog voor twee zaken: de bescherming van zwakke groepen op de arbeidsmarkt en het zo snel en goedkoop mogelijk in de markt zetten van Kliq NV. Wat de snelheid betreft, valt bijvoorbeeld op dat Kliq NV (staatsdeelneming) uiteindelijk wordt opgericht zonder dat er duidelijkheid is over de openingsbalans; de Kamer is daar wel kritisch over maar stemt toch in met de verzelfstandiging. Wat betreft het laag houden van de kosten van het privatiseringsproces neemt de Kamer de motie-Wilders c.s. aan, waardoor Kliq tegen de zin van de minister geen omzetgarantie meekrijgt. Dat is uiteindelijk waarschijnlijk mede-oorzaak van het faillissement van Kliq (hetgeen ook het behalen van de eerste doelstelling bemoeilijkt).
De WON moet de privatiseringsimpasse in de energiesector doorbreken. Het parlement kan de aandeelhouders van energiebedrijven, meestal provincies en gemeenten, niet tegenhouden – al zou ze dat wel willen – als deze besluiten tot verkoop van hun aandelen en bedrijven, maar willen het netbeheer (een natuurlijk monopolie) veilig stellen. Splitsing wordt daarom verplicht gesteld, ook al schrijven de EU-richtlijnen zo’n vergaande splitsing niet voor. Een dergelijke maatregel zorgt weliswaar in theorie voor een marktstructuur waarin privatiseren voor een groot deel van de Kamer acceptabel is, toch wenst de Kamer een toekomstige sturende en regievoerende rol van de nationale overheid bij de herstructurering van de sector. Dit is typerend voor de wens van de Kamer om meer interveniërend op te treden. De ministers in dit dossier zien meer in het scheppen van voorwaarden voor goede marktwerking, bijvoorbeeld door toezicht, om de borging van publieke belangen zoals betrouwbaarheid, toegankelijkheid en betaalbaarheid van energie veilig te stellen. Omdat de Eerste Kamer niet overtuigd is van die gunstige effecten van marktwerking houdt ze implementatie van de wet lange tijd tegen door naast de wet de motie-Doek/Sylvester aan te nemen; de verwachting is dat splitsingen dan ook niet door hoeven te gaan. Dat blijkt echter een misrekening; in 2007 wordt toch besloten om het splitsingsonderdeel in werking te laten treden. Er loopt nog altijd een rechtszaak tussen de overheid en energiebedrijven over de vraag of het splitsingsonderdeel van de WON in strijd is met het Europees recht.
De Kaderwet ZBO is bij uitstek een voorbeeld van een poging om via wetgeving te sturen. De toepassing van de Kaderwet verloopt echter moeizaam; er worden veel uitzonderingen gemaakt, zo blijkt uit een recente evaluaties door het ministerie van BZK en de Algemene Rekenkamer. Dit is mogelijk doordat de Kaderwet veel ruimte biedt om ervan af te wijken. De Kamer voegt wel een aantal bepalingen aan de Kaderwet toe die extra mogelijkheden bieden om te sturen, zoals een bepaling dat burgers/klanten meer inspraak moeten krijgen en een zogenoemde horizonbepaling die voor elk ZBO een vijfjaarlijkse evaluatie voorschrijft (maar zie paragraaf 7.4 daarover).
Het staatsdeelnemingenbeleid berust op twee pijlers: de financiële prestaties van staatsdeelnemingen en het publieke belang dat met de staatsdeelneming is gemoeid. In de nota’s uit 1996, 2001 en 2007 worden hiervoor verder geen concrete criteria of aanwijzingen gegeven; dat moet per organisatie worden uitgewerkt. Dat gebeurt ook in de evaluaties van staatsdeelnemingen, die aan de hand van een vragenlijst over publieke belangen worden uitgewerkt. Debatten in de Tweede Kamer spitsen zich dan ook meestal toe op individuele organisaties, en veel minder op de algemene uitgangspunten van het beleid – die blijven erg algemeen.
Wat opvalt in een aantal debatten is de grote tijdsdruk waaronder beslissingen moeten worden genomen, terwijl tegelijkertijd valt te constateren dat de meeste besluitvormingsprocessen behoorlijk lang duren (zie figuur 7.2). Bij de NS duurt het tien jaar voor de wetgeving in werking treedt. Bij de behandeling van de Kaderwet ZBO zit tussen het wetsvoorstel en de inwerkingtreding zeven jaar en de privatisering van KPN duurt acht jaar. In andere dossiers is de onderzochte beslissing snel genomen (binnen twee jaar, zie reïntegratie en WON) maar maakt deze onderdeel uit van een langer lopend proces (herstructurering sociale zekerheid, liberalisering energiemarkt).
|
PTT |
NS |
Reïntegratie |
WON |
ZBO |
SD-beleid |
|
|---|---|---|---|---|---|---|
|
1984–86 |
Adviezen commissies |
|||||
|
1989 |
Oprichting KPN NV |
|||||
|
1992 |
Advies Wijffels |
|||||
|
1993 |
Onderhandeling NS |
Adviezen commissies |
||||
|
1994 |
Beursgang KPN |
Rapport Rekenkamer |
||||
|
1995 |
Verkoop aandelen start |
Contract met NS |
Nota herstel primaat |
|||
|
1996 |
Nota, EU richtlijnen en Elektriciteitswet |
Aanwijzingen voor ZBO’s |
Nota SD: afstoten |
|||
|
1997 |
Oprichting OPTA |
Beleidskader spoor |
||||
|
1998 |
Splitsing KPN en TPG + Liberalisering telefoniemark voltooidt |
Liberalisering energiemarkt begint |
||||
|
1999 |
Nota 3e Eeuw spoor Rapport Rekenkamer |
SUWI nota’s |
Onduidelijkheid over criteria privatiseringen |
|||
|
2000 |
Verkoop aandelen in tranches |
Oprichting Kliq NV |
Voorstel Kaderwet |
|||
|
2001 |
Herbezinning + crisis op spoor |
Wet SUWI en Wet verzelfst. CBA in werking |
Nota SD: afstoten |
|||
|
2002 |
Kliq in problemen |
Privatiseringsverbod |
TK akkoord |
|||
|
2003 |
Concessie- en Spoorwegwet in werking |
|||||
|
2004 |
Liberalisering volledig I&I wet regelt toezicht |
Kohnstamm-rapport |
||||
|
2005 |
Oprichting ProRail |
Kliq failliet |
WON discussie in parlement, motie-Doek/Sylvester |
|||
|
2006 |
Overheid verkoopt laatste aandelen KPN |
EK akkoord |
||||
|
2007 |
Splitsingen van bedrijven; rechtszaken tegen Staat |
wet in werking |
Nota SD: publieke belangen |
|||
|
2009 |
Liberalisering postmarkt voltooid |
|||||
|
2010 |
Privatiseringsverbod netten |
De tijdsdruk en haast die gemoeid is met beslissingen worden op verschillende manieren verwoord, bijvoorbeeld met metaforen zoals rijdende treinen of kettingreacties. De Kamers worden soms onder druk gezet om akkoord te gaan met voorstellen onder dreiging dat anders allerlei andere besluiten vertraging oplopen; de NS-casus is daar een treffend voorbeeld van. Soms gaat het Parlement daar morrend mee akkoord (zie bijvoorbeeld de casus van de reïntegratie), maar andere keren gaat ze op de rem staan en stemt niet eerder in met een voorstel dan nadat er aanvullingen of wijzigingen zijn aangebracht conform haar wensen (zoals bij het hoofdlijnencontract met de NS in 1995).
Ondanks de lange duur van de trajecten valt op dat veel beslissingen inzake sturing, verantwoording, controle en borging pas gaandeweg worden genomen, bijvoorbeeld omdat blijkt dat er aan bepaalde zaken niet is gedacht of niet zo goed werken als werd gehoopt. Dat is bijvoorbeeld het geval bij de oproep van het parlement om de toezichthouder OPTA in te stellen (dat was niet voorzien in de originele plannen) of bij de weerstand tegen de verkoop van de laatste tranche aandelen van KPN (terwijl de EU al had aangegeven dat de Gouden Aandeel-constructie niet was toegestaan) en bij de discussie over de juridische vorm van ProRail. Bij de aanvang van privatiserings- en verzelfstandigingsplannen blijkt vaak geen masterplan te zijn waarin is nagedacht over de sturingsconsequenties. Een andere interpretatie van deze constatering kan zijn dat de wensen van de Kamer op dit punt onvoldoende zijn voorzien door de regering.
Een tweede observatie vanuit de casusonderzoeken hangt hiermee samen; de regering lijkt vaak meer over te willen laten aan de markt dan het parlement. Veel van de interventies van het parlement zijn erop gericht om – door middel van vooral juridische instrumenten – directer te kunnen sturen of ingrijpen (zie ook paragraaf 7.5 over rol van parlement). Dit betreft zowel het organiseren van toezicht en sturing na een privatisering of verzelfstandiging, als de wijze waarop democratische verantwoording wordt afgelegd, en de borging van publieke belangen. Het casusonderzoek van de energiesector laat dit goed zien, bijvoorbeeld de aanvullende regelingen inzake het afsluitbeleid door energie- en netbedrijven, maar ook als de minister door de Kamer wordt gevraagd om te gaan overleggen met de aandeelhouders van de energiebedrijven. Deze interventies zijn erop gericht om het primaat van de politiek te behouden; dat is zelfs letterlijk het primaire motief voor de Kaderwet ZBO.
Het parlement roept de regering regelmatig op om zaken aangaande privatisering en verzelfstandiging te regelen via publiekrechtelijke kaders, dat wil zeggen via wetgeving. In alle casus komt het uiteindelijk ook tot wetgeving maar soms duurt dat erg lang, zoals bij de NS. In die casus verzet de Kamer zich tegen het gebruik van privaatrechtelijke contracten1562 en benadrukt keer op keer het belang van wetgeving om zaken goed te regelen. Ook in het debat over de Kaderwet ZBO speelt deze opvatting een belangrijke rol. Alhoewel het geloof in de noodzaak en heilzame werking van publiekrechtelijke kaders door vrijwel alle fracties wordt gedeeld, wordt nergens echt uitgelegd waarom privaatrechtelijke instrumenten niet even geschikt zouden kunnen zijn. (Anderzijds leggen ministers dat ook niet echt uit.) Het staatsdeelnemingenbeleid bijvoorbeeld heeft helemaal geen wettelijke grondslag; dat bestaat alleen uit een aantal beleidsnota’s. Desondanks wordt er meerdere keren naar verwezen in de debatten van de sectorspecifieke casus, en worden de algemene principes ook toegepast in de specifieke besluiten over de casus, bijvoorbeeld bij de inrichting van TenneT, Kliq en NS. Ook wordt er regelmatig gewerkt met concessies, zie bijvoorbeeld de Concessiewet voor de NS en de Universele Dienstverleningsconcessies voor post en telefonie.
Eén nadeel van het gebruik van privaatrechtelijke instrumenten komt uit het onderzoek in elk geval heel duidelijk naar voren; de Eerste Kamer wordt dan niet betrokken bij besluiten over privatisering en verzelfstandiging. Bij de beslissingen over de NS duurt het inderdaad heel lang voor de Eerste Kamer zich kan uitspreken over de verzelfstandiging van de NS en de oprichting van ProRail. Anderzijds is in de casus van de reïntegratie geconstateerd dat de Eerste Kamer zich ook al in een vroeg stadium – op eigen initiatief – kan uitspreken over bepaalde voorgenomen beslissingen, zelfs als er nog geen wetsvoorstel is. En ook de begrotingsdebatten lenen zich voor vragen en discussie over toekomstige voorstellen (zie meer hierover in paragraaf 7.5 over de rol van het parlement).
Naast wetgeving wordt ook gebruik gemaakt van toezicht als juridisch instrument om bijvoorbeeld markten te reguleren of publieke belangen te borgen. Dat gebeurt in sommige casus explicieter (Dte bij energie, OPTA bij post en telefonie) dan in andere casus (toezicht op reïntegratie geschiedt gewoon door de minister).1563 Vermeldenswaard is dat veel onafhankelijke toezichthouders zelf ook verzelfstandigde organisaties zijn (ZBO’s). Dat geldt bijvoorbeeld voor de NMa, waarvan de vervoerkamer toeziet op onder andere de beheerders en gebruikers van het spoor zoals ProRail en NS.
In netwerkgebonden sectoren, zoals telefonie, spoorwegen en energie, wordt vaak gesproken van een natuurlijk monopolie. In die situaties wordt ervoor gekozen om het eigendom en/of het beheer van het netwerk in overheidshanden te houden. Dat is in het algemeen (of nationaal) belang en voorkomt misbruik van monopoliemacht of ongewenste overnames. Onafhankelijk netbeheer wordt ondergebracht bij een onafhankelijke partij, zoals ProRail (NS) en TenneT (energie). Voor de telefonie is geen beslissing genomen om het netbeheer af te splitsen. Op basis van het dossier is niet te achterhalen waarom daar ook niet echt over gediscussieerd is, maar de meeste betrokkenen zien er desgevraagd vandaag de dag weinig risico’s in. Zij stellen dat er voldoende checks and balances zijn: er is een concessie op grond waarvan de overheid eisen kan stellen aan het netbeheer; de komst van het mobiele netwerk heeft de kracht van het natuurlijk monopolie behoorlijk verminderd; en alle marktspelers hebben toegang tot het netwerk.1564 Bovendien is er een toezichthouder ingesteld (OPTA) die erop toeziet dat KPN, of anderen, geen misbruik maken van hun marktmacht en -positie.
De splitsing (ontvlechting) van taken of bedrijfsonderdelen, of de splitsing van het netwerk en dienstverlening wordt als een belangrijke waarborg gezien om (1) publieke belangen te kunnen beschermen dan wel (2) als sturingsinstrument om marktwerking te reguleren. Zo kan splitsing van commerciële en wettelijke taken worden gebruikt om kruissubsidiëring tegen te gaan.
Splitsing komt in verschillende varianten voor. De meest vergaande vorm is naar voren gekomen in de energiecasus (zie voor meer varianten de uitleg in hoofdstuk 5). Volgens de door ons geraadpleegde deskundigen is de splitsing van een netwerk en dienstverlening meer gebaseerd op ideologische of politieke gronden dan op economische of organisatorische. Zij stellen dat de borging van publieke belangen en het reguleren van markten op verschillende manieren kan worden bereikt en dat splitsing niet altijd nodig is.1565 Een bijkomend argument voor het parlement om te splitsen lijkt de angst voor vervreemding van Nederlandse bedrijven te zijn (zoals in de energiecasus), of een verlies aan politieke controle.
Overigens wordt in het buitenland lang niet altijd tot splitsing besloten. Nederland lijkt daarin verder te gaan dan andere landen. Dat geldt met name voor de energiesector, maar in lichtere mate ook voor de spoorwegen. Dit past overigens wel in een patroon; ook bij de liberalisering van markten loopt Nederland vaak voorop.
Alhoewel er in de parlementaire debatten veel over publieke belangen wordt gesproken, blijft vaak onduidelijk wat ze nu precies zijn. Dat komt omdat er geen eenduidige definitie is. De WRR heeft in 2000 een definitie gegeven die nog vaak wordt gebruikt: een publiek belang is een belang dat de overheid zich aantrekt, en dat zonder die bemoeienis waarschijnlijk niet (of niet goed) kan worden gediend.
Er zijn verschillende soorten publieke belangen: inhoudelijke belangen (zoals volksgezondheid) en procedurele belangen (zoals rechtszekerheid). Meer recent is door de WRR onderscheid gemaakt tussen individuele en maatschappelijke belangen gemaakt, ervanuitgaande dat sommige belangen alleen individuen raken en andere belangen de samenleving als geheel.1566 Publieke belangen kunnen bovendien tegenstrijdig1567 zijn, bijvoorbeeld het economische belang van meer energiecentrales (werkgelegenheid, verkoop van stroom aan het buitenland) versus ecologische belangen (meer CO2-uitstoot is slecht voor het milieu).
Waarschijnlijk is het nodig om per casus te omschrijven welke publieke belangen er spelen. Dit is bijvoorbeeld gedaan in de energiecasus; daar wordt onderscheid gemaakt tussen belangen zoals betrouwbaarheid, toegankelijkheid, leveringszekerheid, duurzaamheid, en zo meer. Dat onderscheid is echter gemaakt door de onderzoeker en is niet op die manier terug te vinden in het parlementaire debat of in het wetsvoorstel. Een dergelijke gedegen analyse van publieke belangen komt in geen enkele parlementair casusdossier voor.1568 De invulling van wat een publiek belang is, of en hoe het in geding is, en welke oplossing daarvoor het meest geschikt is, lijkt daarom vaak een politieke keuze. Dat zou ook verklaren waarom er op zoveel verschillende manieren mee wordt omgegaan; soms door concessies, soms door splitsing, soms door toezicht, soms door contracten, enzovoorts. Er blijkt overigens veel onduidelijkheid te bestaan over de mogelijkheid om publieke belangen te borgen door middel van het publiek aandeelhouderschap. Daarover gaat de volgende paragraaf.
In de onderzochte casus worden twee belangen het meest genoemd: het realiseren van (eerlijke) marktwerking, en de noodzaak van consumentenbescherming. Met name dat laatstgenoemde belang komt vaak pas wat later in beeld (zie paragraaf 7.2). Die verschuiving laat zien dat publieke belangen niet statisch zijn maar in de loop van de tijd kunnen veranderen, zich ontwikkelen, en meer of minder belangrijk kunnen worden. Zo wordt in de energiecasus het belang van duurzame energieopwekking als neveneffect van de WON pas later in het debat genoemd (zie casushoofdstuk). Over het belang van de consumentenbescherming wordt ingegaan in paragraaf 7.4 en 7.5.
Kamerleden lijken vaak meer te verwachten van het aandeelhouderschap dan de regering; zij zien het aandeelhouderschap als instrument om te kunnen sturen of invloed uit te oefenen. Dit blijkt bijvoorbeeld uit de discussie over het Gouden Aandeel in de casus post en telefonie. Dat is echter niet in lijn met het staatsdeelnemingenbeleid (zie hoofdstuk 6 van dit rapport). In de nota’s staatsdeelnemingenbeleid wordt gesteld dat een staatsdeelneming wordt behouden zolang er een publiek belang mee is gemoeid dat zonder aandeelhouderschap niet zou worden gerealiseerd. Vanuit het ministerie van Financiën wordt dit eng geïnterpreteerd; het oprichten of aangaan van een staatsdeelneming als zodanig is bedoeld om een publiek belang te borgen (zie formulering in nota’s 1996, 2001 en 2007). Het aandeelhouderschap moet zich verder vooral richten op het belang van het bedrijf, en niet op het algemeen (publiek) belang. De evaluaties van staatsdeelnemingen (verschenen tussen 2003 en 2006, zie bijlage 5 van dit rapport) en de jaarverslagen over het staatsdeelnemingenbeleid (verschenen vanaf 2006) leggen dan ook sterk de nadruk op de financiële prestaties van de staatsdeelnemingen. Inhoudelijke (beleids)prestaties zijn minder doorslaggevend voor de aandeelhouderrol en beslissingen over het aanhouden of afstoten van deelnemingen.
Kamerleden uiten echter regelmatig de wens om het aandeelhouderschap ook te gebruiken om beleidsprioriteiten te realiseren of toezicht te houden (bijvoorbeeld via benoeming van commissarissen). Wat dat laatste betreft, kan worden vermeld dat het beleid van de rijksoverheid al enige tijd is om geen overheidscommissarissen te benoemen1569 – toen de crisis op het spoor in 2001 op zijn hoogtepunt was werd contrair aan dit beleid en bij uitzondering toch gekozen voor de benoeming van twee overheidscommissarissen. Hier is dus sprake van spanning tussen de wens van de Kamer om te sturen via het aandeelhouderschap en het vigerende beleidsuitgangspunt.
De rol van aandeelhouder wordt meestal1570 vervuld door het ministerie van Financiën; de rol van beleidmaker en opdrachtgever1571 voor de uitvoeringsorganisatie berust bij het vakdepartement (voor de NS bijvoorbeeld thans het ministerie van Infrastructuur en Milieu). Dat verklaart ook waarom in de parlementaire debatten die zijn geanalyseerd in de casushoofdstukken de minister van Financiën het woord voert als het gaat over bijvoorbeeld Kliq NV (zie de casus reïntegratie).
De rollen van aandeelhouder en opdrachtgever kunnen in de praktijk overigens botsen. Immers, een aandeelhouder wil vooral een goed rendement en continuïteit van het bedrijf (en zijn investering) terwijl de opdrachtgever bepaalde (beleids)doelen wil realiseren, tegen zo laag mogelijke kosten. Sommige ministeries lossen dit op door onderling overleg, of door het aanwijzen van zogenoemde interfaces (personen of afdelingen) die alle communicatie met een organisatie kanaliseren. De praktijk laat echter zien dat er nogal veel verschillen zitten in de aanpak hiervan alsmede in de ontwikkeling van goede organisatorische samenwerking.1572 Dit is ook bevestigd in interviews met (oud)-ambtenaren die hierbij betrokken zijn (geweest).
In een aantal debatten in de casusonderzoeken wordt gerefereerd aan andere vormen van verantwoording, zoals het vergroten van inspraakmogelijkheden voor klanten (burgers) of door directe contacten en informatie-uitwisseling tussen ZBO’s en het parlement. Dergelijke verwijzingen kwamen bijvoorbeeld naar voren bij de behandeling van de Kaderwet ZBO maar ook bij het debat over de privatisering van de reïntegratie. Ze worden echter niet altijd opgevolgd. In de Kaderwet ZBO wordt weliswaar een artikel opgenomen over burgerinspraak en in de sociale zekerheid (casus reïntegratie) wordt een landelijke cliëntenraad ingesteld, maar directe contacten tussen verzelfstandigde organisaties en het parlement worden niet geïnstitutionaliseerd – zoals bijvoorbeeld wel het geval is in het Verenigd Koninkrijk. Het primaat van de politiek en de zogenoemde Oekaze van Kok (die contacten tussen ambtenaren en parlementsleden verbiedt) blijken maatgevend; alle communicatie over ZBO’s en staatsdeelnemingen moet via de minister lopen. Voor beleidsbeslissingen en het toezicht op uitvoeringsorganisaties is dat staatsrechtelijk ook correct, maar ook voor informatie-uitwisseling worden in de door ons geanalyseerde debatten geen voorzieningen getroffen anders dan dat informatie door de minister aan het parlement wordt verstrekt.
In de praktijk zijn echter tal van nieuwe vormen van verantwoording ontwikkeld. Zo is bijvoorbeeld in 2001, in reactie op het wetsvoorstel van de Kaderwet ZBO dat in de Tweede Kamer voorlag, het Handvest Publiek Verantwoorden1573 opgesteld door een aantal ZBO’s. Inmiddels heeft de Handvestgroep ook een gedragscode opgesteld en een visitatiecollege ingesteld dat deelnemende ZBO’s evalueert (zie bijlage 3 over evaluaties van ZBO’s). Deze nieuwe vorm van verantwoording wordt ook wel horizontale verantwoording1574 genoemd en kent tal van vormen waaronder klantenpanels en benchmarks.1575 In hoeverre het parlement, ministeries, burgers en de media gebruik maken van deze mogelijkheden en informatie is niet onderzocht door de parlementaire onderzoekscommissie.
Na een kort overzicht van de bevindingen over evaluaties en verwachte effecten in de casusonderzoeken worden drie thema’s besproken: (1) het evalueren van privatiseringen en verzelfstandigingen c.q. het gebruik van informatie uit evaluaties; (2) de effecten voor de burger; en (3) het gebruik van ervaringen met privatiseringen en verzelfstandiging uit andere sectoren en andere landen.
Wat het meest opvalt in de paragrafen van de casushoofdstukken over evaluaties is dat de besluiten tot privatisering en verzelfstandiging als zodanig eigenlijk zelden of nooit geëvalueerd worden. In de casus NS adviseerde de commissie-Wijffels om dat wel te doen, maar is dat niet doorgegaan. In de reïntegratiecasus wordt het faillissement van Kliq niet geëvalueerd, en ook de privatisering van KPN is niet geëvalueerd van overheidswege.1576
Evaluatiestudies die wel zijn uitgebracht, gaan merendeels over de prestaties van de geprivatiseerde of verzelfstandigde organisaties (paragraaf 7.3 beschrijft welke prestaties en effecten werden verwacht) en over de effecten van liberalisering of marktwerking (zie bijvoorbeeld in de casus post en de casus reïntegratie). Over het proces van verzelfstandiging of privatisering worden meestal geen uitspraken gedaan – laat staan over de kosten die ermee gemoeid waren. Nulmetingen zijn zeer uitzonderlijk en in de onderzochte casus niet aangetroffen.
De privatisering van de telefonie wordt o.a. door de OPTA succesvol genoemd; het nieuwe bedrijf levert goede prestaties en de markt voor telefonie is gegroeid, met name in aantal aanbieders. De technologische ontwikkelingen, zoals mobiel bellen en internet, hebben hier in grote mate aan bijgedragen. Desondanks heeft KPN nog altijd een zeer dominante positie op de markt.
Het postbedrijf presteert na de afsplitsing van de telefonie in financieel opzicht goed, al zijn de voordelen voor de consument beperkt. Er is maar weinig concurrentie op deze markt (één andere landelijke aanbieder op het gebied van brievenpost) en door dalende consumptie zal de omvang en kwaliteit van de universele postdienst waarschijnlijk niet gehandhaafd kunnen worden. Zo ligt momenteel een voorstel voor in het parlement om de postbestelling op maandag af te schaffen. De tarieven blijven laag dankzij de UD-concessie (waarover jaarlijks wordt gerapporteerd), maar direct betrokkenen concluderen dat de liberalisering van de postmarkt eigenlijk mislukt is.
Over de prestaties van de NS wordt regelmatig door verschillende partijen gerapporteerd, bijvoorbeeld door de NS zelf in het kader van de prestatieafspraken en in verschillende parlementaire onderzoeken door de Tweede Kamer. Dat geeft een wisselend beeld, niet in de laatste plaats doordat grote incidenten (uitval van stroom, slecht weer) veel aandacht krijgen. De meest recente rapporten, bijvoorbeeld «Spoor in Beweging» (2009), laten zien dat de sturing van ProRail door de minister verbeterd kan en moet worden. De uitgebreide analyse en evaluatie van verschillende sturingsmodellen waartoe de motie-Wolfson opriep, is wel uitgevoerd maar het kabinet is in samenspraak met de sector tot het oordeel gekomen dat de huidige situatie gehandhaafd wordt.
Omdat SUWI als groot project wordt aangemerkt, zijn er veel rapportages over verschenen, inclusief over de privatisering van de reïntegratie. Die evaluaties gaan echter meer over de ontwikkeling van de markt voor reïntegratiediensten dan over de effecten voor de burger (als klant of anderszins). In de onderzoeksperiode blijkt dat de reïntegratiemarkt wel volop in ontwikkeling is, dat er tal van nieuwe aanbieders opkomen, maar dat met name gemeenten moeite hebben om overzicht te krijgen om op een goede manier diensten in te kopen. De markt is ondoorzichtig en het is niet duidelijk hoe prijsvorming tot stand komt. De aanbodkant van de markt doet het dus beter dan de vraagkant. Wat de effecten zijn van de marktwerking in termen van een daling van het aantal werklozen kan op het moment van het laatste trendrapport (2006) niet worden vastgesteld. Klanten zijn wel tevredener. Dit rapport is niet besproken in het parlement. Over het faillissement van Kliq is niet gerapporteerd en ook niet gedebatteerd in het parlement.
Of de Wet Onafhankelijk Netbeheer tot betere marktwerking en dus gunstige effecten voor de afnemers van energie zal gaan leiden, is wel onderwerp van onderzoek geweest (o.a. door het CPB) maar het blijkt erg lastig om dat te schatten. Daarom worden, op voorstel van de Tweede Kamer, aanvullende maatregelen genomen om afnemers (burgers) te beschermen tegen bovenmatige tariefstijgingen. Op die manier wordt voorkomen dat energiebedrijven de kosten van splitsing en privatisering op de burger kunnen afwentelen. Er zijn verder geen studies bekend van prestatieverschillen tussen gesplitste en geïntegreerde bedrijven.
Ingevolge de Kaderwet ZBO moeten ZBO’s elke vijf jaar worden geëvalueerd. Onderdeel van die evaluatie is de vraag of het ZBO haar juridische vorm moet behouden, of dat deze gewijzigd dient te worden. Bijlage 4 geeft een overzicht van de evaluaties van ZBO’s die zijn opgenomen in het ZBO-register, voor zover wij die hebben kunnen traceren. Het overzicht laat zien dat de evaluaties overwegend door externe partijen (adviesbureaus) of de ZBO’s zelf worden uitgevoerd. Het merendeel van de evaluaties is aangeboden aan de Tweede Kamer, maar analyse van parlementaire stukken1577 en navraag bij een aantal griffiers van de Tweede Kamer leert dat er eigenlijk maar zelden echt gebruik wordt gemaakt van de inhoud van de rapporten. Dat geldt overigens evenzeer voor de Eerste Kamer. (Een analyse van de inhoud van de rapporten past helaas niet binnen de opzet en het tijdsbestek van het parlementaire onderzoek; het gaat om meer dan 100 organen die soms meermaals zijn geëvalueerd.)
De Kaderwet ZBO zelf is ook geëvalueerd; in 2012 zijn evaluaties uitgebracht door het ministerie van BZK en de Algemene Rekenkamer.1578 Hieruit blijkt dat de in 2007 in werking getreden Kaderwet tot nu toe op slechts een derde van de ZBO’s is toegepast, op nog eens een derde hoeft dat niet om verschillende redenen, en voor de rest is nog geen besluit genomen over toepassing.1579
In 2001 beloofde minister Zalm dat er een jaarlijkse evaluatie van staatsdeelnemingen zou worden gehouden via een rollend systeem, dat wil zeggen elk jaar worden een paar deelnemingen tegen het licht gehouden. Dat is ook gebeurd. Tussen 2003 en 2006 zijn zestien staatsdeelnemingen geëvalueerd; dat is iets minder dan de helft van het totaal aantal deelnemingen (zie het overzicht in bijlage 5). In die evaluaties ligt de nadruk op de financiële prestaties van de deelnemingen. De vraag of de staatsdeelneming kan worden afgestoten of moet worden behouden, is echter vooral afhankelijk van de vraag of het publieke belang dat wordt gediend met aandeelhouderschap ook anders gediend zou kunnen worden. Zo lang het antwoord op die vraag «nee» is, blijft de overheid aandeelhouder. Sommige evaluaties komen tot de conclusie dat afstoting wenselijk is, andere evaluaties pleiten voor behoud.
Alle evaluatierapporten over staatsdeelnemingen (op één na) en de jaarverslagen staatsdeelnemingenbeleid zijn besproken in de vaste commissie voor Financiën van de Tweede Kamer. Die discussies richten zich echter vooral op specifieke vragen over individuele deelnemingen, niet op algemene beleidslijnen of uitgangspunten. Navraag door de onderzoekscommissie leert dat met de wijziging van het beleidsuitgangspunt in 2007 (beheer tenzij, in plaats van afstoten tenzij) het niet langer nodig werd gevonden om de jaarlijkse evaluaties te houden. Wel wordt nog altijd jaarlijks gerapporteerd over het staatsdeelnemingenbeleid.1580
In de meeste casus werd verwacht dat privatisering of verzelfstandiging zou leiden tot meer marktwerking en daarmee tot meer keuzevrijheid en lagere tarieven voor burgers, en meer doelmatigheid voor de overheid. Verwijzingen naar de burger gaan dan ook vooral over de burger als klant of consument (afnemer van energie, reiziger, enzovoorts). Andere rollen van de burger worden niet of nauwelijks genoemd. In de reïntegratiecasus wordt wel gewezen op de positie van zwakke groepen op de arbeidsmarkt en hoe die positie dient te worden beschermd. En de rol van de burger als werknemer van de te privatiseren of verzelfstandigen organisaties komt af en toe aan bod, bijvoorbeeld in de casus NS en bij de post, evenals de rol van de burger als belastingbetaler en belegger bij KPN. In het debat over de Kaderwet ZBO wordt gesproken over de mogelijkheid voor burgers om inspraak te hebben op het functioneren van ZBO’s. Burgers vervullen echter nog meer rollen: ze zijn kiezer, ingezetene, co-producent van beleid, en belastingbetaler.1581 De focus van het onderzoek van de parlementaire onderzoekscommissie is meer gericht op dat soort rollen, en niet zozeer op de rol van de consument (zie ook de methodologische verantwoording in hoofdstuk 1 van dit rapport).
De studies naar de effecten van privatisering en verzelfstandiging die zijn besproken in de casushoofdstukken gaan uitsluitend over klanteffecten – hetgeen logisch is gezien de nadruk op marktwerking als motief voor privatisering en verzelfstandiging. Over effecten voor de burger in zijn andere rollen worden geen bevindingen gepresenteerd. Het onderzoek van het Sociaal Cultureel Planbureau (SCP) dat in opdracht van de onderzoekscommissie is uitgevoerd, geeft wel meer informatie en zal worden gebruikt bij het formuleren van conclusies in het hoofdrapport.
De effecten voor de burger als klant zijn verschillend per sector. In de telefonie lijkt sprake van een succes, bij de post wat minder, bij de NS blijven incidenten de boventoon voeren wat het moeilijk maakt om conclusies over het geheel te trekken. De effecten van de privatisering van de reïntegratie zijn op basis van de onderzoeken die zijn genoemd in het casushoofdstuk niet bekend. En in de energiesector is geen onderzoek gedaan naar de effecten van splitsing op tarieven e.d. voor de klant. Andere onderzoeken onder burgers bevestigen dat er sprake is van sectorale verschillen; burgers zijn het meest tevreden over de liberalisering van de telefoniemarkt, iets minder tevreden over de energiemarkt en ontevreden over marktwerking op het spoor.1582
In elke casus wordt wel een keer verwezen naar ervaringen met privatisering of verzelfstandiging in andere sectoren of andere landen, maar het aantal verwijzingen is gering en weinig consistent. Bij de casus over de telefonie wordt bijvoorbeeld verwezen naar ervaringen met Postbank en later ook NS; bij Kliq wordt verwezen naar de gevolgde werkwijze bij KPN en Pink Roccade; in de energiecasus wordt verwezen naar andere landen (maar afwisselend positief en negatief) en naar de NS, post, thuiszorg en KPN (maar als tegenvoorbeelden van hoe het niet moet). En bij het debat over ProRail wordt verwezen naar andere ZBO’s (LVNL en OPTA) om de voor- en nadelen van de ZBO-vorm te belichten op het moment dat over de juridische vorm van ProRail moet worden besloten. Internationale ontwikkelingen worden ook genoemd, bijvoorbeeld over de liberalisering van markten in andere Europese landen (bij casus over post en telefonie, energie en NS). En soms gaan Kamerleden en ambtenaren op bezoek in andere landen om daar te leren van ervaringen (zoals bijvoorbeeld in de casus KPN en NS).
Het lastige aan de verwijzingen naar andere ervaringen is dat ze soms worden gebruikt als voorbeeld van hoe het moet (in de casus reïntegratie kopieert men het stappenplan van KPN) en soms als voorbeeld van hoe het niet moet (bij energie wordt splitsing bepleit door te wijzen op de fout bij KPN waar niet is gesplitst). Het lijkt er op dat voor- en tegenstanders ervaringen uit andere sectoren en landen gebruiken om hun punt te maken. Dat komt het sterkst naar voren in de energiecasus waar buitenlandse ervaringen worden gebruikt ter ondersteuning van het voorstel van de minister totdat blijkt dat er ook negatieve kanten zitten aan het voorbeeld; dan wordt gesteld dat de Nederlandse situatie niet vergelijkbaar is met het buitenlandse voorbeeld. Het inconsistente en fragmentarische gebruik van verwijzingen naar eerdere ervaringen in andere sectoren en andere landen wijst er in elk geval niet dat er op een systematische wijze wordt geleerd van die ervaringen.
Het parlement vervult drie rollen: controleur, medewetgever en volksvertegenwoordiger. In elk casushoofdstuk is aandacht besteed aan die rollen. Per rol worden eerst de bevindingen samengevat en wordt daarna ingegaan op een aantal gemeenschappelijke conclusies. In de praktijk hangen deze rollen overigens nauw met elkaar samen.
In de casus over post en telefonie vallen ten aanzien van de rol als medewetgever twee zaken op. Ten eerste, er wordt veel meer en intensiever gesproken over de verzelfstandiging dan over de privatisering. De weg naar privatisering (b)lijkt onomkeerbaar nadat met verzelfstandiging is ingestemd. Ten tweede, de Tweede Kamer zorgt ervoor dat er extra regelingen komen waardoor ze blijvende inspraak houdt in de aansturing van KPN bijvoorbeeld via de verplichte goedkeuring van AMvB’s.
In de casus van de NS blijft wetgeving lang achterwege waardoor in elk geval de Eerste Kamer zeer lang buiten de discussie blijft. De Tweede Kamer is echter wel actief in dit dossier, enerzijds door de minister te vragen om afspraken met de NS te wijzigen of aan te vullen, en anderzijds door steeds opnieuw aan te dringen op wetgeving. Dit zien we met name in de discussie over de uitplaatsing van de taakorganisaties en de oprichting van ProRail. Toch valt in deze casus vooral op dat het parlement weinig regie heeft (of neemt); het debat concentreert zich vaak op incidenten of technische aspecten, zoals de juridische vorm van ProRail, in plaats van grote onderwerpen zoals de samenhang tussen het spoorbeleid en de marktwerking in de gehele OV-sector. Dit heeft geleid tot de conclusie in het casushoofdstuk dat de Tweede Kamer zich soms meer als medebestuurder dan als medewetgever opstelt. Zo stelt de Kamer aanvullende eisen aan het Hoofdlijnencontract en grijpt in bij tariefstijgingen (zie casushoofdstuk).
In tegenstelling tot de casus NS speelt de Eerste Kamer al in een vroeg stadium een rol bij het SUWI-debat waar het besluit tot privatisering van de reïntegratie onderdeel van is; op haar eigen verzoek wordt al over dit onderwerp gesproken voordat er een wetsvoorstel naar de Tweede Kamer is gestuurd. De Eerste Kamer maakt hiervoor gebruik van het beleidsdebat over de begroting van het ministerie van SZW.
In elke casus wordt door het parlement uitvoerig gebruik gemaakt van haar rechten, zoals het recht van amendement (meer dan 100 in de casus van NS), moties (zie de motie-Wilders c.s. in de casus van de reïntegratie en twee moties van Scheltema-de Nie om op te roepen tot de Kaderwet ZBO) en interpellatie (zie Crone in energiecasus).1583 De motie-Wilders c.s. en later het amendement Van Lente c.s. spelen een doorslaggevende rol in de privatisering van Kliq – en zijn waarschijnlijk zelfs medeoorzaak van het faillissement van de NV. Dit laat zien dat gebruik van medewetgevende bevoegdheden niet altijd positief hoeven uit te werken – er vanuit gaande dat het geen opzet was om Kliq tot faillissement te drijven.
Ook in de energiecasus is sprake van zo’n invloedrijke motie, ditmaal in de Eerste Kamer: de motie-Doek/Sylvester. Deze houdt de inwerkingtreding van de WON lange tijd tegen. Wat nog meer opvalt in deze casus is de aanhoudende verzoeken van de Tweede Kamer aan de regering om criteria op te stellen voor het nemen van beslissingen over privatisering van energiebedrijven. Pas na enkele jaren wordt uiteindelijk een nota aan de Kamer gezonden waarin staat op welke gronden de minister een verzoek tot privatisering zal goedkeuren. Het uitblijven van deze criteria zorgt lange tijd voor onduidelijkheid, ook in de sector, waardoor een aantal privatiseringen tegen de zin van de Kamer in toch plaatsvindt en er uiteindelijk – na een interpellatie – een privatiseringsverbod komt op aandringen van de Kamer.
Ten aanzien van de generieke debatten valt tenslotte op dat de invloed van het parlement als medewetgever op de totstandkoming van de Kaderwet erg groot is geweest. Niet alleen zijn er moties geweest om de wet af te dwingen maar er is ook een zeer groot aantal amendementen op de wet aangebracht. Bij de behandeling van de drie nota’s over het staatsdeelnemingenbeleid komt de Eerste Kamer er echter helemaal niet aan te pas, omdat het niet om wetgeving gaat.
De casusonderzoeken leiden aldus tot twee observaties over de rol van medewetgever. Ten eerste, naarmate de besluitvormingstrajecten vorderen wordt het parlement steeds actiever. De traditionele rolverdeling tussen regering en parlement is dat het parlement reageert op voorstellen van de regering (uitvoerende macht). Dat is zeker in het begin van de diverse casus het geval. Toch wordt gaandeweg steeds meer gebruik gemaakt van inspraak- en beïnvloedingsmogelijkheden (vragen, moties) en uiteindelijk van eigen bijdragen aan het wetgevingsproces (amendementen). In de paragraaf hierna worden ook andere activiteiten ontplooid zoals het houden van hoorzittingen en het laten verrichten van onderzoek.
Ten tweede is het verloop van de wetgevingstrajecten vaak bijzonder grillig. De herbezinning op de verzelfstandiging van de NS en uitplaatsing van de taakorganisaties, de wijziging van de plannen voor privatisering van Kliq, en de gevolgen van de motie-Doek/Sylvester voor de inwerkingtreding van de WON zijn allemaal voorbeelden van de invloed van het parlementaire debat op de besluiten van de regering. Overigens zijn er ook externe invloeden die hieraan bijdragen; de besluitvormingstrajecten duren vaak erg lang waardoor nieuwe ontwikkelingen, bijvoorbeeld technologisch (KPN) of internationaal (post), nopen tot aanpassing van plannen tot privatisering of verzelfstandiging.
De grilligheid van de besluitvorming komt ook op een andere manier terug in de casusonderzoeken. De debatten verlopen lang niet allemaal langs de bekende politiek-ideologische lijnen. Liberale partijen zijn bijvoorbeeld niet altijd voor privatisering en verzelfstandiging (zie de opstelling van de VVD bij Kaderwet ZBO), regeringspartijen zijn niet altijd de grootste supporter van kabinetsvoorstellen (zie casus reïntegratie), en fracties in Tweede en Eerste Kamer van dezelfde partij nemen niet altijd dezelfde standpunten in (zie energiecasus). Dat leidt af en toe tot onverwachte uitkomsten. Ook spelen incidenten soms een cruciale rol (zie crisis op het spoor en daaropvolgende herbezinning door de minister).
Die grilligheid toont echter ook aan dat er vaak sprake is van korte termijn denken en weinig lange termijn strategische visies. Het gebrek aan fundamentele discussie over de vraag of er verzelfstandigd of geprivatiseerd moet worden (zie paragraaf 7.3) past in dat beeld. De discussies in het parlement gaan vaak over operationele zaken, waardoor de rol van medewetgever soms wordt vervangen door die van medebestuurder.
Met de volledige privatisering en liberalisering van de post en de telefonie is de controlerende rol van het parlement in de loop van de jaren steeds verder afgenomen. Er wordt bijvoorbeeld niet meer jaarlijks over de begroting gesproken. De UD-concessies blijven echter aangrijpingspunt voor controle; daarmee worden immers de publieke belangen van onder andere de toegang en betaalbaarheid van telefonie en postbezorging geborgd. Het directe toezicht is in handen van de OPTA gelegd. Uit het casushoofdstuk valt op te maken dat er directe communicatie is tussen toezichthouder en parlement; die informatie wordt ook gebruikt bij het controleren van de regering. Zo leidt een brief van de OPTA tot Kamervragen door de heer Vendrik van GroenLinks.
Informatie is voor de Kamer van groot belang om haar controlerende taak uit te kunnen voeren. Dat is zichtbaar in meerdere casus. Zo wordt de Tweede Kamer een aantal maal vertrouwelijk geïnformeerd over de contractonderhandelingen met de NS. Dat gebeurt ook in de casus reïntegratie een enkele maal. Dat draagt bij aan de geïnformeerdheid van de Kamerleden, maar tegelijkertijd creëert het problemen voor de controlerende taak van het parlement. Immers, de informatie dient vertrouwelijk te blijven en kan dus niet in openbare debatten worden gebruikt om de minister ter verantwoording te roepen. Bovendien raakt de kennis verloren op het moment dat er een wisseling van Kamerleden en woordvoerders plaatsvindt (ook al omdat er geen verslagen worden gemaakt van die vertrouwelijke sessies). Wat wel bijdraagt aan de informatiepositie van het parlement zijn de eigen onderzoeken die worden uitgezet. Dit is onder andere gebeurd in de casus NS, energie en reïntegratie.
Een andere mogelijkheid tot het verkrijgen van veel informatie is toegepast in de casus rond de reïntegratie. Doordat de SUWI als groot project wordt aangemerkt, worden zeer frequente rapportages gemaakt en aan de Kamer toegezonden. Toch komt niet alle informatie naar boven, of op tijd naar boven, zoals bijvoorbeeld de informatie over de openingsbalans van Kliq die het mogelijk moet maken om de financiële gezondheid van het te verzelfstandigen bedrijf te beoordelen. En onderzoek door of in opdracht van het parlement leidt ook niet altijd tot duidelijke conclusies; in de energiecasus blijkt het bijzonder moeilijk om de kosten en opbrengsten van de voorgestelde splitsing te berekenen. In beide casus is gebruik gemaakt van nog een ander middel om informatie te verkrijgen: hoorzittingen (zie volgende paragraaf).
In alle casus maakt het parlement dus gebruik van meerdere instrumenten om informatie te verkrijgen teneinde de regering te kunnen controleren en/of zich een mening te vormen over beleidsvoorstellen. Toch is er één informatiebron waarvan heel weinig gebruik gemaakt wordt: evaluaties.
Ten eerste worden besluiten tot verzelfstandiging en privatisering zelden of nooit geëvalueerd. Er zijn wel evaluaties gehouden van bijvoorbeeld de effecten van marktwerking voor de klant (zoals in de casus van post, telefonie en reïntegratie), maar de beslissing als zodanig is geen onderwerp van reflectie. Ten tweede worden lang niet alle evaluaties in het parlement besproken; terwijl het parlement het verplicht stellen van een evaluatie vaak wel heel belangrijk vindt (bijvoorbeeld door een zogenoemde horizonbepaling op te nemen in een wet die een evaluatie na een aantal jaar na inwerkingtreding van de wet verplicht stelt), wordt de uitvoering daarvan niet opgevolgd. In de casus van de NS vindt de voorgestelde evaluatie in 1999 niet meer plaats, maar het parlement lijkt daar geen punt van te maken.
Met het oog op deze constatering heeft de parlementaire onderzoekscommissie laten uitzoeken wat er gebeurt met de evaluaties van ZBO’s en staatsdeelnemingen. In de Kaderwet ZBO is bepaald dat elk ZBO elke vijf jaar wordt geëvalueerd, ook om te bezien of handhaving van de ZBO-status gerechtvaardigd is. En in het debat over het staatsdeelnemingenbeleid in 2001 beloofde de minister dat alle staatsdeelnemingen zouden worden geëvalueerd. In bijlagen 4 en 5 zijn overzichten opgenomen van de uitkomsten; van iets minder dan 100 ZBO’s en van 16 staatsdeelnemingen zijn evaluaties gevonden. De evaluaties van de staatsdeelnemingen zijn op één na besproken in het parlement, en de meeste ZBO-evaluaties zijn geagendeerd voor een overleg of bespreking in de Tweede Kamer. Wanneer echter naar de inhoud van die behandelingen wordt gekeken (en dat is steekproefsgewijs gedaan), dan blijkt de inhoudelijke bespreking nogal beperkt te zijn. Bij de staatsdeelnemingen worden vooral vragen over de individuele organisaties gesteld, en de ZBO-evaluaties worden meestal niet eens expliciet genoemd in de verslagen van de overleggen waarvoor ze geagendeerd zijn. Navraag bij de griffiers van een aantal vaste Kamercommissies leert dat er geen systematische voorziening bestaat om deze informatie aan de orde te stellen; het is sterk afhankelijk van het onderwerp (oftewel de betreffende organisatie) en het initiatief van Kamerleden of griffiers of een evaluatierapport wordt geagendeerd en besproken. Overigens is geen van de evaluaties geagendeerd voor bespreking in de Eerste Kamer.
De evaluatierapporten die in dit onderzoek zijn betrokken, gaan dus primair over het functioneren van individuele organen of organisaties en maar zelden over het besluit om ze te privatiseren of verzelfstandigen. Er is dus (nog) geen manier om besluiten tot privatisering en verzelfstandiging te evalueren, en de uitkomsten daarvan te gebruiken om te leren hoe toekomstige besluiten zouden kunnen worden verbeterd. Dat geldt ook voor informatie over verzelfstandiging en privatisering in het buitenland. Dit zou juist bij zulke langdurige besluitvormingstrajecten als door ons onderzocht van belang kunnen zijn, bijvoorbeeld om tijdig bij te kunnen sturen indien er problemen ontstaan, dan wel door voorafgaand aan een besluit gebruik te kunnen maken van kennis over de verschillende beslismogelijkheden en bijbehorende voor- en nadelen.
In het verlengde daarvan kan ook geconstateerd worden dat de kennis van en aandacht voor de invloed van EU-richtlijnen te wensen overlaat. In de onderzochte debatten wordt door Kamerleden niet nagegaan wat de richtlijnen nu precies betekenen, hoeveel ruimte ze laten voor eigen beleid, enzovoorts. De argumenten «het moet van Brussel» en het argument «het mag niet van Brussel» worden beide gebruikt door ministers, zonder dat het parlement controleert of dit nu echt klopt.
Een laatste onderwerp dat hier genoemd wordt, betreft de vraag of en wanneer het parlement moet worden ingelicht over plannen van het kabinet om aandelen van staatsdeelnemingen uit te geven, te kopen of te verkopen. Dit speelt in meerdere casus. Volgens de Comptabiliteitswet hoeft de minister alleen ex post de Kamer te informeren; het vrijgeven van informatie van tevoren kan immers leiden tot het uitlekken van beursgevoelige informatie met alle gevolgen van dien. Bij de discussie over de verkoop van aandelen in KPN (casus post en telefonie) is de Kamer daar niet tevreden over; men wil die informatie wel. Bij de privatisering van Kliq (casus reïntegratie) wordt de Kamer wel vooraf geïnformeerd, ook al is dat niet verplicht. In de discussie over het staatsdeelnemingenbeleid (hoofdstuk 6 van dit rapport) komt dit onderwerp slechts kort aan bod. De minister zegt toe jaarlijkse evaluaties op te stellen over de noodzaak of wens om aandelen te verkopen. De informatie in die evaluaties maakt het niet meer nodig om het parlement apart te informeren over plannen om aandelen te kopen of verkopen, aldus de minister.
In paragraaf 7.4 is reeds geconstateerd dat de dominante perceptie van de burger in het parlement die van een klant of consument is; dat geldt eigenlijk voor alle casus. Of de burger de keuzevrijheid die door marktwerking ontstaat, eigenlijk wel waardeert, wordt niet ter discussie gesteld – al zijn de SP en GroenLinks kritisch op dit punt in de onderzochte debatten. Wel ontstaat er steeds meer zorg en aandacht voor de noodzaak om consumenten te beschermen tegen de gevolgen van marktwerking. Daarvoor worden toezichthouders aangewezen (OPTA, Dte) of aparte regelingen ten aanzien van tarieven opgesteld (zie bijvoorbeeld ook de extra wettelijke maatregelen ten behoeve van het afsluitbeleid in de energiecasus). In de casus van de reïntegratie gaat zelfs een groot deel van het debat over de bescherming van zwakke groepen op de arbeidsmarkt.
Bescherming van burgers komt soms ook op een andere manier aan bod, namelijk als het gaat om de positie van het personeel. Met name in de casus rond de post en de reïntegratie en in mindere mate bij de energiecasus, bestaan er grote zorgen in het parlement over de gevolgen van de privatisering voor de rechtspositie van het personeel. In de postcasus leiden die zorgen zelfs tot uitstel van de liberalisering.
Andere rollen van de burger – zoals belastingbetaler, kiezer, aandeelhouder, co-producent van beleid, enzovoorts – komen echter veel minder aan bod. In het debat over de Kaderwet ZBO en bij de reïntegratie worden vragen gesteld over de participatie van burgers/cliënten en worden zelfs voorzieningen ingesteld om dit mogelijk te maken. Maar dit punt komt niet terug in de andere casus.
Een ander punt dat belangrijk is voor deze rol van het parlement heeft betrekking op de mate waarin het parlement wordt gevoed met informatie door derden. Het veld en/of de organisaties die worden verzelfstandigd of geprivatiseerd spelen in de meeste casus een belangrijke rol. Zo zijn KPN en de NS nauw betrokken bij – of zelfs de bedenker van – de voorstellen voor hun verzelfstandiging/privatisering. De minister van Verkeer en Waterstaat geeft in de casus van de NS aan dat het niet mogelijk is om plannen te maken en uit te voeren zonder medewerking van de NS. In de casus post en telefonie wordt gewezen op de kennisvoorsprong van het bedrijf KPN ten opzichte van het ministerie. De energiebedrijven oefenen een krachtige lobby uit in de casus van de WON, zowel in de richting van de regering als het parlement, om de inwerkingtreding van de wet tegen te houden (zie het casushoofdstuk). Dat lukt maar ten dele met de motie-Doek/Sylvester. Uiteindelijk stappen de bedrijven naar de rechter om de wet tegen te houden. In reactie op de Kaderwet ZBO (generieke casus) organiseert een aantal ZBO’s een eigen groep: de Handvestgroep Publiek Verantwoorden. Naast het organiseren van horizontale verantwoording is deze groep ook steeds meer gaan optreden als belangenbehartiger van uitvoeringsorganisaties. Maar alhoewel het CBA zijn verzelfstandiging zelf mag organiseren, lijkt het erop dat de sectorale organisaties in de casus van de privatisering van de reïntegratie maar weinig invloed hebben. Dat past ook bij het streven met betrekking tot de herstructurering van de sociale zekerheid (SUWI) om de invloed van de sociale partners in de besturing van de sociale zekerheidssector te reduceren.
Invloed vanuit de sector en/of samenleving wordt ook op andere manieren georganiseerd, namelijk door hoorzittingen. In de casus van de reïntegratie worden door het parlement twee rondes hoorzittingen georganiseerd met belanghebbende partijen, deskundigen en maatschappelijke organisaties, voordat met het kabinet over de plannen wordt gesproken. In de energiecasus gebruikt de Tweede Kamer hoorzittingen om de voor- en nadelen van de WON te toetsen. Er zijn meerdere zittingen gehouden, zowel voor als tijdens het wetgevingstraject, met experts en betrokkenen uit de sector.
Alhoewel het parlement dus openstaat voor informatie vanuit het veld en de organisaties die geprivatiseerd of verzelfstandigd zullen worden, wordt er geen gebruik gemaakt van de mogelijkheid van rechtstreekse contacten, bijvoorbeeld door directeuren1584 van die organisaties (ZBO’s en anderen) in het parlement te horen. Dit is in het buitenland veel gebruikelijker, bijvoorbeeld in het Verenigd Koninkrijk (zie ook paragraaf 7.4 over horizontale verantwoording).
De precieze invloed van verzelfstandigde en geprivatiseerde organisaties laat zich moeilijk bepalen, maar het is wel duidelijk dat sommigen meer gehoor vinden in het parlement (energiesector) dan anderen (CBA). Ook de interviews in het kader van de casusonderzoeken hebben hier niet meer informatie aan het licht gebracht.
De hoofdvraag van het parlementaire onderzoek luidt: Op welke wijze en in welke mate is gedurende de periode 1990–2010 in de parlementaire beraadslagingen ten aanzien van nationale privatiseringen en/of verzelfstandigingen aandacht uitgegaan naar de beoogde, verwachte en bereikte effecten van privatiseringen en verzelfstandigingen op de verhouding tussen burger en rijksoverheid? De commissie is geïnteresseerd in de kwaliteit van de besluitvorming in het algemeen en de aandacht voor de effecten voor de burger in het bijzonder.
De casusonderzoeken laten zien dat de besluitvormingsprocedures vaak grillig zijn verlopen, enerzijds zeer langlopende processen zijn maar soms ook onder grote tijdsdruk staan, en dat motieven en doelen in de loop van de tijd verschuiven. Besluiten krijgen op uiteenlopende manieren vorm; in contracten, concessies en wetgeving, maar ook via rechterlijke uitspraken. Er bestaat veel onduidelijkheid, zowel over de definities van privatisering en verzelfstandiging, als over wat publieke belangen nu precies zijn en welke belangen soms in het geding zijn, en welke vormen van sturing en verantwoording mogelijk of wenselijk zijn. Er wordt weinig geleerd van eerdere ervaringen.
De parlementaire beraadslagingen kenmerken zich in het begin van het proces vaak door een passieve houding van het parlement, maar gaandeweg wordt de rol van Kamerleden steeds actiever. Alle middelen die hen ter beschikking staan worden ingezet om mee te beslissen, soms zelfs mee te besturen, maar in elk geval om de regering te controleren: hoorzittingen, onderzoek, interpellaties, moties, amendementen. De burger komt echter maar beperkt voor in de parlementaire beraadslagingen; zijn belangrijkste rol is die van consument. Die consument moet eerst vooral meer keuzevrijheid krijgen, maar later vooral ook beschermd worden tegen de negatieve gevolgen van marktwerking. Nadat een besluit tot verzelfstandiging of privatisering is genomen, lijkt het parlement zijn interesse echter te verliezen; er wordt maar zeer weinig gebruik gemaakt van informatie uit evaluaties. Dat past in het eerdergenoemde patroon dat er weinig wordt geleerd van eerdere ervaringen.
Het beoordelen van de rol en het optreden van het parlement in de onderzochte dossiers vraagt wel om enige nuance. Met de kennis van achteraf is het makkelijk om te zien wat goede en wat slechte besluiten waren, of wat men had anders moeten doen. Maar de besluitvormingsprocessen zijn complex en duren lang, waardoor het voor individuele Kamerleden lastig kan zijn om goed overzicht te behouden. Vaak staan besluitvormingsprocessen bovendien onder hoge tijdsdruk, waardoor niet altijd alle opties kunnen worden onderzocht en afgewogen. Opvallend is dat parlementsleden zich vaak zeer actief hebben opgesteld, zeker naarmate een dossier vordert. De opeenstapeling van besluiten, vaak doorkruist door besluiten van elders (EU, andere sectoren, generieke debatten), kan echter soms tot aantasting van de kwaliteit van besluiten leiden. De parlementaire onderzoekscommissie hoopt met de lessen die uit dit onderzoek kunnen worden getrokken bij te dragen aan verbetering van toekomstige besluitvorming over privatiseringen en verzelfstandigingen – ook in het belang van de burger.
|
Abw |
Algemene bijstandswet |
|
CWI |
Centra voor Werk en Inkomen |
|
CBA |
Centraal Bestuur Arbeidsvoorzieningsorganisatie |
|
CBL |
Cross Border Lease |
|
Ctsv |
College toezicht sociale verzekeringen |
|
DTe |
Dienst toezicht energie |
|
EC |
Europese Commissie |
|
EG |
Europese Gemeenschap |
|
ESF |
Europees Subsidie Fonds |
|
GMD |
Gemeentelijke Medische Dienst |
|
HRN |
Hoofdrailnet |
|
IRO |
Individuele Reïntegratie Overeenkomst |
|
KPN |
Koninklijke PTT Nederland |
|
Lisv |
Landelijk instituut sociale verzekeringen |
|
LME |
Landelijk Medezeggenschapsplatform Energiebedrijven |
|
MDW |
Marktwerking, Deregulering en Wetgevingskwaliteit |
|
NSR |
NS Reizigers |
|
Osv |
Organisatiewet sociale verzekeringen |
|
OV |
Openbaar Vervoer |
|
POC |
Parlementaire onderzoekscommissie |
|
PTT |
Post, Telegrafie en Telefonie |
|
REA |
Wet op de (re)integratie arbeidsgehandicapten |
|
RIT |
Railinfratrust BV |
|
Rob |
Raad voor het Openbaar Bestuur |
|
SEP |
Samenwerkende Elektriciteitsproducenten |
|
SER |
Sociaal Economische Raad |
|
SUWI |
Structuur Uitvoering Werk en Inkomen |
|
SVV |
Structuurschema Verkeer en Vervoer |
|
SZW |
Sociale Zaken en Werkgelegenheid |
|
TPG |
TNT Post Group |
|
UD |
Universele Dienstverlening |
|
Uvi |
Uitvoeringsinstelling |
|
UWV |
Uitvoeringsinstituut Werknemersverzekeringen |
|
WAJONG |
Wet werk en arbeidsondersteuning jonggehandicapten |
|
WAO |
Wet op de Arbeidsongeschiktheidsverzekering |
|
WAZ |
Wet arbeidsongeschiktheidsverzekering zelfstandigen |
|
Wet SAMEN |
Wet Stimulering Arbeidsdeelname Minderheden |
|
Wtv |
Wet Telecommunicatie Voorzieningen |
|
WW |
Werkloosheidswet |
|
Wwb |
Wet werk en bijstand |
|
ZBO |
Zelfstandig bestuursorgaan |
|
ZFW |
Ziekenfondswet |
In deze bijlage zijn opgenomen:
• De checklist voor de inhoudsanalyse, zoals gebruikt door de onderzoekers bij de analyse van de parlementaire debatten in het casusonderzoek.
• Een overzicht van geïnterviewde personen per casus.
• Een overzicht van de bestudeerde parlementaire stukken per casus.
• Welke overwegingen, verwachtingen, doelstellingen, premissen of motieven worden genoemd voor het voorstel/besluit tot privatisering of verzelfstandiging? Te denken valt aan: financiële motieven, bestuurlijke motieven, nieuwe sturingsfilosofie, voorkeur voor zelfregulering (subsidiariteit), historische overwegingen, juridische of beleidsmatige noodzaak, internationale druk, enzovoorts (nog aan te vullen).
• Hoe vaak worden deze motieven genoemd; welke wordt het meest genoemd? Worden motieven vaak herhaald?
• Wie noemt welke motieven? Maak een onderscheid tussen motieven die worden genoemd door de regering en door het parlement (Eerste Kamer, Tweede Kamer, oppositie of coalitie). Zijn er belangrijke verschillen tussen wie welk motief (het meest) noemt?
• Wordt er een nieuwe sturingsfilosofie of rol voor de overheid genoemd als motief voor privatisering of verzelfstandiging, en zo ja wat houdt die in? Te denken valt aan: meer op afstand, zakelijk, kerntaken, enzovoorts (nog aan te vullen).
• Door wie wordt de nieuwe sturingsfilosofie genoemd, regering of parlement?
• Worden er verwachtingen geuit over de mate van sturing en controle door de overheid (regering en parlement) na privatisering of verzelfstandiging? Zo ja, wat wordt verwacht ten aanzien van bijvoorbeeld de mate van sturing of controle, de noodzaak, of inzet van instrumenten? Wie uit deze verwachtingen: regering of parlement? En hoe wordt hierover gesproken: positief of negatief (zorgen)?
• Worden er verwachtingen geuit over de mate van verantwoording door de overheid na privatisering of verzelfstandiging? Zo ja, wat wordt verwacht ten aanzien van bijvoorbeeld de mate van verantwoording, de noodzaak, of inzet van instrumenten? Wie uit deze verwachtingen: regering of parlement? En hoe wordt hierover gesproken: positief of negatief (zorgen)?
• Welke voorzieningen worden getroffen om sturing, controle en verantwoording na privatisering of verzelfstandiging te bewerkstelligen?
• Wordt er gesproken over het borgen van publieke belangen na privatisering of verzelfstandiging? Zo ja, wat wordt daarover gezegd: positief (treffen van maatregelen) of negatief (zorgen over voldoende borging)? En door wie wordt dat gezegd: regering of parlement?
• Worden er voorzorgsmaatregelen voorgesteld ten behoeve van het borgen van publieke belangen? Zo ja, welke: wettelijke regels, toezicht, zelfregulering, of anders (nog aan te vullen)?
• Wordt er verwezen naar motieven, verwachtingen, doelen, effecten van eerdere privatiseringen, bijvoorbeeld in andere landen/sectoren e.d.? Zo ja, welke motieven betreft dat (zie indeling hierboven)? Wat voor effecten worden genoemd? En wie noemt deze zaken: regering of parlement? Wordt hierbij ook feitelijke informatie genoemd, bijvoorbeeld uit evaluatiestudies (aantallen/getallen)?
• Hoe worden motieven, ervaringen of effecten van eerdere privatiseringen of verzelfstandigingen in andere landen/sectoren benoemd: positief (navolgenswaardig) of negatief? Wordt gereflecteerd op eerdere ervaringen en besluiten?
• Worden er verwachtingen genoemd ten aanzien van de verhouding tussen burger en rijksoverheid? Hoe luiden die verwachtingen? Te denken valt aan: verbetering van klanttevredenheid, minder kloof tussen burger en bestuur (nog aan te vullen).
• Indien genoemd, wie uit verwachtingen over effecten op de verhouding tussen burger en rijksoverheid: regering of parlement? En zijn hier nog veranderingen in waar te nemen in de loop van het dossier?
• Besteedt het parlement aandacht aan publieke belangen? Zo ja, welke belangen worden genoemd? En wat stelt het parlement daarover: negatief (belangen worden bedreigd) of positief?
• Indien publieke belangen worden bedreigd, welke voorstellen worden dan gedaan om dit te verminderen? Te denken valt aan: toezicht, concurrentie, zelfregulering, anders (nog aan te vullen). Welke rol dicht het parlement zich hierbij zelf toe?
• Besteedt het parlement aandacht aan de belangen van burgers? Zo ja, welke belangen worden genoemd (klantbelangen, verhouding burger en overheid, of anders)? En wat stelt het parlement daarover: negatief (belangen worden bedreigd) of positief?
• Indien burgerbelangen worden bedreigd, welke voorstellen worden dan gedaan om dit te verminderen? Te denken valt aan: toezicht, concurrentie, zelfregulering, ombudsman, anders (nog aan te vullen). En welke rol dicht het parlement zich hierbij zelf toe?
• Heeft het parlement om aanvullende informatie gevraagd tijdens de beraadslagingen en besluitvorming over privatisering en verzelfstandiging? Zo ja, wat voor informatie? Heeft het parlement deze informatie ook gekregen, en naar voldoening?
• Heeft het parlement zelf aanvullende informatie verzameld of opgevraagd? Zo ja, wat voor informatie? En wat is hiermee gedaan?
• Heeft het parlement controlemogelijkheden of instrumenten gekregen of voorgesteld om na privatisering of verzelfstandiging haar functie als controleur waar te kunnen maken?
• Verandert er in de loop van het dossier iets in welke argumenten worden genoemd of herhaald, en zo ja wat (of door wie)?
• Welke verschillen zijn er in wat regering stelt/zegt of belangrijk vindt en wat/hoe de Kamers daarop reageren?
• Treden er in de loop van het dossier nog veranderingen op naar aanleiding van argumenten of debatten over motieven, sturing en controle, verantwoording, borgen van publieke belangen?
|
Naam |
Functie |
Datum |
Casus |
|---|---|---|---|
|
prof. ir. Wim Dik |
voormalig CEO PTT en KPN |
13 maart 2012 |
Telefonie/post |
|
de heer Jaap van der Doef |
voormalig lid Tweede Kamer |
2 april 2012 |
Telefonie/post |
|
drs. Kees Vendrik |
voormalig lid Tweede Kamer |
2 april 2012 |
Telefonie/post |
|
mr. Andele Nauta |
voormalig hoofd Juridische Zaken KPN (voorheen PTT) |
17 april 2012 |
Telefonie/post |
|
mr. Jan Willem Dijkman |
ambtenaar ministerie ELenI, directie Telecom en post |
25 mei 2012 |
Telefonie/post |
|
drs. Hans Kwakkenbos |
ambtenaar ministerie ELenI, directie Telecom en post |
25 mei 2012 |
Telefonie/post |
|
drs. Bert Aerts |
ambtenaar ministerie van ELenI, directie Telecom en post |
25 mei 2012 |
Telefonie/post |
|
drs. Jelte Theisens |
ambtenaar ministerie van ELenI, directie Mededinging en Consumenten |
25 mei 2012 |
Telefonie/post |
|
drs. Rob den Besten |
voormalig secretaris-generaal ministerie Verkeer en Waterstaat en voormalig president-directeur NS (1 juni 1992 tot 1 augustus 2000) |
23 april 2012 |
NS |
|
de heer Maarten van Eeghen |
voormalig directeur NS Reizigers en voormalig directeur-generaal Personenvervoer ministerie Verkeer en Waterstaat, en bestuurder van NS |
23 april 2012 |
NS |
|
drs. Attje Kuiken |
Tweede Kamerlid en voorzitter van de tijdelijke commissie onderzoek onderhoud en innovatie spoor |
29 mei 2012 |
NS |
|
de heer Piet Geurts |
voormalig directeur NS Commercie (september 2002 tot januari 2007) en van 1988 tot 2009 in diverse functies werkzaam binnen de NS |
23 april 2012 |
NS |
|
drs. Didier van de Velde |
onderzoeker TU Delft, gespecialiseerd in Europese openbaar vervoer sector |
5 maart 2012 |
NS |
|
dr. Maarten Veraart |
organisatieadviseur veranderingsprocessen in publieke dienstverlening |
17 april 2012 |
NS |
|
drs. Alex Corra |
onderzoeker VU Amsterdam |
20 maart 2012 |
Reïntegratie |
|
prof. dr. Bart Le Blanc |
oud-bestuurder Kliq |
21 april 2012 |
Reïntegratie |
|
mevrouw Marijke van Lente-Huiskamp |
voormalig lid Tweede Kamer |
21 april 2012 |
Reïntegratie |
|
mr. Anne-Willem Kist |
voorzitter Validatiecommissie |
20 maart 2012 |
WON/energie |
|
dr. Machiel Mulder |
bij CPB-studies betrokken onderzoeker |
20 maart 2012 |
WON/energie |
|
ir. Ludo van Halderen |
voormalig CEO Nuon |
26 maart 2012 |
WON/energie |
|
drs. Huub Doek |
voormalig lid Eerste Kamer |
26 maart 2012 |
WON/energie |
|
drs. Kees Vendrik |
voormalig lid Tweede Kamer |
2 april 2012 |
WON/energie |
|
drs. Ferd Crone |
voormalig lid Tweede Kamer |
2 april 2012 |
WON/energie |
|
drs. Ivo Habets |
ambtenaar ministerie van Financiën |
11 juni 2012 |
Generiek debat |
|
mr. Roald van der Linde |
ambtenaar ministerie van Financiën |
11 juni 2012 |
Generiek debat |
|
prof. dr. Roel in ’t Veld |
hoogleraar bestuurskunde, voormalig topambtenaar, mede-oprichter van de Nederlandse School voor Openbaar Bestuur, voorzitter Visitatiecollege van de Handvestgroep Publiek Verantwoorden |
14 juni 2012 |
Generiek debat |
|
ir. drs. Hans Smits |
voormalig secretaris-generaal van het ministerie van Verkeer en Waterstaat |
21 juni 2012 |
Generiek debat |
|
dr. Ronald Gerritse |
voormalig secretaris-generaal van het ministerie van Financiën 2003–2011 |
26 juni 2012 |
Generiek debat |
|
mr. Lex Hartman |
lid raad van bestuur TenneT |
28 juni 2012 |
Generiek debat |
|
dr. Alex Brenninkmeijer |
Nationale Ombudsman |
10 april en 10 september 2012 |
Generiek debat |
|
prof. mr. Leigh Hancher |
hoogleraar Europees recht Universiteit van Tilburg |
10 september 2012 |
Generiek debat |
|
prof. mr. Pierre Larouche |
hoogleraar mededingingsrecht Universiteit van Tilburg |
10 september 2012 |
Generiek debat |
|
mr. Piet Hein Donner |
vice-president Raad van State |
25 september 2012 |
Generiek debat |
CASUS PRIVATISERING VAN DE POST EN TELEFONIE
Belangrijkste bestudeerde parlementaire dossiers
17 370 Taak en functie van de PTT
20 369 Wet op de telecommunicatie
20 370 Machtigingswet PTT Nederland NV
20 371 Postwet
21 693 Post- en telecommunicatiebeleid
23 222 Wet beursgang KPN
25 128 Oprichting OPTA
25 862 Splitsing Post en Telecom
26 363 Wijziging Postwet
27 638 Herplaatsing aandelen TNT
28 165 Deelnemingenbeleid Rijksoverheid
29 502 Toekomstige ontwikkeling van de Nederlandse postsector
Belangrijkste bestudeerde Kamerdebatten
Handelingen I 1983/84, UCV 19
Handelingen I 1983/84, UCV 20
Handelingen I 1988/89, UCV 3
Handelingen I 1993/94, UCV 11
Handelingen I 1993/94, UCV 20
Handelingen II 1981/82, UCV 10
Handelingen II 1983/84, UCV 103
Handelingen II 1983/84, UCV 20
Handelingen II 1985/86, UCV 58
Handelingen II 1987/88, UCV 78
Handelingen II 1987/88, UCV 79
Handelingen II 1991/92, UCV 37
Handelingen II 1993/94, UCV 22
Handelingen II 1993/94, UCV 31
Handelingen II 1996/97, UCV 81
Handelingen II 1999/00, UCV 4
Handelingen II 1999/00, UCV 104
Handelingen II 2001/02, UCV 9
Handelingen II 2011/12, UCV 74
CASUS VERZELFSTANDIGING VAN DE NS
Belangrijkste bestudeerde parlementaire dossiers
18 986: Verhouding rijksoverheid-NS
23 645: Openbaar vervoer
24 042: Aanpassing Spoorwegwet en Wet Personenvervoer aan Richtlijn nr. 91/440 EEG en Verordening (EEG) nr. 1893/91
25 228: Beleidskader toelating tot het spoorvervoer
25:335: Wijziging van de Spoorwegwet ter implementatie van richtlijn nr. 95/18/EG en richtlijn 95/19/EG
26 464: Beleidsnota De derde eeuw spoor
26 615: Toezicht op het spoor
27 216: Aanvulling van de Wet personenvervoer 2000 en de Spoorwegwet, strekkende tot invoering van een concessiestelsel voor het personenvervoer per trein en regeling van de verlening van meerjarige rechten met betrekking tot de toewijzing van spoorweginfrastructuurcapaciteit (Concessiewet personenvervoer per trein)
27 465: Overname aandelenpakket in een aantal taakorganisaties van de NV Nederlandse Spoorwegen
27 482: Nieuwe algemene regels over de aanleg, het beheer, de toegankelijkheid en het gebruik van spoorwegen alsmede over het verkeer over spoorwegen (Spoorwegwet)
Belangrijkste bestudeerde Europese regels en richtlijnen
Verordening 1191/69
Verordening 1893/91
Richtlijn 91/440/EG
Richtlijn 95/18/EG
Richtlijn 95/19/EG
Richtlijn 2001/12/EG
Richtlijn 2001/13/EG
Richtlijn 2001/14/EG
CASUS PRIVATISERING VAN DE REÏNTEGRATIEDIENSTVERLENING
Belangrijkste bestudeerde parlementaire dossiers
Kamerstukken fase 1: ontvlechting Arbeidsvoorziening
Kamerstukken II 1998/99, 26 448, nr. 1
Kamerstukken II 1998/99, 26 448, nr. 5
Kamerstukken II 1999/00, 26 448, nr. 7
Kamerstukken II 1999/00, 26 448, nr. 8
Handelingen I 1999/00, nr. 26
Handelingen I 2000/01, nr. 28
Handelingen II 2000/01, nr. 58
Handelingen II 2000/01, nr. 60
Kamerstukken II 2000/01, 26 448, nr. 9
Handelingen II 2000/01, nr. 61
Kamerstukken II 2000/01, 26 448, nr. 11
Handelingen II 2000/01, 26 448, nr. 78
Kamerstukken II 2000/01, 26 448, nr. 13
Kamerstukken II 2000/01, 26 448 en 21 477, nr. 15
Kamerstukken II 2000/01, 27 588, nr. 3
Kamerstukken II 2000/01, 27 400 XV
Kamerstukken I 2000/01, 26 448, nr. 256
Kamerstukken I 2000/01, 26 448, nr. 256a
Handelingen II 2001/02, nr. 89
Handelingen II 2001/02, nr. 90
Handelingen II 2001/02, nr. 91
Handelingen II 2001/02, nr. 92
Handelingen II 2001/02, nr. 94
Handelingen II 2001/02, nr. 96
Kamerstukken fase 2: Wet Verzelfstandiging reïntegratiediensten Arbeidsvoorzieningsorganisatie, oprichting Kliq
Kamerstukken II 2000/01, 27 296, nr. 1&2
Kamerstukken II 2000/01, 27 296, nr. 3
Kamerstukken II 2000/01, 27 296, nr. 4
Kamerstukken II 2000/01, 27 549, nr. 1&2
Kamerstukken II 2000/01, 27 549, nr. 3
Kamerstukken II 2001/02, 27 549, nr. 5
Kamerstukken II 2001/02, 27 549 en 27 296, nr. 6
Kamerstukken II 2001/02, 27 549, nr. 7
Kamerstukken II 2001/02, 27 549, nr. 8
Kamerstukken II 2001/02, 27 549 en 27 296, nr. 9
Kamerstukken II 2001/02, 27 549, nr. 10
Kamerstukken II 2001/02, 27 549, nr. 11
Kamerstukken II 2001/02, 27 549, nr. 12
Kamerstukken II 2001/02, 27 549 en 27 296, nr. 13
Handelingen II 2001/02, nr. 26
Handelingen II 2001/02, nr. 27
Kamerstukken I 2001/02, 27 549, nr. 140a
Kamerstukken I 2001/02, 27 549, nr. 140b
Handelingen I 2001/02, nr. 9
Handelingen I 2001/02, nr. 13
Kamerstukken fase 3: periode na verzelfstandiging
Kamerstukken II 2002/03, 27 549 en 27 296, nr. 14
Kamerstukken II 2002/03, 26 448, nr. 46
Kamerstukken II 2002/03, 26 448, nr. 48
Kamerstukken II 2002/03, 26 448, nr. 54
Kamerstukken II 2002/03, 26 448, nr. 59
Kamerstukken II 2002/03, 26 448, nr. 60
Kamerstukken II 2003/04, 26 448, nr. 80
Kamerstukken II 2003/04, 26 448, nr. 81
Kamerstukken II 2003/04, 26 448, nr. 85
Kamerstukken II 2003/04, 26 448, nr. 96
Kamerstukken II 2005/06, 26 448, nr. 186
Kamerstukken II 2005/06, 26 448, nr. 202
Kamerstukken II 2005/06, 26 448, nr. 229
Kamerstukken II 2005/06, 26 448, nr. 233
Kamerstukken II 2006/07, 26 448, nr. 239
CASUS PRIVATISERING, ONTVLECHTING EN MARKTWERKING IN DE ENERGIESECTOR
Belangrijkste bestudeerde parlementaire dossiers inzake WON
Kamerstukken II 2004/05, 30 212, nr. 3
Kamerstukken II 2005/06, 30 212, nr. 5
Kamerstukken II 2005/06, 30 212, nr. 6
Kamerstukken II 2005/06, 30 212, nr. 9
Kamerstukken II 2005/06, 30 212, nr. 15
Kamerstukken II 2005/06, 30 212, nr. 19
Kamerstukken II 2005/06, 30 212, nr. 20
Handelingen II 2005/06, nr. 71
Handelingen II 2005/06, nr. 73
Kamerstukken I 2006/07, 30 212, nr. C
Kamerstukken I 2006/07, 30 212, nr. D
Kamerstukken I 2006/07, 30 212, nr. E
Kamerstukken I 2006/07, 30 212, nr. F
Handelingen I 2006/07, nr. 6
Handelingen I 2006/07, nr. 7
|
Naam |
Jaartal |
Privatisering of verzelfstandiging?1 |
Privatisering: resterend aandeel rijksoverheid2 |
Type verzelfstandiging |
Opmerkingen |
|---|---|---|---|---|---|
|
Ministerie van Algemene Zaken |
|||||
|
Dienst Publiek en Communicatie |
1-1-2005 |
Verzelfstandiging |
Batenlastendienst |
||
|
Ministerie van Buitenlandse Zaken |
|||||
|
CBI |
1998 |
Verzelfstandiging |
Agentschap |
CBI gaat m.i.v. 2013 over naar Agentschap NL |
|
|
Ministerie van Binnenlandse Zaken en Koninkrijksrelaties |
|||||
|
SDU |
5-3-2007 |
Privatisering |
0% |
In 1988 is gestart met verzelfstandiging |
|
|
Rijks Bedrijfsgezondheidsdienst- en Bedrijfsveiligheidsdienst (RBB) gefuseerd met arbodienst NS en Philips tot Arbo Management Groep BV |
1-1-1997 |
Privatisering |
48% |
sinds 1-1-1996 NV 1-1-1997 fusie, Staat krijgt 48% van de aandelen |
|
|
Arbo Management Groep BV |
30-11-1999 |
Privatisering |
24 % |
||
|
Arbo Management Groep BV |
1-5-2000 |
Privatisering |
0% |
||
|
RPD Advies |
1-1-1996 |
Privatisering |
0% |
||
|
RCC/Roccade/PinkRoccade |
7-7-1999 |
Privatisering |
73,9% |
1990 RCC wordt NV RCC 1995 wordt Roccade Informatica Groep 1999 wordt PinkRoccade NV 1999 beursgang |
|
|
23-6-2000 |
Privatisering |
25,8% |
Verkoop deel van belang |
||
|
7-3-2005 |
Privatisering |
0% |
Overname door Getronics |
||
|
Dienst Ziektekosten Overheidspersoneel |
1-8-2001 |
Privatisering |
0% |
||
|
ABP |
1-1-1996 |
Privatisering |
0% |
Privatisering in stichting |
|
|
HEC |
30-03-1998 |
Privatisering |
0% |
Privatisering in stichting |
|
|
ROI |
1-2-1993 |
Privatisering |
0% |
Privatisering in stichting |
|
|
Management centrum |
1-1-1990 |
Privatisering |
0% |
Privatisering in stichting |
|
|
Interdepartementaal Bureau dienstreizen |
1-7-1994 |
Privatisering |
0% |
Privatisering in stichting Government Travel Stichting |
|
|
Informatievoorziening Overheidspersoneel |
1-1-1996 |
Verzelfstandiging |
Batenlastendienst |
IVOP bestaat niet meer, taken opgegaan in P-direkt per 1-1-2006 |
|
|
Dienst van de Huurcommissie |
1-1-2010 |
Verzelfstandiging |
Batenlastendienst |
||
|
Rijksgebouwendienst |
1-1-1999 |
Verzelfstandiging |
Batenlastendienst |
||
|
P-direkt |
1-1-2009 |
Verzelfstandiging |
Batenlastendienst |
||
|
Centrale Archief en Selectiedienst |
1-1-1997 |
Verzelfstandiging |
Batenlastendienst |
||
|
Werkmaatschappij |
1-1-2008 |
Verzelfstandiging |
Batenlastendienst |
||
|
Basisadministratie Persoonsgegevens en Reisdocumenten |
1-1-1998 |
Verzelfstandiging |
Batenlastendienst |
||
|
FM-Holding |
1-1-2010 |
Verzelfstandiging |
Batenlastendienst |
||
|
Logius |
1-1-2010 |
Verzelfstandiging |
Batenlastendienst |
||
|
Immigratie- en Naturalisatiedienst |
1-1-1994 |
Verzelfstandiging |
Batenlastendienst |
||
|
Centraal orgaan Opvang Asielzoekers |
1-7-1994 |
Verzelfstandiging |
ZBO |
||
|
Centraal Fonds Volkshuisvesting |
1-5-1995 |
Verzelfstandiging |
ZBO |
||
|
Stichting Waarborgfonds Eigen Woningen |
1-1-1995 |
Verzelfstandiging |
ZBO |
||
|
Kiesraad |
14-12-1917 |
Verzelfstandiging |
ZBO |
||
|
Stichting Administratie Indonesische Pensioenen |
1-1-1956 |
Verzelfstandiging |
ZBO |
||
|
Huurcommissie |
1-4-2010 |
Verzelfstandiging |
ZBO |
||
|
Bureau Architectenregister (voortzetting SB opgericht in 1988) |
1-1-2011 |
Verzelfstandiging |
ZBO |
||
|
Keuringsinstanties bouwproducten (zogenaamde «notified bodies») |
1-1-2004 |
Verzelfstandiging |
ZBO |
Cluster bestaat uit 41 keuringsinstanties. |
|
|
Stichting Bureau Architectenregister |
4-8-1988 |
Verzelfstandiging |
ZBO |
Per 31-12-2010 opgeheven (taak overgegaan naar Bureau Architectenregister). |
|
|
Stichting Vut-fonds |
30-12-1994 |
Verzelfstandiging |
RWT |
stichting en rwt, Vut-fonds is sinds 1 januari 1997 geen rwt meer omdat de wettelijke taak is vervallen |
|
|
Ministerie van Defensie |
|||||
|
Stichting Ziektekosten Verzekering Krijgsmacht (SZVK) |
1 januari 1995 |
Verzelfstandiging |
Rechtspersoon met een wettelijke taak (was tot 1 januari 2010 ook ZBO) |
De ZBO-status is beëindigd per 1 januari 2010. De beëindiging is conform het advies van de begeleidingscommissie Kaderwet ZBO\u2019s van 27 augustus 2007 («De commissie adviseert u om de ZBO-status van de SZVK op te heffen door de wettelijke grondslag voor de taken van de SZVK uit het Algemeen Militair Ambtenaren Reglement te schrappen -artikel 90a-.») SZVK voert namens Defensie de arbeidsvoorwaardelijke Regeling Ziektekostenverzekering Militairen uit |
|
|
Dienst Gebouwen, Werken en Terreinen (DGW&T) |
1 januari 1996- 1 januari 2006 |
Verzelfstandiging |
Agentschap |
DGW&T gaat in 2006 over in DVD |
|
|
Dienst Vastgoed Defensie (DVD) |
1 januari 2006 |
(zie opmerking bij DGW&T) |
Batenlastendienst |
||
|
Defensie Telematica Organisatie (DTO) |
1 januari 1998- 1 oktober 2008 |
Verzelfstandiging |
Agentschap |
DTO is ontstaan uit een fusie tussen het Duiverman Computer Centrum (DCC) en de diverse telematica bedrijven van de krijgsmachtdelen, waaronder CABIS en NATEL. DTO en de Defensie Uitvoeringsorganisatie (DICTU) gaan in 2008 over in IVENT. |
|
|
Informatie Voorziening-en Technologie (IVENT) |
1 oktober 2008 |
(zie opmerking bij DTO) |
Batenlastendienst |
IVENT levert diensten op het gebied van IV, ICT en DI binnen Defensie. Naast het baten-lastenstelsel wordt deels ook gewerkt volgens het kas-verplichtingenstelsel. |
|
|
Paresto |
1 januari 2005 |
Verzelfstandiging |
Batenlastendienst |
Deze dienst verzorgt de catering voor Defensie |
|
|
Ministerie van Onderwijs, Cultuur en Wetenschap |
|||||
|
College voor Examens |
2009 |
Verzelfstandiging |
ZBO |
||
|
Cultuurfondsen Stichting Nederlands fonds voor podiumkunsten + Stichting fonds voor cultuurparticipatie Mondriaanfonds Stichting fonds voor de film Stichting stimuleringsfonds voor de architectuur Stichting Nederlands letterenfonds |
2007 2007 1993 2004 1993 2010 |
Verzelfstandiging Verzelfstandiging Verzelfstandiging Verzelfstandiging Verzelfstandiging Verzelfstandiging |
ZBO ZBO ZBO ZBO ZBO ZBO |
In 2007 zijn het Fonds voor de Scheppende Toonkunst, het Fonds voor Podiumprogrammering en Marketing en het Fonds voor Amateurkunst en Podiumkunsten gefuseerd tot deze twee nieuwe fondsen Mondriaanfonds is ontstaan door fusie tussen Fonds voor beeldende kunsten , vormgeving en bouwkunst (BKVB) en de Mondriaan Stichting Stichting Nederlands Letterenfonds is in 2007 tot stand gekomen door fusie tussen Stichting Fonds voor de Letteren en Stichting Nederlands Literair Productie- en Vertalingenfonds |
|
|
Stimuleringsfonds Nederlandse Culturele Mediaproducties |
1998 |
Verzelfstandiging |
ZBO |
Fonds presenteert zichzelf onder de naam Mediafonds |
|
|
Kenniscentra voor beroepsonderwijs en bedrijfsleven |
1996 |
Verzelfstandiging |
ZBO |
||
|
Nederlands Vlaamse Accreditatie Organisatie (NVAO) |
2002 |
Verzelfstandiging |
n.v.t. |
ZBO |
|
|
Stichting Participatiefonds voor het onderwijs |
2004 |
Verzelfstandiging |
n.v.t. |
ZBO |
|
|
Stichting Vervangingsfonds en Bedrijfsgezondheidszorg voor het onderwijs |
2004 |
Verzelfstandiging |
n.v.t. |
ZBO |
|
|
Nationaal Archief |
1994 |
Verzelfstandiging |
n.v.t. |
Batenlastendienst |
|
|
Dienst Uitvoering Onderwijs (tot 1-1-2010 IB-Groep, ZBO) |
2010 |
Verzelfstandiging |
n.v.t. |
Batenlastendienst |
DUO is per 1 januari 2010 tot stand gekomen door fusie van de IB-Groep (opgericht in 1994) en de Centrale Financiën Instellingen (CFI, opgericht in 1992). Omstreeks 1995 zijn de aandelen van de inmiddels geliquideerde BV OV-Studentenkaart in handen gekomen van de IB-Groep. |
|
Rijksmusea (zoals vermeld in de bijlage van de Wet verzelfstandiging rijksmuseale diensten) |
2003 |
Verzelfstandiging |
n.v.t. |
RWT |
Wet verzelfstandiging rijksmuseale diensten (2003) |
|
Landelijk omroepbestel |
Verzelfstandiging |
n.v.t. |
RWT |
diverse organisaties, waaronder de omroepen, NPO, Wereldomroep, STER en NTR |
|
|
NOB (Nederlands Omroepproductiebedrijf); zie onderdeel Financiën |
1999 |
Verzelfstandiging |
100% |
--- |
In 1999 oprichting NOB Holding NV; Staat krijgt 100% |
|
NOB (Nederlands Omroepproductiebedrijf); zie onderdeel Financiën |
2003–2006 |
Privatisering |
Privatisering |
0 |
In 2003 Mediapark verkocht aan TCN Property Projects. In 2006 Cross Media Facilities verkocht aan Thomson waarmee de privatisering de facto was afgerond (op liquidatie van de holding na). |
|
ADC (Archeologisch Diensten Centrum), thans: ADC ArcheoProjecten (zie ook onderdeel Financiën) |
2003 |
Verzelfstandiging |
Verzelfstandiging |
100% |
Tot 1998 (onder de naam Joan Willems Stichting) de uitvoerende tak van de Rijksdienst voor Oudheidkundig Bodemonderzoek, thans Rijksdienst voor het Cultureel Erfgoed. |
|
ADC (Archeologisch Diensten Centrum), thans: ADC ArcheoProjecten (zie ook onderdeel Financiën) |
2006 |
Privatisering |
Privatisering |
Verkocht aan het management. |
|
|
Ministerie van Economische Zaken, Landbouw en Innovatie |
|||||
|
DSM |
1989 1996 |
Verkoop 2/3 van de aandelen Verkoop resterende aandelen |
ca 33% 0% |
||
|
Fokker |
1988 1996 |
Verkrijgen Staatsdeelneming faillissement |
ca 32% 0% |
||
|
DAF Trucks |
1996 |
Verkoop |
0% |
||
|
NedCar |
1991 1999 |
Oprichting staatsdeelneming Verkoop aandelen |
0% |
||
|
MIP |
1991 |
Fusie tot Alpinvest |
0% |
||
|
Alpinvest |
1997 |
Verkoop |
0% |
||
|
Liof |
1990 |
Herkapitalisatie |
94,4% |
||
|
NOM |
1990 |
Herkapitalisatie |
99,97% |
||
|
BOM |
1990 |
Herkapitalisatie |
ca 67% |
||
|
GOM |
1990 |
Herkapitalisatie |
ca 76% |
||
|
OOM |
1991 |
Herkapitalisatie |
ca 67% |
||
|
OOST |
2003 |
Fusie OOM en GOM |
ca 58% |
||
|
Kon. Ned Hoogovens |
1999 |
Fusie met British Steel |
0% |
||
|
Vredestein |
1991 |
Verkoop aandelen |
0% |
||
|
Ned Congresgebouw |
1995 |
Verkoop aandelen |
0% |
||
|
Ned Pijpleidingmij. |
2004 |
Verkoop aandelen |
0% |
||
|
Stichting Marine en Industriële Belangen (KSG) |
2000 |
Verkoop aandelen |
0% |
||
|
Kamers van Koophandel |
1997 2008 |
Fusie |
Fusies van Kamers, ZBO |
||
|
Senter (inmiddels AgNL) |
1994 (reeds opgeheven) |
Verzelfstandiging |
Agentschap |
||
|
Novem BV (inmiddels AgNL) |
2004 (reeds opgeheven) |
Tijdelijke baten/lastendienst, in 2006 opgegaan in SenterNovem, inmiddels AgNL |
BV geliquideerd |
||
|
SenterNovem (inmiddels AgNL) |
2006 (reeds opgeheven) |
Verzelfstandiging |
Agentschap |
||
|
EVD (inmiddels AgNL) |
2001 (reeds opgeheven) |
Verzelfstandiging |
Agentschap |
||
|
Bureau voor de industriële Eigendom (inmiddels AgNL) |
2002 (reeds opgeheven) |
Verzelfstandiging |
Agentschap |
||
|
Agentschap NL |
2010 |
Verzelfstandiging |
Agentschap |
||
|
Agro Keten Kennis (AKK) |
1994 (reeds opgeheven) |
Verzelfstandiging (opgericht door Rijk) |
RWT |
||
|
AOC Raad, Bureau Erkenningen (BE) |
1998 |
Verzelfstandiging |
RWT |
||
|
Bureau Beheer Landbouwgrond (BBL) en Commissie Beheer Landbouwgrond (CBL) |
2004 |
Verzelfstandiging (opgericht door Rijk) |
RWT en ZBO |
||
|
Bureau Diergeneesmiddelen (BD) |
1994 (ondergebracht bij VWS) |
Verzelfstandiging (opgericht door Rijk) |
RWT en ZBO |
||
|
Centrale & Regionale Grondkamers (5) |
1998 |
Verzelfstandiging (de vijf regionale grondkamers zijn ZBO, de centrale grondkamer is geen ZBO) |
ZBO |
||
|
College Toelating Gewasbeschermingsmiddelen en Biociden (CTgB), voorheen CTB |
2000 |
Verzelfstandiging (opgericht door Rijk) |
RWT en ZBO |
||
|
De Landbouw Voorlichting (DLV), voorheen Rijks Landbouw Voorlichtingsdienst |
1990 |
Privatisering |
Geen formele relatie |
- |
|
|
Dienst ICT Uitvoering (DICTU) |
2008 |
Verzelfstandiging |
Batenlastendienst |
||
|
Dienst Landelijk Gebied (DLG) |
1997 |
Verzelfstandiging |
Batenlastendienst |
||
|
Dienst Landinrichting en Beheer Landbouwgronden (LBL) (inmiddels DLG) |
1995 (reeds opgeheven) |
Verzelfstandiging |
Batenlastendienst |
||
|
Dienst Regelingen (DR) |
2006 |
Verzelfstandiging |
Batenlastendienst |
||
|
LASER (inmiddels DR) |
1996 (reeds opgeheven) |
Verzelfstandiging |
Batenlastendienst |
||
|
Bureau Heffingen (BHF) (inmiddels DR) |
1998 (reeds opgeheven) |
Verzelfstandiging |
Batenlastendienst |
||
|
Dienst LNV-Loket (DLL) (inmiddels DR) |
2002 (reeds opgeheven) |
Verzelfstandiging |
Batenlastendienst |
||
|
Dienst Basisregistraties (DBR) (inmiddels DR) |
2003 (reeds opgeheven) |
Verzelfstandiging |
Batenlasten dienst |
||
|
Faunafonds (FF) |
1999 |
Verzelfstandiging |
RWT en ZBO |
||
|
Herinrichtingscommissie Oost-Groningen & Drents-Groningse Veenkoloniën |
2005 (in opheffing) |
Verzelfstandiging |
ZBO |
||
|
Keuringsdienst Diervoedersector |
1992 (reeds opgeheven) |
Verzelfstandiging |
ZBO |
||
|
Nieuwe Voedsel- en Warenautoriteit (nVWa) |
2012 |
Verzelfstandiging |
Batenlastendienst |
||
|
Voedsel- en Warenautoriteit (VWa) (inmiddels nVWA) |
2002 (reeds opgeheven) |
Verzelfstandiging |
Batenlastendienst |
||
|
Raad voor de Plantenrassen (RvP) |
2006 |
Verzelfstandiging |
ZBO |
||
|
Staatsbosbeheer (SBB) |
1998 |
Verstandiging |
RWT en ZBO |
||
|
Stichting Controle Orgaan Kwaliteitsaangelegenheden Zuivel (COKZ) |
1994 |
Verzelfstandiging |
RWT en ZBO |
||
|
Stichting Dienst Landbouwkundig Onderzoek (DLO) |
1997 |
Verzelfstandiging |
RWT |
||
|
Stichting Fonds MKZ-AI |
2001 (reeds opgeheven) |
Verzelfstandiging |
ZBO |
||
|
Stichting Kwaliteitsgarantie Vleeskalversector (SKV) |
1990 |
Verzelfstandiging |
RWT |
||
|
Stichting Nederlandse Algemene Kwaliteitsdienst voor Tuinbouw (NAK-T) |
2000 |
Verzelfstandiging |
RWT en ZBO |
||
|
Kwaliteitscontrolebureau (SKAL) |
1993 |
Verzelfstandiging |
RWT en ZBO |
||
|
Stichting kwaliteitsbureau groenten en fruit (KCB) |
1998 |
Verzelfstandiging |
RWT en ZBO |
||
|
Stichting Recreatie Kennisinformatiecentrum (SRK) |
2003 |
Verzelfstandiging |
RWT |
||
|
Koninklijke PTT Nederland (KPN) |
1989 |
Verzelfstandiging |
100% |
PTT wordt verzelfstandigd en heet dan Koninklijke PTT Nederland NV (KPN). Belangrijkste onderdelen: PTT Post en PTT Telecom. |
|
|
KPN |
1994 |
Privatisering (beursgang) |
Staatsdeelneming 60% |
||
|
Splitsing KPN/ TPG |
1998 |
Privatisering (oprichting aparte NV’s) |
Staatsdeelneming 44 % |
||
|
Koninklijke KPN NV |
2006 |
Privatisering |
0 |
Resterend belang (ca 8 %) wordt in 2006 verkocht. Hiermee is het privatiseringsproces voltooid, dat in 1994 werd ingezet met de beursgang van KPN en de splitsing daarvan in 1998 in de TNT Post Groep NV en Koninklijke KPN NV. |
|
|
TNT Post Groep NV |
2006 |
Privatisering |
0 |
Resterend belang (ca 10 %) wordt in 2006 verkocht. Hiermee is het privatiseringsproces voltooid dat in 1994 werd ingezet met de beursgang van KPN en de splitsing daarvan in 1998 in TNT Post Groep NV en Koninklijke KPN NV. Het bijzondere aandeel werd in 2007 omgezet in een gewoon aandeel. |
|
|
EBN |
1989 |
Verzelfstandiging |
Staatsdeelneming: 100% (voorheen DSM Aardgas BV, 100% dochter van DSM, waarvan de aandelen tot die tijd 100% Staat waren) |
||
|
Dienst van het IJkwezen |
1989 |
Oprichting staatsdeelneming Nederlands Meetinstituut NV met daaronder de dochters: – Van Swinden Laboratorium BV – IJkwezen (v/h dienst van het ijkwezen) BV – Test- en adviescentrum (TAC) BV |
– Staatsdeelneming (100% in handen van staat) – Van Swinden Laboratorium: deeltijd RWT – IJkwezen: deeltijd ZBO en deeltijd RWT |
||
|
OPTA |
1997 |
Oprichting/verzelfstandiging |
ZBO |
||
|
TenneT |
2001 |
Oprichting staatsdeelneming |
Staatsdeelneming, 100% in handen van Staat |
||
|
EnerQ |
2003 (geliquideerd per 2009) |
Oprichting/verzelfstandiging |
Dochter van TenneT |
||
|
Rijksgeologische Dienst |
1997 |
Verzelfstandiging |
Ondergebracht bij TNO |
||
|
Holland Metrology NV (rechtsopvolger van Nederlands Meetinstituut NV) |
2001 |
Privatisering |
Overdracht 100% aandelen Holland Metrology aan TNO Beheer Dochters: – VSL deeltijd RWT – Verispect: deeltijd ZBO/ RWT – NMi Certin: deeltijd ZBO (IJkwezen is opgesplitst in Verispect en NMi Certin) |
||
|
Agentschap Telecom (AT) |
2002 |
Verzelfstandiging |
Batenlastendienst |
||
|
Keuringsinstanties als bedoeld in artikel 10.3 Telecommunicatiewet |
2000 |
Verzelfstandiging |
ZBO |
||
|
Examinerende instanties als bedoeld in de Examenregeling Frequentiegebruik 2008 |
2008 |
Verzelfstandiging |
RWT |
||
|
Gasunie |
2005 |
Oprichting staatsdeelneming |
Splitsing in transport- en handelstak; in transporttak houdt Staat 100% belang. In handelstak (GasTerra) houdt Staat 10% direct en 40% indirect. |
||
|
GasTerra |
2005 |
Ontstaan uit opsplitsing Gasunie |
|||
|
NOZEMA |
2004 |
Splitsing in Nozema services en NOVEC BV |
Verzelfstandiging |
||
|
Nozema Services NV |
2005 |
Privatisering |
0% Verkocht aan KPN |
||
|
NOVEC BV |
2007 |
Verzelfstandiging |
Ondergebracht bij TenneT |
||
|
NMa (en DTe) |
2005 |
Verzelfstandiging |
(Raad van Bestuur) NMa verkrijgt ZBO-status. Voorheen dienst van EZ. |
||
|
Raad voor Accreditatie |
2010 |
Toekenning van de wettelijke taak voor het uitvoeren van accreditaties. |
Deze private organisatie heeft de status van een privaatrechtelijk ZBO gekregen door toekenning van deze wettelijke taak. Het uitvoeren van accreditaties was voor 1 januari 2010 een geheel private aangelegenheid en werd pas per 1 januari 2010 een gereguleerde aangelegenheid. |
||
|
Verispect BV |
2002 |
Toezicht houden op de naleving van de Waarborgwet 1986 |
Deze private organisatie heeft de status van een privaatrechtelijk ZBO gekregen door toekenning van deze wettelijke taak in de zin rechtspersoon bedoeld in artikel 52 van de Waarborgwet 1986 |
||
|
Edelmetaal Waarborg Nederland BV (EWN) |
2002 |
Toekennen van wettelijke taak voor het keuren van edelmetalen voorwerpen |
- |
Deze private organisatie heeft de status van een privaatrechtelijk ZBO gekregen door toekenning van deze wettelijke taak in de zin van artikel 7, eerste lid, van de Waarborgwet 1986. |
|
|
Centraal Bureau voor de Statistiek (CBS) |
2004 |
Verzelfstandiging |
Oprichting van een ZBO en RWT |
||
|
Centrale Commissie voor de Statistiek |
2004 |
Verzelfstandiging |
ZBO |
||
|
Ministerie van Volksgezondheid, Welzijn en Sport |
|||||
|
Rijksinstelling voor gesloten jeugdzorg Almata |
2009 |
Verzelfstandiging |
Batenlastendienst sinds 1-2-2009 |
Voor 2009 was Almata onderdeel van de Dienst Justitiële Inrichtingen |
|
|
Rijksinstelling voor gesloten jeugdzorg De Lindenhorst |
2009 |
Verzelfstandiging |
Batenlastendienst |
Voor 2009 was De Lindenhorst onderdeel van de Dienst Justitiële Inrichtingen |
|
|
Centraal Administratiekantoor CAK |
1968 |
Verzelfstandiging |
Privaatrechtelijk ZBO |
Voert pas sinds een aantal jaren ZBO-taken uit; was daarvoor alleen administratiekantoor; wordt door wijziging Awbz publiekrechtelijk ZBO |
|
|
CIZ |
2005 |
Verzelfstandiging |
Privaatrechtelijk ZBO |
Geen verzelfstandiging, maar samenvoeging van 80 Regionale Indicatie Organen die Awbz-indicaties stelden |
|
|
College Beoordeling Geneesmiddelen (CBG) |
1963 |
Verzelfstandiging |
Publiekrechtelijk ZBO; onderdeel Staat |
||
|
ACBG Agentschap ter ondersteuning van CBG |
Batenlastendienst |
||||
|
Commissie Algemene Oorlogsongevallenregeling Indonesië (CAOR) |
1954 |
Verzelfstandiging |
Publiekrechtelijk ZBO; onderdeel Staat |
||
|
Cluster keuringsinstanties |
Vanaf 1970 |
Verzelfstandiging |
Dit zijn de zogenaamde aangewezen keuringsinstanties, privaatrechtelijke instanties die ex Warenwet zijn aangewezen door de minister van VWS. De ZBO-taak betreft slechts een kleine deel van de totale werkzaamheden |
||
|
Nederlandse Transplantatiestichting (NTS) |
2000 |
Voor een klein deel aan te merken als ZBO (op grond van art. 24 Wet op de Orgaandonatie aangewezen als orgaancentrum) |
|||
|
Rijksinstituut voor Volksgezondheid en Milieu (RIVM) |
1984 |
Verzelfstandiging |
Batenlastendienst |
In 1984 ontstaan door een samenvoeging van het Rijksinstituut voor Volksgezondheid (1934) en de Stichting Verwijdering Afvalstoffen. |
|
|
Nederlands Vaccin Instituut (NVI) |
2003 |
Verzelfstandiging |
Batenlastendienst |
Het NVI is een samenvoeging van een onderdeel van het RIVM (sector Vaccins) en de Stichting ter bevordering van de Volksgezondheid en Milieuhygiëne. |
|
|
Pensioen- en Uitkeringsraad (PUR) |
1990 |
Verzelfstandiging |
Publiekrechtelijk ZBO |
De uitvoerings-werkzaamheden zijn in 2011 overgegaan naar de SVB. Het ZBO PUR dat beslist over eerste aanvragen om een uitkering op grond van één van de «PUR»-wetten is blijven bestaan. |
|
|
Praeventiefonds |
1950 |
Verzelfstandiging |
Met de inwerkingtreding van de Wet op de organisatie Zorgonderzoek in 1998 is het fonds vervangen door de ZON. |
||
|
CTG |
1962 (als Stichting Centraal Orgaan ziekenhuistarieven) |
Verzelfstandiging |
In 2006 samen met het CTZ opgegaan in de NZa |
||
|
CTZ |
2001 (afsplitsing van het CVZ) |
Verzelfstandiging |
Begonnen in 1949 als onderdeel van de Ziekenfondsraad (dat in 1999 CVZ werd); in 2001 afgesplitst en in 2006 met het TCG opgegaan in de NZa |
||
|
Stichting het Gebaar |
2001 |
Verzelfstandiging |
Privaatrechtelijk ZBO |
Ontbonden in 2009. Tot 19 januari 2010 zorgde Stichting Afwikkeling het Gebaar voor de afronding van de laatste werkzaamheden |
|
|
Stichting Informatievoorziening Zorg ( (IVZ) |
Geen verzelfstandiging of privatisering |
Bestaat al meer dan 25 jaar; ontvangt VWS-subsidie. |
|||
|
Stichting Sanquin Bloedvoorziening |
1998 |
Geen verzelfstandiging of privatisering |
Ontstaan uit een fusie van de Nederlandse bloedbanken en het Centraal Laboratorium van de Bloedtransfusie-dienst van het Nederlandse Rode Kruis (CLB) |
||
|
De Centrale Stichting van Internaten voor Schippers- en Kermisjeugd (Censis) |
2000 |
Voortgekomen uit diverse sectorale bureaus die daarvoor de werkzaamheden verrichten. |
|||
|
Zorgkantoren/uitvoeringsorganen Awbz |
|||||
|
College Sanering Zorginstellingen (CSZ) |
1982 |
Verzelfstandiging |
Het College Sanering Zorginstellingen is de opvolger van de in 1982 ingestelde Commissie Sanering Ziekenhuisvoorzieningen |
||
|
Sociale Verzekeringsbank (SVB) |
Verzelfstandiging |
ZBO |
Opvolger van de Rijksverzekeringsbank, die in 1901 werd opgericht als eerste uitvoeringsorganisatie voor sociale verzekeringen. In 1987 nam de SVB taken over van de Raad van Arbeid en werden de Raden van Arbeid omgevormd tot regiokantoren van de SVB. |
||
|
Accommodaties o.g.v. de Wet op de jeugdzorg |
Geen verzelfstandiging of privatisering |
||||
|
Zorgverzekeraars als uitvoerders van de Zvw |
Geen verzelfstandiging of privatisering |
||||
|
METC’s (27) |
1999 |
Publiekrechtelijke ZBO’s |
|||
|
CBZ |
De wettelijke taken zijn wegens het vervallen van het bouwregime voor de zorg |
||||
|
Registratiecommissies (7) |
1993 |
Geen verzelfstandiging of privatisering |
Privaaatrechtelijke ZBO’s |
Dit betreft een oorspronkelijk geheel privaatrechtelijk systeem, dat in de wet BIG (1993) is verankerd |
|
|
College voor Zorgverzkereingen (CVZ) |
1999 |
Verzelfstandiging |
ZBO |
Voorheen Ziekenfondsraad In de tijd voor het CVZ is na de Woestijnwet en Raad opmaat het nodige gebeurd (eind negentiger jaren). Bij die gelegenheid is de Ziekenfondsraad opgeheven en daarmee de publieke ziektekostenverzekering in de curatieve zorg. |
|
|
Centrale Commissie Mensgebonden Onderzoek – CCMO |
1999 |
Verzelfstandiging |
ZBO |
CCMO houdt toezicht op de toetsing van medisch-wetenschappelijk onderzoek met proefpersonen in Nederland |
|
|
NZa |
2006 |
Verzelfstandiging |
ZBO |
Ontstaan door samenvoeging van het CTZ en het CTG |
|
|
Stichting Afwikkeling Rechtsherstel Sinti en Roma (SARS) |
2010 |
Verzelfstandiging |
ZBO |
Betreft rechtsopvolger van Stichting rechtsherstel Sinti en Roma, belast met diens taakafwikkeling. |
|
|
ZonMw |
2001 |
Verzelfstandiging |
ZBO |
Vanaf 1998 ZON |
|
|
CIBG |
2003 |
Verzelfstandiging |
Agentschap |
||
|
Ministerie van Veiligheid en Justitie |
|||||
|
Bureau Financieel Toezicht, BFT |
1-10-1999, Stb 382, 1999 |
Verzelfstandiging |
ZBO |
||
|
College Bescherming Persoonsgegevens (CBP) |
2001 |
ZBO |
In 2001 (1–9 2001) treedt de Wet bescherming persoonsgegevens (Wbp) in werking. De Wet persoonsregistraties is haar voorganger. In de wetgeving is voorzien in een onafhankelijke toezichthouder: de Registratiekamer die onder de nieuwe wet wordt opgevolgd door het College bescherming persoonsgegevens. Van verzelfstandiging is derhalve geen sprake (de CBP is altijd onafhankelijk of zelfstandig) geweest). |
||
|
College van Toezicht Auteursrechten en naburige rechten |
Verzelfstandiging |
ZBO |
|||
|
College van Toezicht op de Kansspelen (CvTK) |
Het CvTK is ontstaan in 1996 |
Verzelfstandiging |
ZBO |
Per 1 januari 2012 wordt het CvTK opgeheven. |
|
|
Commissie Gelijke Behandeling (CGB) |
De commissie is ingesteld op grond van de Algemene wet gelijke behandeling uit 1994 |
Verzelfstandiging |
ZBO |
||
|
Commissie Schadefonds Geweldsmisdrijven (SGM) |
Bestaat sinds 1975, vanaf 1 januari 2012 een ZBO |
Verzelfstandiging |
RWT en ZBO |
||
|
Gerechtsdeurwaarders, cluster. |
Verzelfstandiging |
(parttime) ZBO |
Omvang ca. 350 |
||
|
HALT |
1 januari 2007 |
Verzelfstandiging |
(deels) RWT |
||
|
Landelijk Bureau Inning Onderhoudsbijdragen (LBIO) |
1 januari 1997 |
Verzelfstandiging |
RWT |
||
|
Nederlands Instituut Fysieke Veiligheid, NIFV |
1 januari 2006 |
Verzelfstandiging |
RWT en ZBO |
||
|
College Gerechtelijk Deskundigen van het NRGD |
1 januari 2010 |
Verzelfstandiging |
ZBO |
||
|
Notarissen, cluster |
3 april 1999 |
Verzelfstandiging |
ZBO’s/RWT’s |
||
|
Onderzoeksraad voor veiligheid (OVV) |
RWT: 1 juli1999; ZBO: 1 februari 2005 |
Verzelfstandiging |
RWT en ZBO |
||
|
Particuliere Jeugdinrichtingen |
Verzelfstandiging |
RWT |
De particuliere Jeugdinrichtingen zijn altijd privaat geweest |
||
|
Particuliere TBS-inrichtingen |
Verzelfstandiging |
RWT |
Het betreft hier enkel FPC Dr. S. van Mesdag in Groningen, deze is in 2008 geprivatiseerd. De overige particuliere FPC's zijn nooit publiek geweest |
||
|
Politieacademie (PA) |
RWT:10 juli 1995 en ZBO:23 januari 2003 |
Verzelfstandiging |
RWT en ZBO |
||
|
Politieregio's |
1 april 1994 |
Verzelfstandiging |
RWT |
||
|
Raad voor Rechtsbijstand (RRB) |
Wet op de rechtsbijstand van 23 december 1993, houdende regelen omtrent de door de overheid gefinancierde rechtsbijstand |
Verzelfstandiging |
RWT en ZBO |
||
|
Reclasseringsorganisaties |
RWT |
De 3 reclasserings-organisaties zijn altijd private stichtingen geweest |
|||
|
Slachtofferhulp Nederland (SHN) |
RWT |
Deze stichting is altijd privaat geweest |
|||
|
Stichting Donorgegevens Kunstmatige Bevruchting, SDKB. |
Verzelfstandiging |
ZBO |
|||
|
Stichting Nidos |
1 januari 2001 |
Verzelfstandiging |
ZBO |
||
|
Dienst Justitiële Inrichtingen (DJI) |
1 januari 1995 |
Verzelfstandiging |
Batenlastendienst |
||
|
Centraal Justitieel Incassobureau (CJIB) |
1 januari 1995 |
Verzelfstandiging |
Batenlastendienst |
||
|
Ned. Forensisch Instituut (NFI) |
1 januari 2004 |
Verzelfstandiging |
Batenlastendienst |
||
|
Justis |
1 januari 2005 |
Verzelfstandiging |
Batenlastendienst |
||
|
GDI |
1 januari 2006 |
Verzelfstandiging |
Batenlastendienst |
||
|
Korps landelijke politiediensten (KLPD) |
1 januari 1999 |
Verzelfstandiging |
Batenlastendienst |
||
|
Ministerie van Infrastructuur en Milieu |
|||||
|
Stichting Advisering Bestuursrechtspraak voor Milieu en Ruimtelijke Ordening (StAB) |
1995 |
Verzelfstandiging |
RWT |
Samengaan en onderbrenging in een stichting van het Bureau Adviseur Beroepen Milieubeheer (BABM) en het Bureau van de Adviseur ten behoeve van de Raad van State (beter bekend als BARST) |
|
|
Kadaster |
1993 |
Verzelfstandiging |
RWT en ZBO |
||
|
Luchtverkeersleiding Nederland (LVNL) |
1993 |
Verzelfstandiging |
RWT en ZBO |
Voornemen tot verzelfstandiging in 1985. |
|
|
RDW |
1996 |
Verzelfstandiging |
RWT en ZBO |
Besluit tot verzelfstandiging is genomen in 1988. |
|
|
Stichting Airport Coordination Netherlands (SACN) |
1998 |
Verzelfstandiging |
ZBO |
||
|
Railinfratrust (RIT) |
1998 |
Privatisering |
100% |
BV |
Opgericht in 1995. 1 juli 2002 is Railinfratrust uit de NS-holding gehaald en is de verwijzing naar NS uit de naam gehaald. Sinds 1 januari 2003 gebruikt Railinfratrust BV de handelsnaam ProRail. Op 1 januari 2005 fuseerden de drie dochters tot ProRail BV. |
|
NS Railinfrabeheer BV |
1995 |
Privatisering |
RWT |
Zie ProRail |
|
|
Railned |
1995 |
Privatisering |
RWT |
Zie ProRail |
|
|
Na Verkeersleiding BV |
1995 |
Privatisering |
RWT |
Zie ProRail |
|
|
ProRail |
1995 |
Verzelfstandiging |
100% |
RWT |
Ontstaan uit afsplitsing van de NS in 1995 (zie aldaar) |
|
Spoorwegpensioenfonds |
1993 |
Privatisering |
|||
|
Groningen Airport Eelde |
2004 |
Geen verzelfstandiging of privatisering |
0 |
NV |
Staat draagt aandelen over aan aantal provincies en gemeenten, tegen één euro. |
|
Luchtvaartterrein Texel |
2009 |
Geen verzelfstandiging of privatisering |
0 |
NV |
Staat verkoopt zijn aandelen aan de gemeente Texel, Stichting Vrienden van Luchthaven Texel en Kamer van Koophandel en Fabrieken voor Noordwest-Holland. |
|
Netherlands Antilles Air Traffic Control |
2006 |
Privatisering |
7,95% |
NV |
Sinds 10 oktober 2010. Deze aandelenbelangen zijn tijdelijk overgenomen door de Nederlandse Staat. De correcte invulling moet nog plaatsvinden |
|
Windward Islands Airways International NV |
2010 |
Privatisering |
7,95% |
NV |
Sinds 10 oktober 2010. Deze aandelen belangen zijn tijdelijk overgenomen door de Nederlandse Staat. De correcte invulling moet nog plaatsvinden |
|
Stoomvaart Maatschappij Zeeland |
1989 |
Privatisering |
0% |
NV |
In 1989 zijn alle aandelen van Stoomvaart Maatschappij Zeeland verkocht. |
|
Westerscheldetunnel |
2009 |
Geen verzelfstandiging of privatisering |
0 |
NV |
Aandeel Staat verkocht aan medeaandeelhouder Provincie Zeeland. |
|
Holland Weather Service |
1999–2001 |
Privatisering |
0% |
NV |
Commerciële activiteiten KNMI ondergebracht bij het private bedrijf HWS |
|
Nederlandse Emmissieautoriteit (NEa) |
2006 |
Verzelfstandiging |
Batenlastendienst |
||
|
Rijkswaterstaat (RWS) |
2006 |
Verzelfstandiging |
Batenlastendienst |
||
|
Inspectie Verkeer en Waterstaat (IVW) |
2007 |
Verzelfstandiging |
Batenlastendienst |
||
|
Koninklijk Meteorologisch Instituut (KNMI) |
1995 |
Verzelfstandiging |
Batenlastendienst |
||
|
Ministerie van Financiën |
|||||
|
Dienst Roerende Zaken (DRZ) |
2006 – nu |
Interne verzelfstandiging |
Geheel |
Baten-lastendienst |
|
|
Dienst Onroerende Zaken (DOZ) |
2008 – 2009 (opgegaan in RVOB in 2009) |
Interne verzelfstandiging |
Geheel |
Baten-lastendienst |
|
|
Rijks Vastgoed- en OntwikkelBedrijf (RVOB) |
2009 – nu |
Interne verzelfstandiging |
Geheel |
Baten-lastendienst |
|
|
Stichting Effectenvernieuwingsbureau |
1941–2000 |
Externe verzelfstandiging |
Geheel |
Privaatrechtelijk, stichting |
Effectenvernieuwingswet werd ingetrokken in 1999; daarna is de stichting ontbonden |
|
Stichting Toezicht Effectenverkeer |
1992 – 2002 |
Externe verzelfstandiging |
Geheel |
Privaatrechtelijk ZBO, stichting |
|
|
Autoriteit Financiële Markten |
2002-nu |
Externe verzelfstandiging |
Geheel |
ZBO |
AFM is juridisch rechtsopvolger van STE |
|
De Nederlandsche Bank |
1 814 |
Privatisering |
Geheel |
Privaatrechtelijke NV |
|
|
Pensioen- en Verzekeringskamer |
1992–2004 |
Externe verzelfstandiging |
Geheel |
Privaatrechtelijk, Stichting |
Verzekeringskamer bestond al vanaf 1923 als onderdeel van MinFin; is in 2004 gefuseerd met DNB |
|
Commissie Eindtermen Accountantsopleiding (CEA) |
2006 |
Externe verzelfstandiging |
Geheel |
Publiekrechtelijk, Onderdeel Staat der Nederlanden |
|
|
Stichting Afwikkeling Maror-gelden Overheid (MAROR) |
2000 |
Externe verzelfstandiging |
Geheel |
Privaatrechtelijk, Stichting |
|
|
Stichting Joods Humanitair Fonds (SJHF) |
2000 |
Externe verzelfstandiging |
Geheel |
Privaatrechtelijk, Stichting |
|
|
Waarderingskamer (WK) |
1995 |
Externe verzelfstandiging |
Geheel |
Publiekrechtelijk, Eigen rechtspersoonlijkheid |
|
|
ADC (Archeologisch Diensten Centrum) |
2003 |
Verzelfstandiging |
100% |
Stichting wordt NV. |
|
|
ADC (Archeologisch Diensten Centrum) |
2006 |
Privatisering |
0 |
Verkocht aan het management via Management Buy Out. |
|
|
Alpinvest |
1991–1997 |
Privatisering |
0 |
In 1991 ontstaan uit fusie MIP BV (zie aldaar) en ABN Participatiemaatschappij (APM). Staat krijgt belang van 30,3%. In 1997 verkoopt Staat zijn aandeel. |
|
|
AMG (Arbo Management Groep) |
1997–2001 |
Verzelfstandiging/ Privatisering |
0 |
In 1997 ontstaat AMG uit fusie arbodiensten van NS, Philips en RBB. Aandeel Staat 48%. In1999- 2001 gefaseerde verkoop aan GAK Holding BV |
|
|
AVR Chemie (Afval Verwerking Rijnmond Chemie) |
2006 |
Privatisering |
0 |
Aandeel van 30% verkocht aan AVR Industries. |
|
|
CF Kantoor voor Staatsobligaties |
2006 |
Geen verzelfstandiging of privatisering |
0 |
Operationele activiteiten van deze deelneming waren reeds enige tijd hiervoor bij een andere partij ondergebracht. Alleen liquidatie van de vennootschap restte nog. |
|
|
CIS (Circle Information Systems) |
1989 |
Privatisering |
0 |
Staat nam in 1986 deel in de nieuw opgerichte BV CIS die voorkwam uit het CCL (Computer Centrum Limburg). In 1989 werd de deelneming beëindigd. |
|
|
Connexxion (vh: Verenigd Streekvervoer Nederland, VSN) |
1999 |
Verzelfstandiging |
Voorafgegaan door een proces van fusies en splitsingen in de jaren ervoor. |
||
|
Connexxion |
2007 |
Privatisering |
33,3% |
Verkoop 66,6% aan TBCH (consortium van Transdev (75%) en BNG (25%)). |
|
|
DAF Trucks |
1996 |
Privatisering |
0 |
Verkoop laatste deel van eerdere deelneming van de Staat in noodlijdend bedrijf. |
|
|
DLV Adviesgroep |
1998 |
Verzelfstandiging |
82% |
Betreft voormalige Dienst Landbouwvoorlichting van LNV die eerst als stichting op afstand werd geplaatst en in 1998 werd omgezet in een NV. Bij oprichting had de Staat 82% en het personeel 18% van de aandelen in handen. |
|
|
DLV Adviesgroep |
2005 |
Privatisering |
0 |
Verkoop Staatsaandeel in DLV via Management Buy Out. |
|
|
Domaniale Mijn Maatschappij |
1996 |
Geen verzelfstandiging of privatisering |
Afhandeling gefailleerde onderneming, i.h.k.v. sluiting Limburgse mijnen. |
||
|
DSM (vh: Staatsmijnen) |
1996 |
Privatisering |
0 |
Verkoop laatste tranche Staatsdeelneming. |
|
|
EBN (Energie Beheer Nederland) |
1989 |
Verzelfstandiging |
100% |
Aandelen DSM-Aardgas BV overgedragen aan Staat; naam DAM-Aardgas BV werd in zelfde jaar veranderd in EBN BV. |
|
|
Eurometaal |
1990–2005 |
Privatisering |
0 |
In 2005 verkoop laatste tranche aan enige andere aandeelhouder Rheinmetall. |
|
|
Fokker |
1996 |
Privatisering |
0 |
Fokker ging failliet in 1996. |
|
|
GasTerra (vh: Gasunie Trade & Supply) |
2005 |
Ontstaan uit opsplitsing Gasunie (zie: Nederlandse Gasunie) |
|||
|
Groningen Airport Eelde |
2004 |
Geen verzelfstandiging of privatisering |
0 |
Staat draagt aandelen over aan aantal provincies en gemeenten, tegen één euro. |
|
|
Havenbedrijf Rotterdam |
2005 |
Verzelfstandiging |
29,2% |
Staat in 2007 formeel toegetreden als aandeelhouder (29,2%). |
|
|
Haven van Vlissingen NV |
2000 |
Privatisering |
0 |
Volledig afstoting staatsaandeel (35,5%) aan het private Verbruggen Terminals. |
|
|
Holland Metrology (vh: Nederlands Meetinstituut) |
1989 |
Verzelfstandiging |
100% |
In 1989 werd de Dienst vh IJkwezen een NV onder de naam Holland Metrology NV. |
|
|
Holland Metrology (vh: Nederlands Meetinstituut) |
2000 |
Privatisering |
0 |
||
|
Hoogovens |
1999 |
Privatisering |
0 |
Verkoop laatste tranche van deze Staatsdeelneming. |
|
|
KLM |
1998–2005 |
Privatisering |
5,9% |
Door verkoop gedurende meerdere jaren is het belang gedaald van 14,1% naar 5,9%. Staat behoudt evenwel optie om meerderheid te verkrijgen in KLM. |
|
|
KNM (Koninklijke Nederlandse Munt) |
1994 |
Verzelfstandiging |
100% |
Verzelfstandiging van Rijksdienst naar NV met Staat als 100% aandeelhouder. |
|
|
KNSF (Koninklijke Nederlandse Springstoffenfabrieken) |
1996 |
Privatisering |
0 |
Staat verkoopt 50% belang aan private General Investment Fund. KNSF werd in 1996 omgevormd tot investeringsmaatschappij. |
|
|
Meerstad (Grondexploitatie Maatschappij Meerstad (GEMM)) |
2005 |
10% |
Betreft oprichting van en participatie in een joint-venture waaraan naast een consortium van bouwbedrijven vier publieke partijen gaan deelnemen: gemeenten Groningen en Slochteren, provincie Groningen en de Staat. Deze vier richten een stichting op, via welke GEMM wordt aangestuurd. De stichting heeft 50% zeggenschap in de GEMM. |
||
|
MIP (Maatschappij voor Industriële Projecten BV) |
1991 |
Geen verzelfstandiging of privatisering |
Fuseerde in 1991 met APM tot Alpinvest (zie ook: Alpinvest). |
||
|
MOK (Maatschappij Overijsselsche Kanalen) |
1990 |
Geen verzelfstandiging of privatisering |
0 |
Liquidatie van de vennootschap, nadat het laatste kanaal was gesloten. |
|
|
MTS Amsterdam (electronisch platform trade in DSL en DTC) |
1999 |
Verzelfstandiging |
5% |
MTS in 1999 opgericht. Het aandeel van de Staat bedroeg 5%. |
|
|
MTS Amsterdam (electronisch platform trade in DSL en DTC) |
2009 |
Geen verzelfstandiging of privatisering |
MTS ontbonden en geliquideerd. Staat kreeg 5% uit opbrengsten. |
||
|
NCG (Nederlands Congres Gebouw) |
1995 |
Geen verzelfstandiging of privatisering |
0 |
Verkocht aan gemeente Den Haag voor één gulden. |
|
|
Nederlandse Gasunie |
2005 |
Splitsing in transport- en handelstak: in transporttak houdt Staat 100 % belang, in handelstak (GasTerra) houdt Staat 10 % direct en 40 % indirect. |
|||
|
NIB Capital Bank, NIBC (vh NIB:Nationale Investeringsbank) |
2004 |
Privatisering |
0 |
Belang van 14,7% cum.pref. aandelen B overgedragen aan NIBC. |
|
|
NIC (Nederlands Inkoopcentrum) |
1990 |
Verzelfstandiging/Privatisering |
100% |
Heette daarvoor Rijksinkoopbureau. In 1990 verzelfstandigd. Eind jaren negentig verkoop van ontwikkelde handel activiteiten. In 2002 verkoop activiteiten mbt inkoopdienstverlening. Thans resteert een holding (Rechterland NV) zonder activiteiten die naar verwachting in 2012 wordt geliquideerd. |
|
|
NOB (Nederlandse Omroepproductiebedrijf) |
1999 |
Verzelfstandiging |
100% |
In 1999 oprichting NOB Holding NV; Staat krijgt 100%. |
|
|
NOB (Nederlandse Omroepproductiebedrijf) |
2003–2006 |
Privatisering |
0 |
In 2003 Mediapark verkocht aan TCN Property Projects. In 2006 Cross Media Facilities verkocht aan Thomson waarmee de privatisering de facto was afgerond (op liquidatie van de holding na). |
|
|
NOZEMA ((Ned. Omroep Zendermaatschappij) |
2005 |
Privatisering |
0 |
Nozema is in 2004 gesplitst in het private Nozema Services (verkocht in 2005 aan KPN) en het publieke Nederlandse Opstelpunten Voor Ethercommunicatie BV (NOVEC) dat in 2007 over ging naar TenneT. |
|
|
NPM (Nederlandse Pijpleidingmaatschappij) |
2004 |
Privatisering |
0 |
Volledig deel van de Staat, zijnde 50%, verkocht aan OCAP; gemeente Amsterdam deed hetzelfde voor de andere 50%. |
|
|
NPMNA (Ned. Part.mij voor de Nederlandse Antillen NV) |
1999 |
In 1966 op verzoek van de Staat opgericht. Verstrekt kredieten en garanties aan, en participeert in, ondernemingen op de Ned. Antillen en Aruba. Sinds 1999 worden geen nieuwe middelen meer verstrekt en richt NPMNA zich op beheer en afbouw door middel van verkoop van de bestaande portefeuille. |
|||
|
NS |
1995 |
Verzelfstandiging |
100% |
In 1995 ontstond een zakelijkere verhouding tussen de NS en overheid zonder dat rechtsvorm is veranderd. De NS is in dat jaar gesplitst in een taaksector (Prorail) en een marktsector (huidige NS). De NS verloor haar alleenrecht op het spoor en ging werken met een concessieovereenkomst. In feite is dus sprake van verdere verzelfstandiging. |
|
|
OV Studentenkaart |
1994 |
Verzelfstandiging |
100% |
ZBO |
Ingevoerd in 1991. In 1994 voor 1 gulden verkocht aan IB-Groep (Informatie Beheer Groep) die in 1994 ontstond uit verzelfstandiging van de Informatiseringsbank tot een zelfstandig bestuursorgaan. |
|
RBB (Rijks Bedrijfsgezondheids- en Bedrijfsbeveiligingsdienst) |
1996 |
Verzelfstandiging |
100% |
Verzelfstandiging door omzetting in een NV waarvan de Staat 100% van de aandelen bezit. Later opgegaan in AMG. |
|
|
Rechterland. Zie: NIC |
|||||
|
Rijkcomputercentrum (RCC) |
1990 |
Verzelfstandiging |
100% |
Rijkscomputer Centrum werd NV RCC), later veranderd in Roccade Informatica Groep NV, daarna in PinkRoccade. |
|
|
PinkRoccade |
1999–2005 |
Privatisering |
0 |
In 2005 werd het laatste deel (25,8%) aan Getronics verkocht. |
|
|
Saranne BV |
2006 |
Geen verzelfstandiging of privatisering |
0 |
Alle aandelen in Saranne BV worden overgedragen aan TenneT die 100% in handen is van de Staat. |
|
|
Schiphol NV |
69,8% |
In de 50-er jaren van de vorige eeuw verzelfstandigd van een gemeentelijke dienst in een NV, met gemeente Amsterdam en Rijk (thans: 69,8%) als aandeelhouders. |
|||
|
SDU (vh: Staatsdrukkerij en Uitgeverij) |
2006 |
Privatisering |
0 |
SDU werd in 1988 verzelfstandigd tot een vennootschap. Verkoop aan Allianz Capital Partners en ABNAMRO Capital. |
|
|
SMZ (Stoomvaart Maatschappij Zeeland) |
1989 |
Privatisering |
0 |
In 1989 nam Stena Line alle aandelen van SMZ over, inclusief het meerderheidsbelang van de Staat. |
|
|
Staatsloterij: St. Exploitatie Nederlandse Staatsloterij (SENS) |
1992 |
Privatisering |
100% |
Staatsloterij was onderdeel van het ministerie van Financiën, maar is in 1992 verzelfstandigd als stichting. De Staat (Financiën) is verantwoordelijk voor het beheer. De Staatsloterij wordt behandeld als staatsdeelneming. |
|
|
Thales (vh: Hollandse Signaalapparaten, HSA) |
1,0% |
Staat bezit 1% van de aandelen in Thales Nederland. |
|||
|
Twinning Holding |
1998 |
Privatisering |
100% |
Opgericht in 1998. Bleek naderhand niet levensvatbaar. Is thans in afbeheer. |
|
|
VAM (Vuil Afvoer Maatschappij) |
1999 |
Privatisering |
0 |
Volledige afstoting meerderheidsbelang. |
|
|
Vredestein |
1990–1991 |
Privatisering |
0 |
Vrijwel volledige aandelenkapitaal van Vredestein was sedert reddingsoperatie 70-er jaren in bezit van Staat. Dit is begin 90-er jaren weer van de hand gedaan. |
|
|
VSN (Verenigd Streekvervoer Nederland) |
1989 |
Geen verzelfstandiging of privatisering |
In 1989 ontstaat VSN uit samenvoeging ESO (Vereniging Exploitatieve Samenwerking Openbaar vervoerbedrijven) en ABS (NV Aandelenbezit Streekvervoer). ABS was eerder ontstaan uit LTM (Limburgse Tram Mij) en BBA (Brabantsche Buurtspoorwegen en Autobusdiensten). Dit alles i.h.k.v. de consolidatie bij streekvervoersdiensten eind jaren 80/begin jaren 90. E.a.a. moest ook verwerkt worden in de deelnemingen van de Staat in deze ondernemingen. |
||
|
Postbank |
1989 |
Geen verzelfstandiging of privatisering |
ca. 49% |
Fusie van Postbank (in 1986 verzelfstandigd) met NMB tot NMB-Postbank Groep. |
|
|
NMB-Postbank Groep |
1991 |
Geen verzelfstandiging of privatisering |
ca. 7% |
Fusie met Nationale Nederlanden tot ING Groep. |
|
|
ING Groep |
1993 |
Privatisering |
0 |
Afstoting aandeel van de Staat aan PGGM. |
|
|
Koninklijke PTT Nederland NV (KPN) |
1989 |
Verzelfstandiging |
100% |
De PTT wordt verzelfstandigd en heet dan Koninklijke PTT Nederland NV (KPN). Belangrijkste onderdelen: PTT Post en PTT Telecom. |
|
|
Koninklijke KPN NV |
2006 |
Privatisering |
0 |
Resterend belang (ca. 8%) wordt in 2006 verkocht. Hiermee is het privatiserings-proces voltooid dat in 1994 werd ingezet met de beursgang van KPN en de splitsing daarvan in 1998 in de TNT Post Groep NV en Koninklijke KPN NV. |
|
|
TNT Post Groep NV |
2006 |
Privatisering |
0 |
Resterend belang (ca. 10%) wordt in 2006 verkocht. Hiermee is het privatiserings-proces voltooid dat in 1994 werd ingezet met de beursgang van KPN en de splitsing daarvan in 1998 in de TNT Post Groep NV en Koninklijke KPN NV. Het bijzondere aandeel werd in 2007 omgezet in een gewoon aandeel. |
|
|
ABN AMRO Group |
2009 |
|
100% |
Oprichting houdstermaatschappij voor Fortis Bank Nederland en ABN AMRO Bank. |
|
|
ASR Nederland |
2008 |
|
100% |
Nationalisatie. |
|
|
Fortis Bank Nederland |
2008 |
|
97,8% |
Nationalisatie. Inmiddels opgegaan in de ABN AMRO Group |
|
|
RFS Holdings |
2008 |
|
33,8% |
Nationalisatie |
|
|
Ministerie van Sociale Zaken en Werkgelegenheid |
|||||
|
Stoomwezen BV |
1994 |
Privatisering van de Dienst voor het Stoomwezen |
0% |
RWT |
|
|
College toezicht sociale verzekeringen (CTSV) |
1-1-1995 tot 1-1-2002 |
Continuering verzelfstandiging (opvolger Sociale Verzekeringsraad) |
ZBO |
||
|
Uitvoeringsinstellingen sociale zekerheid (UVI’s) |
1–1- 1999 tot 1-1-2002 |
Continuering verzelfstandiging (nemen taken bedrijfsverenigingen over) |
Erkenning als UVI |
RWT |
|
|
Landelijk Instituut Sociale Verzekeringen (LISV) |
1-1-1995 tot 1-1-2002 |
Continuering verzelfstandiging (opvolger Sociale Verzekeringsraad en besturen sociale fondsen (van 1-1-1995- 1-1-1997 Tica) |
ZBO/RWT |
||
|
Arbeidsvoorzieningsorganisatie |
1–1- 1996 tot 1-1-2002 |
Verzelfstandiging Na 1-1-2002 privatisering scholing en reïntegratietaken |
Na 1-1-2002 tijdelijk aandeelhouder Kliq NV |
ZBO/RWT |
|
|
Uitvoeringsinstituut Werknemersverzekeringen (UWV) |
1-1-2002 tot heden |
Verzelfstandiging (deel UVI’s en LISV gaan hier in op) |
|||
|
Centrale organisatie werk en inkomen |
1-1-2002 tot 1-1-2009 |
Verzelfstandiging, deel arbeidsvoorzieningsorganisatie voor zover niet geprivatiseerd; miv 1-1-2009 gaat op in UWV |
ZBO/RWT |
||
|
Sociale Verzekeringsbank (SVB) |
1-1-2002 tot heden |
Continuering verzelfstandiging |
ZBO/RWT |
||
|
Stichting Inlichtingenbureau |
1-1-2002 |
Verzelfstandiging |
Oprichting door Staat; financiële relatie |
RWT |
|
|
Stichting Fonds Voorheffing Pensioenverzekering |
1-1-1999 |
Privatisering |
0% |
Stichting in handen van sociale partners. Inmiddels aan het uitfaseren. |
|
|
KG Holding/Kliq Reintegratie |
29 001 |
Verzelfstandiging |
100% |
– |
Voortgekomen uit de Arbeidsvoorzieningenorganisatie. Meerdere malen geherstructureerd, inclusies kapitaalinjectie Staat in 2003 ten bate van doorstart Kliq BV en afwikkeling Kliq Reïntegratie. Uiteindelijke failliet verklaard, thans in afbeheer. |
|
Certificerende en keurende instellingen arbeidsomstandigheden |
Verzelfstandiging (NB private instellingen met een enkele wettelijke taak) |
Geen directe financiële relatie |
RWT |
Cluster van meer dan keurende instellingen, onder meer op het terrein van duikarbeid, straling, arbo-diensten. |
|
De definities van de parlementaire onderzoekscommissie zijn in deze leidend geweest. Onder privatisering wordt verstaan: de oprichting van staatsdeelnemingen en/ of de verkoop van aandelen van staatsdeelnemingen aan private partijen. Onder verzelfstandiging wordt verstaan: de vorming van een agentschap/ baten lasten dienst (interne verzelfstandiging), de vorming van een ZBO, en de vorming van een RWT (voor zover dit geen ZBO is; exclusief schoolbesturen en onderwijsinstellingen)
|
Beheer |
Sector |
Belang |
|
|---|---|---|---|
|
BNG (Bank Nederlandse Gemeenten) |
FIN |
Fin. denstverl. |
50,0% |
|
Connexxion (vh: Verenigd Streekvervoer Nederland) |
FIN |
Transport |
33,3% |
|
COVRA (Centrale Organisatie Voor Radioactief Afval) |
FIN |
R'actief afvalmgmt |
100,0% |
|
DNB (De Nederlandsche Bank) |
FIN |
Fin. denstverl. |
100,0% |
|
FMO (Nederlandse Financieringsmij voor Ontwikkelingslanden) |
FIN |
Fin. denstverl. |
51,0% |
|
Gasunie (Nederlandse Gasunie) |
FIN |
Energie |
100,0% |
|
Havenbedrijf Rotterdam |
FIN |
Infrastructuur |
29,17% |
|
KLM |
FIN |
Transport |
5,9% |
|
KNM (Koninklijke Nederlandse Munt) |
FIN |
Metaalbewerking |
100,0% |
|
NS (Nederlandse Spoorwegen) |
FIN |
Transport |
100,0% |
|
NWB (Nederlandse Waterschapsbank) |
FIN |
Fin. denstverl. |
17,20% |
|
Luchthaven Schiphol |
FIN |
Infrastructuur |
69,77% |
|
TenneT Holding |
FIN |
Energie |
100,0% |
|
Thales Nederland |
FIN |
Defensie |
1,0% |
|
UCN (Ultra Centrifuge Nederland) |
FIN |
Energie |
100,0% |
|
Holland Casino (Nationale Stichting Exploitatie Casinospelen in NL) |
FIN |
Kansspelen |
Stichting |
|
Staatsloterij (Stichting Exploitatie Nederlandse Staatsloterij, SENS) |
FIN |
Kansspelen |
Stichting |
|
Meerstad (Grondexploitatiemaatschappij Meerstad) |
ELenI |
Gebiedsontw. |
10,00% |
|
EBN (Energie Beheer Nederland) |
ELenI |
Energie |
100,00% |
|
NOM (Investerings- en Ontwikkelingsmaatschappij voor Noord-Nederland ) |
ELenI |
Part.mij |
99,97% |
|
LIOF (Industriebank LIOF) |
ELenI |
Part.mij |
94,34% |
|
BOM (Brabantse Ontwikkelings Maatschappij) |
ELenI |
Part.mij |
56,62% |
|
OOST (Ontwikkelingsmaatschappij Oost) |
ELenI |
Part.mij |
57,62% |
|
GasTerra |
ELenI |
Energie |
10,00% |
|
Prorail (Railinfratrust) |
IenM |
Infrastuctuur |
100,00% |
|
NAATC |
IenM |
Transport |
7,95% |
|
Winair |
IenM |
Transport |
7,95% |
|
Rechterland (vh: NL Inkoopcentrum (NIC)/ Rijksinkoopbureau (RIB)) |
FIN, afb. |
Fac. dienstverl. |
100,0% |
|
Twinning Holding |
FIN, afb. |
Part.mij |
100,0% |
|
KG Holding / Kliq Reïntegratie |
FIN, afb. |
Reïntegratie |
100,0% |
|
ALTMAA (Aangewezen Luchtvaartterrein Maastricht Aachen Airport) |
FIN, afb. |
Fin. dienstverl. |
34,80% |
|
NIO |
FIN, afb. |
Fin. dienstverl. |
100,0% |
|
ABN AMRO Group |
FIN, tijdelijk |
Fin. denstverl. |
100,0% |
|
ASR Nederland |
FIN, tijdelijk |
Fin. denstverl. |
100,0% |
|
RFS Holdings |
FIN, tijdelijk |
Fin. denstverl. |
1,25% |
|
Naam |
Betreft het voorgenomen privatisering of verzelfstandiging?1 |
Kabinetsbesluit? (zo ja, datum) |
Privatisering: beoogd resterende aandeel van de rijksoverheid2 |
Verzelfstandiging: beoogd type verzelfstandiging3 |
Stand van zaken per medio juni 20124 |
Opmerkingen |
|---|---|---|---|---|---|---|
|
Ministerie van Financiën |
||||||
|
Connexxion |
Verkoop van laatste belang in reeds geprivatiseerde onderneming |
Ja. Bij brief van o.a. 10 juli 2006 aan de TK is de TK geïnformeerd over de gefaseerde verkoop. |
Nul |
Bij o.a. een AO op 13 september 2006 heeft een meerderheid van de TK ingestemd met een gefaseerde privatisering van Cxx. |
De contractuele opties voor verkoop liggen vast sinds 2007. |
|
|
Ministerie van Economische Zaken, Landbouw en Innovatie |
||||||
|
Gasunie |
Gedeeltelijke privatisering |
De voorgenomen minderheidsprivatisering van TenneT en Gasunie is op 10 juni 2011 door het kabinet goedgekeurd door vaststelling van het Energierapport. |
Meerderheid van de zeggenschap en van de aandelen. |
Mogelijkheden voor gedeeltelijke privatisering worden onderzocht. Nog niet door de Tweede Kamer goedgekeurd. Er is wetswijziging voor nodig. Het huidige kabinet laat indiening van dit wetsvoorstel over aan het volgende kabinet. |
Aangekondigd in het Energierapport 2011, Tweede Kamer 2010–2011, 31 510, nr. 45, blg. 121 032 |
|
|
TenneT |
Idem als Gasunie |
Idem als Gasunie |
Idem als Gasunie |
Idem als Gasunie |
Idem als Gasunie |
|
|
Autoriteit Consument en Markt (ACM) |
Verzelfstandiging |
Ja, 25 maart 2011 |
- |
Samenvoeging 2 publiekrechtelijke ZBO’s (NMa, OPTA) en 1 dienstonderdeel van ELenI (CA) tot 1 publiekrechtelijk ZBO. |
Instellingswet ACM aangemeld voor plenair debat TK |
De ACM krijgt dezelfde juridische vorm als de NMa (ZBO zonder rechtspersoonlijkheid) |
|
Ministerie van Volksgezondheid, Welzijn en Sport |
||||||
|
Jeugdzorg-plus-instellingen Almata en De Lindenhorst (voormalige Justitiële Jeugdinrichtingen) |
Privatisering |
Ja, meegedeeld aan TK bij brief van staatssecretaris van VWS van 13 april 2011 (Kamerstuk 31 839, nr. 100) betreffende Jeugdzorg-plus |
n.v.t. |
Privatisering (zelfde positionering als overige (jeugd) zorginstellingen) en fusering tot één private instelling |
In voorbereiding |
Zie ook MvT begroting VWS 2012 (TK vergaderjaar 2011–2012, 33 000 XVI nr 2 pag. 168–175) |
|
Nederlands Vaccin Instituut (NVI) |
Privatisering |
Ja, meegedeeld aan TK bij brief Minister van VWS van 10 februari 2009 (Kamerstuk 22 894, nr. 213) |
n.v.t. |
Privatisering productie (verkoop aan private partij), onderbrenging publieke functies bij het RIVM |
Privatisering nagenoeg gerealiseerd |
Zie ook brief van de Minister van VWS van 14 januari 2010 (Kamerstuk 22 894, nr. 213) |
|
Ministerie van Onderwijs, Kunst en Wetenschap |
||||||
|
BNA (= voorlopige werktitel) voor voorgenomen fusie tussen Koninklijke Bibliotheek (thans ZBO) en Nationaal Archief (thans batenlastendienst) |
Verzelfstandiging |
MR 23-12-2011 |
nvt |
ZBO |
voorbereiding wetsvoorstel; nog niet bij TK |
beoogde fusiedatum: 1-7-2013 |
|
Ministerie van Binnenlandse Zaken en Koninkrijksrelaties |
||||||
|
SSO-ICT |
Verzelfstandiging |
Nee |
nvt |
Baten-lastendienst |
Betreft voornemen van oprichting van rijksbreed werkende baten-lastendienst. Het voornemen is nog niet gemeld aan de Tweede Kamer |
|
|
Ministerie van Veiligheid en Justitie |
||||||
|
In regeerakkoord staat dat het kabinet privatisering van «relevante taken» van het gevangeniswezen gaat voorbereiden om kosten te besparen |
Privatisering gevangenissen |
Het huidige demissionair kabinet heeft bovenstaande doelstelling in het Regeerakkoord opgenomen. In opdracht van het WODC is een literatuuronderzoek uitgevoerd naar privatisering van het GW. Het onderzoek is in december 2011 aan de Tweede Kamer aangeboden. Hierbij is aangegeven dat een kabinetsreactie zou volgen. Deze toezegging is aangehouden als gevolg van de nieuwe politieke constellatie. |
||||
|
Ministerie van Defensie |
||||||
|
Stichting Wetenschappelijk Onderwijs en Onderzoek NLDA |
Verzelfstandiging |
Brief TK 13 mei 2011 |
Defensie geeft een jaarlijkse subsidie |
RWT (stichting) |
30-06-2011 |
Het academisch onderwijs binnen de NLDA (Nederlandse Defensie Academie) wordt verzorgd door deze rechtspersoon, waardoor diploma’s met een civiel effect uitgereikt kunnen worden |
|
Voorgenomen: Stichting Defensie Musea |
Verzelfstandiging |
De verzelfstandiging is aangekondigd bij de TK op 10 juli 2006, ref.nr S2006021607 |
Defensie geeft subsidie op basis van jaarlijkse resultaatafspraken |
RWT (stichting) |
2014 |
Binnen de Stichting zullen in 2014 alle Defensiemusea ondergebracht worden |
NB: Het kabinet onderzoekt momenteel de ordening van de kansspelmarkten en de gevolgen die een mogelijke herordening moet hebben voor het pseudo-aandeelhouderschap van de Staat in Holland Casino en de Staatsloterij (Tweede Kamer, vergaderjaar 2010–2011, 24 557 nr. 124).
Onder privatisering wordt verstaan: de oprichting van staatsdeelnemingen en/of de verkoop van aandelen van staatsdeelnemingen aan private partijen. Onder verzelfstandiging wordt verstaan: de vorming van een agentschap / baten lasten dienst (interne verzelfstandiging), de vorming van een ZBO, en de vorming van een rwt (voor zover dit geen ZBO is; exclusief schoolbesturen en onderwijsinstellingen).Ten aanzien van staatsdeelnemingen die meerdere departementen aangaan (veelal Financiën en een vakdepartement), is ervoor gekozen deze zoveel mogelijk te rubriceren onder het vakdepartement dat de deelneming het meest aangaat.
Aangeven of het hier de beoogde vorming van een agentschap/ baten-lasten dienst, een ZBO, en/of een RWT betreft
Stand van zaken proces, b.v. onderzoeksopdracht verstrekt, onderzoek loopt, onderzoek afgerond, kabinetsreactie wordt voorbereid, Tweede Kamer heeft hier al mee ingestemd
NB: alleen ZBO's waar de Kaderwet ZBO op van toepassing is, of waarvoor plannen worden ontwikkeld om ze onder het regime van de Kaderwet op te nemen zijn opgenomen. Uitgangspunt vormt het ZBO-register (http://almanak.ZBOregister.overheid.nl/) en bijlage 1 van de Evaluatie Kaderwet ZBO (Kamerstuk 33 147 nr. 1). De grijs gearceerde cellen vallen buiten deze selectie maar zijn voor de volledigheid opgenomen.
|
Naam organisatie |
Jaar van oprichting |
Jaar van evaluatie |
Evaluerende instantie |
Bron |
Behandeling in parlement |
|---|---|---|---|---|---|
|
AFM (Autoriteit Financiële Markten) |
1995 |
2010 |
Ministerie van financiën |
Kamerstuk 32 466 nr. 1 |
Wordt niet specifiek behandeld, betrokken bij Schriftelijk overleg, Kamerstuk 32 648 nr. 2 |
|
BFT (Bureau Financieel Toezicht) |
2000 |
2004 |
Expertise Centrum |
Kamerstuk 23 706 nr. 59 |
Schriftelijk overleg, Kamerstuk 23 706 nr. 61 |
|
2009 |
Evaluatiecommissie Bureau Financieel Toezicht |
Kamerstuk 29 911 nr. 33 |
Algemeen overleg, Kamerstuk 29 911 nr. 50 |
||
|
BKD (Stichting bloembollenkeuringsdienst) |
1979 |
2005 |
Ambtelijke Commissie Toezicht II (ACT-II) |
Kamerstuk 27 831 nr. 10 |
Algemeen overleg, Kamerstuk 30 300 XIV nr. 10 |
|
Bureau Architectenregister |
1988 |
2001 |
OTB TU Delft |
Architect en titelwet : Een evaluatieonderzoek naar het functioneren van de wet op de Architectentitel en het Architectenregister ISBN 90-6450-424-5 Niet aan Kamer aangeboden. |
Betrokken bij de wijziging van de Wet op de architectentitel (Kamerstuk 32 016 nr. 3; zie ook Kamerstuk-ken 27 450 nrs. 15 en 17) |
|
CAK-BZ |
1967 |
2008 |
Berenschot |
Kamerstuk 29 689 nr. 224 |
Schriftelijk overleg, Kamerstuk 29 689 nr. 253; Algemeen overleg, Kamerstuk 30 597 nr. 98. Zie ook Kamerstukken 29 689 nrs. 255 en 281 en Kamerstuk 32 543. |
|
CBG (College ter Beoordeling van Geneesmiddelen) |
1964 |
||||
|
CBR (Stichting Centraal Bureau Rijvaardigheidsbewijzen) |
1927 |
2011 |
Twynstra Gudde |
Kamerstuk 29 398 nr. 261 |
Lijst van vragen en antwoorden, Kamerstuk 29 398 nr. 266; Algemeen overleg, Kamerstuk 29 398 nr. 268; Plenair debat 14 april 2011 |
|
CBS (Centraal Bureau voor de Statistiek) |
1899 |
2011 |
Berenschot |
Kamerstuk 25 268 nr. 74 |
Wordt betrokken bij behandeling van het jaarverslag ministerie van ELenI 2011 |
|
CCMO (Centrale Commissie voor Mensgebonden Onderzoek) |
1999 |
2004 |
CCMO |
Kamerstuk 29 200 XVI nr. 230 |
Niet afzonderlijk besproken. Resultaten uiteindelijk meegenomen bij wijziging Wet medisch-wetenschappelijk onderzoek bij mensen (Kamerstuk 31 452). Zie ook Kamerstuk 29 963 nr. 4. Bij behandeling van de aanpassingswet om zorg-ZBO's onder de Kaderwet te brengen (Kamerstuk 31 950) komen de bevoegdheden en het functioneren van de CCMO aan de orde. (Handelingen II 2009/10, nr. 93) |
|
2009 |
CCMO |
Kamerstuk 27 428 nr. 140 |
Kabinetsreactie Kamerstuk 27 428 nr. 168. Evaluatie verder niet in parlement behandeld. |
||
|
CEA (Commissie Eindtermen Accountantsopleiding) |
2006 |
||||
|
CFV (Centraal Fonds voor de Volkshuisvesting) |
1988 |
2003 |
Accountantsdienst ministerie van VROM |
Kamerstuk 28 691 nr. 4 |
Algemeen overleg, Kamerstuk 28 691 nr. 5 |
|
CGB (Commissie Gelijke Behandeling) |
1994 |
1999 |
Katholieke universiteit Nijmegen |
Gelijke behandeling : regels en realiteit : een juridische en rechtssociologische analyse van de gelijke-behandelingswetgeving ISBN 9 054 092 408 |
? |
|
1999 |
CGB |
Gelijke behandeling in beweging : evaluatie van vijf jaar Algemene wet gelijke behandeling |
? |
||
|
2004 |
CGB |
Kamerstuk 28 481 nr. 3 |
Op 29 juni 2011 afgevoerd van lijst van werkzaamheden. |
||
|
2006 |
Universiteit Tilburg en Rijksuniversiteit Groningen |
Kamerstuk 28 481 nr. 4 : «Gelijke behandeling: principes en praktijken : evaluatieonderzoek Algemene wet gelijke behandeling» ISBN 9 058 502 449 |
Op 29 juni 2011 afgevoerd van lijst van werkzaamheden. |
||
|
Cgd (College gerechtelijk deskundigen) |
2010 |
Nog niet geëvalueerd |
|||
|
COA (Centraal Orgaan opvang Asielzoekers) |
1994 |
2011 |
Ernst & Young (evaluatie financieringssystematiek) |
Kamerstuk 33 042 nr. 7 |
Algemeen overleg, Kamerstuk 33 042 nr. 19 |
|
COKZ (Stichting Centraal Orgaan voor Kwaliteitsaangelegenheden in de Zuivel) |
1994 |
Nog niet geëvalueerd |
|||
|
College van toezicht collectieve beheersorganisaties auteurs- en naburige rechten |
2003 |
Nog niet geëvalueerd |
|||
|
Commissariaat voor de media |
1988 |
2008 |
ECORYS Nederland |
Kamerstuk 31 200 VIII nr. 201 |
Wetgevingsoverleg begroting OCW, Kamerstuk 31 700 VIII nr. 134. Zie ook Kamerstuk 31 356 nr. 46 |
|
CPE (Stichting Controlebureau voor Pluimvee, Eieren en Eiproducten) |
1962 |
M.i.v. 1 juli 2012 worden een aantal toezichthoudende taken van de CPE overgeheveld naar de COKZ. Vanaf die datum vervalt de status van ZBO op basis van de Landbouwkwaliteitswet (Kamerstukken II, 33 000 XIII nr. 165) |
|||
|
CTGB (College voor de Toelating van Gewasbeschermingsmiddelen en Biociden) |
2000 |
2011 |
PriceWaterhouseCoopers |
Kamerstuk 27 858 nr. 100 |
Geagendeerd voor een algemeen overleg over gewasbeschermings-middelen. Zie ook Kamerstuk 32 372 nr. 73. Overleg is uitgesteld tot na de Tweede Kamerverkiezingen van 12 september 2012 |
|
CvE (College voor Examens) |
2009 |
Nog niet geëvalueerd |
|||
|
CVZ (College voor Zorgverzekeringen) |
1999 |
2007 |
Handvestgroep publiek verantwoorden |
Tussen 2003 en 2008 is jaarlijks, op basis van de afzonderlijke jaarverslagen, een beoordeling van de minister van VWS over het functioneren van de zgn. zorg-ZBO's aan de Kamer aangeboden (Kamerstukken II, 25 268 nrs. 15, 18, 23, 41, 45 en 70. |
|
|
2009 |
Boer & Croon |
Kamerstuk 29 689 nr. 282 |
Algemeen overleg, Kamerstuk 29 689 nr. 292 |
||
|
DNB (De Nederlandsche Bank) |
1 814 |
2006 |
Ministerie van Financiën |
Kamerstuk 28 165 nr. 56 |
Algemeen overleg, Kamerstuk 24 036 nr. 325 |
|
2010 |
Ministerie van Financiën |
Kamerstuk 32 466 nr. 1 |
Zie AFM |
||
|
Fonds BKVB (Stichting Fonds Beeldende Kunsten, Vormgeving en Bouwkunst) |
1987 |
1990 |
Kamerstuk 21 683 nr. 1 |
Niet afzonderlijk behandeld. Wordt aan gerefereerd bij de begroting Provincie-fonds 1991, Kamerstuk 21 800 D nr. 2, p. 9. |
|
|
1994 |
Erasmus centrum voor kunst- en cultuurweten-schappen (EUR) |
Kwaliteit en professionaliteit. Evaluatie van het Fonds voor Beeldende Kunsten, Vormgeving en Bouwkunst |
? |
||
|
2010 |
Visitatiecommissie cultuurfondsen en sectorinstituten |
Niet aan Kamer aangeboden |
|||
|
Grondkamers |
1958 |
Nog niet geëvalueerd |
|||
|
Huurcommissies |
1979 |
2008 |
Compaenen |
Kamerstuk 28 648 nr. 12 |
Algemeen overleg, Kamerstuk 27 926 nr. 128 |
|
IB-groep Bij wet van 15 oktober 2009 (Stb. 2009 nr. 492) overgegaan in de DUO (Dienst Uitvoering Onderwijs) |
1999 |
VB Deloitte & Touche |
Kamerstuk 24 724 nr. 35 |
Algemeen overleg, Kamerstuk 24 724 nr. 40 |
|
|
2003 |
Handvestgroep publiek verantwoorden |
||||
|
2004 |
Cap Gemini Ernst & Young |
Kamerstuk 24 724 nr. 65 |
? |
||
|
IBKI (Stichting VAM) |
1995 |
Nog niet geëvalueerd |
|||
|
Kadaster |
1994 |
1998 |
Berenschot / Bestad |
Kamerstuk 25 600 XI nr. 59 |
Betrokken bij wijziging van de Kadasterwet, Kamerstuk 28748; Wet wordt zonder beraad-slaging aangenomen. |
|
2002 |
Handvestgroep publiek verantwoorden |
||||
|
2004 |
Twynstra Gudde |
Kamerstuk 29 800 XI nr. 94 |
? |
||
|
2008 |
Handvestgroep publiek verantwoorden |
||||
|
2010 |
PriceWaterhouseCoopers |
Kamerstuk 32 500 XI nr. 7 |
Niet behandeld. Afgevoerd stand van werkzaamheden 6 oktober 2011. |
||
|
Kamer voor de binnenvisserij |
1954 |
Wordt opgeheven: Kamerstuk 29 664 nr. 94. Onbekend of deze organisaties onder het regime van de Kaderwet ZBO worden gebracht (bron: Evaluatie Kaderwet ZBO, Kamerstukken II, 33 147 nr. 1) |
Algemeen overleg, Kamerstuk 29 664 nr. 97 |
||
|
Kamers van koophandel |
1921 |
2010 |
Berenschot |
Kamerstuk 32 004 nr. 2 |
Algemeen overleg, Kamerstuk 32 004 nr. 11. Vragen deels schriftelijk beantwoord, Kamerstuk 32 004 nr. 4. Aansluitend plenair debat op 22 december 2011. |
|
KCB (Stichting Kwaliteitscontrolebureau voor Groenten en Fruit) |
1998 |
2004 |
Projectgroep «Slim fruit' |
Kamerstuk 29 800 XIV nr. 9 |
Algemeen overleg, Kamerstuk 29 515 nr. 76 |
|
Kiesraad |
1951 |
Niet geëvalueerd |
|||
|
LBIO (Landelijk Bureau Inning Onderhoudsbijdragen) |
1995 |
2002 |
WODC |
Eindrapport Evaluatie regelingen inning kinderalimentatie |
|
|
2008 |
Brief met motivatie waarom LBIO onder Kaderwet ZBO gaat vallen |
Kamerstuk 25 268 nr. 51 |
|||
|
LVNL (Luchtverkeersleiding Nederland; voorheen Luchtverkeersbeveiliging LVB) |
1993 |
1995 |
Berenschot |
Kamerstuk 23 915 nr. 6 |
? |
|
Mondriaan Fonds (tot 1 januari 2012 Mondriaan Stichting) |
1993 |
2010 |
Visitatiecommissie cultuurfondsen en sectorinstituten |
Niet aan Kamer aangeboden |
|
|
NAK (Stichting Nederlandse Algemene Keuringsdienst voor Zaaizaad en Pootgoed Landbouwgewassen) |
1932 |
2004 |
Ambtelijke Commissie Toezicht II (ACT-II) |
Kamerstuk 29 650 nr. 7 |
? |
|
NBBE (Nederlands Bureau Brandweerexamens) |
1994 |
2001 |
Berenschot |
Brief BZK 01–00110, d.d. 7 februari 2001 |
|
|
NBTC (Nederlands Bureau voor Toerisme en Congressen) |
2007 |
Berenschot |
Kamerstuk 26 419 nr. 32 |
? |
|
|
Nibra (Nederlands instituut fysieke veiligheid) |
1996 |
2001 |
Berenschot |
Brief BZK 01–00110, d.d. 7 februari 2001 |
|
|
2004 |
Betreft een herijking en een nadere explicitering inzake de taken en positionering van het instituut |
Kamerstuk 26 56 nr. 27 |
Nadere informatie kabinet Kamerstuk 26 956 nr. 38. Behandeling in Kamer onbekend. |
||
|
NIWO (Stichting Nationale en Internationale Wegvervoer Organisatie) |
2004 Volgens eigen gegevens in 1946 opgericht. |
Een evaluatie moet, volgens art. 4.5, vijfde lid Wet wegvervoer goederen, uiterlijk 1 mei 2013 aangeboden worden. |
|||
|
NMa (Nederlandse mededingingsautoriteit) |
1998 |
2007 |
Algemene Rekenkamer |
Kamerstuk 31 055 nrs. 1 en 2 |
Algemeen overleg, Kamerstuk 31 055 nr. 5 |
|
2010 |
Kwink groep / TU Delft |
Kamerstuk 24 036 nr. 377 |
Algemeen overleg, Kamerstukken 31 490 nrs. 70 en 73 |
||
|
NTS (Nederlandse Transplantatie Stichting) |
2000 |
Nog niet geëvalueerd |
|||
|
NVAO (Nederlands – Vlaamse Accreditatie Organisatie) |
2002 |
2007 |
ENQA (European Association for Quality Assurance in Higher Education) |
Kamerstuk 31 288 nr. 21 |
Algemeen overleg, Kamerstuk 31 288 nr. 27. Zie ook Kamerstuk 31 821. |
|
NWO (Nederlandse organisatie voor Wetenschappelijk Onderzoek) |
1950 |
1996 |
NWO evaluation committee |
? |
|
|
2008 |
NWO-evaluatiecommissie |
||||
|
2009 |
NWO-PROO 1997–2009 |
Kamerstuk 31 700 VIII nr. 195 |
Algemeen overleg, Kamerstuk 27 406 nr. 164 |
||
|
NZA (Nederlandse zorgautoriteit) |
2006 |
2009 (zie CVZ) |
Boer & Croon |
Kamerstuk 29 689 nr. 282 |
Algemeen overleg, Kamerstuk 29 689 nr. 292 |
|
Onderzoeksraad voor veiligheid |
1999 |
2008 |
Lysias |
Kamerstuk 32 008 nr. 1 |
Algemeen overleg, Kamerstuk 29 517 nr. 45 |
|
OPTA (Onafhankelijke post- en telecommunicatie autoriteit) |
1997 |
2001 |
Twynstra Gudde |
Brief DGTP/MM/01 01914 ; VW 01–454, d.d. 3 april 2001 |
Kabinetsstandpunt Kamerstuk 21 693 nr. 56 |
|
2005 |
Ecorys / Berenschot / TNO |
Kamerstuk 29 800 XIII nr. 52 |
Algemeen overleg, Kamerstuk 28 851 nr. 53 |
||
|
2009 |
Berenschot / Kwink groep / TNO |
Kamerstuk 32 132 XIII nr. 47 |
Algemeen overleg, Kamerstuk 31 412 nr. 22 |
||
|
PF (Stichting Participatiefonds voor het Onderwijs) |
2004 Volgens eigen gegevens in 1995 opgericht. |
2002 |
Twynstra Gudde, IVA Tilburg en Center Applied Research KUB |
Brief RZO/dir/02/55940, d.d. 22 november 2002 |
|
|
Politieacademie (voorheen Landelijk Selectie- en Opleidingsinstituut Politie, LSOP) |
1992 |
1996 |
VB Accountants |
Kamerstuk 25 016 nr. 5 |
Algemeen overleg, Kamerstuk 25 016 nr. 24 |
|
1999 |
Kamerstuk 26 345 nr. 12 |
Algemeen overleg, Kamerstuk 26 345 nr. 21. Zie ook Kamerstuk 28046. |
|||
|
2007 |
Twynstra Gudde |
Kamerstuk 29 628 nr. 53 |
Betrokken bij wetgevingsoverleg begroting BZK 2008, onderdeel politie, Kamerstuk 31 200 VII nr. 42. Zie ook Kamerstukken 29 628 nrs. 162 en 220. |
||
|
Politieregio's |
1993 |
1998 |
Kamerstuk 25 195 nr. 8 |
Algemeen overleg, Kamerstuk 24 225 nr. 20 |
|
|
Raad voor plantenrassen |
2006 |
2012 |
? |
Kamerstuk 25 268 nr. 75 |
Betrokken bij wetgevingsoverleg Slotwet en jaarverslag 2011 ministerie van ELenI, Kamerstuk 33 240 XIII nr. 20. |
|
RDW (Dienst wegverkeer) |
1996 |
2001 |
Berenschot |
Brief vw00001196, d.d. 11 oktober 2001 |
|
|
2005 |
Twynstra Gudde |
Kamerstuk 30 300 XII nr. 3 |
Kabinetsstandpunt Kamerstuk 30 300 XII nr. 31. Verdere behandeling onbekend. |
||
|
2011 |
PriceWaterhouseCoopers |
Kamerstuk 29 398 nr. 265 |
Algemeen overleg, Kamerstuk 29 398 nr. 287 |
||
|
RvA (Raad voor Accreditatie) |
2010 |
2011 |
EA (European co-operation for Accreditation) |
||
|
RvR (Raad voor Rechtsbijstand) |
1994. Bij wet van 17 december 2009 (Stb. 2010 nr. 2) zijn de Raden voor rechtsbijstand bestuurlijk gecentraliseerd, met als vestigingsplaats Utrecht. |
1997 |
WODC |
WODC-rapport «Evaluatie besturingsmodel rechtsbijstand» |
|
|
SACN (Stichting Airport Coordination Netherlands) |
1998 |
Nog niet geëvalueerd |
|||
|
SGM (Commissie schadevergoeding geweldmisdrijven) |
1993 |
2007 |
Ministerie van Justitie, directie Sanctie en Preventiebeleid |
Rapport «Beleidsdoorlichting slachtofferbeleid». |
|
|
SKAL (Stichting SKAL) |
1993 |
2006 |
Algemene Rekenkamer, als onderdeel van het rapport «Verantwoor-ding en toezicht bij rechtspersonen met een wettelijke taak, deel 5; Ministerie van Landbouw, Natuur en Voedselkwaliteit» |
Kamerstuk 30 850 nr. 12 |
Algemeen overleg, Kamerstuk 30 850 nr. 25 (Rapportage van Stichting SKAL komt niet specifiek aan de orde; overleg is op hoofdlijnen.) |
|
Staatsbosbeheer |
1998 |
2004 |
Commissie evaluatie Staatsbosbeheer |
Brief lnv0400051, d.d. 30 januari 2004 |
Algemeen overleg, Kamerstukken 29 659 nrs. 3 en 7. Zie ook andere stukken in dit dossier. |
|
2006 |
Handvestgroep publiek verantwoorden |
||||
|
2007 |
Taskforce «Witteveen' |
Kamerstuk 29 659 nr. 9 |
|||
|
2009 |
Commissie evaluatie Staatsbosbeheer |
Kamerstuk 29 659 nr. 37 |
Algemeen overleg, Kamerstuk 29 659 nr. 46 |
||
|
Stichting Donorgegevens Kunstmatige Bevruchting |
2004 |
Wet donorgegevens kunstmatige bevruchting wordt vanaf 1 augustus 2011 geëvalueerd door ZonMW |
|||
|
Stichting Fonds voor Cultuurparticipatie |
2007 |
2010 |
Visitatiecommissie cultuurfondsen en sectorinstituten |
Niet aan Kamer aangeboden |
|
|
Stichting Nederlands Fonds voor de Film |
2004 |
2010 |
Visitatiecommissie cultuurfondsen en sectorinstituten |
Niet aan Kamer aangeboden |
|
|
Stichting Nederlands Fonds voor Podiumkunsten |
2007 |
2010 |
Visitatiecommissie cultuurfondsen en sectorinstituten |
Niet aan Kamer aangeboden |
|
|
Stichting Nederlands Letterenfonds |
2010 |
Nog niet geëvalueerd |
|||
|
Stichting Nederlandse Algemene Kwaliteitsdienst voor de Tuinbouw (NAK Tuinbouw) |
1966 |
Nog niet geëvalueerd |
|||
|
Stichting Stimuleringsfonds voor Architectuur |
1993 |
2010 |
Visitatiecommissie cultuurfondsen en sectorinstituten |
Niet aan Kamer aangeboden |
|
|
Stimuleringsfonds Nederlandse Culturele Mediaproducties |
1998 |
2005 |
Raad voor cultuur |
Kamerstuk 30 300 VIII nr. 59 |
? |
|
2009 |
Raad voor cultuur |
? |
|||
|
Stimuleringsfonds voor de Pers |
1988 |
2011 |
Research voor beleid |
Kamerstuk 32 827 nr. 28 |
Geagendeerd voor procedurevergadering 22 maart 2012. Schriftelijke inbreng fracties is geleverd. |
|
SVB (Sociale Verzekeringsbank) |
2004 |
2005 |
Handvestgroep publiek verantwoorden |
||
|
2006 |
ECORYS (Evaluatie doelmatigheid SUWI) |
Kamerstuk 26 448 nr. 290 |
Kabinetsreactie Kamerstuk 26 448 nr. 342. Betrokken bij behandeling wijziging Wet SUWI (Kamerstuk 31 514) |
||
|
2010 |
HPV (Handvestgroep publiek verantwoorden) |
brief 2010Z05771 |
Niet afzonderlijk behandeld. |
||
|
UWV (Uitvoeringsinstituut Werknemersverzekeringen) |
2002 |
2006 |
ECORYS (Evaluatie doelmatigheid SUWI) |
Kamerstuk 26 448 nr. 290 |
Kabinetsreactie Kamerstuk 26 448 nr. 342. Betrokken bij behandeling wijziging Wet SUWI (Kamerstuk 31 514) |
|
2010 |
Commissie interne sturing UWV |
Kamerstuk 26 448 nr. 448 |
Algemeen overleg, Kamerstuk 26 448 nr. 458 |
||
|
2010 |
Handvestgroep publiek verantwoorden |
brief 2010Z05771 |
Niet afzonderlijk behandeld. |
||
|
VAMEX (Stichting Vaarbewijs- en marifoonexamens) |
? |
2010 |
Rijksadvies |
Het evaluatierapport wordt vermeld in het (verkort) jaarverslag 2010 van VAMEX (www.vamex.nl). Ook in bijlage 1 bij het jaarverslag 2010 van het ministerie van Infrastructuur en Milieu (Kamerstuk ken 32 710 XII nr. 1, p. 176) en in de toelichting op het besluit van de minister van Infrastructuur en Milieu van 2 november 2011 (IENM/BSK-2011/142232) waarmee VAMEX weer voor 5 jaar als exameninstelling wordt aangewezen, wordt gerefereerd aan de evaluatie. |
|
|
Verispect BV |
1998 |
2011 |
Kwink Groep i.s.m. TU Delft |
Kamerstuk 33 159 nr. 1 |
Voor kennisgeving aangenomen. |
|
VF (Stichting Vervangingsfonds en Bedrijfsgezondheidszorg voor het Onderwijs) |
2004 Volgens eigen gegevens in 1992 opgericht. Gediscussieerd wordt over de toekomst van de verplichte aansluiting van schoolbesturen bij het vervangingsfonds (Kamerstukken 31 293 nrs. 110, 123 en 127) |
2000 |
Accountantsdienst ministerie van OCW, n.a.v. een groot tekort bij het fonds |
Kamerstuk 22 187 nr. 108 |
? |
|
Waarderingskamer |
1995 |
1999 |
Berenschot |
Kamerstuk 26 954 nr. 1 |
Algemeen overleg, Kamerstuk 26 954 nr. 4 |
|
ZonMw (Zorg Onderzoek Nederland / Medische Wetenschappen) |
2001 |
2010 |
Research voor beleid |
Kamerstuk 30 850 nr. 39 |
16 maart 2011, geagendeerd voor een nog te houden algemeen overleg over innovatiebeleid in de zorg. Tot op heden (augustus 2012) is het AO nog niet gehouden |
|
Staatsdeelneming |
Evaluatie |
Behandeling parlement |
|---|---|---|
|
ADC Archeologisch Diensten Centrum NV |
Bijlage bij Kamerstuk 28 165 nr. 30 |
AO Kamerstuk 28 165 nr. 37 |
|
AVR Chemie CV |
Bijlage bij Kamerstuk 28 165 nr. 17 / Bijlage bij Kamerstuk 28 165 nr. 30 |
AO Kamerstuk 28 165 nr. 21 |
|
Idem |
Bijlage bij Kamerstuk 28 165 nr. 30 |
SO Kamerstuk 28 165 nr. 34 AO Kamerstuk 28 165 nr. 37 |
|
Connexxion Holding NV |
Bijlage bij Kamerstuk 28 165 nr. 30 |
SO Kamerstuk 28 165 nr. 34 AO Kamerstuk 28 165 nr. 37 |
|
Covra NV |
Bijlage bij Kamerstuk 28 165 nr. 56 |
AO Kamerstuk 24 036 / 28 165 nr. 325 |
|
DLV Adviesgroep NV |
Bijlage bij Kamerstuk 28 165 nr. 17 |
AO Kamerstuk 28 165 nr. 21 |
|
DNB NV |
Bijlage bij Kamerstuk 28 165 nr. 56 |
AO Kamerstuk 24 036 / 28 165 nr. 325 |
|
Holland Casino |
Kamerstuk 28 165 nr. 72 |
--- |
|
KPN NV |
Bijlage bij Kamerstuk 28 165 nr. 30 |
SO Kamerstuk 28 165 nr. 34 AO Kamerstuk 28 165 nr. 37 |
|
Nederlandse Participatiemaatschappij Nederlandse Antillen NV (NPMNA) |
Bijlage bij Kamerstuk 28 165 nr. 56 |
SO Kamerstuk 28 165 nr. 71 AO Kamerstuk 24 036 / 28 165 nr. 325 |
|
NV Nederlandse spoorwegen |
Bijlage bij Kamerstuk 28 165 nr. 17 |
AO Kamerstuk 28 165 nr. 21 |
|
NV Rechterland |
Bijlage bij Kamerstuk 28 165 nr. 56 |
AO Kamerstuk 24 036 / 28 165 nr. 325 |
|
TenneT Transmission System Operator |
Bijlage bij Kamerstuk 28 165 nr. 17 |
AO Kamerstuk 28 165 nr. 21 |
|
Thales Nederland BV |
Kamerstuk 28 165 nr. 31 |
AO Kamerstuk 28 165 nr. 37 |
|
Twinning Holding BV |
Bijlage bij Kamerstuk 28 165 nr. 30 |
SO Kamerstuk 28 165 nr. 34 AO Kamerstuk 28 165 nr. 37 |
|
Ultra Centrifuge Nederland NV |
Bijlage bij Kamerstuk 28 165 nr. 19 |
--- |
|
NV Westerscheldetunnel |
Bijlage bij Kamerstuk 28 165 nr. 17 |
AO Kamerstuk 28 165 nr. 21 |
De energiebedrijven waren ten tijde van deze besluitvorming eigendom van provincies en gemeenten; privatisering (verkoop van aandelen) vond dus niet op rijksniveau plaats.
De afkorting KPN zal pas vanaf de beursgang gemeengoed worden, tot die tijd blijft men spreken van «de PTT».
De splitsing is geen zuivere splitsing, maar een afsplitsing van PTT Post BV. Er wordt gekozen voor een afsplitsing omdat dit juridisch gezien gemakkelijker is (Kamerstuk II 1997/98, 25 862, nr. 3, p. 3).
De «P» van Posterijen blijft dus bij het telefoniebedrijf. De reden hiervoor was dat de naam KPN al te zeer was ingeburgerd.
KPN had het Gouden Aandeel verkocht (voor een bedrag van 48 cent) maar dat bleek een kostbaar en ingewikkeld proces te zijn. Daarom is bij TNT het Gouden Aandeel ingetrokken.
Europese Commissie, Green Paper on the development of the single market for postal services, COM (91) 476, p. 2–4.
Europese Commissie, Green Paper on the development of the single market for postal services, COM (91) 476, p. 8.
Europese Commissie, Green Paper on the development of the single market for postal services, COM (91) 476, p. 239.
Het gewicht van brieven wordt van zwaar naar licht gereguleerd. Tot 350 gram wil dus zeggen dat voor alle brieven zwaarder dan 350 gram, het monopolie werd opgeheven.
Speech Eurocommissaris Lewandowski, 25 januari 2012, op http://europa.eu/rapid/pressReleasesAction.do?reference=SPEECH/12/37&format=HTML&aged=0&language=EN&guiLanguage=en (vinddatum 15 maart 2012).
Voor de voorgeschiedenis is gebruik gemaakt van de publicaties van Davids (1999) en Slaa (1987).
De PTT-raad was een college van advies en bijstand voor het Staatsbedrijf der PTT. De raad had onder meer tot taak de minister van Verkeer en Waterstaat van advies te dienen.
Zie ook: S. de Jong en K. Voskuil (2011), Neelie Kroes: hoe een Rotterdams meisje de machtigste vrouw van Europa werd, hoofdstuk 8.
P. Schevernels (2008), Hoogspel rond PTT: hoe liberalisering werkt bij PTT en TNT, Deventer: Thieme art.
Met het veelvuldig gebruik van deze term benadrukken de Kamerleden de publieke functie die KPN heeft.
Werken aan vertrouwen, een kwestie van aanpakken: strategisch akkoord voor kabinet CDA, LPF, VVD, 3 juli 2002.
Minister van Verkeer en Waterstaat (2000), brief aan de Tweede Kamer, VW 00 681, 9 juni 2000.
Kamerstuk II 2001/02, 28 000 IXB, nr. 15, p. 10. Anno 2012 is er vanuit de overheid inderdaad een beloningsbeleid inclusief normen voor de beloningen van bestuurders van staatsdeelnemingen. Zie: http://www.rijksoverheid.nl/onderwerpen/staatsdeelnemingen/beloningen-bestuurders-staatsdeelnemingen
P. Schevernels (2008), Hoogspel rond PTT: hoe liberalisering werkt bij PTT en TNT, Deventer: Thieme art.
Ecorys (2007), Beleidsevaluatie Elektronische Communicatie, Ministerie van Economische Zaken.
H. Vollebergh c.s. (1998), Tante Pos Gaat Privaat, de verzelfstandiging en privatisering van PTT Post geëvalueerd, Ministerie van Economische Zaken, p. 62–63.
Ministerie van Economische Zaken (2003), Tante Pos krijgt concurrentie, effecten van de liberalisering van de postmarkt, Amsterdam.
Ministerie van Economische Zaken (2004), Betekenis en belang van postdienstverlening, Kwantitatieve consultatie van de Nederlandse bevolking.
Kamerstuk II 2010/11, 29 502, nr. 59 en nr. 72 en Handelingen II, 2010/11, nr. 71, p. 52–55.
Intomart GfK (2011), Onderzoek naar de betekenis, behoeften en belang van post en de postdienstverlening.
Opvallend is dat deze stelling wordt onderschreven door Jens Arnbak, die ook in de commissie-Steenbergen zat en daarmee aan de wieg stond van de privatisering van de post.
H. Vollebergh c.s. (1998), Tante Pos Gaat Privaat, de verzelfstandiging en privatisering van PTT Post geëvalueerd, Ministerie van Economische Zaken.
P. Schevernels (2008), Hoogspel rond PTT: hoe liberalisering werkt bij PTT en TNT, Deventer: Thieme art, p. 218.
«Verkoop levert Staat 5,1 tot 7,7 miljard op: Korting particulieren bij tweede tranche KPN», de Volkskrant, 27 september 1995.
P. Schevernels (2008), Hoogspel rond PTT: hoe liberalisering werkt bij PTT en TNT, Deventer: Thieme art, p. 368.
Liberalisering van de postmarkt en garantie van de universele dienstverlening (Stb. 2009, nr. 155).
Richtlijn 2002/22/EG, inzake de universele dienst en gebruikersrechten met betrekking tot elektronische-communicatienetwerken en -diensten.
Europese Commissie, Evaluatie omvang universele dienst, COM (2011) 795, 23 november 2011, Brussel.
Besluit van 7 mei 2004, Besluit universele dienstverlening en eindgebruikersbelangen en Besluit van 25 maart 2009, Postbesluit 2009.
Regeling van de Staatssecretaris van Economische Zaken van 22 maart 2009, nr. WJZ/9055290, houdende regels betreffende de universele postdienst (Postregeling 2009).
Krachtens artikel 13, onderdeel A, sub 1, onder a, van de BTW-richtlijn dienen de lidstaten vrijstelling van BTW te verlenen van de door openbare postdiensten verrichte diensten en de daarmee gepaard gaande leveringen van goederen.
Zie onder andere: I. van Enckevort (1999) «Vernieuwing in het spoorvervoer», in: W. Derksen (et al.). (red.), Over publieke en private verantwoordelijkheden, WRR Voorstudies en achtergronden V105, Den Haag: Sdu Uitgevers, p. 255–282; G. Veenendaal (2008), Spoorwegen in Nederland, 1834 tot nu, tweede druk, Meppel: Uitgeverij Boom.
Op 1 januari 2003 gaan de drie taakorganisaties in Railinfratrust BV samen onder de naam ProRail. Op 1 januari 2005 fuseren de drie BV’s tot ProRail BV.
Deze mogelijkheid ten aanzien van personenvervoer werd vanaf 1972 geboden door EG-verordening 1191/69. Volgens deze verordening kan een exploitant op basis van verliezen die voortvloeien uit haar opgelegde openbare dienstverplichtingen een vergoeding worden verstrekt. Vanaf 1972 werden exploitatietekorten van de NS jaarlijks gecompenseerd via de rijksbegroting in het kader van de VergoedingOpenbare Dienstverplichting. Zie verder G. Veenendaal, (2008), p. 511.
«Deze strategische ontwikkelingen zijn de voorgenomen instelling van een infrastructuurfonds, de gewenste verzelfstandiging van het NS-goederenvervoer, de sterke vervoergroei, het in ontwikkeling zijnde gemeenschappelijke spoorwegbeleid EG en het advies van de commissie-Houben». Kamerstuk II 1990/91, 18 986, nr. 2.
Richtlijn 91/440/EEG van 29 juli 1991 (Pb EG L 237/25) en Verordening 1893/91. Zie verder Kamerstuk II 1990/91, 18 986, nr. 2, p. 1.
De commissie bestaat behalve uit de heer Wijffels (voorzitter hoofddirectie Rabobank) uit de heer De Soet (voormalig president-directeur KLM) en de heer In 't Veld (hoogleraar Erasmus Universiteit Rotterdam).
De keuze voor een opdrachtformulering waarin een nadrukkelijke keuze voor een sturingsrelatie op afstand, een beperkte bemoeienis van de rijksoverheid met de bedrijfsvoering van de NS en het aantonen van doelmatigheid voorop staat vloeit voort uit de eerder vastgestelde basisfilosofie relatie rijksoverheid-NS (Kamerstuk II 1984/85, 18 986, nr. 1). Met de keuze voor de commerciële benadering in de opdrachtformulering wordt nadrukkelijk een nieuwe dimensie aan de relatie toegevoegd. Deze keuze werd recent toegelicht door voormalig minister Maij-Weggen voor de parlementaire onderzoekscommissie Onderhoud en Innovatie Spoor (commissie-Kuiken): «Ik heb destijds de commissie-Wijffels ingesteld om te kijken of het bedrijf via verzelfstandiging, waardoor het commerciëler zou denken, kon worden veranderd. U weet dat de commissie-Wijffels met plannen is gekomen om het bedrijf inderdaad te verzelfstandigen (...). Later is dit via mijn opvolgers verder gegaan in de vorm van een privatisering. Mijn eigen opvatting is dat een verzelfstandiging ook goed zou hebben gewerkt. Het was echter absoluut zeker dat het bedrijf een push nodig had.(...)». Kamerstuk II 2004/05, 29 283, nr. 11, p. 614/615.
Sporen voor straks, advies over de toekomstige relatie tussen overheid en Nederlandse Spoorwegen, toegevoegd bij Kamerstuk II 1991/92, 18 986, nr. 3.
Kamerstuk II 1991/92, 18 986, nr. 3, p. 3. Dat betekent bijvoorbeeld dat de overheid volgens de commissie-Wijffels «geen enkele bemoeienis» heeft met nevenactiviteiten die binnen de NS worden uitgevoerd (p. I-20).
Kamerstuk II 1991/92, 18 986, nr. 3, p. I-13. Zie verder Kamerstuk II 2001/02, 27 482, nr. 3, p. 3.
Zie verder: IME Consult-rapport, waarin de adviezen van de commissie-Wijffels worden gekoppeld aan deze perspectieven, p. 18.
Kamerstuk II 1991/92, 18 986, nr. 3, p. 5. Zie eveneens de rapportage van IME Consult, p. 17.
Kamerstuk II 1991/92, 18 986, nr. 3, p. 6. Overigens bepleit de commissie-Wijffels een overeenkomst tussen de rijksoverheid en het reizigersbedrijf NS waarin de voor de overgangsperiode gemaakte afspraken over wederzijdse inspanningen en verplichtingen duidelijk dienen te worden neergelegd (p. II-7).
Minister Maij-Weggen geeft aan dat het kabinetsstandpunt op twee punten afwijkt van het advies van de commissie-Wijffels: het kabinet pleit voor een juridische scheiding tussen de functies van de NS en het zo snel mogelijk afschaffen van de staatsgaranties op leningen. Zie Handelingen II 1993/94, nr. 5, p. 214.
Pas tijdens de behandeling van het Beleidskader toelating tot het spoorvervoer (Kamerstuk II 1996/97, 25 228, nr. 1) en de nota De Derde Eeuw Spoor (Kamerstuk II 1998/99, 26 464, nr. 1) worden deze elementen weer expliciet gekoppeld in de parlementaire beraadslaging.
Kamerstuk II, 1992/93 18 986, nr. 5, p. 7, vraag 65 en nr. 6, p. 12/13 en Handelingen II 1993/94, nr. 5, p. 214/215 en 217/218.
Zie bijvoorbeeld Kamerstuk II 1992/93, 18 986, nr. 4, p. 3 en nr. 6, p. 2–4 en Handelingen II 1993/94, nr. 5, p. 215.
Kamerstuk II, 1992/93, 18 986, nr. 4, p. 4 en nr. 6, p. 2. Zie tevens M. Veraart (2007), Sturing van publieke dienstverlening; privatiseringsprocessen doorgelicht, Assen: Van Gorcum, p. 101.
Kamerstuk II 1992/93, 18 986, nr. 6. In totaal worden 96 schriftelijke Kamervragen gesteld, waarop de minister een 103-tal antwoorden formuleert (als gevolg van samengestelde vragen). De vragen kunnen ingedeeld worden onder de volgende rubrieken: ontwikkelingen in Europa (5), Reizigersvervoer (46),Goederenvervoer (6), Infrastructuur en gebruik (23), Financiële zaken (17), Wetgeving (3) en Overige onderwerpen (3).
Bijvoorbeeld of aangetoond kan worden dat verzelfstandiging leidt tot hogere kwaliteit of door verzelfstandiging efficiënter gewerkt wordt.
Dit resulteert in een motie die beoogt het voornemen om de staatsgaranties per 1-1-1994 op te zeggen uitstelt (Kamerstuk II 1993/94, 18 986, nr. 8). De motie wordt overigens verworpen.
Dit aspect speelt later in het debat over de verzelfstandiging nog een grote rol als gesproken wordt over de wijze waarop wordt omgegaan met de contractsector, de commercieel «onrendabele lijnen».
De heer Van den Berg (SGP) in Handelingen II 1993/94, nr. 5, p. 229. Zie eveneens de vraag van de heer Van den Berg op p. 203 en Kamerstuk II 1990/91, 18 986, nr. 5, p. 7, vraag 97 en 18 986, nr. 6, p. 16.
Kamerstuk II 1991/92, 18 986, nr. 3, p. 6. Overigens bepleit de commissie een overeenkomst tussen de rijksoverheid en het reizigersbedrijf NS waarin de voor de overgangsperiode gemaakte afspraken omtrent wederzijdse inspanningen en verplichtingen duidelijk dienen te worden neergelegd (p. II-7).
Van Enckevort (1999), p. 258 noemt dit een proces van zowel «ontstatelijking» als «verstatelijking».
Volgens Groenendijk (1998), p.27 is sprake van een «externe» verzelfstandiging. J. Groenendijk (1998), Overheidsinvloed in het openbaar vervoer. Een vergelijkend onderzoek naar deregulering, privatisering en verzelfstandiging in Europa, Amsterdam: Thesis Publishers, p. 27.
«Na het moment van verzelfstandiging (medio 1995) is verder vorm gegeven aan de verdere afhandeling van het traject door middel van een overgangscontract 1995–1999 (later verlengd tot 2000), waarin onder meer de afbouw van overheidssubsidies is geregeld.» S. C. Peij (2005), Commissaris op de bestuursstoel, Assen: Van Gorcum, p. 80.
Kamerstuk II 1995/96, 18 986, nr. 22. De motie wordt gesteund door de VVD, het CDA, D66, de RPF, de SGP, het GPV, de groep-Nijpels, het AOV, de CD en GroenLinks. De SP, de PvdA en de Unie 55+ stemmen tegen.
«Implementatie van de richtlijn [91/440 en Verordening 1893/91, red.] heeft enige vertraging ondervonden, in afwachting van het advies van de commissie-Wijffels. Uiteindelijk is, uit oogpunt van tijdige implementatie, afgezien van een koppeling van beide trajecten en is gekozen voor een tot implementatie beperkt regelgevingstraject.» Kamerstuk II 1994/95, 24 042, nr. 6, p. 3. Het dossier beslaat de periode januari 1995-januari 1996. Zie ook minister Jorritsma-Lebbink in Handelingen II 1995/96, nr. 43, p. 3382.
Handelingen II 1995–96, nr. 43, p. 3383. De Tweede Kamer gaat – met uitzondering van de SP – akkoord met het wetsvoorstel.
Kamerstuk II 1996/97, 18 986, nr. 40. Zie bijvoorbeeld de heer Rosenmöller (GroenLinks)(p. 5–6).
De heer Rosenmöller (GroenLinks) over kaartintegratie, de OV-jaarkaart, etc. in Kamerstuk II 1996/97, 18 986, nr. 40, p. 6. En de heer Poppe (SP) in Kamerstuk II 1996/97, 18 986, nr. 40, p. 9–10.
Lovers verkrijgt vergunningen op de lijnen: Amsterdam CS-Haarlem, Utrecht CS-Hilversum, Den Haag CS-Leiden CS.
In antwoord op Kamervragen geeft de minister aan dat de overname van Lovers door CGEA bekend was, maar de behandeling van de vergunningaanvragen niet heeft beïnvloedt. Zie Handelingen II 1996–97, aanhangsel 3556.
Kamerstuk II 1997/98, 25 600 XII, nr. 8. Tegen stemmen de VVD, D66, de CD en de fractie Hendrikse. De fractie Unie55+ is afwezig. De overige fracties stemmen voor. Zie: Handelingen II, 1997/98, nr. 13, p. 3199.
Kamerstuk II 1997/98, 26 024, nr. 10, p. 52. «Voor het kernnet zal een tienjarig contract met de Nederlandse Spoorwegen worden afgesloten. In dit contract worden output-afspraken gemaakt over o.a. de tariefsontwikkeling, het voorzieningen en bedieningenniveau, alsmede punctualiteit en kwaliteit.»
Richtlijn 95/18/EG en richtlijn 95/19/EG. Richtlijn 95/18/EG vereist een boekhoudkundige scheiding tussen beheer en exploitatie en richtlijn 95/19/EG creëert toegangsrechten voor internationale samenwerkingsverbanden die internationale vervoersdiensten verrichten.
Zie de heer Van Gijzel (PvdA) en de heer Reitsma (CDA) in Kamerstuk II 1998/99, 26 464, nr. 13, respectievelijk p. 3 en 14.
Kamerstuk II 1998/99, 26 464, nr. 13. Zie voor het standpunten ten aanzien van privatisering/beursgang van het CDA (p. 18); GroenLinks (p. 22); de SP (p. 24) en de SGP (p. 24).
Kamerstuk II 1998/99, 26 464, nr. 13 voor het PvdA-standpunt ten aanzien van privatisering/beursgang (p. 9) en D66 (p. 19).
Kamerstuk II 1998/99, 26 464, nr. 13. De heer Van der Steenhoven (GroenLinks)(p. 20), de heer Van den Berg (SGP)(p. 24) en de heer Stellingwerf (RPF, mede namens het GPV)(p. 26).
Kamerstuk II, 1998/99, 24 464, nr. 13. Zie bijvoorbeeld de PvdA (pp. 3–4), de VVD (p. 10–11), het CDA (p. 14–15), D66 (p. 19) en GroenLinks (p. 20).
Zie opmerkingen van Kamerleden in Kamerstuk II 1999/00, 26 464, nr. 18. Bijvoorbeeld de heer Van der Steenhoven (GroenLinks)(p. 3), de heer Reitsma (CDA)(p. 9) en de heer Hofstra (VVD)(p. 6).
Kamerstuk II 1999/00, 26 464, nr. 18. De heer Van Walsum (D66)(p. 4) en de heer Van den Berg (SGP)(p. 6).
Kamerstuk II 1999/00, 26 464, nr. 18. De heer Van Gijzel (PvdA)(p. 1–2) en de heer Van Bommel (SP)(p. 5).
Kamerstuk II 1999/00, 26 464, nr. 18. De heer Van Gijzel (PvdA)(p. 1–2), de heer Van der Steenhoven (GroenLinks)(p. 3) en de heer Hofstra (VVD)(p. 6).
Kamerstuk II 1999/00, 18 986, nr. 48, p. 2. Daarbij wijst de minister op gestegen reizigersaantallen, vernieuwing binnen de NS, normalisatie van arbeidsomstandigheden en gematigde tarieven.
Kamerstuk II 1999/00, 27 216, nr. 3, Bijlage B. Zie ook Kamerstuk II 2000/01, 27 482, nr. 3, p. 6–7.
Kamerstuk II 2000/01, 27 465, nr. 2, p. 1–2. Zie ook de reactie van de heer Hofstra (VVD)(p. 4).
In januari en februari 2001 is nog maar 23 procent van de klanten tevreden over de punctualiteit. Zie verder Wessels (2003), p. 181.
Kamerstuk II 2000/01, 27 216, nr. 7. De VVD vraagt of het wetsvoorstel niet regelt dat de NS en andere publieke vervoersbedrijven (gedeeltelijk) dienen te worden geprivatiseerd. De minister antwoordt dat voor de NS privatisering niet wordt overwogen voordat duidelijkheid bestaat over een aantal cruciale dossiers, waaronder de uitplaatsing van de taakorganisaties (p. 12). Andere vragen worden onder andere gesteld over het waarborgen van publieke belangen, de wenselijkheid van aanbesteding, de toepassing van het concessiestelsel, de invoering van het concessiestelsel en de positie van de reiziger.
Handelingen II 2000/01, nr. 96, p. 6056. Voor stemmen de fracties van GroenLinks, het CDA, de ChristenUnie, de SGP en de VVD; tegen die van de PvdA, de SP en D66.
Wellicht speelt hier ook de kritische discussie over ZBO’s mee (zie hoofdstuk 6 in dit rapport, vergelijk paragraaf 3.4).
Het grillige verloop van de wetsdossiers, de registratie van vragen en de uiteenlopende beantwoordingssystematiek maakt het lastig om exact aan te geven hoeveel vragen zijn gesteld. Uit de nota naar aanleiding van het verslag inzake de Concessiewet kan afgeleid worden dat door de fracties tenminste 168 vragen zijn gesteld (Kamerstuk II 2000/01, 27 216, nr. 7). Na de vierde nota van wijzing volgen nog eens meer dan zeventig vragen (Kamerstuk II 2001/02, 27 216, nr. 11). Ten aanzien van de Spoorwegwet worden na de vierde nota van wijziging zo blijkt uit de (nota naar aanleiding van) het nader verslag dat door de Kamerfracties nog 53 vragen gesteld over verschillende onderwerpen waaronder de overheidsverantwoordelijkheid voor de railinfrastructuur, de rechtsvorm van het beheer van de railinfrastructuur en de uitplaatsing taakorganisaties (Kamerstuk II 2000/01, 27 482, nrs. 14 en 15).
Handelingen II 2001/02, nr. 61. De heer Dijsselbloem (PvdA)(p. 4114); mevrouw Halsema (GroenLinks)(p. 4129); de heer Van Walsum (D66)(p. 4139) en de heer Eurlings (CDA)(p. 4140–41).
Handelingen II 2001/02, nr. 61. De heer Stellingwerf (ChristenUnie)(p. 4122); de heer Van den Berg (SGP)(p. 4126); mevrouw Halsema (GroenLinks)(p. 4128); de heer Poppe (SP)(p. 4139) en de heer Eurlings (CDA)(p. 4141).
De heer Poppe (SP) en mevrouw Halsema (GroenLinks) in Handelingen II 2001/02, nr. 61, p. 4230.
Handelingen II, 2001/02, nr. 62, p. 4121–4122. De PvdA benadrukt dat de privaatrechtelijke status met een concessie dankzij het bestaan van 8 aansturingsrelaties voldoet.
De heer Dijsselbloem (PvdA) in Handelingen II 2001/2002, nr. 61, p. 4116. Zie ook p. 4120.
De heer Van Walsum (D66) in Handelingen II 2001/02, nr. 61, p. 4139. Nog liever had D66 de verkeersleiding weer in de NS geïntegreerd.
Hoewel in dit debat wordt gesproken over een spoorbeheerder met een NV-vorm, zal uiteindelijk voor een BV-vorm voor de spoorwegbeheerorganisatie worden gekozen.
Zie met name mevrouw Halsema (GroenLinks) in Handelingen II 2001/02, nr. 61, p. 4 131 en Handelingen II 2001/02, nr. 62, p. 4191.
Kamerstuk II 2001/02, 27 482 en 27 216, nr. 52. Eén van de moties roept op te bewerkstelligen dat in de raad van commissarissen van de NS ten minste een commissaris wordt benoemd op voordracht van reizigersorganisaties .
Op 4 april 2002 geeft de minister een schriftelijke reactie op de amendementen en moties die gedurende de wetsbehandeling zijn ingediend. Bij de spoorwegwet gaat het om 27 amendementen en 3 moties; bij de Concessiewet om 17 amendementen en 8 moties. Zie Kamerstuk II, vergaderjaar 2001/02, 27 216 en 27 482, nr. 39.
Kamerstukken I 2001/02, 27 216 en 27 482, nr. 321a. Zie bijvoorbeeld vragen van de SGP en de ChristenUnie (p. 9/10), de VVD (p. 3), de OSF-fractie (p. 10) en het door GroenLinks verwoordde standpunt (p. 5/6).
Kamerstukken I 2002/03, 27 216 en 27 482, nr. 29. Er worden in totaal 46 vragen gesteld (het CDA: 5, de VVD: 12, de PvdA: 9, GroenLinks: 14, D66: 3; de SGP en ChristenUnie: 3; de OSF: 5).
Hoewel de Eerste Kamer formeel geen algemeen overleg kent, wordt hier wel op gezinspeeld door een Senator.
Kamerstukken I 2002/903, 27 216 en 27 482, nr. 145a. Daarmee is sprake van een unicum aangezien de Eerste Kamer de AO-vorm niet kent.
Vragen van de heer Wolfson (PvdA) in: Kamerstuk I 2002/03, 27 216 en 27 482, nr. 145a, p. 4–5. Twee (top)ambtenaren staan de minister tijdens de beantwoording van Kamervragen bij.
Kamerstukken I 2002/03, 27 216 en 27 482, nr. 145a. Zie vragen van de PvdA (p. 2) en GroenLinks (p. 3). Zie voor de wijze van naamgeving: Prorail (2004), Prorail aan het Werk, Financieel Jaarverslag 2003, Utrecht, p. 6.
Handelingen I 2002/03, nr. 22. De heer Terlouw (D66)(p. 685/713); de heer Van den Berg (SGP)(p. 686) en mevrouw Bierman-Beukema toe Water (VVD)(p. 691).
Handelingen I 2002/03, nr. 22. De heer Eversdijk (CDA)(p. 683) en de heer Van den Berg (SGP)(p. 686).
Handelingen I 2002/03, nr. 22. Zie bijvoorbeeld de heer Eversdijk (CDA)(p. 682–683); de heer Van den Berg (SGP)(p. 687 en 714); mevrouw Bierman-Beukema toe Water (VVD)(p. 691) en de heer Bierman (OSF)(p. 691).
Mevrouw Bierman-Beukema toe Water (VVD) in: Handelingen I 2002/03 nr. 22, p. 715. Zie verder bijvoorbeeld de heer Eversdijk (CDA)(p. 712–713) en de heer Van den Berg (SGP)(p. 713).
Handelingen I 2002/03, nr. 22. De heer Bierman (OSF) stemt tegen het wetsvoorstel omdat een oplossing voor handen is (p. 715). De heer Van der Lans (GroenLinks) geeft geen steun aan de wetsvoorstellen vanwege de scheiding die tussen vervoerders en de spoorwegbeheerder wordt aangebracht (p. 716).
Zie S.C. Peij (2005), p. 74. In interviews die de parlementaire onderzoekscommissie heeft gevoerd werd dit perspectief bevestigd.
In 1999 concludeert de Algemene Rekenkamer: «Erop terugkijkend beoordeelden de partijen zelf de afspraken uit 1995 als het toen hoogst haalbare. Splitsing van het concern in een taak- en een marktsector lag bij NS zeer gevoelig. Uitplaatsing van de taakorganisaties was volgens NS in 1995 onhaalbaar en onbespreekbaar. Daarbij speelden met name de sociale aspecten van opsplitsing en een eventuele uitplaatsing een rol. De angst voor sociale conflicten met de vakbonden was groot.», Kamerstuk II 1998/99, nr. 26 615, nr. 2, p. 10–11.
Kamerstuk II 1994/95, 18 986, nr. 10, p. 2. Zie ook Kamerstuk II 1994/95, 18 986, nr. 11, p. 1.
Een besloten overleg vindt plaats op 22 maart 1994, 2 mei 1995 en 1 juni 1995. Van deze besloten overleggen wordt geen verslag gemaakt.
Zie de beantwoording van de minister op vraag 9 in: Kamerstuk II 1995/96, 18 986 nr. 18, p. 6.
Zie opmerkingen van de heer Reitsma (CDA) over dit besluit in Kamerstuk II 1995/96, 18 986, nr. 19, p.16. Op 28 september 1995 wordt door de vaste Kamercommissie opdracht gegeven tot onderzoek. Zie ook: Brief d.d. 31 augustus 1995 van de griffier van de vaste commissie voor Verkeer en Waterstaat aan het presidium van de Tweede Kamer, 44/95 VW. Vragen worden gesteld over de volgende aspecten: de juridisch-technische kwaliteit van het contract, de financiële risico’s van het contract in brede zin, de consequenties van het contract voor het sluiten van onrendabele lijnen, concurrentie en mededinging, de uitvoerbaarheid van het contract, de consumentenbescherming en de bijdrage aan de mobiliteitstoename.
Kamerstuk II, Overeenkomst op hoofdlijnen tussen Staat der Nederlanden en NV Nederlandse Spoorwegen, p. 2.
Zie Bijlage I; Intentienotitie relatie Rijksoverheid/Nederlandse Spoorwegen inzake de functies capaciteitsmanagement, infrastructuurvoorziening en spoorwegveiligheid bij de Overeenkomst op hoofdlijnen, p.18–20.
Artikel 5.4 in Bijlage I; Intentienotitie relatie Rijksoverheid/Nederlandse Spoorwegen inzake de functies capaciteitsmanagement, infrastructuurvoorziening en spoorwegveiligheid bij de Overeenkomst op hoofdlijnen, p. 19.
IME Consult (1995), Verzelfstandiging NV Nederlandse Spoorwegen Early Warning Evaluatie, Eindrapport in opdracht van de vaste commissie voor Verkeer en Waterstaat van de Tweede Kamer der Staten-Generaal, p. 16. In de rapportage wordt aangegeven dat de splitsing van taken in andere landen anders is verlopen. Door de NS wordt aan de onderzoekers gemeld dat grote verschillen bestaan in de wijze waarop in Europa invulling wordt gegeven aan de Europese richtlijnen. «Zweden en Engeland kozen voor een volledige organisatorische scheiding van Taak en markt; Frankrijk, Italië en België waren niet bereid verder te gaan dan de minimum-eis van boekhoudkundige scheiding. Duitsland nam een middenpositie door zijn railinfrabeheer te verbijzonderen als werkmaatschappij van de Deutsche Bahn A.G.»
Zie IME Consult (1995), p. 25. Genoemd worden de volgende argumenten: «de relatief sterke verwevenheid van infrastructuur en exploitatie bij het railvervoer; slechte buitenlandse ervaringen met het creëren van te veel «afstand» tussen infrastructuur en exploitatie; negatieve psychologische effecten voor met name het NS-personeel bij «vervreemding» van het NS-onroerend goed; de technische complexiteit van een scheiding van de exploitatie en infrastructuur; en de vrees voor communicatieproblemen en veiligheidsrisico’s.»
Zie IME Consult (1995), p. 5–6. Volgens het rapport zijn in de periode 1990–1995 efficiency-besparingen van 360 miljoen gulden verwezenlijkt en verdere efficiency-besparingen van jaarlijks 2 procent worden na de verzelfstandiging voorzien (p. 29).
Minister Maij-Weggen in Handelingen II 1993/94, nr. 5, p. 215: «De klant mag centraal staan tegen de achtergrond van een zo rendabel mogelijk openbaar vervoer.»
Kamerstuk II 1995/96, nr. 18. In totaal worden 119 Kamervragen gesteld over het contract en het voornemen van de minister om met de contractsector om te gaan.
Kamerstuk II 1995/96, 18 986, nr. 19. Zie opmerkingen van de heer Van Gijzel (PvdA)(p. 4), de heer Reitsma (CDA)(p. 16/17), mevrouw Van ’t Riet (D66)(p. 32/36), de heer Remkes (VVD) (p. 32) en de heer Rosenmüller (GroenLinks)(p. 37/38 en 53).
De heer Remkes (VVD) in Kamerstuk II 1995/96, 18 986, nr. 19, p. 25. Zie ook de heer Remkes (VVD) in Kamerstuk II 1995/96, 18 986, nr. 34, p. 16.
Zie bijvoorbeeld de heer Van Gijzel (PvdA) in Kamerstuk II 1995/96, 18 986, nr. 19, p. 5 en de reactie van minister Jorritsma-Lebbink op p. 14.
Kamerstuk II 1995/96, 18 986, nr. 19. Zie opmerkingen van bijvoorbeeld de heer Reitsma (CDA)(p. 201/21) en mevrouw Van ’t Riet (D66)(p. 34/35).
De heer Remkes (VVD) en de heer Reitsma (CDA) in Kamerstuk II 1995/96, 18 986, nr. 19, p. 29.
Kamerstuk II 1995/96, 18 986, nr. 34, p. 27. Zie ook Handelingen II 1995/96, nr. 41, p. 3297–3298.
Kamerstuk II 1995/96, 18 986, nr. 34. Zie opmerkingen van de heer Van Gijzel (PvdA)(p. 3), de heer Reitsma (CDA)(p. 14), de heer Remkes (VVD)(p. 17) en mevrouw Van ’t Riet (D66)(p. 21). De uitzondering is de heer Rosenmüller (GroenLinks)(p. 24).
Zie bijvoorbeeld vragen aan de minister inzake subsidiëring van consumentenbelangenorganisaties als ook de motie-Van Gijzel, Kamerstuk II 2000/01, 27 400 XII, nr. 22. Voor een groot deel wordt de positie van de reiziger vastgelegd in de Concessiewet.
Er wordt 11 keer gesproken over de burger. Met name door de PvdA (Castricum). Er wordt 21 keer gesproken over de «klant». Handelingen II 1993/94, nr. 5, p. 200–235.
De heer Van den Berg (SGP) in Handelingen II 1993/94, nr. 5, p. 229. Zie eveneens de vraag van de heer Van den Berg aan het begin van het debat (p. 203). Zie verder Kamerstuk II 1990/91, 18 986, nr. 5, p. 7, vraag 97 en 18 986, nr. 6, p. 16.
Zie bijvoorbeeld mevrouw Van ’t Riet (D66) over dit debat in Kamerstuk II, 1996/97, 18 986, nr. 40, p. 8. «Volgens mevrouw Van ’t Riet (D66) stond bij de forse discussie over verzelfstandiging van de NS eind 1995 niet het aspect van marktwerking centraal, maar meer de nutsfunctie van de NS en de vraag hoe het voorzieningenniveau in stand zou kunnen blijven.»
Mevrouw Van 't Riet (D66) in Kamerstuk II 1995/96, 18 986, nr. 34, p. 19. «Er ligt een ingewikkeld en ingrijpend contract waar adequate wetgeving had moeten liggen.»
Kamerstuk II 1995/96, 18 986, nr. 19. Zie de heer Reitsma (CDA)(p. 20/21 en 29) en de heer Remkes (VVD)(p. 29).
De moties-Van den Berg en -Reitsma worden aangehouden, Handelingen II, 1999/00, nr. 13, p. 875. De motie-Reitsma wordt nogmaals aangehouden, Handelingen II 2000/01, nr. 36, p. 2981. Op 14 december 2000 vervallen beide moties.
Het structuurregime bij een NV geldt voor grotere vennootschappen en houdt in dat de aandeelhouders verplicht zijn een raad van commissarissen in te stellen die namens de aandeelhouders toezicht houden op het management van de onderneming.
Kamerstuk II 2002/03, 18 986, nr. 91, p. 3. Zie ook minister De Boer in Kamerstuk II 2002/03, 18 986, nr. 90, p. 8.
Kamerstuk II 1999/00, 18 986, nr. 48, p. 6. Zie Handelingen II 2001/02, nr. 62, p. 4121–4122.
Minister Netelenbos in Handelingen II 2001/02, nr. 61, p. 4145. Zie Kamerstuk II 2001/02, 27 216 en 27 482, nr. 38.
De heer Van den Berg (SGP) in Handelingen II, nr. 61, p. 4113–4152 en Handelingen II, nr. 62, p. 4185–4205 en 4211–4243. In het bijzonder op p. 4224 en 4225.
Als uitzondering kan gewezen worden op opmerkingen van mevrouw Jorritsma-Lebbink tijdens het plenaire debat. Handelingen II 1993/94, nr. 5, p. 207. Zie ook een vergelijking met de PTT die door senator Pitstra (GroenLinks) gemaakt wordt tijdens het eerste plenaire debat dat na de feitelijke verzelfstandiging in de Eerste Kamer plaats heeft. Zie Handelingen I 1996/97, nr. 5, p. 157.
Kamerstuk II 1992/1993 18 986, nr. 5, p. 1, vraag 2: «Kan inzicht worden gegeven in de veranderingen die zich bij andere spoorwegorganisaties in Europa (ook buiten de EG) voltrekken en welke lessen daar inmiddels uit kunnen worden getrokken ten aanzien van de voorstellen die nu voor NS worden gedaan?».
Kamerstuk II 1992/1993 18 986, nr. 6, p. 2. In de periode erna zijn «[i]n een groot aantal landen binnen en buiten de EG zijn voorstellen gepresenteerd die beogen te komen tot een herziene relatie overheid-spoorbedrijf. Ook daar wordt gekozen voor meer marktgerichtheid en worden de spoorbedrijven op grotere afstand van de overheid geplaatst. De uitwerking is verschillend.»
Handelingen II, 1993/94, nr. 5, p. 219. Volgens de minister is de situatie in Japan significant «anders» en is in Duitsland sprake van een «moeizaam» verzelfstandigingsproces dat nog niet is afgerond.
Kamerstuk II 1995/96, 18 986, nr. 19. Opmerkingen van de heer Remkes (VVD)(p.30) en de heer Schutte (GPV)(p. 44).
Minister Netelenbos in Handelingen II 2001/02, nr. 61, p. 4145. Zie Kamerstukken II 2001/02, 27 216 en 27 482, nr. 38.
Kamerstuk II 1998/99, 26 464, nr. 1, p. 17 en Bijlage 2, p. 85. Zie ook Kamerstuk II 1999/00, 18 986, nr. 48, p. 4/5 en 10/11.
Handelingen II, 2001/02, nr. 61. Zie bijvoorbeeld de verwijzing naar Railtrack door mevrouw Halsema (GroenLinks)(p. 4132) en naar Japan door de heer Poppe (SP)(p. 4137).
Kamerstuk II 1998/1999, 26 464, nr. 1, p. 68. Zie ook Kamerstuk II 1999/00, 26 464, nr. 15, p. 2.
Zie de reactie van de Rekenkamer (Kamerstuk II 1998/99, 26 615, nrs. 1–2, p. 46–47): «De reactie van de minister maakt duidelijk dat zij oog heeft voor de gesignaleerde problemen. De vraag is echter of de minister met de toezeggingen voldoende tegemoetkomt aan de ernst van de problemen.».
Kamerstuk II 1999/00, 18 986, nr. 48, p. 6. Zie verder Handelingen II 2001/02, nr. 61, p. 4113–4152.
Handelingen II 2001/02, nrs. 61 en 62. In het bijzonder opmerkingen van de heer Stellingwerf (ChristenUnie) (p. 4124), de heer Van den Berg (SGP) (p. 4127en 4224) en mevrouw Halsema (GroenLinks) (p. 4 130, 4131, 4191 en 4224).
Kamerstuk II 1995/96, 18 986, nr. 19. In het bijzonder opmerkingen van de heer Van den Berg (SGP)(p. 41–42), de heer Schutte (GPV) en minister Jorritsma-Lebbink (p. 70–72).
De heer Van den Berg (SGP) in Kamerstuk II 1995/96, 18 986, nr. 19, p. 41. Tijdens de debatten in de Tweede Kamer wordt niet gesproken over de consequenties van de gang van zaken voor de Eerste Kamer. In 1997 zal de Eerste Kamer zich dan ook tijdens de behandeling van spoorwegwetgeving uiterst kritisch opstellen over deze gang van zaken.
Allereerst via de motie-Remkes die beoogt de uitplaatsing van de taakorganisaties uit de NS zo spoedig mogelijk na afloop van het overgangscontract te realiseren. Het tweede moment waarop de Tweede Kamer wederom oproept tot uitplaatsing is gedurende de crisisperiode op het spoor via de motie-Van der Steenhoven. Zie Kamerstuk II, 2000/01, 27 400 XII, nr. 76.
Op 4 april 2002 geeft de minister een schriftelijke reactie op de amendementen en moties die gedurende de wetsbehandeling zijn ingediend. Bij de spoorwegwet gaat het om 27 amendementen en 3 moties; bij de Concessiewet om 17 amendementen en 8 moties. Zie Kamerstuk II, vergaderjaar 2001/02, 27 216 en 27 482, nr. 39.
In het bijzonder opmerkingen van mevrouw Halsema in Handelingen II 2001/02, nr. 61, p. 4129–4130.
Kamerstuk II 1992/93, 18 986, nr. 6, p. 9 en 16 en minister Maij-Weggen in Handelingen II 1993/94, nr. 5, p. 214–215.
De heer Eurlings (CDA) in Handelingen II 2001/02, nr. 61, p. 4141. Zie bijvoorbeeld ook opmerkingen van de heer Dijsselbloem (PvdA)(p. 4114–4115).
De heer Van Gijzel (PvdA) in Kamerstuk II 1995/96, 18 986, nr. 19, p. 6–7. Zie ook Kamerstuk II 1998/99, 26 464, nr. 13 voor het PvdA-standpunt ten aanzien van privatisering/beursgang (p. 9) en D66 (p. 19).
Kamerstuk II 1998/99, 26 464, nr. 13. Zie opmerkingen van de heer Van Gijzel (PvdA)(p. 9) en de heer Van den Berg (SGP)(p. 24).
Kamerstuk II 1998/99, 26 464, nr. 13. Zie voor het standpunten ten aanzien van privatisering/beursgang van het CDA (p. 18); GroenLinks (p. 22); de SP (p. 24) en de SGP (p. 24).
Mevrouw Dijksma (PvdA) in Kamerstuk II 2002–2003, 18 986, nr. 95, p. 1. «De Kamer heeft zich inmiddels laten adviseren dat de minister kan ingrijpen om de tariefverhoging van juli 2003 tegen te gaan. De afspraak tussen de Staat en de NS komt er immers op neer dat de spoorwegen niet twee keer per jaar de tarieven mogen verhogen.»
Kamerstuk II 2002/03, 18 986, nr. 94. Op 21 maart 2003 oordeelt de rechter in een kort geding dat de aangekondigde prijsstijging per 1 juli 2003 niet geoorloofd is, maar stelt niet de minister, maar de consumentenorganisaties die zich hadden aangesloten bij het kort geding in het gelijk. Zie bijvoorbeeld J.D. Bouma (2003), Rechter vindt dat NS belofte niet mag breken, NRC Handelsblad, 22 maart 2003, p. 8).
Kamerstuk II 1994/95, 18 986, nr. 10, p. 2. Zie ook Kamerstuk II 1994/95, 18 986, nr. 11, p. 1.
De heer Reitsma (CDA) in Kamerstuk II 1995/96, 18 986, nr. 19, p. 16. Zie ook Kamerstuk II 1995/96, 18 986, nr. 34, p. 11.
Kamerstuk II 2000/01, 27 465, nr. 2. Zie opmerkingen van de heer Van Gijzel (PvdA) (p. 1) en de heer Van den Berg (SGP)(p. 4).
Kamerstuk II 2000/01, 27 465, nr. 2. Zie bijvoorbeeld opmerkingen van de heer Van Gijzel (PvA)(p. 1/2), de heer Van Walsum (D66), mevrouw Halsema (GroenLinks)(p. 3) en de heer Reitsma (CDA)(p. 6).
De heer Reitsma (CDA) in Kamerstuk II 1999/2000, 26 464, nr. 18, p. 7–8. Zie verder Kamerstuk II 2000/01, 27 465, nr. 2, in het bijzonder opmerkingen van de heer Van Gijzel (PvdA)(p. 1–2), de heer Van den Berg (SGP)(p. 4) en de heer Hofstra (VVD)(p. 4).
Kamerstuk II 1996/97, 25 228, nr. 1. Zie ook: Beleidskader toelating tot het spoorvervoer (1997): concurrentie als marktmodel.
Kamerstuk II 1996/97, 18 986, nr. 40. Zie opmerkingen van de heer Rosenmüller (GroenLinks) (p. 5–6) en mevrouw Van ’t Riet (p. 8).
Mevrouw Halsema (GroenLinks) in Handelingen II 2001/02, nr. 61, p. 4129. Overigens geeft de heer Hofstra (VVD) aan dat «het wetsvoorstel niet klaar was voor parlementaire behandeling» (p. 4147).
«[B]enodigde contracten tussen de overheid en elk van de nieuwe NS-bedrijfseenheden worden uitgewerkt en gesloten.» Kamerstuk II 1991/92, 18 986, nr. 3, p. 6.
Zie S.C. Peij (2005), Commissaris op de bestuursstoel, Assen: Van Gorcum, specifiek p. 74. Tijdens gesprekken die de parlementaire onderzoekscommissie heeft gevoerd werd dit perspectief bevestigd.
Kamerstuk II 1995/96, 18 986, nr. 19, p. 65. Zie ook eerdere opmerkingen van de heer Van den Berg (SGP)(p. 41).
Zie meerdere opmerkingen van Kamerleden over dit feit in Handelingen I 1997/98, nr. 5, p. 152–174.
Een verslag van voorbereidend onderzoek verschijnt op 23 juli 2002 (Kamerstuk I 2001/02, 27 216 en 27 482, nr. 321a). Op 15 april 2003 worden beide wetsvoorstellen plenair behandeld (Handelingen I, 2002/03, nr. 22, p. 680–693 en 701–717 en op 6 mei 2003 wordt gestemd over de tijdens het debat ingediende motie (Handelingen I, 2002/03, nr. 23, p. 721).
M.M.S. Mekel (2003), Van Buurmeijer tot UWV: keuzes met betrekking tot de inrichting van de uitvoering van de werknemersverzekeringen in politicologisch, bestuurskundig en juridisch perspectief, Den Haag: Scriptie Juridische Opleiding voor de Publieke Sector.
I. Groot, L. Kok, en J. van Seters (2002), Lessen uit de privatisering van reïntegratiediensten: onderzoek in opdracht van het Ministerie van Economische Zaken. Amsterdam: SEO, p. 15–16.
H. Bekke, N. van Gestel (2004), Publiek verzekerd: voorgeschiedenis en start van het Uitvoeringsinstituut Werknemersverzekeringen (UWV) 1993–2003, Antwerpen/Apeldoorn: Garant, p. 37.
Vanaf 1998 werd de centrale organisatie van de Arbeidsvoorziening (CBA) een ZBO, met regionale organisaties (RBA) met een eigen bestuur. Een aantal taken van het CBA en de RBA's zijn later ondergebracht bij de Centra voor Werk en Inkomen (CWI).
Wet terugdringing arbeidsongeschiktheidsvolume (TVA), Wet terugdringing beroep op de arbeidsongeschiktheidsregelingen (TBA), Wet terugdringing ziekteverzuim (TZ), Wet afschaffing malus en bevordering reïntegratie (Amber), Wet uitbreiding loondoorbetaling bij ziekte (Wulbz), en Premiedifferentiatie en Markwerking bij arbeidsongeschiktheid (Pemba).
Inclusief mensen met een uitkering volgens de nabestaandenwet, I. Groot et al. (2002), p. 38).
Bedoeld wordt werkzoekenden die niet op eigen kracht een baan kunnen vinden en bemiddeling nodig hebben (mensen met schulden en/of psychische problemen, alcohol- en drugsverslaafden), maar ook werkzoekenden met een (arbeids)handicap, bijvoorbeeld slechtzienden, mensen met een dwarslaesie etc.
Tot 2002 waren dat GAK, Cadans, Uszo, Sfb en GUO. Per 1 januari 2002 zijn deze vijf uitvoeringsinstellingen samengevoegd in één publiekrechtelijke instantie, het UWV.
Dit Kabinetsstandpunt is eerder al in een adviesaanvraag aan de SER voorgelegd en middels een discussienota voorgelegd aan de besturen van het CBA, het Lisv, de VNG, het Ctsv en de sociale partners.
Waarbij 80 procent van de reïntegratiedienstverlening bij Arbeidsvoorziening moest worden ingekocht.
De Eerste Kamer is door middel van de begrotingsbehandeling wel op de hoogte van de plannen omtrent de toekomstige Structuur Uitvoering Werk en Inkomen (SUWI).
En die in de eerste fase naar privatisering binnen Arbeidsvoorziening al in een zelfstandig bedrijfsonderdeel zijn ondergebracht, namelijk het Reïntegratiebedrijf Arbeidsvoorziening.
Bedoeld wordt het aftreden van de bestuurders van het CBA, en het aanstellen van de nieuwe bestuurders LeBlanc en Aptroot.
Hier wordt gedoeld op het onderzoek dat door KPMG wordt uitgevoerd in opdracht van de Tweede Kamer naar de levensvatbaarheid en startpositie van Kliq.
Hier wordt gerefereerd aan de omvang van het personeelsbestand. Al voor 1 juli 2001 moet de omvang met ca. 700 FTE worden aangepast. Maar ook na 1 juli zullen naar verwachting nog aanpassingen plaatsvinden, zie Kamerstukken II 2000/01, 27 549 en 27 296, nr. 6, p. 6.
Brief vaste Kamercommissie voor SZW aan het Presidium van de Tweede Kamer, 13 december 2000.
KPMG accountants NV (2001), Rapport van bevindingen onderzoek samenstelling openingsbalans NV Kliq i.o., in opdracht van de Tweede Kamer der Staten-Generaal, Amstelveen, 17 september 2001.
Het betreft hier de nog niet aangesproken rekening courant faciliteit van 17 mln euro en een reservering van ruim 17 mln euro bestemd voor het afdekken van bovenmatige salarissen. Daarnaast is er de verwachting dat Nieuw Kliq 4 mln euro goodwill zal betalen voor de overname van contracten van Oud Kliq.
Behoudens een aantal vragen dat is gesteld aan de minister van Financiën (30 oktober 2003) over het niet doorgaan van de verkoop aan Solvus, Kamerstuk II 2003/04, 26 448, nr. 96, p. 2.
Regioplan (2000), Een markt in ontwikkeling? Eerste inventarisatie van de stand van zaken op de markt voor reïntegratiediensten, Den Haag.
De aanbestedingsronde was een gevolg van het loslaten van de verplichte inkoop van reïntegratiedienstverlening bij Arbeidsvoorziening. Het betrof hier de zogenaamde verplichte winkelnering, die per 1 januari 2000 is losgelaten.
(1) 26 448, nr. 16, (2) 26 448, nr. 26, (3) 26 448, nr. 35, (4) 26 448, nr. 58, (5) 26 448, nr. 69, (6) 26 448, nr. 82, (7) 26 448, nr. 141, (8) 26 448, nr. 157, (9) 26 448, nr. 207, (10) 26 448, nr. 230, (11) 26 448, nr. 271, (12) 26 448, nr. 294, (13) 26 448, nr. 331, (14) 26 448, nr. 343.
Regioplan (2002), Op weg naar volwassenheid: tweede inventarisatie van de stand van zaken op de markt voor reïntegratiediensten, Den Haag.
Regioplan (2006), De reïntegratiemarkt geijkt. Evaluatie introductie marktwerking bij reïntegratie van niet-werkenden, Den Haag.
Regioplan (2006), De reïntegratiemarkt geijkt. Evaluatie introductie marktwerking bij reïntegratie van niet-werkenden, Amsterdam, p. 97.
Het betreft de volgende onderzoeken, waarin het aspect effectiviteit van reïntegratiediensten min of meer centraal stond:
– Orbis Arbeid en Sociale Zekerheid BV(2004), Volg het spoor terug: effectiviteit in reïntegratie, Amsterdam.
– Stichting Economisch Onderzoek (2005), Marktwerking in de reïntegratie, Amsterdam.
– Stichting Economisch Onderzoek (2006), De weg terug: epiloog, Amsterdam.
– SWA/TNO (2006), De juiste klant op het juiste traject. Een onderzoek naar de netto-effectiviteit van het Rotterdamse reïntegratiebeleid voor het ontwikkelen van klantprofielen, Rotterdam/Hoofddorp.
– SEOR Erasmus Universiteit (2005), Effectiviteit van reïntegratie, Rotterdam.
– SEOR Erasmus Universiteit (2006), Meta-analyse effecten reïntegratiebeleid, Rotterdam.
Het betreft de volgende vier studies:
– Stichting Economisch Onderzoek (2006), De weg naar werk, Amsterdam.
– Stichting Economisch Onderzoek, De reïntegratiemarkt anno 2006, Amsterdam.
– TNO Kwaliteit van Leven (2006), SUWI-evaluatie – perceel 2: Werk boven uitkering, Hoofddorp.
– Inspectie Werk en Inkomen (2006), Van aanbesteden tot uitvoeren, Den Haag.
Regioplan (2006), De reïntegratiemarkt geijkt. Evaluatie introductie marktwerking bij reïntegratie van niet-werkenden, Amsterdam, p. 96.
Regioplan (2006), De reïntegratiemarkt geijkt. Evaluatie introductie marktwerking bij reïntegratie van niet-werkenden, Amsterdam, p. 98.
Regioplan (2006), De reïntegratiemarkt geijkt. Evaluatie introductie marktwerking bij reïntegratie van niet-werkenden, Amsterdam, p. 99.
Zie A. Corra, M. Plantinga en J. de Ridder (2010), The challenges of contracting for a complex task: analyzing the contracting out of employment reintegration services by Dutch municipalities, Universiteit van Groningen, gepresenteerd op congres.
Het betreft hier de komst van de IRO-trajecten (Individuele Reïntegratie Overeenkomst) en de invoering van het protocol Zeer Moeilijk Plaatsbaren en het scholingsprotocol, zie Regioplan (2006), p. IV.
Het betreft hier overigens ook een reactie op een eerder gedane toezegging (bij indiening van het wetsvoorstel, d.d. 8 december 2000), na beoordeling van het ondernemingsplan van Kliq nadere informatie over een aantal financiële thema's aan te reiken, zodat de Kamer over de meest recente informatie zou kunnen beschikken die noodzakelijk.
Feitelijk drie wetten tegelijk: Wet structuur uitvoeringsorganisatie werk en inkomen (27 588), Invoeringswet Wet structuur uitvoeringsorganisatie werk en inkomen (27 665), en Wet verbetering poortwachter (27 678).
De VVD is van mening dat de discussie eerst maar eens aan de overzijde gevoerd moet worden, zie Handelingen I 1999/00, nr. 26, p. 1201.
Conform de procedureregeling grote projecten (Kamerstuk II 1995/96, 24 752, nr. 2) kunnen commissies op elk moment voorstellen aan de Kamer doen tot aanwijzing van een groot project. Deze projecten moeten aan tenminste drie criteria voldoen (niet-routinematig, staat is (grotendeels) verantwoordelijk en er is sprake van substantiële financiële risico's). De commissie maakt met de verantwoordelijke minister afspraken over de informatie-eisen en de frequentie van voortgangsrapportages en is verantwoordelijk voor de controle op het aangewezen project.
Kamerstuk II 1999/00, 26 448, nr. 11, p. 1. Redenen die genoemd worden zijn dat de operatie voor de samenleving van grote betekenis is, en het gaat om de uitvoering van wettelijke regels, gefinancierd met wettelijk vastgestelde en opgelegde premies. Daarnaast betreft het een complex besturings- en uitvoeringsproces, en gaat het proces vermoedelijk gepaard met grote kosten en baten.
In het kader van het SUWI-traject is er ook aandacht voor de grote reorganisatie van de uitvoeringsinstellingen en de gevolgen van het personeel van deze megaoperatie, maar dat laten we hier verder buiten beschouwing.
Zie J. J. de Jong et al. (2005), Dertig Jaar Nederlands Energiebeleid, Den Haag: Clingendael International Energy Programme; met name hoofdstuk 7.
Zie E. van Damme (2005), «Liberalizing the Dutch Electricity Market: 1998–2004», The Quarterly Journal of IAEE’s Energy Economics Education Foundation, 26 (special issue), p. 155–180.
M. Veraart (2010), «Strompelend hervormingsproces in de energiesector. Analyse van recente ontwikkelingen», Tijdschrift voor Openbare Financiën, 42 (1), p. 55–65.
Onderzoek Marktwerkingsbeleid (2008), Den Haag: Ministerie van Economische Zaken, p. 138.
TenneT BV beheerde en bezat ongeveer 12 procent van de transportnetten van 150kV. Overigens waren met name Nuon en Essent beheerder en eigenaar van de transportnetten van 110 en 150 kV. Met de Wet Onafhankelijk Netbeheer (2006) werd vastgelegd dat alle transportnetten vanaf 110 kV onder beheer van TenneT BV moesten komen.
M. Veraart (2007), Sturing van publieke dienstverlening, Assen: Van Gorcum, p. 171; M. Mulder et al. (2005) «Vertical separation of the energy-distribution industry. An assessment of several options for unbundling», CPB-document nr. 84, Den Haag: CPB, p. 16.
Overigens splitste NRE vrijwillig op het moment dat het debat over de Wet Onafhankelijk Netbeheer nog liep.
Wiardi Beckman Stichting (2002), Grenzen aan de markt, Den Haag: Wiardi Beckman
Stichting, p. 94; Europees Parlement en Europese Raad (1996) Richtlijn nr. 96/92 van 19 december 1996 betreffende gemeenschappelijke regels voor de interne markt voor elektriciteit.
Wiardi Beckman Stichting (2002), Grenzen aan de markt, Den Haag: Wiardi Beckman
Stichting, p. 96.
Omdat de afnemersmarkt stapsgewijs werd vrijgegeven, was tot 1 juli 2004 sprake van gebonden klanten die geen keuze hadden van energieleverancier. Een bedrijf dat in een bepaalde regio energie mocht leveren aan gebonden klanten was vergunninghouder en had daarmee een monopoliepositie.
Kamerstuk II 1997/98, 25 621, nr. 53; Dit voorstel dient ook in het licht te worden bezien van de zogenoemde bakstenen discussie (De Jong et al. 2005). De productiebedrijven waren nogal wat verplichtingen aangegaan (bijvoorbeeld een experimentele kolenvergasser in Buggenum), mede op aanwijzing van de overheid, die onrendabel waren voor een normale marktpartij (de zogenaamde bakstenen). Bij een eventuele vervreemding van aandelen zou de minister moeten beoordelen of de nieuwe eigenaar de mogelijke gevolgen van deze verplichtingen zou kunnen dragen.
Overigens werd UNA in 2003 weer overgenomen door Nuon, zodat dit productiebedrijf weer in publieke handen kwam.
Zie J.J. de Jong et al. (2005), Dertig Jaar Nederlands Energiebeleid, Den Haag: Clingendael International Energy Programme; hoofdstuk 7.
E. van Damme (2005), «Liberalizing the Dutch Electricity Market: 1998–2004», The Quarterly Journal of IAEE’s Energy Economics Education Foundation, 26 (special issue), p. 155–180.
Deze datum was al eerder verlengd van 31 december 2002 naar 31 december 2003. Nu werd deze einddatum helemaal geschrapt.
Dit geschiedde door een amendement van Crone en Witteveen; Kamerstuk II 2000/01, 27 250, nr. 21: «Zolang onvoldoende inzicht bestaat in het functioneren van netwerkbeheerders in een vrije energiemarkt is het onwenselijk om in de overgangsfase waarin de sector zich thans bevindt of eventueel ook daarna tot privatisering van netwerkbeheerders en netwerken over te gaan.»
C. Bijvoet, M. de Nooij en C. Koopmans (2003), Gansch het raderwerk staat stil: de kosten van stroomstoringen, SEO-rapport 685, Amsterdam: Stichting voor Economisch Onderzoek, p. 28.
Veld, R. op het (2005) «Kortsluiting in de energielobby», Het Financieele Dagblad, 19 maart; besloten interview met de heer Van Halderen (26 maart 2012); besloten interview met de heer Crone (2 april 2012).
Van de fracties in de Tweede Kamer lijken alleen het CDA en de SP van positie te zijn gewijzigd ten opzichte van hun eerdere standpunt. Het CDA leek lange tijd tegen het wetsvoorstel te zijn maar ging uiteindelijk toch akkoord. De SP uitte zich vóór het wetsvoorstel positief over het splitsingsplan maar werd gaandeweg tegenstander.
Handelingen II 2005/06, nr. 77; Handelingen I 2006/07, nr. 9; Kamerstuk I 2006/07, 30 212, nr. H.
De Eerste Kamer had met een aangenomen motie aangedrongen op 1 juli 2009, maar in de ministerraad werd uiteindelijk voor 1 juli 2008 gekozen als compromis tussen de wens van de Eerste Kamer van een vertraagde inwerkingtreding en de wens van de minister en de Tweede Kamer van een inwerkingtreding per 1 augustus 2007.
Zie ook: Wetenschappelijke Raad voor het Regeringsbeleid (2012), Publieke Zaken in de Marktsamenleving, WRR-rapport 87, Amsterdam: Amsterdam University Press.
Dit zou bijvoorbeeld het geval kunnen zijn als het energiebedrijf te weinig financiële middelen aanwendt om te investeren in het net en deze middelen vooral inzet bij de commerciële tak.
Ook fractievoorzitter Jan Marijnissen had (in 2003) de wenselijkheid van splitsing benadrukt, hetgeen opvallend is aangezien de SP later de grootste tegenstander van de Wet Onafhankelijk Netbeheer zou worden: «De problemen (...) zijn grotendeels terug te voeren op een gebrekkige scheiding tussen de netbedrijven en de leveranciers. Dit zijn doorgaans onderdelen van hetzelfde concern. (...) Het is onder die omstandigheden niet zo verrassend dat een netbedrijf de gezamenlijke jaarrekening probeert op te poetsen door zijn eigen leverancier voor te trekken. De minister wil dit in de toekomst voorkomen door «de eisen aan de onafhankelijkheid van netbeheerders te verscherpen». Het is hem kennelijk een brug te ver om ze echt onafhankelijk te maken. Volgens de SP moet dit wel. Het heeft geen zin om stroomnetten dubbel uit te voeren en dus zullen netbedrijven altijd een monopoliepositie hebben. Om te voorkomen dat ze deze gaan misbruiken, moeten hun banden met leveranciersbedrijven worden doorgesneden en zullen ze in overheidshanden moeten blijven.» (J. Marijnissen (2003), «Blunder vrije energiemarkt steeds duidelijker», Het Financieele Dagblad, 9 september).
R. Blom, M. Boersma, L. van Halderen en D. Luteijn (2005) «Neem geen onherroepelijke besluiten over energiesector», NRC Handelsblad, 2 september 2005.
Op het Veld, R. (2005) «Brinkhorst is een leugenaar», Het Financieele Dagblad, 26 januari 2006.
Overigens leert navraag bij experts ons dat er tot op heden (september 2012) nog geen claims zijn ingediend en ook niet verwacht worden.
Bij decentrale opwekking vindt de opwekking van elektriciteit niet in de grote energiecentrales van de productiebedrijven plaats, maar in kleinere opwekkingseenheden van burgers en bedrijven – bijvoorbeeld op basis van duurzame bronnen zoals wind, water en zon.
Handelingen I 2006/07, nr. 7, p. 302; Volgens de heer Doek (besloten interview; 26 maart 2012) was dit opgenomen om de VVD-fractie – een voorstander van de wet – mee te krijgen met de motie.
(1) Het garanderen van eerlijke marktwerking; (2) het beschermen van het netbeheer tegen onwenselijke commerciële invloeden; en (3) het doorbreken van de privatiseringsimpasse.
Het onderscheid tussen markten ordenen door te interveniëren dan wel door middel van voorwaarden stellen is ontleend aan: Dix, G. (2011). Procedures en problemen op de markt voor reïntegratiedienstverlening, WRR-webpublicatie nr. 54, document beschikbaar op: www.wrr.nl.
Kamerstuk II 2005/06, 30 212, nr. 5, p. 33, 35 en 36; Kamerstuk II 2005/06, 30 212, nr. 15, p. 34.
Kamerstuk II 2005/06, 30 212, nr. 6, p. 79. Overigens was het idee dat publieke belangen voornamelijk via wet- en regelgeving worden geborgd en dat publiek aandeelhouderschap hier weinig toegevoegde waarde heeft, al lange tijd het regeringsbeleid op het gebied van staatsdeelnemingen. Hier kwam pas in 2007 verandering in, toen in een nieuwe nota staatsdeelnemingenbeleid meer vertrouwen werd uitgesproken in overheidsaandeelhouderschap als middel om publieke belangen te behartigen (zie de achtergrondstudie door de WRR ten behoeve van het parlementaire onderzoek).
Overigens gold dit niet voor publieke aandeelhouders: die mochten na splitsing 100 procent aandeelhouder zijn van zowel het netwerkbedrijf als het commerciële energiebedrijf.
Kamerstuk II 2005/06, 30 212, nr. 15, p. 22, 37, 43; Handelingen II 2005/06, nr. 71, p. 4481 en 4504.
Zie bijvoorbeeld de uiteenzetting van Vendrik (GroenLinks) in: Handelingen II 2005/06, nr.71, p. 4504–4506.
Handelingen I 2006/07, nr. 7, p. 267. In plaats van de oprichting van een expertise bij het ministerie van Economische Zaken is op 11 oktober 2007 een eenmalig congres voor publieke aandeelhouders van energiebedrijven georganiseerd. De «shareholders academy» werd dus omgedoopt tot «Dag voor aandeelhouders» (Kamerstuk II, 2007–2008, 31 200 XIII, nr. 2). Wel werd door de minister begin 2008 een adviesgroep ingesteld (met daarin onder andere de heren Kist, Crone en Ketting) om publieke aandeelhouders te adviseren over hun toekomstige rol. Dit leidde onder andere tot de publicatie: A.W. Kist et al. (2008). Publiek Aandeelhouderschap Energiebedrijven.
In het debat werden de verschillende termen zoals die in deze tekst worden gehanteerd niet altijd genoemd terwijl men wel sprak over belangen of doelen die onder de genoemde terminologie kunnen worden geschaard.
Zie onder andere: J.J. de Jong et al. (2005), Dertig Jaar Nederlands Energiebeleid. Van Bonzen, Polders, Markten naar Brussel zonder Koolstof. Den Haag: Clingendael International Energy Programme; M. Mulder en B. Willems (2009) «Borging van publieke belangen in de energievoorziening, in: in E. van Damme en M.P. Schinkel (red.) Marktwerking en Publieke Belangen. Koninklijke Vereniging voor de Staathuishoudkunde Preadviezen 2009, Amsterdam: Koninklijke Vereniging voor de Staathuishoudkunde; Onderzoek Marktwerking, Den Haag: Ministerie van Economische Zaken; Kamerstuk II, 2004/05, 30 212, nr. 3; A.W. Kist et al. (2008) Publiek Aandeelhouderschap Energiebedrijven, Den Haag: Ministerie van Economische Zaken.
Soms wordt ook gewezen op het publieke belang van sectorale werkgelegenheid, zij het niet in het parlementaire debat in dit dossier; zie Sociaal-Economische Raad (2010), Overheid én markt. het resultaat telt! Den Haag: SER, p. 57–58. De discussie over de effecten van de wet op sectorale werkgelegenheid wordt behandeld in paragrafen 5.2 en 5.3.
De Validatiecommissie bestond uit mr. A.W. Kist, prof. mr. K. van Raad en prof. dr. A.W.A. Boot.
Centraal Planbureau (2006), Kwantitatieve verkenning welvaartseffecten splitsing energiebedrijven, Den Haag: CPB, p. 1–5.
Centraal Planbureau (2006), Kwantitatieve verkenning welvaartseffecten splitsing energiebedrijven, Den Haag: CPB, p. 5.
Kamerstuk I 2006/07, 30 212, nr. F, p. 4; De «slimme meter» geeft zowel afnemers als netbeheerders meer informatie over de hoogte van het stroomverbruik, waardoor onder andere verminderd energieverbruik duidelijker zichtbaar wordt.
Kamerstuk II 2004/05, 28 982, nr. 37, p. 6; Kamerstuk II 2005/06, 30 212, nr. 6, p. 35; Handelingen II 2005/06, nr. 73, p. 4596.
Kamerstuk II, 2004/05, 29 303, nr. 9, p. 6 en 23; Handelingen II, 2005/06, nr. 71, p. 4493.
Overigens zijn er, voor zover bekend, geen officiële (evaluatie)studies gedaan naar de effecten van splitsing bij Nuon en Essent in vergelijking met bijvoorbeeld de ongesplitste bedrijven Eneco en Delta. Zo is bijvoorbeeld (nog) niet onderzocht of marktwerking beter tot stand komt op de afgesplitste netten dan op de netten die nog onder beheer van de geïntegreerde bedrijven zijn. Wel stelden de heer Mulder (besloten interview 20 maart 2012), de heer Doek (besloten interview 26 maart) en de heer Crone (besloten interview 2 april 2012) dat decentrale opwekking van elektriciteit momenteel waarschijnlijk meer wordt gestimuleerd bij zelfstandige netwerkbedrijven dan bij netbeheerders die nog onderdeel zijn van een geïntegreerd energiebedrijf.
Onderzoek Marktwerkingsbeleid (2008), Den Haag: Ministerie van Economische Zaken, p. 152.
Onderzoek Marktwerkingsbeleid (2008), Den Haag: Ministerie van Economische Zaken, p. 152.
Dit impliceerde dat indien één der Kamers dit wenst, binnen vier weken na het inzien van (een wijziging van) de ministeriele regeling geëist kan worden dat dit per wet wordt afgehandeld in plaats van met een Algemene Maatregel van Bestuur.
R. op het Veld (2007) «Energiesector wil uitleg EZ over splitsing; Verbazing over interpretatie wet», Het Financieele Dagblad, 5 april. Overigens was oud-minister Brinkhorst ook niet onder de indruk van deze motivering: «Toen heeft [Van der Hoeven] dat argument gebruikt van die buitenlandse aankoop van DELTA, hoewel dat natuurlijk niets met de splitsingsproblematiek te maken had. Het ging nergens over.» (geciteerd in: N. Köper (2008) Hoogspanning, Amsterdam/Antwerpen: Uitgeverij Business Contact, p. 74).
Sociaal-Economische Raad (2006) «Vier Jaar Kamerervaring», SER-Bulletin, nr. 10, oktober.
Geciteerd in: «Energiestrijd eindigt in «poldercompromis»«, Het Financieele Dagblad, 16 november 2006.
Geciteerd in: N. Köper (2008), Hoogspanning, Amsterdam/Antwerpen: Uitgeverij Business Contact, p. 27.
Voor een gedetailleerde beschrijving van de verschillende manieren waarop dit protest en deze lobby vorm kreeg, zie: N. Köper (2008), Hoogspanning. Macht en onmacht in het Nederlandse energiebeleid, Amsterdam/Antwerpen: Uitgeverij Business Contact.
A. Huygen (2006) «Politici moeten niet bij ieder wissewasje onderzoek laten doen wat het volk vindt», Trouw, 7 februari.
R. Janssen (2006), «Provincies verdeeld over toekomst energiesector», NRC Handelsblad, 21 maart; M. aan de Brugh (2005), «Lot energiesector verdeelt provincies», NRC Handelsblad, 30 augustus; R. op het Veld (2005), «Kortsluiting in de energielobby», Het Financieele Dagblad, 19 maart.
«Kamer: energieadvies van de landsadvocaat», Het Financieele Dagblad , 16 juni 2005; Kamerstuk II 2005/2006, 30 212, nr. 9; R. Janssen, «Provincies verdeeld over toekomst energiesector», NRC Handelsblad, 21 maart 2006.
S. Van Thiel (2011), «Zelfstandige bestuursorganen en de grenzen van de ministeriële verantwoordelijkheid», in: R. Andeweg en J. Thomassen (red.), Democratie doorgelicht, Amsterdam, Leiden/Amsterdam University Press. Tabel 1.
J. Kohnstamm (2004), Een herkenbare staat: investeren in de overheid (Rapport van de werkgroep Verzelfstandigde Operaties op Rijksniveau), p. 6.
Kamerstuk II 1994/95, 24 130, nr. 3, p. 3. Nota bene: een cluster van ZBO’s heeft dezelfde wettelijke grondslag, maar betreft meerdere organen. Zie bijvoorbeeld de kamers van koophandel.
Evaluatie Kaderwet zelfstandige bestuursorganen, 11 januari 2012, p. 19–23. In de herziene evaluatie (Kamerstuk II, 2011/12, 33 147, nr. 2 met bijlage) wordt gesproken van 162 (clusters van) ZBO's; dat is inclusief 34 ZBO's die zijn of worden opgeheven.
Zie artikel 44 lid 1 van de Grondwet, waarin staat dat ministeries onder leiding van een minister staan. Hieruit volgt de verantwoordelijkheid van de minister voor de onder hem ressorterende ambtenaren. Overigens is de ministeriële verantwoordelijkheid breder. Ze strekt zich ook uit tot de besluiten van de ministerraad (op grond van het homogeniteitsbeginsel, neergelegd in artikel 12 lid 2 van het reglement van orde van de ministerraad) en het handelen en nalaten van de Koning (artikel 42 lid 2 Grondwet). Het voert te ver om hier dieper op in te gaan.
Een vergelijking kan worden gemaakt met het vaststellen van beleidsregels, zie artikelen 4:81 tot en met 4:84 van de Algemene wet bestuursrecht.
Zie de rapporten van de commissies-Scheltema en -Wiegel, besproken in paragraaf 1.3. Zie ook de kabinetsnotitie «Herstel van het primaat van de politiek bij de aansturing van zelfstandige bestuursorganen», Kamerstuk II 1994/95, 24 130, nr. 5, p. 4–5. Hier wordt de scheiding van beleid en uitvoering als argument voor verzelfstandiging genoemd.
Zie artikelen 10 en 11 van de Comptabiliteitswet 2001. In deze wet worden de agentschappen aangeduid als «baten-lastendiensten».
Het begrip RWT kent zijn grondslag in de Comptabiliteitswet. De Algemene Rekenkamer houdt informatie over RWT’s bij, zie http://www.rekenkamer.nl/Publicaties/Dossiers/B/Bestuur_op_afstand/Wat_is_een_rechtspersoon_met_een_wettelijke_taak/Overzicht_met_rechtspersonen_met_een_wettelijke_taak_RWT. Er is overigens een grote overlap tussen RWT’s en ZBO’s.
Zie het regeerakkoord van het kabinet-Lubbers I, Kamerstuk II 1982/83, 17 555, nr. 7, met name bijlage 6, p. 68.
H.J. Ter Bogt (1998), Neo-institutionele economie, management control en verzelfstandiging van overheidsorganisaties: overwegingen voor verzelfstandiging en effecten op efficiëntie en financieel-economische sturing (dissertatie Rijksuniversiteit Groningen), p. 26.
Kamerstuk 1987/88, 20 200 VII, nr. 43. De motie is ingediend door Lauxtermann (VVD), De Cloe (PvdA), Kohnstamm (D66), Schutte (GPV) en Van den Berg (SGP) en luidt: «De Kamer, gehoord de beraadslaging; overwegende, dat de begrippen «functionele decentralisatie» en «zelfstandige bestuursorganen» door de regering nog niet eenduidig zijn gedefinieerd; overwegende voorts, dat er onderzoek gaande is naar plaats en functie van zelfstandige bestuursorganen; spreekt als haar oordeel uit dat, zolang over de begrippen en de doelstellingen geen duidelijkheid bestaat, functionele decentralisatie aan andere dan bestaande gedecentraliseerde lichamen vooralsnog niet behoort te vallen binnen de decentralisatie-activiteiten van de regering, en gaat over tot de orde van de dag.»
In een motie van 30 november 1989 (Kamerstuk II 1989/90, 21 132, nr. 27) wordt het presidium opgedragen een grondige bestudering te organiseren van een aantal onderwerpen met betrekking tot staatkundige, bestuurlijke en staatsrechtelijke vernieuwing. Hieruit vloeien vier rapporten voort van vier externe commissies. Naast de twee genoemde rapporten zijn dat het rapport van de commissie-De Koning over de relatie kiezers-gekozenen op landelijk niveau (Kamerstuk II 1992/93, 21 427, nr. 37) en het rapport van de commissie-Van Thijn over de benoemingsprocedure van de burgemeester (Kamerstuk 1992/93, 21 427, nr. 35).
Kamerstuk II 1992/93, 21 427, nr. 52, p. 4. Ter vergelijking: in 2010 telde Nederland 124 000 rijksambtenaren. Bron: Trendnota Arbeidszaken Overheid 2011, http://www.inoverheid.nl/artikel/artikelen/1172711/hoeveel-ambtenaren-telt-ons-land.html
Met burgermacht wordt bedoeld verschillende manieren waarop de burger zijn invloed kan uitoefenen op het overheidsbeleid.
Kamerstuk II 1994/95, 24 130, nr. 16. De rapporten worden vaker genoemd in Kamerdebatten, maar dit is de enige keer dat ze op de agenda staan. Als vierde punt op de agenda staat de brief van de minister van Financiën van 12 april 1995 inzake agentschappen, kamerstuk 23 171, nr. 3.
Kamerstuk II 1994/95, 24 130, nr. 16, p. 12–13. Overigens spreekt Sipkes het belang of de noodzaak van een kaderwet ook niet expliciet tegen.
M. Josten en M. Van Weezel, «Minister Dijkstal stuit op het eigenbelang van zijn collega's». Vrij Nederland, 8 maart 1997.
Kamerstuk 1987/88, 20 000 VII, nr. 43. Belinfante zegt abusievelijk dat de motie van Lauxtermann (VVD) uit 1987 komt, terwijl die op 29 februari 1988 is voorgesteld tijdens een vergadering van de commissie voor Binnenlandse Zaken.
Handelingen II 2001/02, nr. 50, p. 3529. Nota bene: de motie waaraan wordt gerefeerd is aangenomen op 22 maart 1988.
Bedoeld wordt prof. dr. Van Thiel, tegenwoordig hoogleraar bestuurskunde aan de Radboud Universiteit.
Handelingen II 2001/02, nr. 54, p. 3722. Het Kamerdebat waarnaar de heer Pitstra verwijst is Handelingen II 1990/91, nr. 80, p. 4487–4517 en Handelingen II 1990/91, nr. 82, p. 4572–4596. Mevrouw Scheltema-de Nie stelt in dat debat: «Wij vinden dat ieder zelfstandig bestuursorgaan zou moeten worden verplicht de betrokken minister alle informatie te verschaffen, die deze verlangt.» Zie Handelingen II 1990/91, nr. 80, p. 4503. De bedoeling van mevrouw Scheltema-de Nie is dat de Kamer via de minister informatie kan achterhalen over het ZBO. Minister van Binnenlandse Zaken Dales ontraadt dit. Zij stelt dat de Kamer eventuele informatie rechtstreeks bij het ZBO kan opvragen, buiten de minister om. Zie Handelingen II 1990/91, nr. 82, p. 4581–4582.
Motie-Scheltema-de Nie en Pitstra over onderzoek naar mogelijkheden algemene regels op te stellen voor andere rechtspersonen met een wettelijke taak en motie-Te Veldhuis over vergelijkbare regelingen voor verzelfstandigingen bij provincies en gemeenten worden aangenomen. Motie-Te Veldhuis over verschaffen van inzicht in alle bezoldigingen en rechtspositieregelingen bij ZBO's vóór juli 2002 wordt verworpen. De amendementen handelen over zaken als de voorhangprocedure (amendement 13), het medeondertekeningsrecht voor de minister van Binnenlandse Zaken en Koninkrijksrelaties (amendement 20), de datum van indiening van het jaarverslag van ZBO's (amendement 59) en het enumeratiestelsel (amendement 61). Het voert te ver om alle amendementen te bespreken.
Dat is volgens de minister van Binnenlandse Zaken De Vries het geval, Handelingen II 2001/02, nr. 54, p. 3699.
Zie bijvoorbeeld Handelingen II 2001/02, nr. 50, p. 3531. Het enumeratiestelsel houdt in dat de Kaderwet «van toepassing (is) op die instellingen waarvoor niet alleen geldt dat ze aan de in de Kaderwet gegeven definitie voldoen, maar bovendien dat zij bij de regeling waarin zij met openbaar gezag worden bekleed uitdrukkelijk worden aangewezen als zelfstandig bestuursorgaan waarop de Kaderwet van toepassing is.» Zie memorie van toelichting bij de Kaderwet ZBO, Kamerstuk II 2000/01, 27 426, nr. 3, p. 9. Op advies van de Raad van State is het enumeratiestelsel ingevoerd. Zie Kamerstuk II 2001/02, 27 426, nr. A, p. 4.
De informatieplicht is neergelegd in artikel 14 van het wetsvoorstel zoals dat is ingediend door de regering (Kamerstuk II 2000/01, 27 426, nrs. 1–2, p. 4) en in artikel 20 lid 1van de uiteindelijke Kaderwet ZBO neergelegd en luidt: «Een zelfstandig bestuursorgaan verstrekt desgevraagd aan Onze Minister alle voor de uitoefening van diens taak benodigde inlichtingen. Onze Minister kan inzage vorderen van alle zakelijke gegevens en bescheiden, indien dat voor de vervulling van zijn taak redelijkerwijs nodig is.»
Citaat uit de brief van 9 juli 2004 van de Minister voor Bestuurlijke Vernieuwing en Koninkrijksrelaties aan de Tweede Kamer bij de aanbieding van het rapport-Kohnstamm.
P. Eijlander, «Moeizaam geworstel met zelfstandig bestuur», NRC Handelsblad, 19 augustus 2004; G. Kuiper, «Terugdraaien verzelfstandiging onnodig». Trouw, 27 augustus 2004; M. van Twist en T. Joustra, «Rapport-Kohnstamm slaat de plank mis», Het Financieele Dagblad, 22 november 2004.
Kamerstuk II 2004/05, 25 268, nr. 20, m.n. p. 1. Het online register is te vinden via almanak.ZBOregister.overheid.nl
Handelingen I 2006/07, nr. 4, p. 128. Van Thijn spreekt abusievelijk van de commissie-Kohnstamm. Dit moet zijn de werkgroep-Kohnstamm.
Vergelijk de definitie van de Algemene Rekenkamer: «Met een staatsdeelneming wordt het belang van de staat in het aandelenkapitaal van een kapitaalvennootschap (BV of NV) aangeduid. De staat participeert met een deelneming in het risicodragend vermogen van een kapitaalvennootschap.» Kamerstuk II 2004/05, 30 086, nr. 2, p. 17.
Zie onder andere het bepaalde in paragraaf 5 van hoofdstuk II van de Comptabiliteitswet 2001.
De termen «staatsdeelneming» en «staatsbedrijf» worden niet altijd strikt onderscheiden. Het komt voor dat met de term «staatsdeelneming» niet wordt verwezen naar de aandelen in een vennootschap, maar naar de vennootschap zelf. In feite komen zuivere staatsbedrijven in Nederland niet meer voor.
De Verenigde Oost-Indische Compagnie (VOC) zou als één van de eerste staatsdeelnemingen kunnen worden beschouwd. De VOC is in 1602 mede opgericht door Johan van Oldenbarnevelt, op dat moment de facto politiek leider van de Republiek der Zeven Verenigde Nederlanden. De Staten-Generaal verleenden hoge subsidiebedragen en de bewindvoerders van de VOC moesten zich voor de Staten-Generaal verantwoorden. Zie onder andere V. Enthoven (2001), «De Verenigde Oost-Indische Compagnie en de Staten-Generaal», Armamentaria, 36, p. 31–49.
J. de Vries en K. Yesilkagit (1999), «Core executives and party policies: Privatisation in the Netherlands», West European Politics, 22:1, p. 115–137.
De Kamer vraagt hier voor het eerst naar op 3 april 1996, Kamerstukken II 24 400, 24 555 en 24 634, nr. 46.
Kamerstuk II 1996/97, 25 178, nr. 3. Er staat niet bij vermeld welk Kamerlid welke vraag stelt.
Alleen het GPV, de fractie-Hendriks en de Unie 55+ stemmen tegen. Handelingen II 1997/98, nr. 1, p. 191.
Het project «Marktwerking, deregulering en wetgevingskwaliteit» komt voort uit het regeerakkoord van het kabinet-Kok I en bestaat uit meerdere wetgevingstrajecten met als doel de economische dynamiek kracht bij te zetten. Kamerstukken II 1993/94, 23 715, nr. 11, p. 23.
Een inventarisatie van de evaluaties is opgenomen in de bijlage bij dit deelrapport. Tussen 2003 en 2006 zijn 16 staatsdeelnemingen geëvalueerd, ongeveer de helft van het totaal. De rapporten zijn nagenoeg allemaal geagendeerd voor bespreking in de Tweede Kamer, maar die debatten laten zien dat er vooral over individuele organisaties wordt gesproken en veel minder over het staatsdeelnemingenbeleid in het algemeen. Na 2006 zijn er geen evaluaties meer verschenen omdat dat gezien de nieuwe koers van minister Bos niet meer nodig werd geacht (informatie verkregen uit interview met ambtenaren van het ministerie van Financiën).
Kamerstuk II 2001/02, 28 165, nr. 2, p. 17–18. Met deze nota wordt ook duidelijk dat het ministerie van Financiën voortaan in principe voor alle staatsdeelnemingen de rol van aandeelhouder zal vervullen.
Kamerstuk II 2001/02, 28 165, nr. 3. Nota bene: bij de vragen is niet vermeld wie van welke partij de vraag heeft gesteld. Dit is gebruikelijk bij schriftelijke vragen.
Handelingen II 2003/04, 28 165, nr. 13, p. 9. Blok is tevens voorzitter van het debat. Als hij zijn bijdrage geeft, geeft hij het voorzitterschap niet tijdelijk over, zoals te doen gebruikelijk is. Daarom staat zijn bijdrage in de handelingen onder «De voorzitter».
Kamerstukken II 2006/07, 24 036 en 28 165, nr. 325. Naast het jaarverslag staan ook vijf andere stukken geagendeerd.
Het woord «burger» komt in het stenografisch verslag, dat 33 pagina's kent, slechts vier keer voor, alle keren uitgesproken door minister Bos.
Maar niet in aantal; het aantal staatsdeelnemingen blijft over de jaren heen opvallend gelijk. Dit komt omdat de staat deelnemingen niet alleen afstoot, maar ook nieuwe aangaat.
http://www.nu.nl/economie/2784085/jager-wil-beperking-bonussen-staatsbedrijven.html. De Tweede Kamer heeft nog geen verslag vastgesteld van het debat.
TenneT was tot 2009 ook aangewezen als ZBO, maar de ZBO-taak is overgedragen aan het agentschap (batenlastendienst) SenterNovem, thans Agentschap NL genaamd.
Deze definitie sluit aan bij de begripsomschrijvingen die het ministerie van Financiën hanteert.
Interne verzelfstandiging is uitgesloten van het onderzoek. Dat betreft om het oprichten van batenlasten-diensten of agentschappen zoals het gevangeniswezen (DJI) en de voedsel- en warenautoriteit (nVWA). Agentschappen hebben geen rechtspersoonlijkheid en vallen onder volledige ministeriële verantwoordelijkheid. Zie ook het vijfde casusrapport waarin wordt beschreven dat agentschappen tegenwoordig vaak als alternatief voor de ZBO-vorm worden gezien.
Een klein aantal ZBO’s heeft geen rechtspersoonlijkheid gekregen, zoals bv de Kiesraad. Zie: Van Thiel, S. (2011). Zelfstandige bestuursorganen en de grenzen van de ministeriële verantwoordelijkheid. In: R. Andeweg & J. Thomassen (red.), Democratie doorgelicht, Amsterdam, Leiden/Amsterdam University Press 2011. [pp. 457–475].
Over nationale of sectorale stijlen van verzelfstandiging en privatisering is in de internationale wetenschappelijke literatuur veel geschreven. Uiteindelijk wordt echter vaak geconstateerd dat de onvergelijkbaarheid van landen en sectoren het moeilijk maakt om eenduidige conclusies te trekken. Zie bijvoorbeeld: C. Pollitt & G. Bouckaert. (2011, 3rd ed.), Public management reform: a comparative analysis. Oxford, OUP; C. Pollitt, J. Caulfield, A. Smullen & C. Talbot (2004), How governments do things through semi-autonomous organizations, Basingstoke, Palgrave MacMillan; T. Christensen & P. Laegreid. (eds.). Transcending New Public Management: the transformation of public sector reforms, Aldershot, Ashgate; K. Verhoest, S. Van Thiel, G. Bouckaert & P. Laegreid (Eds.) (2012), Government Agencies: Practices and Lessons from 30 countries, Basingstoke, Palgrave MacMillan; S. van de Walle (2012), Vergelijkende bestuurskunde (oratie 28 juni 2012, Rotterdam).
Marktwerking, deregulering en wetgevingskwaliteit, Onderzoek Sociaal Economische Raad, Kamerstuk II 2009/10, 24 036, nr. 372
In hoofdstuk 6 wordt ten aanzien van de Kaderwet ZBO gewezen op het afwegingskader dat de commissie-Sint in 1994 presenteerde. Dat gaat echter alleen over verzelfstandiging en wanneer welk type van verzelfstandiging het meest geschikt is.
In de wetenschappelijke literatuur worden diverse categorieën van motieven onderscheiden. Ten eerste bestuurlijke motieven zoals de scheiding van beleid en uitvoering, of het tegengaan van overlap in bestuurlijke rollen («dubbele pet») . Ten tweede, politieke motieven zoals ideologische voorkeuren maar ook patronage. Ten derde, financiële motieven zoals bezuinigingen of winsten door de verkoop van organisatieonderdelen of aandelen. En ten vierde, juridische motieven zoals wettelijke verplichting door bijvoorbeeld EU richtlijnen of de noodzaak van onafhankelijke taakuitvoering. Vaak komen besluiten echter ook voort uit historische en pragmatische overwegingen. Zie: W.J.M. Kickert (1998), Aansturing van verzelfstandigde overheidsdiensten, Alphen aan den Rijn: Samsom.; P. Frissen et. al. (1992), Verzelfstandiging in het openbaar bestuur, Den Haag: VUGA; S. van Thiel (2000), Quangocratization: trends, causes and consequences, Amsterdam: Thela Thesis.
Overigens is dit niet uniek voor Nederland; in tal van westerse landen werd marktwerking op dat moment gezien als de oplossing voor de financiële problemen van de overheid (zie: C. Pollitt & G. Bouckaert. (2011, 3rd ed.), Public management reform: a comparative analysis, Oxford, OUP.)
Het is overigens maar de vraag in hoeverre hier ook echt sprake is van een contract in de juridisch-privaatrechtelijke of economische zin. Er is niet echt sprake van een vrijwillig contract tussen gelijkwaardige partners. Beide partijen hebben geen alternatief; er is eerder sprake van een bilateraal monopolie. (J.E. Lane (2000), New Public Management: an introduction, London: Routledge.)
Het instellen van onafhankelijke toezichthouders na privatisering of verzelfstandiging komt veel voor, zozeer zelfs dat Power spreekt van een «audit explosion» terwijl andere auteurs spreken van de rereguleringsparadox. Zie: M. Power (1994), The audit explosion, UK, Demos.
Over onafhankelijk netbeheer en capaciteitsmanagement, zie bijvoorbeeld E. Ten Heuvelhof, K. Koolstra en H. Stout (red.) (2001), Capaciteitsmanagement, beslissen over capaciteit van infrastructuren, Lemma, Utrecht.
De WRR (2000) onderscheidt 3 borgingsmechanismen: hiërarchie (wet- en regelgeving, toezicht), de markt (concurrentie, contracten) en netwerken (zelfregulering).
H. Stout (2007), Weerbare Waarden, borging van publieke belangen in nutssectoren (oratie), Den Haag: Boom Juridische Uitgevers.; J.A. de Bruijn en W.M. Dicke (2006), «Strategies for safeguarding public values in liberalized utility sectors», Public administration, 84, 717–737; Veeneman, W., W. Dicke & M. De Bruijne. (2009). From clouds to hailstorms: a policy and administrative science perspective on safeguarding public values in networked infrastructures. International Journal of Public Policy, 4(5), 226–246.
In de evaluaties staatsdeelnemingenbeleid (zie bijlage 5) worden wel publieke belangen benoemd, evenals in de rapporten van het ministerie van Economische Zaken en de SER (beide uit 2008) over privatisering en marktwerking.
R.E. van der Linde, Y. Peters en M.F.C. Hendriks, «Commissarissen van overheidswege en deelnemingen rijksoverheid: de overheid als zakelijk aandeelhouder», Tijdschrift Privatisering, jrg. 8, nr. 6, p. 20–23.
Als er geen financiële opbrengsten te verwachten zijn, kan besloten worden om het aandeelhouderschap door het vakdepartement te laten vervullen. Dan wordt gesproken van een beleidsdeelneming. Dit is bijvoorbeeld het geval bij ProRail. In het overzicht van deelnemingen (in bijlage 3 van dit rapport) staat bij alle deelnemingen vermeld wie de aandelen beheert.
Niet te verwarren met het opdrachtgeverschap van UWV en gemeenten in de casus reïntegratie; daar ging het om het inkopen van reïntegratiediensten.
P.J. Plug, R. Timmerman, A. Dekker, S. Fooij en S. ten Have (2004), Aansturen van verzelfstandigde organisaties: het creëren van effectieve verbindingen tussen beleid en uitvoering, Berenschot.; S. Van Thiel, A. Jansen, R. Timmerman en P. Plug (2004), «Competenties voor relatiemanagement: tussen ministerie en uitvoeringsorganisatie» in: Bestuurswetenschappen, 68, 495–514; M.J.W. van Twist & P.J. Plug (1998), «Een moeizame verbinding: over de vormgeving van interfaces bij kerndepartementen», Beleidsanalyse, 98/3, p. 15–22; S. van Thiel (ed.) (2004), Governance van uitvoeringsorganisaties, Apeldoorn: Kadaster.
T. Schillemans, Verantwoording in de schaduw van de macht: horizontale verantwoording bij zelfstandige uitvoeringsorganisaties (dissertatie), Utrecht: Lemma, 2008.
Uiteraard zijn er wel wetenschappelijke studies gedaan naar privatisering en verzelfstandiging, zoals bijvoorbeeld van het Loodswezen (Frissen et al.), de Postbank (Van Engelen), KPN (Davids), SUWI (Bekke en Van Gestel), de NS en energie (Veraart). Ook de SER en het Ministerie van Economische Zaken hebben onderzoek gedaan, evenals economische onderzoeksinstituten zoals het SEO. In de casushoofdstukken is gebruikt gemaakt van dergelijke bestaande studies als achtergrondinformatie (zie referenties aldaar).
Van alle dossiers in bijlage 4 is voor tien evaluaties (steekproefsgewijs) nagegaan wat er in de debatten is gezegd over de rapportages.
In het debat in de Tweede Kamer op 5 juli 2012 over het rapport van de Algemene Rekenkamer is de motie Heijnen-Schouw aangenomen (Kamerstuk II 2011/12, 33 240-VII, nr. 9) die oproept tot een fundamentele herziening van het stelsel van ZBO's.
Het «New Public Management» – waarvan verzelfstandiging en privatisering deel uitmaken – heeft het denken over burgers als klanten sterk gestimuleerd. Er zijn echter nogal wat problemen met dit klantdenken. Zo zijn burgers soms onvrijwillig klant (als ze bijvoorbeeld een boete krijgen) , weten ze niet altijd dat ze klant zijn (denk aan onderbenutting van subsidies), of is dienstverlening afhankelijk van hun medewerking (bijvoorbeeld onderwijs). Zie voor een beschouwing over dit soort problemen: J.E. Fountain (2002), «Paradoxes of public sector customer service», Governance, 14, p. 55–73.
Zie bijvoorbeeld het internationaal vergelijkende essay dat is opgesteld als achtergrondstudie voor dit parlementaire onderzoek en E. Kerpershoek, A. Dijkzeul, W. Dicke en H. de Bruijn (2010), Nuance in het marktwerkingsdebat: een enquêteonderzoek naar marktwerking in vier sectoren; Bestuurswetenschappen, 2010(2), 3–17.
Recent onderzoek laat zien dat het parlement weinig gebruik maakt van haar budgetrecht (J. de Kruijf (2011) Autonomy and control of public bodies (dissertatie), Enschede.
Veel directeuren hebben een andere titel zoals Voorzitter van de Raad van Bestuur, of CEO.
Kopieer de link naar uw clipboard
https://zoek.officielebekendmakingen.nl/kst-C-C.html
De hier aangeboden pdf-bestanden van het Staatsblad, Staatscourant, Tractatenblad, provinciaal blad, gemeenteblad, waterschapsblad en blad gemeenschappelijke regeling vormen de formele bekendmakingen in de zin van de Bekendmakingswet en de Rijkswet goedkeuring en bekendmaking verdragen voor zover ze na 1 juli 2009 zijn uitgegeven. Voor pdf-publicaties van vóór deze datum geldt dat alleen de in papieren vorm uitgegeven bladen formele status hebben; de hier aangeboden elektronische versies daarvan worden bij wijze van service aangeboden.