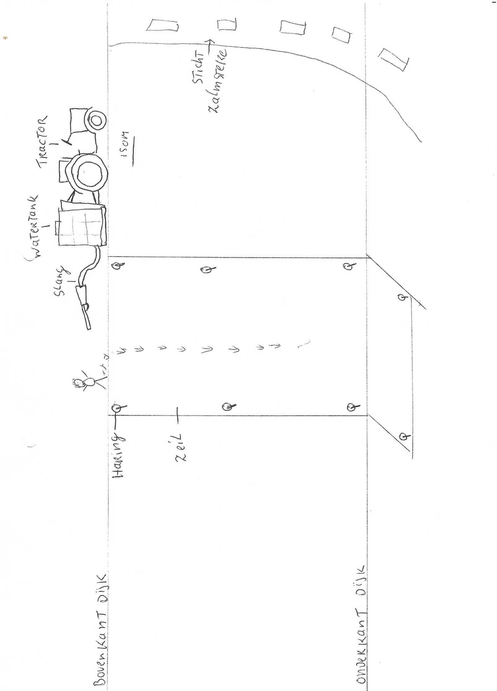
Watervergunning voor het voor één dag hebben van een dijkglijbaan op de locatie bij Recreatieterrein Salmsteke in Jaarsveld. (code HDSR43777)

Het waterschap heeft een watervergunning verleend voor het voor één dag, 28 augustus 2019, hebben van een dijkglijbaan op de locatie bij Recreatieterrein Salmsteke in Jaarsveld in de gemeente Lopik. Dit besluit is verzonden op 24 juli 2019.

Ter inzage

U kunt de vergunning en de bijbehorende stukken inzien tot en met 4 september 2019 bij het waterschap, Poldermolen 2 in Houten op afspraak. Openingstijden: elke werkdag van 9.00 - 17.00 uur.

U kunt de stukken digitaal bekijken via het digitale Waterschapsblad van HDSR opwww.overheid.nl. De stukken hangen als ‘Externe bijlagen’ aan deze publicatie (linker kolom)

Bezwaar

Wanneer u rechtstreeks belanghebbende bent, kunt u binnen 6 weken na verzenddatum bezwaar instellen. Voor meer informatie en het instellen van bezwaar kunt u kijken op onze website http://www.hdsr.nl/vergunningen/verleende-vergunning/bezwaar-beroep/.

Informatie

Wilt u meer informatie? Neem contact op met de afdeling Vergunningverlening en handhaving, telefoonnummer (030) 209 7358. Of kijk op onze website http://www.hdsr.nl/vergunningen/.

Houten, 26 juli 2019

Naar boven