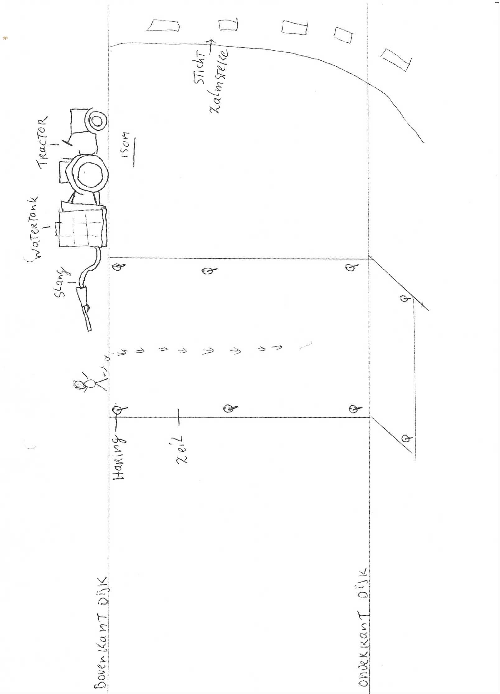
HDSR – Watervergunning voor het voor 1 dag hebben van een dijkglijbaan op de locatie bij Recreatieterrein Salmsteke in Jaarsveld (HDSR29502)

Het waterschap heeft een watervergunning verleend voor het voor 1 dag, te weten op 22 augustus 2018, hebben van een dijkglijbaan op de locatie bij Recreatieterrein Salmsteke in Jaarsveld (code HDSR29502). Dit besluit is verzonden op 18 juli 2018.

Ter inzage

U kunt de vergunning en de bijbehorende stukken inzien van 23 juli 2018 tot en met 29 augustus 2018 bij het waterschap, Poldermolen 2 in Houten op afspraak. Openingstijden: elke werkdag van 9.00 - 17.00 uur.

Bezwaar

Wanneer u rechtstreeks belanghebbende bent, kunt u binnen 6 weken na publicatiedatum bezwaar instellen. Voor meer informatie en het instellen van bezwaar kunt u kijken op onze website http://www.hdsr.nl/vergunningen/verleende-vergunning/bezwaar-beroep/.

Informatie

Wilt u meer informatie? Neem contact op met de afdeling Vergunningverlening en handhaving, telefoonnummer (030) 209 7358. Of kijk op onze website http://www.hdsr.nl/vergunningen/.

Houten, 20 juli 2018

Naar boven